|
|
(21), (22) Заявка: 2005131449/15, 10.10.2005
(24) Дата начала отсчета срока действия патента:
10.10.2005
(30) Конвенционный приоритет:
08.11.2004 UA 20041109111
(43) Дата публикации заявки: 20.04.2007
(46) Опубликовано: 20.11.2007
(56) Список документов, цитированных в отчете о поиске:
SU 489517 А 18.12.1975. DE 2406857 А 14.08.1975. US 4647374 А 03.03.1987. US 3447688 А 03.06.1969.
Адрес для переписки:
61166, Украина, г. Харьков, пр-т Ленина, 9, УкрГНТЦ “Энергосталь”
|
(72) Автор(ы):
Эпштейн Семен Иосифович (UA), Музыкина Зоя Семеновна (UA)
(73) Патентообладатель(и):
Украинский государственный научно-технический центр по технологии и оборудованию, обработке металлов, защите окружающей среды и использованию вторичных ресурсов для металлургии и машиностроения “Энергосталь” (УкрГНТЦ “Энергосталь”) (UA)
|
(54) ПОПЛАВКОВЫЙ ВОДОЗАБОР
(57) Реферат:
Изобретение относится к гидротехнике и может быть использовано при отводе осветленной воды из отстойников, предназначенных для очистки поверхностных сточных вод металлургических, горнорудных, машиностроительных предприятий, для пополнения оборотных циклов водоснабжения и на хозяйственные нужды. Поплавковый водозабор содержит водоприемник, поплавки и шланг. Водоприемник выполнен в виде перфорированного цилиндра, оборудованного бандажами, и плоского конфузора, соединенного с цилиндром большим основанием так, что плоскость конфузора перпендикулярна оси цилиндра. Нижняя образующая конфузора находится от поверхности цилиндра на расстоянии, равном диаметру шланга, а перфорация выполнена симметрично с обеих сторон на равном расстоянии от конфузора. Технический результат состоит в обеспечении равномерности водоотведения и уменьшении себестоимости изготовления устройства. 4 ил.
Изобретение относится к гидротехнике и может быть использовано при отводе осветленной воды из отстойников, предназначенных для очистки поверхностных сточных вод металлургических, горнорудных, машиностроительных предприятий, для пополнения оборотных циклов водоснабжения и на хозяйственные нужды.
Известен установленный в отстойнике поплавковый водозабор (Патент Франции №2300855, МПК2 Е03F 5/10, опубл. 1978), содержащий клапан для отвода осветленной воды и соединенный с ним поплавок, причем степень открытия клапана увеличивается с уменьшением уровня воды и понижением поплавка.
Однако при использовании такого водозабора невозможно обеспечить постоянный равномерный отвод осветленной воды из отстойника из-за зависимости степени открытия клапана от уровня воды. Кроме того, невозможно обеспечить отвод воды с высокой степенью осветления из-за осуществления водоотведения из нижних слоев, где содержание взвешенных веществ в воде довольно высоко.
Известен также установленный в отстойнике поплавковый водозабор для отвода осветленной воды (Авт. св. №1139465, МПК4 В01D 21/24, опубл. 12.02.85, бюл. №6), содержащий круговой водосборный лоток, соединенный с кольцеобразным поплавком, и шланг для отвода осветленной воды.
К недостаткам такого водозабора можно отнести сложность в эксплуатации и высокую стоимость его изготовления. Кроме того, при закреплении торцов шланга в горизонтальной плоскости повышается его жесткость, вследствие чего сила, необходимая для деформации шланга, различна при различном положении (по высоте) такого водозабора в отстойнике, а следовательно, и погружение водозабора при его различных положениях не одинаково, а это, в свою очередь, приводит к неравномерности водоотведения.
Известен регулятор скорости фильтрования (Попович Г.С., Гордеев М.А. Автоматизация систем водоснабжения и водоотведения. – М.: Высшая школа, 1986. – С.200), выполненный в виде поплавка, соединенного системой рычагов с дроссельной заслонкой, и обеспечивающий постоянный отвод воды из фильтра.
Однако при использовании такого регулятора вода, отведенная из нижних слоев, где содержание взвешенных веществ в ней довольно высокое, не обладает достаточно высокой степенью осветления. Кроме того, такое устройство характеризуется ненадежностью в работе, сложностью изготовления и настройки на рабочий режим.
Наиболее близким к заявляемому изобретению по технической сущности и достигаемому техническому результату является дозатор для обеспечения постоянной дозы раствора системы В.В.Хованского (Клячко А.А., Минц Д.М. Подготовка воды для питьевого и промышленного водоснабжения. – М.: Высшая школа, 1962. – С.62), содержащий поплавок с водоприемником в виде конфузора и шланг для отвода раствора.
Недостатком такого дозатора является изменение ориентации водоприемника при изменении уровня раствора, вследствие чего невозможно обеспечить равномерность водоотведения (постоянную дозу раствора).
В основу заявляемого изобретения поставлена задача создать поплавковый водозабор, который позволяет не только обеспечить равномерность водоотведения, но и уменьшает себестоимость изготовления устройства.
Поставленная задача решается за счет того, что в поплавковом водозаборе, содержащем водоприемник, поплавки и шланг, в соответствии с изобретением водоприемник выполнен в виде перфорированного цилиндра, оборудованного бандажами, и плоского конфузора, соединенного с цилиндром большим основанием так, что плоскость конфузора перпендикулярна оси цилиндра, при этом нижняя образующая конфузора находится от поверхности цилиндра на расстоянии, равном диаметру шланга, а перфорация выполнена симметрично с обеих сторон на равном расстоянии от конфузора.
За счет выполнения водоприемника в виде перфорированного цилиндра, оборудованного бандажами, в котором перфорация выполнена симметрично с обеих сторон на равном расстоянии от конфузора, обеспечивается постоянное погружение в воду одинакового количества отверстий независимо от пространственной ориентации водоприемника.
Оборудование перфорированного цилиндра водоприемника бандажами позволяет определить необходимое количество открытых для поступления воды калиброванных отверстий, что, в свою очередь, обеспечивает возможность регулирования объемов отводимой воды.
Выполнение плоского конфузора, соединенного с цилиндром большим основанием так, что плоскость конфузора перпендикулярна оси цилиндра, позволяет устранить перекос водоприемника при его подъеме вместе с уровнем воды и обеспечивает возможность его поворота вокруг своей оси, что, в свою очередь, позволяет обеспечить равномерность водоотведения и уменьшает себестоимость изготовления устройства.
Расположение нижней образующей плоского конфузора от поверхности перфорированного цилиндра на расстоянии, равном диаметру шланга, позволяет при повороте водоприемника на угол до 90° обеспечить, за счет образования поперечного канала, постоянные условия слива поступающей в водоприемник воды и, соответственно, постоянный уровень воды внутри него независимо от угла его поворота вокруг своей оси. А это, в свою очередь, учитывая постоянное количество погруженных отверстий, обеспечивает постоянство расхода отводимой воды, а соответственно равномерность водоотведения и уменьшение себестоимости изготовления устройства.
Исходя из выше изложенного и с учетом раскрытой причинно-следственной связи между совокупностью признаков заявляемого изобретения и достигаемым техническим результатом можно утверждать, что задача, поставленная в основу создания поплавкового водозабора, целиком решена, так как использование изобретения позволяет не только обеспечить равномерность водоотведения, но и уменьшает себестоимость изготовления устройства.
Сущность заявляемого изобретения поясняется чертежами, где:
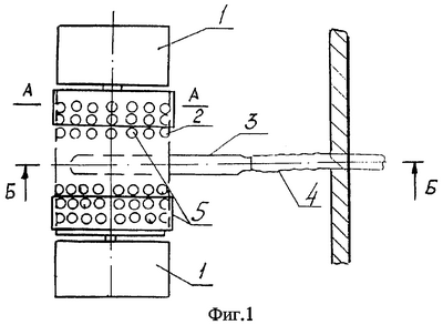
– фиг.1 – поплавковый водозабор, вид сверху;
– фиг.2 – сечение А-А на фиг.1;
– фиг.3 – сечение Б-Б на фиг.1;
– фиг.4 – плоский конфузор поплавкового водозабора.
Поплавковый водозабор содержит поплавки 1, водоприемник, состоящий из перфорированного цилиндра 2 с отверстиями для пропуска воды и плоский конфузор 3, а также шланг 4 для отвода воды и бандажи 5. Поплавки 1 расположены с торцов водоприемника, перфорированный цилиндр 2 водоприемника с обеих сторон плоского конфузора 3 оборудован бандажами 5.
Поплавковый водозабор работает следующим образом.
В исходном состоянии водозабор лежит на дне отстойника. Вода поступает в отстойник и постепенно заполняет его, а достигнув уровня перфорированного цилиндра 2 водоприемника, начинает поступать в цилиндр 2 через калиброванные отверстия в его боковой поверхности и далее в поперечный канал, образованный плоским конфузором 3, и по шлангу 4 отводится из отстойника.
Поступая в отстойник, вода постепенно достигает уровня, при котором выталкивающая сила, действующая на поплавки 1, превышает вес конструкции водозабора и последний начинает подниматься вместе с уровнем воды. При этом продолжается непрерывный процесс отвода осветленной воды из отстойника. В процессе работы устройства устанавливается равновесие, при котором вес водозабора с находящейся внутри него водой равен выталкивающей силе. При подъеме уровня воды поплавковый водозабор также поднимается и за счет связи, образуемой шлангом 4, поворачивается вокруг своей оси. При таком повороте некоторое количество калиброванных отверстий перфорированного цилиндра 2 водоприемника выходит из воды. Однако именно благодаря тому, что водоприемник содержит перфорированный цилиндр 2, столько же калиброванных отверстий в его боковой поверхности погружается в воду так, что общее количество отверстий, через которые вовнутрь водоприемника поступает вода, не изменяется, чем, в свою очередь, и обеспечивается постоянство расхода воды.
Объемы расхода воды обуславливаются количеством погруженных в воду калиброванных отверстий перфорированного цилиндра 2. Для возможности осуществления регулировки объемов расхода воды перфорированный цилиндр 2 водоприемника оборудован бандажами 5, перемещением которых вдоль оси перфорированного цилиндра 2 обеспечивается определенное количество открытых для поступления воды калиброванных отверстий. При этом площадь открытых отверстий может регулироваться от минимальной (бандажи приближены к плоскому конфузору 3) до 100% всей возможной площади (бандажи сдвинуты к краям перфорированного цилиндра 2 водоприемника).
Формула изобретения
Поплавковый водозабор, содержащий водоприемник, поплавки и шланг, отличающийся тем, что водоприемник выполнен в виде перфорированного цилиндра, оборудованного бандажами, и плоского конфузора, соединенного с цилиндром большим основанием так, что плоскость конфузора перпендикулярна оси цилиндра, при этом нижняя образующая конфузора находится от поверхности цилиндра на расстоянии, равном диаметру шланга, а перфорация выполнена симметрично с обеих сторон на равном расстоянии от конфузора.
РИСУНКИ
|
|