|
|
(21), (22) Заявка: 2005125738/12, 14.01.2004
(24) Дата начала отсчета срока действия патента:
14.01.2004
(30) Конвенционный приоритет:
18.03.2003 (пп.1-36) KR 10-2003-0016688
(43) Дата публикации заявки: 10.02.2006
(46) Опубликовано: 20.11.2007
(56) Список документов, цитированных в отчете о поиске:
US 2939243 А, 08.08.1957. US 3075304 А, 29.01.1963. US 5347253 А, 13.09.1994. GB 1429797 A, 24.03.1976. RU 2137206 C1, 10.09.1999. US 3254440 A, 07.06.1966.
(85) Дата перевода заявки PCT на национальную фазу:
15.08.2005
(86) Заявка PCT:
KR 2004/000048 (14.01.2004)
(87) Публикация PCT:
WO 2004/062760 (29.07.2004)
Адрес для переписки:
129010, Москва, ул. Б.Спасская, 25, стр.3, ООО “Юридическая фирма Городисский и Партнеры”, пат.пов. С.А.Дорофееву
|
(72) Автор(ы):
ПАРК Киунг-Хва (KR)
(73) Патентообладатель(и):
ОРДА КОРЕЯ КО., ЛТД. (KR)
|
(54) ИГРУШКА ТИПА КОНСТРУКТОРА
(57) Реферат:
Игрушка относится к детским строительным наборам, конструкторам и может быть использована как в качестве игрушки, так и в качестве средства для обучения. Игрушка содержит множество деталей многогранной формы с соединительными поверхностями, которые выполнены с возможностью соединения с другими соединительными поверхностями других деталей. Детали имеют магнитные части на соединительных поверхностях, при этом магнитная часть детали и магнитная часть на соединительной поверхности деталей выполнены с возможностью соединения друг с другом посредством их магнитной силы. Магнитная часть содержит магнит, оба магнитных полюса которого расположены обращенными в разные направления, при этом магнит установлен в выемке для установки магнита, образованной в детали, и средство предотвращения отделения для предотвращения отделения магнита от выемки для установки магнита. При этом допускается вращение магнита во внутреннем пространстве выемки для установки магнита. Средство предотвращения отделения содержит ось вращения, установленную в центре между обоими магнитными полюсами магнита, и углубление для установки оси вращения, образованное на внутренней поверхности выемки для установки магнита так, что ось вращения параллельна наружной поверхности детали. Средство предотвращения отделения может содержать два углубления, образованных на противоположных поверхностях в центре обоих полюсов магнита, и два выступа в качестве осей вращения, образованных на внутренней поверхности выемки для установки магнита и служащих для вставления в два углубления, при этом воображаемая линия, соединяющая центры двух углублений, параллельна наружной поверхности детали. Также средство предотвращения отделения может иметь захватывающий выступ для предотвращения отделения, который образован в отверстии выемки для установки магнита, и внутренний диаметр отверстия, образованного захватывающим выступом, меньше, чем ширина и длина магнита. Средство предотвращения отделения также может быть выполнено в виде уплотнительной крышки для закрывания отверстия выемки для установки магнита, причем выемка для установки магнита и уплотнительная крышка выполнены за одно целое на наружной поверхности детали, магнит вставлен после разрезания детали, и отделение магнита предотвращено закреплением множества отрезанных частей на детали, причем указанные отрезанные части имеют идентичную друг другу форму. Средство предотвращения отделения также может быть выполнено в виде элемента для установки магнита, вставленного в выемку для установки магнита и содержащего кольцевую часть, поверхность которой соприкасается с выемкой для установки магнита, и закрывающую часть, которая закрывает верхнее отверстие кольцевой части, при этом элемент для установки магнита, кроме того, содержит средство крепления элемента для установки магнита в выемке для установки магнита. Игрушка обеспечивает создание трудноразрушаемых конструкций. 5 н. и 31 з.п. ф-лы, 33 ил.
Область применения изобретения
Настоящее изобретение относится к игрушке типа конструктора и, в частности, к игрушке типа конструктора, которая может быть собрана и разобрана для использования в качестве игрушки и образовательного средства для ребенка.
Предпосылки к созданию изобретения
Среди видов игрушек типа конструктора имеются вид игрушки, которая может быть легко собрана и разобрана без какого-либо клея, как, например, игрушка со складыванием или игрушка со сборкой, и вид игрушки, которая не может быть разобрана после сборки с использованием клея, как, например, пластмассовая модель.
Кроме того, среди игрушек первого вида, с которыми не применяется клей, создана игрушка, которая используется для обучения ребенка путем сборки соответствующих деталей для образования буквы, знака, рисунка или любых других фигур.
Однако игрушка типа конструктора, с которой не применяется клей, связана с проблемами, заключающимися в том, что собранная фигура может легко разрушиться даже при слабом ударе о собранную фигуру, так как соединение деталей является непрочным, и если применяется механическое соединительное устройство для устранения такого недостатка, срок службы изделия становится коротким вследствие многократной сборки и разборки.
В частности, в случае использования игрушки типа конструктора с целью вышеописанного обучения ребенка следует учитывать тот аспект, что с игрушкой обращается ребенок, движения рук которого не являются достаточно чувствительными и точными, т.е. тот аспект, что ребенку трудно собрать фигуру, а собранная фигура может легко разрушиться, и это является серьезной проблемой, которая в течение длительного периода времени решается в промышленности по производству детских игрушек.
Кроме того, в случае устройства, которое имеет сборочную конфигурацию для складывания деталей разной формы, как, например, в случае с “Лего”, собранная конструкция может быть получена при условии, что поддерживается центр тяжести, так как отсутствует отдельное соединительное устройство на соединительной поверхности деталей, и это создает другую проблему в том, что невозможно предоставить игрушку, пригодную для обучения с целью развития инициативы у ребенка.
Подробное описание изобретения
Настоящее изобретение предложено для решения вышеописанных проблем, и целью настоящего изобретения является создание игрушки типа конструктора, которая легко собирается и разбирается, не разрушается легко из собранного состояния и может быть собрана в различные фигуры с целью содействия развитию инициативы у ребенка.
Согласно одному аспекту настоящего изобретения для достижения вышеописанной цели предлагается игрушка типа конструктора, имеющая множество деталей многогранной формы с соединительными поверхностями, которые выполнены с возможностью соединения с другими соединительными поверхностями других деталей, и содержащая детали, соответственно имеющие магнитные части на их соединительных поверхностях, при этом магнитная часть детали и магнитная часть на соединительных поверхностях деталей выполнены с возможностью соединения друг с другом посредством их магнитной силы.
В таком случае магнитная часть может быть выполнена таким образом, что она образована в центре соединительной поверхности детали, множество магнитных частей выполнено на соответствующих соединительных поверхностях детали, магнитные части выполнены на всех поверхностях детали, или магнитная часть образована на крае соединительной поверхности детали.
Кроме того, детали могут быть выполнены таким образом, что при соединении с другими деталями образуют в их плоскости букву, цифру, знак, рисунок или определенную фигуру; детали могут состоять из множества многогранников, имеющих одинаковые формы и размеры; и детали при соединении с другими деталями образуют различные трехмерные фигуры. Более того, детали могут включать деталь в виде оси вращения, имеющей форму стержня и образованной с магнитными частями на ее обоих концах; и колесную деталь, образованную с магнитной частью для соединения в ее центре, с магнитной частью детали в виде оси вращения, или альтернативно, они могут включать: фрагментарную деталь, имеющую форму отделенной части, полученной отделением части от всей объединенной фигуры; и основную деталь, имеющую форму оставшейся части, полученной отделением фрагментарной детали от всей объединенной фигуры.
Кроме того, детали могут включать центральную деталь, имеющую круглое поперечное сечение и снабженную множеством магнитных частей, расположенных с заданным интервалом на ее наружной поверхности, и множество фрагментарных деталей, имеющих веерообразное поперечное сечение и соответственно снабженных магнитной частью, соответствующей магнитной части на наружной поверхности центральной детали, и магнитными частями для соединения с магнитными частями других фрагментарных деталей на их обеих боковых сторонах, при этом цилиндрическая фигура образована размещением центральной детали в центральном положении и соединением внутренних поверхностей множества фрагментарных деталей с наружной поверхностью центральной детали.
Согласно другому аспекту настоящего изобретения для достижения вышеуказанной цели настоящего изобретения предлагается игрушка типа констриктора, содержащая детали, соответственно имеющие магнитные части на их соединительных поверхностях, при этом магнитная часть детали и магнитная часть на соединительных поверхностях деталей выполнены с возможностью соединения друг с другом, и при этом магнитная часть содержит магнит, оба магнитных полюса которого расположены обращенными в разные направления, причем магнит установлен в выемке для установки магнита, образованной в детали, и средство предотвращения отделения для предотвращения отделения магнита от выемки для установки магнита, при этом допуская вращение магнита во внутреннем пространстве выемки для установки магнита.
В таком случае средство предотвращения отделения содержит ось вращения, установленную в центре между обоими магнитными полюсами магнита, и углубление для установки оси вращения, образованное на внутренней поверхности выемки для установки магнита так, что ось вращения параллельна наружной поверхности детали, или содержит два углубления, образованных на противоположных поверхностях в центре обоих полюсов магнита, и два выступа в качестве осей вращения, образованных на внутренней поверхности выемки для установки магнита для вставления в углубления, при этом воображаемая линия, соединяющая центры двух углублений, параллельна наружной поверхности детали.
Магнит может быть выполнен в виде постоянного магнита цилиндрической формы.
Кроме того, средство предотвращения отделения может иметь захватывающий выступ для предотвращения отделения, который образован в отверстии выемки для установки магнита, при этом внутренний диаметр отверстия, образованного захватывающим выступом, меньше, чем ширина и длина магнита.
Предпочтительно, чтобы магнит, кроме того, содержал соединительные выступы на его обоих магнитных полюсах, наружный диаметр которых меньше, чем внутренний диаметр отверстия.
Средство предотвращения отделения может быть выполнено в виде уплотнительной крышки для закрывания отверстия выемки для установки магнита.
В таком случае по краю отверстия выемки для установки магнита может быть образовано углубление для установки уплотнительной крышки, в котором устанавливают уплотнительную крышку.
Магнит может быть выполнен в виде цилиндрического постоянного магнита или сферического постоянного магнита.
Выемка для установки магнита и уплотнительная крышка выполнены за одно целое на наружной поверхности детали; магнит вставлен после разрезания детали; отделение магнита предотвращено закреплением отрезанной части на детали. Деталь изготовлена из дерева.
Кроме того, средство предотвращения отделения может быть выполнено в виде элемента для установки магнита, вставленного в выемку для установки магнита и содержащего кольцевую часть, поверхность которой соприкасается с выемкой для установки магнита, и закрывающую часть, которая закрывает верхнее отверстие кольцевой части.
Предпочтительно, чтобы элемент для установки магнита, кроме того, содержал средство крепления элемента для установки магнита в выемке для установки магнита.
В данном случае средство крепления элемента для установки магнита может быть выполнено в виде крепежной зацепляющей части, простирающейся вниз от кольцевой части для вставления в нижнюю поверхность выемки для установки магнита и закрепления в ней.
Кроме того, средство крепления элемента для установки магнита может быть выполнено в виде зацепляющего выступа на наружной поверхности кольцевой части по направлению к закрывающей части.
В данном случае зацепляющий выступ может быть выполнен в виде всеохватывающего зацепляющего выступа, образованного по всей площади наружной поверхности кольцевой части в форме клина, или в виде частичного зацепляющего выступа, образованного на части наружной поверхности кольцевой части.
В таком случае частичный зацепляющий выступ образован вырезанием и отгибанием части кольцевой части.
Кроме того, зацепляющий выступ может быть выполнен в виде нижнего зацепляющего выступа, образованного на нижнем крае наружной поверхности кольцевой части.
Предпочтительно, чтобы, кроме того, имелась наклонная часть, которая под определенным углом наклонена вниз и внутрь от нижнего зацепляющего выступа.
В данном случае нижний зацепляющий выступ и наклонная часть образованы за одно целое посредством сгибания нижней части кольцевой части.
Кроме того, средство крепления элемента для установки магнита может быть выполнено в виде винтовой резьбы, образованной на наружной поверхности кольцевой части.
Средство крепления элемента для установки магнита может содержать прорезь для вставления крепежного инструмента, образованную на верхней поверхности закрывающей части для обеспечения возможности вставления элемента, для установки магнита в выемку, для установки магнита посредством вращения элемента, для установки магнита крепежным инструментом, используемым для крепления элемента для установки магнита.
В данном случае прорезь для вставления крепежного инструмента выполнена в виде прорези, имеющей круглое поперечное сечение.
В этом случае по окружности расположено множество прорезей для вставления крепежного инструмента, имеющих круглое поперечное сечение.
Прорезь для вставления крепежного инструмента может быть выполнена в виде прорези, имеющей крестообразное поперечное сечение.
Кроме того, как описывалось выше, конструкция магнитной части, детали и т.п. может быть видоизменена различным образом.
Кроме того, согласно настоящему изобретению предлагается соединительное устройство с вращающимся магнитом, которое может быть применено в игрушке типа конструктора, имеющей вышеописанную конструкцию.
Соединительное устройство с вращающиеся магнитом содержит: магнит, оба магнитных полюса которого расположены обращенными в разные направления, при этом магнит установлен в выемке для установки магнита, образованной в детали; и средством предотвращения отделения магнита от выемки для установки магнита, при этом допуская вращение магнита во внутреннем пространстве выемки для установки магнита.
Кроме того, как описывалось выше, конструкция магнита, средства предотвращения отделения и т.п., может быть видоизменена различным образом.
Краткое описание чертежей
Варианты осуществления настоящего изобретения показаны на фиг.1-33, на которых:
фиг.1 – перспективный вид соответствующей детали игрушки типа конструктора,
фиг.2 – перспективный вид в разобранном состоянии,
фиг.3-5 – перспективные виды варианта осуществления настоящего изобретения в виде плоских фигур, которые применяются для обучения буквам,
фиг.6-8 – перспективные виды варианта осуществления настоящего изобретения в виде плоских фигур, которые применяются для обучения вычислению,
фиг.9 и 10 – перспективные виды варианта осуществления настоящего изобретения, в котором магниты расположены по краям детали,
фиг.11-15 – перспективные виды варианта осуществления настоящего изобретения в виде трехмерной фигуры,
фиг.16 – перспективный вид первого варианта выполнения соединительного устройства с вращающимся магнитом,
фиг.17 – вид в поперечном разрезе первого варианта выполнения соединительного устройства с вращающимся магнитом,
фиг.18 – вид в поперечном разрезе второго варианта выполнения соединительного устройства с вращающимся магнитом,
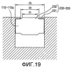
фиг.19 – вид в поперечном разрезе третьего варианта выполнения соединительного устройства с вращающимся магнитом,
фиг.20 – перспективный вид третьего варианта выполнения соединительного устройства с вращающимся магнитом,
фиг.21 – вид в поперечном разрезе четвертого варианта выполнения соединительного устройства с вращающимся магнитом,
фиг.22 – перспективный вид пятого варианта выполнения соединительного устройства с вращающимся магнитом,
фиг.23 – перспективный вид в разобранном состоянии пятого варианта выполнения соединительного устройства с вращающимся магнитом,
фиг.24 – перспективный вид шестого варианта выполнения соединительного устройства с вращающимся магнитом,
фиг.25 – перспективный вид в разобранном состоянии седьмого варианта выполнения соединительного устройства с вращающимся магнитом,
фиг.26 – перспективный вид первой модификации элемента для установки магнита,
фиг.27 – перспективный вид второй модификации элемента для установки магнита,
фиг.28 – вид в поперечном разрезе второй модификации элемента для установки магнита,
фиг.29 – перспективный вид третьей модификации элемента для установки магнита,
фиг.30 – вид в поперечном разрезе третьей модификации элемента для установки магнита,
фиг.31 – перспективный вид четвертой модификации элемента для установки магнита,
фиг.32 – перспективный вид инструмента крепления элемента для установки магнита,
фиг.33 – перспективный вид пятой модификации элемента для установки магнита.
Предпочтительный вариант осуществления изобретения
В дальнейшем настоящее изобретение подробнее описывается со ссылкой на сопровождающие чертежи.
Как показано на фиг.1 и 2, игрушка типа конструктора согласно настоящему изобретению, в основном, одинакова с обычной известной игрушкой в том отношении, что она состоит из множества деталей 10а, имеющих форму многогранника с соединительными поверхностями 11а, которые могут быть соединены с другими соединительными поверхностями 11b других деталей 10b, однако, она отличается тем, что деталь 10 образована с магнитными частями 100а на ее соединительных поверхностях 11а, а магнитная часть 100а детали 10а соединяется с соединительной поверхностью 11b другой детали 10b посредством магнитной силы.
Другими словами в игрушке типа конструктора, в которой соответствующие детали 10 просто соединяются друг с другом без какого-либо клея, соответствующие соединительные поверхности соответствующих деталей 10 образованы с магнитными частями 100.
Следовательно, обеспечиваются полезные эффекты в том, что при сборке игрушки детали 10 легко соединяются посредством магнитной силы магнитной части 100, разборка может быть легко осуществлена даже при слабом усилии ребенка, так как интенсивность магнитной силы магнитной части 100 подобрана с учетом разборки игрушки, и, кроме того, собранная фигура не так легко разрушается, как в случае обычной известной игрушки.
Магнитная часть 100 может быть расположена в любом месте соединительной поверхности 11 детали 10, однако, предпочтительно, чтобы для получения прочного соединения магнитная часть 100 была расположена в центре соединительной поверхности 11, так как магнитная сила магнитной части 100 не может ограничивать относительное вращение обеих деталей 10.
Кроме того, на каждой соединительной поверхности 11 детали 10 может быть расположена одна магнитная часть 100, однако, предпочтительно, чтобы в том случае, когда размер детали 10 сравнительно больше размера магнитной части 100, каждая соединительная поверхность 11 имела множество магнитных частей 100, но при этом должно ограничиваться относительное вращение обеих деталей 10.
Более того, достаточно образование магнитной части 100 только на соединительных поверхностях 11, которые должны использоваться для соединения соответствующих деталей 10, однако, предпочтительно, чтобы магнитные части 100 были образованы на всех поверхностях 11 каждой детали 10, которая имеет форму многогранника, с учетом того, что пользователь может собрать фигуру, которую не предполагал изготовитель, или что детали 10 могут храниться, уложенными в произвольную фигуру.
Такое соединительное устройство может быть принято для любых случаев применения игрушек типа конструктора, если для них не используется клей, и в дальнейшем будет описана игрушка типа конструктора согласно настоящему изобретению, которая используется как игрушка типа конструктора для построения плоской фигуры, как, например, игрушка-головоломка, и как игрушка типа конструктора для построения трехмерной фигуры, как, например, игрушка “Лего”.
В случае использования игрушки типа конструктора согласно настоящему изобретению для построения плоской фигуры можно, учитывая совместно вышеупомянутые полезные эффекты, собирать детали 10 друг с другом для образования в их плоскости буквы, цифры, знака, рисунка или любых других фигур, используемых для обучения ребенка.
На фиг.3-5 показан вариант осуществления изобретения, в соответствии с которым игрушка типа конструктора согласно настоящему изобретению используется для обучения ребенка буквам.
Если соответствующие детали 10 представляют собой множество многогранников, имеющих одинаковые форму и размер, то можно простым образом собрать букву, цифру и т.п., как это показано на фиг.3.
Если фигура буквы является сложной, так как в дополнение к прямым линиям имеет кривые линий, а углы между линиями в каждой букве разнообразно изменяются, то, делая размер деталей 10 небольшим, можно образовывать различные буквы, и, кроме того, как показано на фиг.4 и 5, можно составлять различные буквы с сохранением правильной величины, используя соответствующие детали 10 разного размера.
Игрушка типа конструктора согласно настоящему изобретению может быть использована для обучения буквам, цифрам и т.п., как это было описано выше, а также для обучения вычислению, как это будет описано ниже.
Другими словами, как показано на фиг.6-8, такая фигура состоит из центральной детали 10с, которая образована с множеством магнитных частей 100, расположенных с заданным интервалом по ее наружной поверхности, и множества фрагментарных деталей 10d и 10е, которые соответственно образованы с магнитными частями 100d2 на своих обеих боковых сторонах для соединения с магнитными частями 100e2 других фрагментарных деталей 10е.
Так как при такой фигуре центральная деталь 10с находится в центральном положении, а внутренние стороны множества фрагментарных деталей 10d и 10е соединены с наружной поверхностью центральной части 10с с образованием цилиндрической фигуры, то из общего количества фрагментарных деталей может быть просто собрана или разобрана часть фрагментарных деталей, что приведет к тому, что ребенок будет легко и с интересом изучать понятие дробного числа.
Далее, в тех случаях, когда игрушка типа конструктора согласно настоящему изобретению используется для построения трехмерной фигуры, может быть свободно образована произвольная фигура, так как благодаря действию магнитных частей 100 может быть предотвращено разрушение фигуры, которое может быть вызвано силой тяжести, и, таким образом, игрушка может быть использована с целью развития инициативы у ребенка.
Другими словами, в случае использования игрушки типа конструктора, как, например, игрушки “Лего”, которая не снабжена отдельным клеящим средством, как, например, клеем, собранная фигура может тотчас разрушиться, если не обеспечен механизм ее устойчивости, так что существует ограничение в образовании фигуры из деталей игрушки типа конструктора, однако, как показано на фиг.9 и 10, поскольку магнитные части 100 расположены по краям соединительных поверхностей 11 детали 10, а детали с такой конструкцией собираются друг с другом, то можно легко построить фигуру, которая является механически неустойчивой, как это показано на фиг.11-13.
С этой целью необходимо, чтобы магнитные части 100 соответствующих деталей 10 были расположены не в центре, а по краям соединительных поверхностей 11 детали 10, а для сборки более свободной фигуры предпочитается, чтобы множество магнитных частей 100 было образовано на каждой соединительной поверхности 11 или на всех соединительных поверхностях 11 детали 10.
При использовании вышеописанной конструкции деталей могут быть без какого-либо клея или какого-либо отдельного клеящего средства построены трапецеидальная фигура, которая является механически неустойчивой (фиг.11), консольная фигура, чей ствол выступает от стенки (фиг.12), и различные фигуры в виде домика или других трехмерных сооружений из деталей различной формы (фиг.13).
Так как игрушка удобна в том, что без какого-либо ограничения в отношении механической устойчивости может быть собрана произвольная трехмерная фигура, то обеспечивается отчетливый образовательный эффект в том, что по сравнению с обычной игрушкой типа конструктора эта игрушка эффективно развивает инициативу ребенка.
Кроме того, при использовании настоящего изобретения можно свободно собирать и разбирать детали, так что если настоящее изобретение применяется при обычной сборке обычной фигуры, виды фигур, которые могут быть образованы из простых деталей, могут быть весьма разнообразными.
Например, как показано на фиг.14, если фигура состоит из детали 10f в виде оси вращения, имеющей форму стержня и образованной с магнитными частями 100 на ее обоих концах, и колесной детали 10g, образованной с магнитной частью 100g для соединения в ее центре с магнитной частью 100f детали 10f в виде оси вращения, то колесное устройство может быть выполнено из простых деталей цилиндрической формы.
Кроме того, если заранее приготовлена фигура определенной формы, которая разделена на основную деталь и фрагментарную деталь, то ребенок может получить удовольствие от более инициативных игр.
Например, как показано на фиг.15, в тех случаях, когда фигуре придана форма фрукта, при этом фигура содержит фрагментарную деталь 10h, имеющую форму отделенной части, полученной отделением от всей фигуры, и основную часть 10i, имеющую форму оставшейся части, полученной отделением фрагментарной детали 10h от всей фигуры, ребенок может получить удовольствие от игры, разрезая и съедая фрукт.
Так как игрушка типа конструктора согласно настоящему изобретению выполнена таким образом, что ее, как упоминалось выше, можно собрать в произвольную фигуру, то когда взрослый, как, например, родители рассказывает сказку ребенку, можно строить фигуры в виде буквы, животного, здания и т.п., посредством чего можно вызывать сосредоточенность ребенка на сказке и эффективнее развивать инициативу ребенка.
Между прочим, материалом для игрушки складного типа для ребенка обычно является дерево или пластмасса, которые безвредны для организма человека и не представляют никакой опасности для ребенка даже тогда, когда он сосет детали игрушки.
Так как настоящее изобретение предложено с той целью, чтобы можно было свободно собирать неустойчивую произвольную фигуру посредством магнитной силы магнитной части 100, то предпочитается, чтобы сила тяжести самой детали 10 была по возможности небольшой по сравнению с магнитной силой магнита 110.
Таким образом, деталь 10 может быть пустой, а ее корпус может быть изготовлен из легкой пластмассы.
Кроме того, когда соответствующая деталь 10 образована в форме многогранника, она также имеет множество соединительных поверхностей, при этом для получения разнообразных собранных фигур предпочитается, чтобы число соединительных поверхностей, на которых имеются магнитные части 100, было по возможности большим.
Однако при такой конструкции детали не будет никаких серьезных проблем, если полюса обоих соединенных магнитных частей 100 будут разными, но возникнет проблема в невозможности их соединения друг с другом, если полюса будут одинаковыми, так как между ними создается сила отталкивания.
Другими словами, не возникнет никакой проблемы, если магнитные части 100 выполнены для образования силы притяжения между соединительными поверхностями, когда детали 10 соединены друг с другом, однако, в тех случаях, когда сооружается определенная фигура, не предусмотренная изготовителем, то может возникнуть ситуация, когда при сооружении фигуры иной формы из тех же самых деталей 10 полюса магнитных частей 100 не будут соответствовать друг другу.
Для предотвращения такой ситуации, предпочтительно, чтобы магнитные части 100а соответствующих деталей 10а были выполнены таким образом, чтобы в любом случае возникала сила притяжения в отношении магнитных частей 100b другой детали 10b.
Таким образом, как показано на фиг.16-33, предпочтительно, чтобы магнитная часть 100 согласно настоящему изобретению была выполнена так, что ее оба полюса были обращены в разные направления, а также предпочтительно, чтобы она содержала магнит 110, который установлен в выемке 120 для установки магнита, образованной в детали 10, и средство предотвращения отделения 200 для предотвращения отделения магнита 110 от выемки 120 для установки магнита, при этом допуская вращение магнита 110 во внутреннем пространстве выемки 120 для установки магнита.
Другими словами, магнит 110, который установлен во внутреннем пространстве выемки 120 для установки магнита, образованной в детали 10 и допускающей вращение в ней, при этом, предотвращая отделение магнита от нее, является свободно вращающимся во внутреннем пространстве, при этом вращающая сила вызывается силой отталкивания между двумя магнитами 100, когда полюса обеих магнитных частей 100, соединенных друг с другом, становятся одинаковыми, так что автоматически получается устройство, которое создает силу притяжения посредством разных полюсов обеих магнитных частей 100.
В таком случае средство предотвращения отделения 200 для предотвращения отделения магнита 100, при этом, допуская его вращение, может быть выполнено в целом ряде вариантов, описанных ниже.
Согласно первому варианту, показанному на фиг.16 и 17, средство предотвращения отделения 200 может быть выполнено в виде оси вращения 211, установленной в центре между обоими магнитными полюсами магнита 110, и углубления 212 для установки оси вращения, образованного на внутренней поверхности выемки 120 для установки магнита так, что ось вращения 211 параллельна наружной поверхности основной детали 113.
Это является наиболее общей обычной конструкцией, и ось вращения 211 может быть выполнена с прохождением через центральную часть магнита 110 и с прикреплением к обоим концам центральной части.
Магнит 110 может иметь разнообразные формы, однако, предпочитается постоянный магнит 110а цилиндрической формы с учетом того, что он может увеличить площадь соединительной поверхности, открытой вследствие вращения.
Согласно второму варианту, показанному на фиг.18, средство предотвращения отделения 200 может быть выполнено в виде двух углублений 221, образованных на противоположных поверхностях в центре обоих магнитных полюсов магнита 110, и двух выступов 222 в качестве осей вращения, образованных на внутренней поверхности выемки 120 для установки магнита и служащих для вставления в два углубления 221, при этом вооображаемая линия, соединяющая центры двух углублений 221, параллельна наружной поверхности основной детали 113.
В противоположность первому варианту этот вариант имеет преимущество в том, что на поверхности магнита 110 образованы лишь углубления 221.
В таком случае магнит 110 также выполнен в виде постоянного магнита 110а цилиндрической формы по той же самой причине, что и в первом варианте.
Согласно третьему варианту, показанному на фиг.19 и 20, средство предотвращения отделения 200 может быть выполнено в виде захватывающего выступа 231 для предотвращения отделения, который образован в отверстии выемки 120 для установки магнита, при этом внутренний диаметр отверстия, образованного захватывающим выступом 231, меньше, чем ширина и длина магнита 110.
Другими словами, отделение магнита 110 предотвращается благодаря образованию захватывающего выступа 231 таким образом, что внутренний диаметр d2 меньше, чем внутренний диаметр d3 отверстия выемки 120 для установки магнита, и меньше, чем ширина и длина магнита 110, и так как в захватывающем выступе 231, служащем для предотвращения отделения магнита, образован просвет, в котором возможно свободное вращение магнита 110, то в тех случаях, когда полюса обеих магнитных частей 100, соединенных друг с другом, оказываются одинаковыми, автоматически образуется конструкция, в которой разными полюсами обеих магнитных частей 100 создается сила притяжения.
Кроме того, так как предпочтительно, чтобы соединительные поверхности обоих магнитов 100 соприкасались друг с другом для увеличения силы соединения между магнитами 110 обеих магнитных частей 100, то целесообразно на обоих полюсах магнитов 110 образовывать соединительные выступы 232, имеющие диаметр d1 меньше, чем внутренний диаметр d2 отверстия, при этом, когда оба магнита 110 соединены друг с другом, выступы 232 выступают через отверстие захватывающего выступа 231, служащего для предотвращения отделения магнита.
В этом случае не существует ограничения в отношении конкретного типа магнита, если его оба полюса обращены в разных направлениях, так что направление полюсов может быть изменено посредством вращения, однако, в качестве магнита 110 предпочтительно использовать цилиндрический постоянный магнит 110а для достижения более легкого и более устойчивого соединения с магнитом другой магнитной части.
Согласно четвертому варианту, показанному на фиг.21-24, средство предотвращения отделения 200 выполнено в виде уплотнительной крышки 241 для закрывания отверстия выемки 120 для установки магнита.
При этой конструкции магнит 110 не открыт наружу и не соприкасается непосредственно с другой деталью, а соединен через уплотнительную крышку 231 посредством магнитной силы, в результате чего магнит 110 не виден снаружи, чтобы вызвать ощущение загадки у ребенка.
Таким образом, предпочтительно, чтобы уплотнительная крышка 241 была по возможности тонкой, причем уплотнительная крышка 241 может быть изготовлена из любого магнитного и немагнитного материала.
Кроме того, как показано на фиг.21, предпочтительно применять конструкцию, в которой по краю отверстия выемки 120 для установки магнита образовано углубление 242 для установки уплотнительной крышки 241 таким образом, чтобы уплотнительная крышка 241 не выступала наружу и обеспечивала образование общей плоской формы.
В данном случае магнит 110 не ограничен определенным видом, как, например, цилиндрическим постоянным магнитом 110а, сферическим постоянным магнитом 110b и т.д.
При использовании цилиндрического постоянного магнита 110а преимуществом является то, что благодаря большой площади соприкосновения при соединенных магнитах можно достигнуть большой силы соединения, а недостатком является то, что необходимо иметь в выемке 120 для установки магнита достаточное пространство для вращения магнита, в то время как при использовании сферического постоянного магнита 110 имеются противоположные преимущество и недостаток.
Кроме того, как показано на фиг.22-24, выемка 120 для установки магнита и уплотнительная крышка 241 могут быть образованы за одно целое вблизи наружной поверхности детали 10, а магнит 110 вставляют после разрезания детали 10, после чего для предотвращения отделения магнита 110 закрепляют отрезанную часть на детали 10.
Как показано на фиг.23, такая конструкция может быть легко выполнена разрезанием детали 10, изготовленной, например, из дерева, по заранее определенной линии для образования на ее определенном месте выемки 120 для установки магнита, вставлением сферического магнита 110 в выемку 120 для установки магнита и прикреплением отрезанной части клеем и т.п.
Кроме того, как упоминалось выше, игрушка для ребенка должна быть безопасной, даже если он сосет ее своим ртом, и наиболее подходящим материалом является дерево, которое удовлетворяет такому требованию, однако, дерево имеет недостаток в том, что ему невозможно придать желаемую форму литьем под давлением, как в случае пластмассы.
В данном варианте магнит 110 может быть легко вставлен внутрь детали разрезанием и склеиванием с получением магнитной части 100, которая не обладает таким недостатком дерева.
На фиг.22-24 показан вариант выполнения детали 10 с магнитной частью 100, имеющей вышеописанную конструкцию, при этом на фиг.22 показан перспективный вид, где магнитная часть 100 образована вблизи центральной части наружной поверхности детали 10, и на фиг.24 – перспективный вид, где магнитная часть 100 образована вблизи края детали 10.
В этом варианте магнит 110, устанавливаемый внутри выемки 120 для установки магнита, не ограничен определенным видом, как, например, цилиндрическим постоянным магнитом 110а, сферическим постоянным магнитом 110b и т.п., при этом также имеются преимущество и недостаток в соответствующих вышеописанных случаях.
Согласно пятому варианту, показанному на фиг.25-33, средство предотвращения отделения 200 может быть выполнено в виде элемента 200а для установки магнита, вставляемого в выемку 120 для установки магнита, и элемент 200а для установки магнита содержит кольцевую часть 201, поверхность которой соприкасается с выемкой 120 для установки магнита, и закрывающую часть 202, которая закрывает верхнее отверстие кольцевой части 201.
Другими словами, в вышесказанных четырех вариантах магнит 100 установлен непосредственно в выемке 120 для установки магнита, выполненной в детали 10, при этом допускается вращение магнита 100, а средство для предотвращения отделения магнита 110 добавлено к самой детали 10, однако, в данном варианте магнит 110 установлен в выемке 120 для установки магнита посредством элемента 200а для установки магнита, который изготовлен отдельно.
Дерево имеет преимущество в том, что оно может быть использовано в качестве материала игрушки для ребенка, но оно также имеет недостаток в том, что его трудно разрезать с получением точной формы, и данный вариант предоставляет устройство, которое подходит в случае выполнения игрушки типа конструктора из дерева, как в четвертом варианте, и при этом варианте в дереве образуют выемку 120 для установки магнита, имеющую заданную форму, и отдельный элемент 200а для установки магнита, имеющий форму клина, вставляют в выемку 120 для установки магнита и закрепляют в ней.
Другими словами, как показано на фиг.25, в то время как магнит 110 помещен во внутреннее пространство элемента 200а для установки магнита, этот элемент заколачиванием вставляют в выемку 12 для установки магнита, образованную в деревянной детали, и закрепляют в ней, посредством чего исключается необходимость в разрезании, даже когда деталь изготовлена из дерева.
В этом варианте магнит 110, устанавливаемый в элементе 200а для установки магнита, не ограничен определенным видом, как, например, цилиндрическим постоянным магнитом 110а, сферическим постоянным магнитом 110b и т.п., при этом также имеются преимущество и недостаток в соответствующих вышеописанных случаях.
Между тем, сам элемент 200а для установки магнита может быть отделен от выемки 120 для установки магнита, образованной в детали 10, так как при многократном использовании игрушки типа конструктора согласно настоящему изобретению элемент 200а для установки магнита непрерывно воспринимает силу, направленную наружу, и, следовательно, предпочтительно, чтобы для предотвращения такого явления, кроме того, имелось средство крепления 250 отдельного элемента 200а для установки магнита в выемке 120 для установки магнита.
Ниже в пятом варианте, в котором элемент 200а для установки магнита применяется как средство предотвращения отделения 200, будут описаны различные модификации средства крепления 250 элемента 200а для установки магнита.
Согласно первой модификации, показанной на фиг.26, средство крепления 250 элемента для установки магнита может быть выполнено в виде крепежной клиновидной части 251, простирающейся вниз от кольцевой части 201 для вставления в нижнюю поверхность выемки 120 для установки магнита и закрепления в ней.
Такая конструкция служит для закрепления элемента 200а для установки магнита в выемке 120 для установки магнита ударами молотка или подобным образом, когда деталь 10 изготовлена из дерева и т.п.
Согласно второй модификации, показанной на фиг.27-30, средство крепления 250 элемента для установки магнита может быть выполнено в виде зацепляющих выступов 252, образованных снаружи на наружной поверхности кольцевой части 201 по направлению к закрывающей части 202.
Зацепляющие выступы 252 не оказывают влияние на вставление элемента 200а для установки магнита в выемку 120 для установки магнита, так как они образованы по направлению к закрывающий части 202, однако, так как выступы 252 вызывают сопротивление трения в отношении внутренней поверхности выемки 120 для установки магнита в то время, как вставленный/закрепленный элемент 200а для установки магнита движется по направлению к закрывающей части 202, т.е. по направлению вверх, то возможно достижения результата в том, что элемент 200а для установки магнита будет прочно закреплен в выемке 120 для установки магнита.
Как показано на фиг.27 и 28, зацепляющие выступы 252 могут быть выполнены в виде всеохватывающих зацепляющих выступов 252а, образованных по всей площади наружной поверхности кольцевой части 201 в форме клина.
Кроме того, как показано на фиг.29 и 30, зацепляющие выступы 252 могут быть выполнены в виде частичных зацепляющих выступов 252b, образованных на части наружной поверхности кольцевой части 201.
Такие частичные зацепляющие выступы 252b могут быть образованы установкой отдельного элемента на наружной поверхности кольцевой части 201, однако, как показано на фигуре, предпочтительно образовывать частичные зацепляющие выступы 252b посредством вырезания и отгибания части кольцевой части 201 с учетом прочности конструкции.
Кроме того, зацепляющий выступ 252 может быть выполнен в виде нижнего зацепляющего выступа 252с, образованного на нижнем крае наружной поверхности кольцевой части 201, и в таком случае предпочтительно, чтобы зацепляющий выступ 252, кроме того, имел наклонную часть 253, которая под определенным углом наклонена вниз и внутрь от нижнего зацепляющего выступа 252с.
Так как при использовании наклонной части 253 площадь поперечного сечения нижней концевой части элемента 200а для установки магнита меньше, чем площадь поперечного сечения верхнего отверстия выемки 120 для установки магнита, то элемент 200а для установки магнита легче вставлять в выемку 120 для установки магнита.
Кроме того, как показано на фиг.30, нижний зацепляющий выступ 252с и наклонная часть 253 могут быть образованы за одно целое посредством сгибания нижней части кольцевой части 201 с учетом прочности конструкции или обрабатываемости.
Согласно третьей модификации, показанной на фиг.31-33, средство крепления 250 элемента для установки магнита может содержать винтовую резьбу 254, образованную на наружной поверхности кольцевой части 201.
Это является примером того, что элемент 200а для установки магнита вставляют в выемку 120 для установки магнита и закрепляют в ней посредством ввинчивания, что дает преимущество в возможности получения более прочной конструкции по сравнению с вышеописанными модификациями.
В случае применения конструкции согласно вышеописанному примеру предпочтительно добавлять элемент, который облегчает вставление элемента 200а для установки магнита посредством его вращения.
Другими словами, предпочтительно, чтобы средство крепления 250 элемента для установки магнита имело прорезь 255 для вставления крепежного инструмента, образованную на верхней поверхности закрывающей части 202 для обеспечения возможности вставления элемента 200а для установки магнита в выемку 120 для установки магнита посредством вращения элемента 200а для установки магнита крепежным инструментом 260, используемым для крепления элемента для установки магнита.
Прорезь 255 для вставления крепежного инструмента может иметь различные формы в зависимости от конструкции крепежного инструмента.
Например, при использовании крестообразной отвертки в качестве крепежного инструмента прорезь 255 для вставления крепежного инструмента будет иметь крестообразное поперечное сечение, показанное на фиг.33.
Между тем, прорезь 255 для вставления крепежного инструмента образуют с учетом того, чтобы ее внешний вид соответствовал использованию игрушки, так как эта прорезь открыта наружу игрушки, а инструмент 260 для крепления элемента для установки магнита выбирают надлежащим образом с учетом формы прорези 255 для вставления крепежного инструмента.
Например, если по окружности образовано множество прорезей 255а, имеющих круглое поперечное сечение, как это показано на фиг.31, то элемент 200а для установки магнита можно легко вставлять его вращением крепежным инструментом, имеющим конструкцию, показанную на фиг.32.
Таким образом, прорезь 255 может быть образована на элементе 200а для установки магнита с учетом внешнего вида игрушки, при этом обеспечивается легкое вставление элемента 200а для установки магнита.
Кроме того, до сих пор были показаны примеры использования в игрушке типа конструктора соединительных устройств с вращающимся магнитом согласно настоящему изобретению, однако, техническое решение согласно настоящему изобретению, при котором сила притяжения может быть создана независимо от полюсов простым конструктивным изменением, позволяющим делать магнит вращающимся, может быть применено в любых случаях простой сборки и разборки без необходимости в каком-либо клее.
До сих пор описывались предпочтительные варианты осуществления настоящего изобретения. Как понятно специалистам в данной области, настоящее изобретение не должно ограничиваться описанными предпочтительными вариантами его осуществления, и могут быть сделаны различные изменения и модификации, не выходящие за пределы настоящего изобретения и не отклоняющиеся от его сущности. Таким образом, описанные варианты осуществления настоящего изобретения следует рассматривать не как ограничительные, а как иллюстративные. Пределы настоящего изобретения ограничиваются не рамками вышеизложенного описания, а нижеследующей формулой изобретения, и все различия в описании следует рассматривать как охватываемые настоящим изобретением.
Настоящее изобретение обеспечивает получение игрушки типа конструктора, при использовании которой трудно разрушается собранная фигура, а также можно развивать инициативу ребенка посредством разнообразных собранных фигур.
Формула изобретения
1. Игрушка типа конструктора, имеющая множество деталей многогранной формы с соединительными поверхностями, которые выполнены с возможностью соединения с другими соединительными поверхностями других деталей, и содержащая детали, соответственно имеющие магнитные части на их соединительных поверхностях, при этом магнитная часть детали и магнитная часть на соединительной поверхности деталей выполнены с возможностью соединения друг с другом посредством их магнитной силы, и при этом магнитная часть содержит магнит, оба магнитных полюса которого расположены обращенными в разные направления, при этом магнит установлен в выемке для установки магнита, образованной в детали, и средство предотвращения отделения для предотвращения отделения магнита от выемки для установки магнита, при этом допуская вращение магнита во внутреннем пространстве выемки для установки магнита, причем средство предотвращения отделения содержит ось вращения, установленную в центре между обоими магнитными полюсами магнита, и углубление для установки оси вращения, образованное на внутренней поверхности выемки для установки магнита так, что ось вращения параллельна наружной поверхности детали.
2. Игрушка по п.1, в которой магнит выполнен в виде постоянного магнита цилиндрической формы.
3. Игрушка типа конструктора, имеющая множество деталей многогранной формы с соединительными поверхностями, которые выполнены с возможностью соединения с другими соединительными поверхностями других деталей, и содержащая детали, соответственно имеющие магнитные части а на их соединительных поверхностях, при этом магнитная часть а детали и магнитная часть b на соединительной поверхности других деталей выполнены с возможностью соединения друг с другом посредством их магнитной силы, и при этом магнитная часть содержит магнит, оба магнитных полюса которого расположены обращенными в разные направления, при этом магнит установлен в выемке для установки магнита, образованной в детали, и средство предотвращения отделения для предотвращения отделения магнита от выемки для установки магнита, при этом допуская вращение магнита во внутреннем пространстве выемки для установки магнита, причем средство предотвращения отделения содержит два углубления, образованных на противоположных поверхностях в центре обоих полюсов магнита, и два выступа в качестве осей вращения, образованных на внутренней поверхности выемки для установки магнита и служащих для вставления в два углубления, при этом воображаемая линия, соединяющая центры двух углублений, параллельна наружной поверхности детали.
4. Игрушка по п.3, в которой магнит выполнен в виде постоянного магнита цилиндрической формы.
5. Игрушка типа конструктора, имеющая множество деталей многогранной формы с соединительными поверхностями, которые выполнены с возможностью соединения с другими соединительными поверхностями других деталей, и содержащая детали, соответственно имеющие магнитные части а на их соединительных поверхностях, при этом магнитная часть а детали и магнитная часть b на соединительной поверхности других деталей выполнены с возможностью соединения друг с другом посредством их магнитной силы, и при этом магнитная часть содержит магнит, оба магнитных полюса которого расположены обращенными в разные направления, при этом магнит установлен в выемке для установки магнита, образованной в детали, и средство предотвращения отделения для предотвращения отделения магнита от выемки для установки магнита, при этом допуская вращение магнита во внутреннем пространстве выемки для установки магнита, при этом средство предотвращения отделения имеет захватывающий выступ для предотвращения отделения, который образован в отверстии выемки для установки магнита, и внутренний диаметр отверстия, образованного захватывающим выступом, меньше, чем ширина и длина магнита.
6. Игрушка по п.5, в которой магнит, кроме того, содержит соединительные выступы на его обоих магнитных полюсах, наружный диаметр которых меньше, чем внутренний диаметр отверстия.
7. Игрушка по п.6, в которой магнит выполнен в виде постоянного магнита цилиндрической формы.
8. Игрушка типа конструктора, имеющая множество деталей многогранной формы с соединительными поверхностями, которые выполнены с возможностью соединения с другими соединительными поверхностями других деталей, и содержащая детали, соответственно имеющие магнитные части а на их соединительных поверхностях, при этом магнитная часть а детали и магнитная часть b на соединительной поверхности других деталей выполнены с возможностью соединения друг с другом посредством их магнитной силы, и при этом магнитная часть содержит магнит, оба магнитных полюса которого расположены обращенными в разные направления, при этом магнит установлен в выемке для установки магнита, образованной в детали, и средство предотвращения отделения для предотвращения отделения магнита от выемки для установки магнита, при этом допуская вращение магнита во внутреннем пространстве выемки для установки магнита, при этом средство предотвращения отделения выполнено в виде уплотнительной крышки для закрывания отверстия выемки для установки магнита, причем выемка для установки магнита и уплотнительная крышка выполнены за одно целое на наружной поверхности детали, магнит вставлен после разрезания детали и отделение магнита предотвращено закреплением множества отрезанных частей на детали, причем указанные отрезанные части имеют идентичную друг другу форму.
9. Игрушка по п.8, в которой деталь изготовлена из дерева.
10. Игрушка по п.9, в которой магнит выполнен в виде цилиндрического постоянного магнита или сферического постоянного магнита.
11. Игрушка типа конструктора, имеющая множество деталей многогранной формы с соединительными поверхностями, которые выполнены с возможностью соединения с другими соединительными поверхностями других деталей, и содержащая детали, соответственно имеющие магнитные части а на их соединительных поверхностях, при этом магнитная часть а детали и магнитная часть b на соединительной поверхности других деталей выполнены с возможностью соединения друг с другом посредством их магнитной силы, и при этом магнитная часть содержит магнит, оба магнитных полюса которого расположены обращенными в разные направления, при этом магнит установлен в выемке для установки магнита, образованной в детали, и средство предотвращения отделения для предотвращения отделения магнита от выемки для установки магнита, при этом допуская вращение магнита во внутреннем пространстве выемки для установки магнита, причем средство предотвращения отделения выполнено в виде элемента для установки магнита, вставленного в выемку для установки магнита и содержащего кольцевую часть, поверхность которой соприкасается с выемкой для установки магнита, и закрывающую часть, которая закрывает верхнее отверстие кольцевой части, при этом элемент для установки магнита, кроме того, содержит средство крепления элемента для установки магнита в выемке для установки магнита.
12. Игрушка по п.11, в которой средство крепления элемента для установки магнита содержит крепежную клиновидную часть, простирающуюся вниз от кольцевой части для вставления в нижнюю поверхность выемки для установки магнита и закрепления в ней.
13. Игрушка по п.11, в которой средство крепления элемента для установки магнита содержит зацепляющий выступ, образованный наружу на наружной поверхности кольцевой части по направлению к закрывающей части.
14. Игрушка по п.13, в которой зацепляющий выступ выполнен в виде всеохватывающего зацепляющего выступа, образованного по всей площади наружной поверхности кольцевой части в форме клина.
15. Игрушка по п.13, в которой зацепляющий выступ выполнен в виде частичного зацепляющего выступа, образованного на части наружной поверхности кольцевой части.
16. Игрушка по п.15, в которой частичный зацепляющий выступ образован вырезанием и отгибанием части кольцевой части.
17. Игрушка по п.12, в которой зацепляющий выступ выполнен в виде нижнего зацепляющего выступа, образованного на нижнем крае наружной поверхности кольцевой части.
18. Игрушка по п.17, кроме того, содержащая наклонную часть, которая под определенным углом наклонена вниз и внутрь от нижнего зацепляющего выступа.
19. Игрушка по п.18, в которой нижний зацепляющий выступ и наклонная часть образованы за одно целое посредством сгибания нижней части кольцевой части.
20. Игрушка по п.11, в которой средство крепления элемента для установки магнита содержит винтовую резьбу, образованную на наружной поверхности кольцевой части.
21. Игрушка по п.20, в которой средство крепления элемента для установки магнита содержит прорезь для вставления крепежного инструмента, образованную на верхней поверхности закрывающей части для обеспечения возможности вставления элемента для установки магнита в выемку для установки магнита посредством вращения элемента для установки магнита крепежным инструментом 260, используемым для крепления элемента для установки магнита.
22. Игрушка по п.21, в которой прорезь для вставления крепежного инструмента выполнена в виде прорези, имеющей круглое поперечное сечение.
23. Игрушка по п.22, в которой по окружности расположено множество прорезей для вставления крепежного инструмента, имеющих круглое поперечное сечение.
24. Игрушка по п.21, в которой прорезь для вставления крепежного инструмента выполнена в виде прорези, имеющей крестообразное поперечное сечение.
25. Игрушка по п.11, в которой магнитная часть образована в центре соединительной поверхности детали.
26. Игрушка по п.11, в которой множество магнитных частей образовано на каждой соединительной поверхности детали.
27. Игрушка по п.26, в которой магнитные части образованы на всех соединительных поверхностях детали.
28. Игрушка по п.11, в которой детали при соединении с другими деталями образуют в своей плоскости букву, цифру, знак, рисунок или определенную фигуру.
29. Игрушка по п.11, в которой детали состоят из множества многогранников, имеющих одинаковые формы и размеры.
30. Игрушка по п.29, в которой детали содержат центральную деталь, имеющую круглое поперечное сечение и снабженную множеством магнитных частей, расположенных с заданным интервалом на ее наружной поверхности, и множество фрагментарных деталей, имеющих веерообразное поперечное сечение и соответственно снабженных магнитной частью, соответствующей магнитной части на наружной поверхности центральной детали, и магнитными частями для соединения с магнитными частями других фрагментарных деталей на их обеих боковых сторонах, при этом цилиндрическая фигура образована размещением центральной детали в центральном положении и соединением внутренних поверхностей множества фрагментарных деталей с наружной поверхностью центральной детали.
31. Игрушка по п.30, в которой детали при соединении с другими деталями образуют различные трехмерные фигуры.
32. Игрушка по п.31, в которой магнитная часть образована на крае соединительных поверхностей детали.
33. Игрушка по п.31, в которой множество магнитных частей образовано на каждой поверхности детали.
34. Игрушка по п.33, в которой магнитные части 100 образованы на всех соединительных поверхностях 11 детали 10.
35. Игрушка по п.31, в которой детали содержат деталь в виде оси вращения, имеющую форму стержня и образованную с магнитными частями на ее обоих концах, и колесную деталь, образованную с магнитной частью g, для соединения в ее центре с магнитной частью f детали в виде оси вращения.
36. Игрушка по п.31, в которой детали содержат фрагментарную деталь, имеющую форму отделенной части, полученной отделением от всей объединенной фигуры, и основную деталь, имеющую форму оставшейся части, полученной отделением фрагментарной детали от всей объединенной фигуры.
РИСУНКИ
|
|