|
|
(21), (22) Заявка: 2003136158/12, 17.05.2002
(24) Дата начала отсчета срока действия патента:
17.05.2002
(30) Конвенционный приоритет:
18.05.2001 AU PR 5105 10.10.2001 AU PR 8163
(43) Дата публикации заявки: 27.05.2005
(46) Опубликовано: 20.11.2007
(56) Список документов, цитированных в отчете о поиске:
GB 2162073 А, 29.01.1986. GB 517108 А, 19.01.1940. RU 2146959 C1, 27.03.2000. GB 1034073 A, 29.07.1966. US 5375845 A, 27.12.1994. US 4775157 A, 04.10.1988.
(85) Дата перевода заявки PCT на национальную фазу:
18.12.2003
(86) Заявка PCT:
AU 02/00596 (17.05.2002)
(87) Публикация PCT:
WO 02/094397 (28.11.2002)
Адрес для переписки:
142805, Московская обл., г.Ступино-5, а/я 72, пат.пов. В.С.Волынцу
|
(72) Автор(ы):
МАРЛОУ Джон Кейт (AU)
(73) Патентообладатель(и):
МАРЛОУ Джон Кейт (AU)
|
(54) СПОСОБ РАЗДАЧИ ИГРАЛЬНЫХ КАРТ (ВАРИАНТЫ) И УСТРОЙСТВО ДЛЯ ЕГО ОСУЩЕСТВЛЕНИЯ (ВАРИАНТЫ)
(57) Реферат:
Изобретение относится к настольным играм и может быть использовано в карточных играх. Способ раздачи игральных карт по первому варианту включает операции заготовления множества носителей, нанесения знаков на каждый носитель, так что каждый носитель становится игральной картой посредством указанных знаков, определяющих идентичность каждой игральной карты, причем каждый знак для нанесения на указанные носители получают или выбирают произвольно, затем вводят носители в игру для использования в качестве игральных карт, после чего удаляют знаки с носителей, чтобы обеспечить возможность повторного использования последних. Способ раздачи игральных карт по второму варианту отличается тем, что знаки наносят так, чтобы они отображались носителями временно. Устройство для раздачи игральных карт по первому варианту содержит накопитель для хранения множества носителей, средства произвольного получения или выбора знаков для нанесения на каждый указанный носитель, средства нанесения указанных знаков на каждый носитель, посредством чего каждый носитель становится игральной картой, а нанесенные знаки определяют идентичность игральной карты, средства ввода носителей, имеющих указанные знаки, в карточную игру и средства удаления указанных знаков с носителей, чтобы обеспечить возможность повторного использования последних. Устройство для раздачи игральных карт по второму варианту отличается тем, что средства нанесения указанных знаков на каждый носитель выполнен так, чтобы указанные знаки отображались носителями временно. Способ повторного использования игральных карт включает операции заготовления множества носителей, способных запоминать знаки, определяющие идентичность игральной карты, причем произвольно получают или отбирают знаки, запоминаемые соответствующими носителями, активизируют соответствующие носители для показа соответствующих произвольно полученных или отобранных знаков, посредством чего каждый носитель становится игральной картой, затем удаляют показанные знаки с носителей, посредством чего указанные носители могут быть использованы повторно. Устройство для раздачи и повторного использования игральных карт содержит накопитель для хранения множества носителей, способных запоминать знаки, определяющие идентичность игральной карты, средства нанесения на указанные носители произвольно полученных или отобранных знаков, посредством чего каждый указанный носитель образует указанную игральную карту, и средства удаления с носителей нанесенных на них знаков. Носители для использования в качестве игральных карт, пригодные для нанесения на них знаков, посредством чего каждый из указанных носителей определяет игральную карту, причем знаки, имеющиеся на каждом из упомянутых носителей, определяют идентичность игральной карты, при этом указанные знаки выполнены с возможностью временного отображения на указанных носителях, так что указанные носители способны воспринимать соответственно разные знаки, посредством чего указанные носители могут определять разные игральные карты. Изобретение позволяет затруднить запоминание игроками игральных карт. 7 н. и 31 з.п. ф-лы, 5 ил.
Область техники
Настоящее изобретение относится к способам и устройствам раздачи игральных карт, игровых карточек или игровых элементов, используемых, например, для игры в карты или в другие игры в игорных заведениях, но не ограничено этим использованием. Предлагаемое изобретение имеет также отношение к игральным картам, или игровым карточкам, или к элементам для игры в карты или в другие игры.
Уровень техники
Казино и другие игорные заведения обычно используют игральные карты для различных карточных игр, таких как, например, игра в очко и покер. Обычно используется несколько колод игральных карт на каждом игорном столе с картами, тасуемыми вручную или машиной перед тем, как сдать их игрокам. Одна из проблем, с которыми сталкиваются при такой общепринятой подготовке, состоит в том, что эффективность перетасовки зависит от навыка дилера или эффективности машины, тасующей карты, чтобы гарантировать произвольную раздачу карт. Этого часто невозможно или очень трудно достичь. Кроме того, поскольку в колодах используется ограниченное количество карт, может возникать проблема вычисления карты, когда опытные игроки, подсчитывая сданные карты, могут относительно точно предугадать следующую карту, которая будет сдана. Некоторые карты могут также быть восприимчивы к краплению, что ведет к потенциальному обману. Одно из неудобств известных мер противодействия этому состоит в использовании большого количества карточных колод, которые должны регулярно заменяться новыми, что приводит к существенным затратам для игорного заведения.
Игровые карточки, имеющие предварительно напечатанный материал, такие как карты для бинго, также используются для игры в азартные игры в игорных или иных заведениях. Такие карточки являются, как правило, одноразовыми и поэтому должны уничтожаться после использования. Другие игры используют игровые элементы или другие символы, имеющие идентифицирующую маркировку, которые сдаются игроку, играющему на деньги с учетом полученных и/или ожидаемых быть полученными игровых элементов или символов. Такие игры сопровождаются такими же неудобствами, что и отмеченные выше относительно игр с игральными картами.
Сущность изобретения
Целью предлагаемого изобретения является создание такого способа и устройства сдачи игральных карт, или игровых карточек, или элементов для игры в карты или в иную подобную игру, чтобы сдаваемые карты, карточки или элементы снабжались произвольно получаемыми или выбираемыми знаками.
Другой целью предлагаемого изобретения является создание способа и устройства сдачи игральных карт или игровых карточек или элементов, имеющих сменные знаки.
Следующей целью предлагаемого изобретения является создание способа и устройства сдачи и многократного использования игральных карт или игровых карточек или элементов.
Дальнейшей целью предлагаемого изобретения является создание игральных карт или игровых карточек или элементов для использования в карточной игре или в иных играх. Другие задачи и преимущества изобретения станут очевидными из последующего описания.
Таким образом, объектом изобретения является способ сдачи игральных карт или игровых карточек или элементов для карточной игры или иной игры, включающий операции: заготовления множества носителей, пригодных для нанесения на них знаков, определяющих идентичность игральной карты или игровой карточки или игрового элемента; нанесения указанных знаков на носители, причем знаки для нанесения на носители выбирают произвольно непосредственно перед сдачей, введения носителей в игру для использования в качестве игральных карт или игровых карточек или элементов, и удаления нанесенных знаков с носителей, чтобы обеспечить возможность повторного использования последних.
В качестве носителей могут быть использованы как материальные игральные карты, или игровые карточки, или элементы, так и носители визуальных изображений игральных карт, или игровых карточек, или элементов, показываемых, например, на мониторе или на другом дисплейном устройстве. Термин “изображения”, используемый далее в описании, включает как известные изображения, которые используются на игральных картах или игровых карточках или элементах, то есть в случае карточной игры масть карты и ее достоинство, включая информацию о фигурных картах, так и их электронное отображение. Таким образом, изображения карт могут ранжироваться, как говорится, от туза треф до короля пик и включать все масти и все достоинства обычных игральных карт. В случае игровых карточек изображения могут включать цифры или другие маркировки, символы или буквы, а также их электронные отображения, как и в случае игральных или игровых элементов.
Другим объектом предлагаемого изобретения является устройство для сдачи игральных карт, или игровых карточек, или элементов в карточной или иной игре, содержащее: накопитель для хранения множества носителей, пригодных для нанесения на них знаков, идентифицирующих игральную карту, или игровую карточку, или игровой элемент; средства произвольного выбора указанных знаков, предназначенных для нанесения на носители; устройство размещения указанных знаков на носителях; устройство ввода носителей, имеющих указанные знаки, в карточную или иную игру, и устройство удаления знаков с носителей, чтобы обеспечить возможность повторного использования последних.
Следующим объектом предлагаемого изобретения является способ сдачи игральных карт, или игровых карточек, или элементов в карточной или иной игре, включающий операции: заготовления множества носителей, нанесения знаков на носители так, чтобы знаки могли быть видимыми временно, причем указанные знаки выбирают произвольно непосредственно перед сдачей, и введения носителей в игру для использования в качестве игральных карт, или игровых карточек, или элементов.
Следующим объектом предлагаемого изобретения является устройство для сдачи игральных карт, или игровых карточек, или элементов в карточной или иной игре, содержащее накопитель для хранения множества носителей, средства произвольного генерирования или выбора знаков, определяющих идентичность игральных карт, или игровых карточек, или элементов, средства нанесения знаков на носители, так чтобы указанные знаки были видны временно, и устройство ввода носителей в игру.
Дальнейшим объектом изобретения является способ повторного использования игральных карт, или игровых карточек, или элементов, включающий операции: заготовления множества носителей, приспособленных для нанесения на них знаков, идентифицирующих игральные карты, или игровые карточки, или элементы, произвольного генерирования или отбора знаков, нанесения знаков на носители, считывания с носителей и дисплейного показа размещенных на них знаков и удаления показанных знаков с носителей, благодаря чему носители могут быть использованы повторно.
Дальнейшим объектом предлагаемого изобретения является устройство для сдачи и повторного использования игральных карт, или игровых карточек, или элементов, содержащее устройство хранения множества носителей, приспособленных для нанесения на них знаков, определяющих идентичность игральной карты, или игровой карточки, или элемента, и устройства нанесения на носители и удаления с носителей произвольно полученных или отобранных знаков.
Дальнейшим объектом предлагаемого изобретения являются носители для использования в качестве игральных карт, или игровых карточек, или элементов в карточной игре или в других играх, пригодные для нанесения на них знаков, определяющих идентичность игральной карты, или игровой карточки, или игрового элемента, причем указанные носители способны иметь в разное время разные знаки, благодаря чему одни и те же носители могут представлять разные игральные карты, или игровые карточки, или элементы. Носители могут представлять собой материальные игральные карты или игровые карточки, игровые элементы, или иные элементы. Альтернативно, знаки, размещенные на соответствующих носителях, используются для идентификации соответствующих игральных карт или игровых карточек или элементов, соответствуя знакам, размещенным на носителях.
Таким образом, носители в одном из вариантов могут включать карты-заготовки, изготовленные из картона, пластмассы или иного материала с размерами и конфигурацией обычных игральных карт или игровых карточек. Альтернативно, носители могут включать игровые элементы, имеющие участок или зону, которые могут иметь идентифицирующие знаки. Если носители имеют такое исполнение, устройство для нанесения знаков на носители может содержать средства для печатания или иного нанесения знаков на носители, использующие чернила, краску или иные средства маркировки для создания изображений знаков, которые могут быть удалены с носителей, чтобы обеспечить возможность повторного использования последних. В вышеупомянутом варианте осуществления изобретения карточные знаки могут быть удалены с носителей средствами, чистящими или удаляющими чернила, краску или иные средства маркировки, чтобы обеспечить возможность повторного использования носителей. Альтернативно, изображение может быть удалено с помощью химических средств, светового воздействия или других физических средств.
В альтернативном варианте осуществления знаки могут быть нанесены на наклейки или иные сменные элементы, а устройство нанесения знаков на носители может содержать средства механического нанесения сменных наклеек или элементов, имеющих знаки, на носители. Устройство удаления знаков в этом случае может содержать средства механического удаления наклеек или иных элементов, имеющих знаки.
В альтернативном варианте осуществления носители могут быть снабжены светочувствительным материалом, который может быть нанесен на носители, например, в виде покрытия, а знаки могут появляться под воздействием на светочувствительный материал света определенного спектра или определенных характеристик. Соответственно, светочувствительный материал может включать фотохромный краситель или такое покрытие, на котором знаки могут быть отображены в определенном световом спектре, соответствующем знакам. Альтернативно, светочувствительный материал может реагировать на свет определенной поляризации, чтобы отображать определенные карточные знаки. В еще одном альтернативном варианте осуществления светочувствительный материал может быть чувствительным к свету определенной частоты или определенных частот.
Изображение, сформированное под воздействием света на светочувствительный материал, может появляться, например, только на определенный промежуток времени, так что при повторном экспонировании светом иного спектрального состава на носителях появляется новое изображение, показывающее новые знаки. Альтернативно, изображение может быть удалено воздействием на светочувствительный материал света альтернативной частоты, поляризации и тому подобного.
В другом исполнении светочувствительный материал может быть заменен магниточувствительным материалом, который под воздействием магнитного поля определенной конфигурации будет отображать знаки, соответствующие этой конфигурации. Повторное воздействие на магниточувствительный материал магнитным полем другой конфигурации, соответствующей другим знакам, вызовет “удаление” первых карточных знаков и отобразит другие карточные знаки. Следовательно, носители, покрытые магниточувствительным материалом, могут быть использованы повторно.
В другом исполнении материал покрытия носителей может включать термочувствительный материал, с тем чтобы определенные знаки или изображения, имеющиеся на носителях, могли быть отображены при нагревании материала нагревательным устройством, которое обеспечивает нагрев с параметрами, соответствующими определенным знакам или изображениям, предназначенным для показа. Знаки или изображения могут исчезнуть через некоторое время или альтернативно могут быть эффективно удалены воздействием нагрева с иными параметрами.
В другом исполнении носители покрываются оптически чувствительным материалом, пригодным для печати, а устройство содержит средства воздействия печатающим сигналом на носители, чтобы отобразить знаки, имеющиеся на носителях.
Далее, возможно такое исполнение, когда носители могут иметь другие наносимые физическими средствами изображения, отображающие знаки игральных карт. Такие изображения могут быть нанесены также с помощью химических средств или источника света и могут быть удалены реверсными процессами, чтобы обеспечить повторное использование носителей.
Носители, далее, могут содержать или включать электронную схему, которая содержит перепрограммируемую память и дисплейное устройство типа жидкокристаллического дисплея или СИД-дисплея (дисплея на светоизлучающих диодах). Знаки, отображаемые носителями, могут быть запрограммированы внешними программными средствами в памяти соответствующих носителей для того, чтобы использовать носители в качестве игральных карт в карточной игре или в качестве игровых карточек или элементов в других играх. Соответственно, знаки для носителей получают произвольно, как указывалось выше. Носители этого типа могут, таким образом, использоваться многократно путем простого перепрограммирования памяти с последующим произвольным получением новых карточных знаков.
В еще одном исполнении знаки, имеющиеся на носителях, могут считываться для показа на мониторе или на иных дисплейных устройствах в виде игральных карт, игровых карточек или других игровых элементов. В этом исполнении носители могут быть выполнены в виде электронных чипов, карточек или других элементов с электронными или магнитными запоминающими устройствами, которые могут хранить знаки или отображения знаков. Знаки или электронные отображения знаков могут быть сохранены или запрограммированы в запоминающие устройства носителей любыми подходящими внешними средствами, которые могут включать электронный или магнитный преобразователь. Знаки или отображения знаков для хранения в запоминающих устройствах соответственно получают или отбирают произвольно.
Знаки или их отображения, сохраняемые на носителях, могут считываться или определяться любыми подходящими средствами считывания, которые могут считывать знаки и показывать знаки на соответствующих дисплейных устройствах типа монитора или другого визуализирующего дисплейного блока. Для повторного использования носителей их запоминающие устройства могут либо удалять хранимые в них знаки в отдельное устройство, либо запоминающие устройства могут быть просто перепрограммированы так, чтобы новая информация о знаках заменила информацию, зафиксированную в памяти прежде.
Знаки могут быть произвольно получены из любого количества предварительно зафиксированных в памяти знаков. В случае игральных карт карточные знаки могут быть произвольно получены или отобраны из одной или нескольких карточных колод. Способ и устройство для его осуществления допускают для носителей или игральных карт в любой карточной игре применение любого количества карточных колод. Может быть отобрано любое количество колод карт, из которых карточные знаки могут быть отобраны произвольно. Выбор количества карточных колод может быть осуществлен посредством электронного контроллера, который может быть программируемым или переключаемым для выбора необходимого количества используемых колод.
Произвольно полученные или отобранные знаки, помещаемые или могущие помещаться на каждую карту или игровой элемент, при желании могут быть записаны и показаны на дисплее заявляемого устройства или на другом виде дисплея, например на видеостене. Это позволит другим людям знать карты или элементы, которые сданы. Таким образом, например, могут быть проверены карты дилеров. Эта информация может быть также передана с помощью электроники на другой компьютер или запоминающие устройства для последующих проверок, например, чтобы позволить игрокам или специалистам через некоторое время проверить достоинство или масти определенных карт или элементов, которые были сданы. Кроме того, произвольно полученные или отобранные знаки могут быть переданы в места, удаленные от пункта выбора, чтобы дать возможность игрокам играть в игру повсюду в мире. Кроме того, система может быть настроена так, чтобы дать возможность участникам делать ставки на какую-либо комбинацию карт. Это, безусловно, может относиться к любому числу людей, которые в любом удаленном месте могут видеть игровые комбинации и, соответственно, делать ставки независимо от действий людей в том месте, где производится сдача карт или носителей. Таким образом, определенный игрок, например, в игре в очко, после сдачи первых двух карт, которые являются видимыми другим игрокам, находящимся в удаленном месте, может решить не делать ставку на третью карту. Игроки в удаленном месте, однако, могут также решить не делать ставку на третью карту или, наоборот, делать ставку на третью карту и, возможно, на четвертую и пятую карту в зависимости от того, могут ли быть сданы карты другим игрокам. Таким образом, в одной игре может принимать участие любое число игроков. Эта система, конечно, может также применяться и к другим видам игр, использующих игральные карты, игровые карточки или игровые элементы.
Перечень чертежей
Для того чтобы изобретение могло быть легче понято и направлено в практическое русло, будут сделаны ссылки на прилагаемые чертежи, которые иллюстрируют предпочтительные варианты воплощения изобретения. Описываемые варианты имеют отношение, в частности, к карточным играм, однако, следует иметь в виду, что те же самые принципы могут быть применены для использования в других играх, таких как азартные игры, в которых применяются карточки или другие игровые элементы.
Фиг.1 схематично иллюстрирует первый вариант осуществления устройства для сдачи и повторного использования игральных карт согласно изобретению. На фиг.2 представлен первый вариант носителя, имеющего карточные знаки. Фиг.3 иллюстрирует второй вариант носителя, имеющего карточные знаки. На фиг.4 схематично показан вариант устройства фигуры 1 в разрезе. Фиг.5 схематично иллюстрирует второй вариант устройства для сдачи и повторного использования игральных карт.
Детальное описание предпочтительных вариантов осуществления изобретения
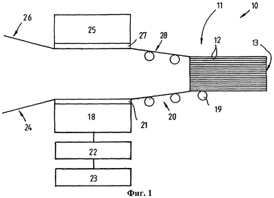
На чертежах и, прежде всего, на фиг.1 схематично показан первый вариант осуществления устройства 10 для сдачи и повторного использования игральных карт согласно изобретению. Устройство 10 содержит накопитель 11 карт, который предназначен для хранения определенного числа карт 12 в стопе 13. Стопа 13 карт 12 может быть расположена вертикально, как показано, горизонтально или в любом другом положении. Карты 12 в этом варианте и в варианте, показанном на фиг.2, пригодны для нанесения на них обычных карточных знаков 14, в показанном примере знаков бубнового туза. Они могут представлять собой карты-заготовки, выполненные из пластмассы, бумаги или картона с размерами и конфигурацией обычной игральной карты, на которые нанесены устранимой печатью или иным способом карточные знаки 14, или могут быть “картами”, выполненными или имеющими покрытие из любого другого материала, на который могут наноситься карточные знаки. Например, карты 12 могут быть пропитаны химикатом, который под воздействием освещения или нагревания отобразит карточные знаки или любые другие знаки, соответствующие спектру света или параметрам нагрева, воздействующего на карты 12.
В другом варианте, как показано на фиг.3, карты 12 могут состоять из тонкого элемента 15, также по размерам и конфигурации подобного обычной игральной карте, запоминающего устройства в виде программируемой памяти 16 и дисплейного устройства 17, которое может включать жидкокристаллический дисплей, СИД-дисплей или любые другие электрические или электронные дисплейные устройства. Программируемая память 16 может быть запрограммирована соответствующими внешними электронными средствами, такими как преобразователи, чтобы хранить информацию о знаках и побуждать дисплейное устройство 17 показывать карточные знаки, в иллюстрируемом случае двойку пик. Альтернативно, дисплейное устройство 16 может быть таким, чтобы показывать определенные карточные знаки при воздействии света или световых волн определенной частоты.
Устройство 10 содержит также устройство 18 нанесения карточных знаков, чтобы наносить карточные знаки на отдельные карты 12, подаваемые из стопы 13. Карты, например, могут подаваться одна за другой с нижней части стопы 13 соответствующим устройством смещения отдельных карт, таким как, например, ролик 19, на конвейерное устройство 20 для подачи в устройство 18 нанесения карточных знаков. В упрощенном виде указанное конвейерное устройство 20 может представлять собой лоток для направления карт под воздействием гравитации в устройство 18 нанесения знаков, тогда как в альтернативном исполнении указанное конвейерное устройство 20 может содержать ролики, включая противоположно взаимодействующие ролики и/или конвейерную ленту, или ленты.
Устройство 18 нанесения карточных знаков в одном из вариантов воплощения может быть выполнено в виде устройства печати, имеющего печатающую головку 21, для того чтобы печатать карточные знаки на соответствующих картах 12. Однако, как было упомянуто выше, устройство 18 нанесения карточных знаков может также наносить на карты 12 наклейки с карточными знаками. Альтернативно это устройство может быть электрическим или электронным программирующим устройством, для того чтобы программировать карточные знаки на специальных картах 12, или устройством, которое, воздействуя светом или магнитным полем, вызывает отображение карточных знаков или изображений на карте 12.
С устройством 18 нанесения карточных знаков связан блок управления 22, который управляет работой устройства 18. С блоком управления 22 соединен генератор случайных карточных знаков или селектор 23, который определяет карточные знаки, которые должны быть нанесены устройством 18 на соответствующие карты 12. Генератор случайных карточных знаков или селектор 23 может произвольно выбирать или генерировать сигнал, представляющий определенные карточные знаки, выбранный, например, из карточной колоды с неограниченным количеством карт так, чтобы гарантировать полную хаотичность отбора карточных знаков. Альтернативно, генератор случайных карточных знаков или селектор 23 может быть настроен так, чтобы произвольно выбирать карточные знаки из одной или нескольких стандартных карточных колод в зависимости от правил игры или заведения, проводящего игру. Как и на генератор случайных знаков или селектор 23 произвольного отбора знаков, которые будут помещены на определенную карту, блок 22 управления воздействует на устройство 18, чтобы наносить произвольно отобранные знаки на карту 12, подаваемую к устройству 18. Карты 12 с нанесенными на них знаками затем подаются индивидуально от устройства 18 соответствующими средствами подачи, такими как указанный лоток 24, подающие ролики и/или подающие ленты, для ввода в игру. При желании устройство 10 может быть встроено в карточный стол, чтобы карты 12 можно было подавать непосредственно для игры на столе, например, чтобы сдавать карты для игры в очко.
Устройство 10 содержит также устройство 25 удаления карточных знаков, предназначенное для удаления знаков, нанесенных на карты 12. Устройство 26 возврата карт, выполненное в виде загрузочного лотка (и/или роликов или лент), предназначено для того, чтобы подавать карты 12 в устройство 25. Устройство 25 удаления карточных знаков может содержать устройство для очистки, вытирания или иного удаления карточных знаков механическими средствами и с этой целью может содержать стирающую головку 27, в качестве которой может быть использовано приводимое двигателем приспособление для стирания знаков с карт 12. Стирающая головка 27 может содержать, например, вращающуюся щетку. Альтернативно устройство 25 удаления карточных знаков может содержать средствы химической чистки или средства, применяющие воздействие света, нагрева или магнитного поля. Альтернативно устройство 25 может содержать устройство перепрограммирования карт 12, если карта 12 – это электронное устройство, такое как описано со ссылкой на фиг.3. В отдельных случаях, возможно, нет необходимости использовать специальное устройство 25 удаления карточных знаков, как, например, в случае использования перепрограммируемой карты 12, показанной на фиг.3, когда изменение показываемых карточных знаков может происходить в пределах устройства 18 нанесения карточных знаков.
Там же, где используется устройство удаления 25 карточных знаков, карты 12, после того как знаки удалены, возвращаются назад к накопителю 11 карт и складываются в стопу 13 вместе с другими картами 12, например, с помощью роликов 28, и/или лотков, и/или конвейерных лент. Карты 12 с удаленными знаками хранятся в накопителе 11 и могут быть перепечатаны или перепрограммированы для повторного использования так, как было описано выше.
Фиг.4 схематически иллюстрирует практическое воплощение устройства 10, элементы которого обозначены теми же номерами позиций, что и таковые на фиг.1. Все элементы устройства 10 расположены в общем корпусе 29, содержащем устройство 26 возврата карт, которое получает карты 12 и направляет их в устройство 25 удаления карточных знаков. После прохождения через устройство 25 карты 12 с удаленными знаками помещаются в накопитель 11, формируя стопу 13 карт, готовых к перепрограммированию или перепечатке. Карты 12 последовательно по одной смещаются от нижней стороны стопы 13 роликом 19 на лоток 20, чтобы пройти через устройство 18 нанесения знаков, посредством которого знаки, произвольно выбранные генератором случайных знаков или селектором 23, под контролем блока 22 управления наносятся на карты 12. Как упомянуто выше, карты 12 могут быть игральными картами, чипами или другими запоминающими устройствами, совместимыми с устройством 18 нанесения знаков и устройством 25 удаления знаков. Запрограммированные или отпечатанные карты 12 затем подаются по лотку 24 для использования в игре. Как правило, устройство 22 управления может содержать программируемый микропроцессор, который может также содержать генератор случайных знаков или селектор 23. Корпус 29 содержит также источник 30 электропитания для электрических компонентов устройства 10. Карты 12, имеющие произвольно сгенерированные или отобранные знаки, могут подаваться автоматически для сдачи дилером в игру. Альтернативно дилер может, нажав на выключатель, сделать так, чтобы карты 12 из стопы 13 были направлены через устройство 18 нанесения знаков для сдачи игрокам по их требованию.
На фиг.5 показано альтернативное воплощение изобретения, которое сохраняет основные признаки изобретения, описанного со ссылкой на фиг.1, но которое приспособлено для того, чтобы показывать игральные карты, имеющие идентификационные карточные знаки, посредством монитора или другого дисплейного устройства 31. Понятно, что эта информация может быть передана в удаленное место для дистанционного наблюдения, например, на мониторе 32 или для дистанционного участия в игре. В этом воплощении устройство 10 для сдачи игральных карт устроено так, чтобы подавать карты, электронные чипы или другие устройства 33 со считываемыми изображениями, которые имеют произвольно сгенерированные карточные знаки. Карты, чипы или другие устройства 33 со считываемыми изображениями могут содержать магнитные или электронные запоминающие устройства, так что карточные знаки могут быть сохранены в них с использованием магнита или с помощью электроники. Карточные знаки, получаемые произвольно таким же образом, как было описано выше, могут быть нанесены на устройства 33 любыми подходящими магнитными или электронными программными средствами, чтобы хранить произвольно отобранные карточные знаки в соответствующих устройствах 33. Чтобы обеспечить показ игральной карты или знаков игральной карты, отображаемых дисплейным устройством 33 или имеющихся на нем, предусмотрен планшетный детектор 34 изображения или сигнала, на который могут быть помещены устройства 33. Карточные знаки, имеющиеся на устройствах 33, затем могут быть считаны и показаны на мониторе или на другом дисплейном устройстве 31, как проиллюстрировано позицией 35, и/или показаны на удаленном мониторе 32.
По окончании игры устройства 33 возвращаются назад в устройство 10, где имеющиеся на них знаки либо удаляются специальными электронными или магнитными средствами удаления, либо перепрограммируются на новые карточные знаки.
Игральные карты или элементы или изображения знаков, имеющиеся на них, могут использоваться для игры в любую карточную игру. Однако карты могут быть выполнены и в форме других игровых карточек, таких как карточки лото с числами, которые произвольно наносятся и удаляются, как показано выше. Игральные карты могут также включать игровые элементы для игры в любую другую игру, где требуется случайный выбор и где игровые элементы имеют или способны иметь знаки или другую информацию, идентифицирующую игровые элементы.
Поскольку вышесказанное представлено как иллюстративное воплощение изобретения, возможны и другие модификации и изменения, которые очевидны специалисту в данной области, полагая, что они находятся в пределах границ и объема изобретения, как определено в прилагаемой формуле изобретения.
Формула изобретения
1. Способ раздачи игральных карт, или игровых карточек, или элементов в карточной или иной игре, включающий операции заготовления множества носителей, нанесения знаков на каждый носитель, так что каждый носитель становится игральной картой, или игровой карточкой, или игровым элементом посредством указанных нанесенных на него знаков, определяющих идентичность каждой игральной карты, или игровой карточки, или игрового элемента, причем каждый знак для нанесения на указанные носители получают или выбирают произвольно, затем вводят носители в игру для использования в качестве игральных карт, или игровых карточек, или элементов, после чего удаляют знаки с носителей, чтобы обеспечить возможность повторного использования последних.
2. Устройство для раздачи игральных карт, или игровых карточек, или элементов в карточной или иной игре, содержащее накопитель для хранения множества носителей, средства произвольного получения или выбора знаков для нанесения на каждый указанный носитель, средства нанесения указанных знаков на каждый носитель, посредством чего каждый носитель становится игральной картой, или игровой карточкой, или игровым элементом, а нанесенные знаки определяют идентичность игральной карты, или игровой карточки, или элемента, средства ввода носителей, имеющих указанные знаки, в карточную игру или иную игру, и средства удаления указанных знаков с носителей, чтобы обеспечить возможность повторного использования последних.
3. Способ раздачи игральных карт, или игровых карточек, или элементов в карточной или иной игре, включающий операции заготовления множества носителей, нанесения знаков на каждый такой носитель, посредством чего каждый носитель становится игральной картой, или игровой карточкой, или игровым элементом, причем так, чтобы указанные знаки отображались носителями временно, при этом знаки, нанесенные на каждый носитель, получают или выбирают произвольно, определяя идентичность каждой игральной карты, или игровой карточки, или игрового элемента, и вводят указанные носители в игру для использования в качестве игральных карт, или игровых карточек, или элементов.
4. Устройство для раздачи игральных карт, или игровых карточек, или элементов в карточной или иной игре, содержащее накопитель для хранения множества носителей, средства произвольного генерирования или получения знаков, определяющих идентичность игральной карты, или игровой карточки, или игрового элемента, средства нанесения указанных знаков на каждый носитель, посредством чего каждый носитель становится игральной картой, или игровой карточкой, или игровым элементом, причем так, чтобы указанные знаки отображались носителями временно, и средства ввода указанных носителей для использования в карточной или иной игре.
5. Устройство по п.4, в котором указанные носители покрыты светочувствительным материалом и в котором указанные знаки могут быть видимыми при воздействии на светочувствительный материал источника света.
6. Устройство по п.5, в котором указанный светочувствительный материал содержит покрытие с фотохромным красителем и в котором указанные знаки могут быть видимыми в световом спектре, соответствующем указанным знакам.
7. Устройство по п.5, в котором в качестве указанного светочувствительного материала использован материал, чувствительный к свету определенной поляризации.
8. Устройство по п.5, в котором в качестве светочувствительного материала использован материал, чувствительный к свету определенной частоты или определенных частот.
9. Устройство по п.5, в котором в качестве светочувствительного материала использован материал, на котором изображение появляется только на определенный промежуток времени, так что при повторном воздействии света отличающегося спектра на носителях проявляется новое изображение, показывающее новые знаки.
10. Устройство по п.5, в котором в качестве светочувствительного материала использован материал, изображение с которого удаляется при воздействии света на светочувствительный материал.
11. Устройство по п.4, в котором указанные носители покрыты магниточувствительным материалом, который при воздействии магнитного поля определенной конфигурации демонстрирует знаки, соответствующие этой конфигурации.
12. Устройство по п.11, в котором в качестве магниточувствительного материала использован материал, повторное воздействие на который магнитным полем другой конфигурации, соответствующей другим знакам, вызывает появление на указанном носителе указанных других знаков.
13. Устройство по п.4, в котором указанные носители покрыты термочувствительным материалом и которое содержит средства воздействия на указанные носители нагрева с параметрами, соответствующими знакам, предназначенным для показа.
14. Устройство по п.13, в котором в качестве термочувствительного материала использован материал, на котором указанные знаки исчезают с течением времени или могут быть удалены при воздействии на указанный материал нагрева с другими параметрами.
15. Устройство по п.4, в котором указанные носители содержат электронные схемы, включая перепрограммируемую память и дисплейное устройство для демонстрации указанных знаков.
16. Устройство по п.15, включающее средства внешнего программирования указанной памяти для демонстрации знаков на указанном дисплейном устройстве.
17. Способ повторного использования игральных карт, или игровых карточек, или элементов, включающий операции заготовления множества носителей, способных запоминать знаки, определяющие идентичность игральной карты, или игровой карточки, или игрового элемента, причем произвольно получают или отбирают знаки, запоминаемые соответствующими носителями, активизируют соответствующие носители для показа соответствующих произвольно полученных или отобранных знаков, посредством чего каждый носитель становится игральной картой, или игровой карточкой, или игровым элементом, затем удаляют показанные знаки с носителей, посредством чего указанные носители могут быть использованы повторно.
18. Устройство для раздачи и повторного использования игральных карт, или игровых карточек, или элементов, содержащее накопитель для хранения множества носителей, способных запоминать знаки, определяющие идентичность игральной карты, или игровой карточки, или игрового элемента, средства нанесения на указанные носители произвольно полученных или отобранных знаков, посредством чего каждый указанный носитель образует указанную игральную карту, или игровую карточку, или игровой элемент, и средства удаления с носителей нанесенных на них знаков.
19. Устройство по пп.2, 4 или 18, в котором указанные игральные карты, или игровые карточки, или элементы представляют собой материальные игральные карты, или игровые карточки, или элементы.
20. Устройство по пп.2, 4 или 18, в котором указанные игральные карты, или игровые карточки, или элементы содержат визуальные отображения игральных карт, или игровых карточек, или элементов, показываемые на мониторе или ином дисплейном устройстве.
21. Устройство по пп.2, 4 или 18, в котором указанные знаки, нанесенные на указанные носители, содержат карточные знаки, посредством чего указанные носители определяют игральные карты, причем устройство содержит средства выбора количества карточных колод, из которых указанные карточные знаки могут быть получены или отобраны произвольно.
22. Устройство по пп.2, 4 или 18, включающее средства дистанционной передачи и демонстрации указанных произвольно полученных или отобранных знаков.
23. Устройство по пп.2, 4 или 18, в котором указанные средства нанесения знаков на соответствующие носители содержат средства для печатания знаков для создания их изображения.
24. Устройство по п.23, в котором указанные средства удаления знаков содержат средства чистки или стирания указанного изображения с указанного носителя.
25. Устройство по п.23, в котором указанные средства удаления указанных знаков содержат химические средства или источник света.
26. Устройство по п.23, в котором указанные знаки выполнены на наклейках или на других сменных элементах, а указанные средства нанесения знаков на соответствующие носители содержат средства механического нанесения на носители сменных наклеек или элементов со знаками.
27. Устройство по п.26, в котором указанные средства удаления знаков содержат средства механического удаления наклеек или других элементов со знаками.
28. Устройство по п.18, в котором носители покрыты оптически чувствительным материалом, пригодным для печати, и которое содержит средства воздействия печатающим сигналом на указанные носители, чтобы отобразить указанные знаки.
29. Устройство по пп.2, 4 или 18, включающее средства считывания и показа на дисплейных средствах знаков, имеющихся на указанных носителях.
30. Устройство по п.29, в котором указанные носители содержат электронные или магнитные запоминающие средства для хранения указанных знаков или отображения указанных знаков и которое содержит средства внешнего программирования указанных запоминающих устройств для хранения указанных знаков или отображения указанных знаков.
31. Устройство по п.30, включающее средства удаления указанных сохраняемых в памяти или отображаемых знаков или перепрограммирования указанных запоминающих устройств на новые знаки или их отображения.
32. Носители для использования в качестве игральных карт, или игровых карточек, или элементов в карточной или иной игре, пригодные для нанесения на них знаков, посредством чего каждый из указанных носителей определяет игральную карту, или игровую карточку, или игровой элемент, причем знаки, имеющиеся на каждом из упомянутых носителей, определяют идентичность игральной карты, или игровой карточки, или игрового элемента, при этом указанные знаки выполнены с возможностью временного отображения на указанных носителях, так что указанные носители способны воспринимать соответственно разные знаки, посредством чего указанные носители могут определять разные игральные карты, или игровые карточки, или элементы.
33. Носители по п.32, представляющие собой материальные игральные карты, или игровые карточки, или игровые элементы.
34. Носители по п.32, в которых указанные знаки являются знаками, идентифицирующими соответствующие игральные карты, или игровые карточки, или элементы в зависимости от знаков, имеющихся на соответствующих носителях.
35. Носители по п.33, в которых указанные носители содержат карты-заготовки, имеющие размеры и конфигурацию обычных игральных карт или игровых карточек.
36. Носители по п.33, выполненные в виде игровых элементов, содержащих участок или зону, которая может иметь идентифицирующие знаки.
37. Носители по п.36, включающие дисплейные средства для демонстрации указанных знаков.
38. Носители по п.37, включающие перепрограммируемые запоминающие средства для хранения информации о знаках с целью демонстрации указанными дисплейными средствами.
Приоритет по пунктам:
18.05.2001 по пп.1-31;
10.10.2001 по пп.32-38.
РИСУНКИ
|
|