|
|
(21), (22) Заявка: 2006102609/14, 30.01.2006
(24) Дата начала отсчета срока действия патента:
30.01.2006
(46) Опубликовано: 20.11.2007
(56) Список документов, цитированных в отчете о поиске:
SU 1823191 А1, 27.01.1996. RU 2199610 C1, 27.02.2003. RU 2110283 C1, 10.05.1998. US 6254567 A, 03.07.2001. US 4473449 A, 25.09.1984.
Адрес для переписки:
607188, Нижегородская обл., г. Саров, пр-т Мира, 37, ФГУП “РФЯЦ – ВНИИЭФ”, начальнику ОПИНТИ
|
(72) Автор(ы):
Носков Сергей Григорьевич (RU), Стрелков Сергей Иванович (RU), Лещинский Герман Михайлович (RU), Шутов Олег Александрович (RU)
(73) Патентообладатель(и):
Федеральное государственное унитарное предприятие “Российский федеральный ядерный центр – Всероссийский научно-исследовательский институт экспериментальной физики” – ФГУП “РФЯЦ – ВНИИЭФ” (RU)
|
(54) УСТРОЙСТВО ДЛЯ ЭЛЕКТРОХИМИЧЕСКОЙ ОЧИСТКИ ДИАЛИЗИРУЮЩЕГО РАСТВОРА В ЭЛЕКТРОЛИЗЕРЕ
(57) Реферат:
Изобретение используется в медицине и может быть применено для электрохимической очистки диализирующего раствора в аппаратах внепочечного очищения крови. В корпусе электролизера выполнены две сообщающиеся между собой камеры, в одной из которых размещены катоды и аноды, а в другой – датчик уровня, причем нижний контакт датчика уровня установлен выше уровня выходного отверстия диализирующего раствора, а верхний – ниже уровня отверстия для выхода газов. Обе камеры сообщаются между собой двумя каналами, нижний из которых расположен ниже уровня выходного отверстия диализирующего раствора, а верхний – на уровне отверстия для выхода газов. Патрубок для выхода газов соединен с клапаном, управляемым от сигнала датчика уровня. Изобретение обеспечивает получение на выходе из электролизера равномерного потока очищенного от азотистых соединений и газообразных продуктов окисления диализирующего раствора. 1 ил.
Изобретение относится к области медицинской техники и прикладной электрохимии и, в частности, к устройствам для электрохимической регенерации диализирующих растворов и может быть использовано в аппаратах для внепочечного очищения крови, например, в аппаратах «Искусственная почка» для удаления токсичных веществ из диализирующих растворов.
Известны устройства для контроля уровня электролита, например, а.с. SU №644166, опубл. 27.01.2000, №820269, опубл. 27.02.2000, заявка RU №94026052, опубл. 10.06.1996. Все эти устройства, представляющие собой частные решения конструктивных элементов датчиков уровня, достаточно сложны и состоят из большого количества деталей.
Известно устройство (патент RU №2110999, опубл. 20.05.98), содержащее электролизер с электродами из платинированного титана, блок управления, насос, прокачивающий раствор, и накопительную емкость с датчиками уровня, в котором по сигналу датчика уровня отключается подача раствора в электролизер.
Известно также устройство (патент RU №2141453, опубл. 20.11.99), содержащее электрохимические ячейки с электродами, в которых проходит электролиз, емкости для каолита, солевого раствора и анолита, датчики контроля уровня, установленные в емкостях для анолита и солевого раствора, насос, блок управления. По сигналу датчиков уровня отключается насос и снимается напряжение с электродов электролизных ячеек.
В обоих вышеуказанных устройствах датчики уровня контролируют уровень раствора, получаемого после электролиза, и не способствуют улучшению работы электролизера и повышению качества очищенного раствора.
Известно устройство для электролиза (патент RU №2199610, опубл. 27.02.2003), которое представляет собой электролизер пакетного типа и содержит вертикально расположенные электроды, в которых выполнены верхние газоотводящие отверстия и нижние соосные отверстия для подачи электролита, между электродами расположены диэлектрические прокладки, а в отверстия электродов пропущены перфорированные трубы с патрубками на концах.
Недостатком данного устройства является то, что газы, образующиеся в большом количестве при электролизе, смешиваются с электролитом, уровень которого не может быть ниже верхней перфорированной трубы, и выделяющимся газам негде скапливаться. Электролит, выходящий из электролизера, оказывается насыщенным газом, что недопустимо при использовании электролизера для очистки такого электролита как диализирующий раствор в аппаратах типа «искусственная почка».
Наиболее близким техническим решением является электролизер для электрохимической очистки диализирующего раствора (а.с. SU №1823191, опубл. 27.01.96), содержащий корпус с размещенными в нем платиново-титановыми анодами и катодами и патрубками: нижним – для входа диализирующего раствора, средним – для выхода очищенного диализирующего раствора и верхним, расположенным в свободной от электродов части корпуса (сепарационная камера), – для выхода газов.
В электролизере по прототипу очищенный электролит (диализирующий раствор) содержит значительно меньше газа, чем в устройстве по описанному выше патенту RU №2199610, опубл. 27.02.2003, благодаря наличию сепарационной камеры, но недостатком его является нерегулируемый выброс газов. Процесс электролиза проходит очень бурно, с большим образованием газообразных продуктов, причем давление газов в процессе работы электролизера все время меняется. Это давление воздействует на электролит, снижая или повышая его уровень. Отверстие в электролизере для выхода газов выполнено нерегулируемым, оно не может быть большим, так как через него будет выплескиваться электролит, но не может быть и малым, так как давление газов может снизить уровень электролита ниже выходного отверстия, и электролит не будет выходить из электролизера, а газы будут попадать через сливное отверстие в общий поток диализирующего раствора (диализата), что недопустимо.
При создании данного изобретения решалась задача разработки надежного устройства для электрохимической очистки диализирующего раствора в электролизере, обеспечивающего получение очищенного диализата, пригодного для дальнейшего применения в аппаратах «Искусственная почка».
Техническим результатом устройства явилось создание электролизера, снабженного простым и компактным устройством контроля и управления уровнем электролита в нем, и получение на выходе из электролизера равномерного потока очищенного электрохимическим способом диализирующего раствора, свободного от газообразных продуктов электролиза.
Указанный результат достигается тем, что по сравнению с известным устройством для электрохимической очистки диализирующего раствора, содержащим корпус с отверстиями и патрубками для входа диализирующего раствора и выхода очищенного диализирующего раствора, а также для выхода газа, параллельные катоды и аноды, сепарационную камеру, заявляемое устройство содержит новое – то, что в корпусе электролизера выполнены две сообщающиеся между собой камеры, в одной из которых размещены аноды и катоды, а в другой – датчик уровня, причем нижний контакт датчика уровня установлен выше уровня выходного отверстия диализирующего раствора, а верхний – ниже уровня отверстия для выхода газов, обе камеры сообщаются между собой двумя каналами, нижний из которых расположен ниже уровня выходного отверстия диализирующего раствора, а верхний – на уровне отверстия для выхода газов, при этом патрубок для выхода газов соединен с клапаном, имеющим возможность открываться при опускании уровня диализата ниже нижнего контакта датчика уровня и закрываться при подъеме уровня диализата до верхнего контакта датчика уровня.
Простота и компактность устройства обеспечиваются расположением сообщающихся между собой камер, отличающихся только размерами, в одном корпусе и аналогичным их выполнением, например, фрезерованием корпуса, при этом обе камеры максимально приближены друг к другу. Благодаря наличию двухконтактного датчика уровня и управляемого от сигнала датчика клапана, поддерживающих уровень диализата в электролизере выше уровня отверстия для выхода очищенного диализата и ниже уровня отверстия для выхода газов, удалось практически полностью отделить газообразную составляющую продуктов электролиза от жидкой, при этом диализат, выходящий через сливное отверстие, свободен от пены и газов и его поток не прерывается, а отсутствие пены и газов в камере с датчиком уровня способствует надежной работе датчика. Наличие воздушных или газовых пузырьков недопустимо при прохождении диализата через диализатор, где диализирующий раствор контактирует с кровью через мембрану, так как попадание пузырьков газа в кровь может привести к летальному исходу пациента. (В.М.Гринвальд и др. Конструкция и первые результаты испытаний диализного аппарата АДР-01 с регенерацией диализирующего раствора. Ж, Медицинская техника №3, Москва, Медицина, 1993, стр.28-31). Поэтому, чем чище диализирующий раствор от газовых составляющих на выходе из электролизера, тем надежнее работа аппарата в целом. Кроме этого, наличие пузырьков газа нарушает работу измерительных узлов: датчиков уровня, мочевины, гипохлорита. (Нефедкин С.И. Разработка электрохимических методов и устройств для очистки и мониторинга водных технологических сред, содержащих растворенные органические вещества. Автореферат на соискание ученой степени доктора технических наук. М., 2004).
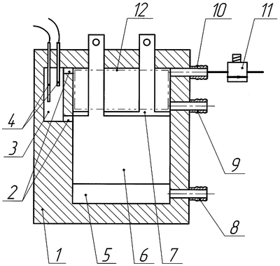
На чертеже схематично представлено заявляемое устройство для электрохимической очистки диализирующего раствора в электролизере.
Устройство включает в себя электролизер, содержащий герметичный корпус 1 с отверстиями, в корпусе электролизера выполнены две сообщающиеся между собой посредством каналов 2 камеры 3 и 5. В камере 3 установлен датчик уровня 4 с двумя контактами, в камере 5 размещены аноды 6 и катоды 7. Патрубок 8 служит для подачи диализирующего раствора в соответствующее отверстие электролизера, патрубок 9 служит для отвода через соответствующее отверстие электролизера очищенного диализирующего раствора. Патрубок 10 соединен с управляемым клапаном 11 и служит для выхода через соответствующее отверстие электролизера газообразных продуктов электролиза. Свободное пространство 12 над электродами представляет собой сепарационную камеру. Устройство работает следующим образом. Подлежащий очистке диализирующий раствор насосом подается через патрубок 8 в электролизер. Азотистые соединения диализирующего раствора, проходя в межэлектродном пространстве, окисляются, выделяя большое количество газообразных продуктов, которые поднимаются вверх и скапливаются в пространстве над электродами, при этом давление газов может быть таким, что уровень диализата опустится ниже выходного отверстия 9, тогда слив диализата прекращается и нарушается дальнейшей процесс диализа, что недопустимо. Датчик уровня 4 контролирует этот процесс. При опускании уровня диализата ниже нижнего контакта датчика 4 датчик дает сигнал на открывание клапана 11 для сбрасывания давления газов, диализат свободно поступает в камеру 5 до верхнего контакта датчика 4, после чего клапан 11 закрывается. Расположение нижнего отверстия 2, соединяющего камеры 3 и 5, ниже нижнего уровня диализата улучшает условия работы датчика 4, так как практически исключает попадание в камеру 3 пены и газообразных продуктов окисления, нарушающих работу датчика. Верхнее отверстие 2 служит для входа и выхода воздуха из камеры 3 при изменении в ней уровня диализата.
Указанное устройство реализовано в блоке регенерации диализирующего раствора и входит в состав «Аппарата диализного АГДР-01» (см. выше). Корпус устройства выполнен из оргстекла толщиной 30 мм. На поверхности оргстекла выполнены две выборки глубиной 20 мм, представляющие собой камеры. Снаружи корпус герметично закрывается крышкой. В одной из камер корпуса установлены катоды и аноды, выполненные из титана, покрытого платиной, в другой – датчик уровня. Диализирующий раствор отдельно готовится дозированным смешиванием очищенной водопроводной воды и специального концентрата. В указанном аппарате объем диализата 3 литра.
Применение предлагаемого устройства для электрохимической очистки диализирующего раствора в электролизере позволило получить равномерный поток очищенного электрохимическим способом диализата, содержащего минимальное количество газообразных продуктов электролиза (со степенью очистки до 95%), пригодного для дальнейшего применения в аппарате «Искусственная почка», при этом удалось создать простое, компактное и надежное устройство.
Формула изобретения
Устройство для электрохимической очистки диализирующего раствора в электролизере, содержащее корпус с отверстиями и патрубками для входа диализирующего раствора и выхода очищенного диализирующего раствора, а также для выхода газа, параллельные катоды и аноды, сепарационную камеру, отличающееся тем, что в корпусе электролизера выполнены две сообщающиеся между собой камеры, в одной из которых размещены катоды и аноды, а в другой – датчик уровня, причем нижний контакт датчика уровня установлен выше уровня выходного отверстия диализирующего раствора, а верхний – ниже уровня отверстия для выхода газов, обе камеры сообщаются между собой двумя каналами, нижний из которых расположен ниже уровня выходного отверстия диализирующего раствора, а верхний – на уровне отверстия для выхода газов, при этом патрубок для выхода газов соединен с клапаном, имеющим возможность открываться при опускании уровня диализирующего раствора ниже нижнего контакта датчика уровня и закрываться при подъеме уровня диализирующего раствора до верхнего контакта датчика уровня.
РИСУНКИ
|
|