|
|
(21), (22) Заявка: 2006113853/14, 13.04.2006
(24) Дата начала отсчета срока действия патента:
13.04.2006
(46) Опубликовано: 20.11.2007
(56) Список документов, цитированных в отчете о поиске:
RU 2061433 C1, 10.06.1996. RU 2161928 С2, 20.01.2001. RU 2068670 C1, 10.11.1996. SU 1598995 А1, 15.10.1990. СА 2325233 А1, 12.05.2001.
Адрес для переписки:
420015, г.Казань, ул. Горького, 3, НИЦТ “ВТО”, патентный отдел
|
(72) Автор(ы):
Богов Андрей Алексеевич (RU), Мубараков Ренат Багдарович (RU), Васильев Михаил Викторович (RU)
(73) Патентообладатель(и):
Научно-исследовательский центр Татарстана “Восстановительная травматология и ортопедия” (RU)
|
(54) ОРТЕЗ ДЛЯ УДЛИНЕНИЯ НЕРВНЫХ СТВОЛОВ
(57) Реферат:
Изобретение относится к медицине. Ортез содержит элементы крепления к соединенным суставом сегментам конечности, шарниры и механизм привода, размещенный в кожухе. В качестве механизма привода использована червячная передача, червяк которой установлен в отверстиях на противоположных стенках прямоугольного кожуха и приводится во вращение рукояткой на его оси. Червячное колесо механизма закреплено на одной оси с двумя параллельными ребрами жесткости, установленными шарнирно, жестко закрепленными на кожухе и являющимися элементом крепления на сегменте конечности, расположенном проксимальнее сустава. На той же оси установлен элемент крепления, состоящий из пластины разработки и тяги, соединенных между собой винтом, который фиксируется на сегмент конечности, расположенный дистальнее сустава. Тяга установлена на оси жестко, а пластина разработки – шарнирно. Изобретение обеспечивает проведение дозированной дистракции нерва с уменьшением вероятности возникновения осложнений при повышенной комфортности устройства для больного. 2 з.п. ф-лы, 1 ил.
Изобретение относится к медицине, используется в травматологии-ортопедии, нейрохирургии и восстановительной хирургии при лечении дефектов нервных стволов.
Имеется ряд аналогов предлагаемого изобретения. В их числе – способ замещения дефекта нерва изменением положения конечности в суставе с фиксацией ее в гипсовой лонгете [1]. При данном способе стабилизируют сустав на 3 недели, затем, поэтапно меняя гипсовую лонгету, конечность постепенно выводят в физиологическое положение. Недостатком известного способа является то, что удлинение нерва, осуществляемое посредством разгибания конечности в гипсовой лонгете, производят без учета скорости роста нервных волокон и их эластичности. Кроме того, в отдельных случаях стабилизация сустава приводит к сгибательным контрактурам, которые трудно поддаются устранению этапными гипсовыми лонгетами.
Наиболее близким заявляемому по своему техническому решению является “Аппарат чрескостной фиксации” [2], рассматриваемый в качестве прототипа. Данное устройство содержит кольцевые опоры со спицами, кронштейны и винтовые планки, с шарнирно закрепленной муфтой и подвижным кронштейном, в отверстиях которых фиксирована штанга. Устанавливается устройство на смежных с зоной поражения сегментах конечности с помощью спиц.
К числу недостатков прототипа следует отнести большую травматичность операции, опасность инфицирования мягких тканей у мест выхода спиц через кожу, громоздкость системы вытяжения.
Сущность изобретения заключается в совокупности отличительных признаков, достаточной для получения искомого технического результата, а именно повышение комфортности для больного, возможности дозированной дистракции нерва и уменьшения вероятности возникновения осложнений.
Сущность изобретения заключается в том, что ортез для удлинения нервных стволов содержит элементы крепления к смежным, соединенным суставом, сегментам конечности, шарниры и механизм привода, размещенный в кожухе. В качестве механизма привода использована червячная передача, червяк которой установлен в отверстиях на противоположных стенках прямоугольного кожуха и приводится во вращение рукояткой на его оси. Червячное колесо механизма закреплено на одной оси с двумя параллельными ребрами жесткости, установленными шарнирно, жестко закрепленными на кожухе, и являющимися элементом крепления на сегменте конечности, расположенном проксимальнее сустава. На той же оси установлен элемент крепления, состоящий из пластины разработки и тяги, соединенных между собой винтом, который фиксируется на сегмент конечности, расположенный дистальнее сустава, причем тяга установлена на оси жестко, а пластина разработки – шарнирно.
Каждый из элементов крепления к сегментам конечности заключен в манжетку из синтетического материала с тканевым покрытием, имеющую по 2 ремня с застежками “Велкро”.
При фиксации ортеза механизм привода устанавливается по наружной поверхности, а застежки – по внутренней поверхности сегментов конечности.
Применение червячной передачи, приводимой в действие рукояткой, вращающей червяк, обеспечивает дозированное перемещение червячного колеса, а значит, дозированное движение в суставе, соединяющем сегменты конечности, на которых фиксирован ортез.
Жесткое крепление тяги на оси червячного колеса обеспечивает одновременное вращение этих деталей вокруг оси.
Использование винта для фиксации тяги и пластины разработки в элемент крепления, для их совместного движения, позволяет обеспечить разъединение этих деталей, необходимое для осуществления активных движений и свободного сгибания пациентом конечности в суставе.
Применение в качестве передаточного механизма червячной передачи обеспечивает движение элемента крепления, состоящего из тяги и пластины разработки, только при повороте червяка и исключает самостоятельное движение пластин.
Применение застежек «Велкро» позволяет регулировать степень прилегания ортеза к коже и его давление на мышцы, создает более комфортные условия для больного.
Применение ребер жесткости в виде двух параллельных продольных реек позволяет фиксировать ортез, обеспечивая расположение его вдоль оси конечности, сводя его массогабаритные характеристики к минимальным значениям.
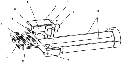
Общий вид ортеза для удлинения нервных стволов без тканевых манжеток изображен на чертеже.
Ортез содержит прямоугольный кожух 1, в отверстиях противоположных стенок 2 и 3 которого установлен червяк 4 с рукояткой 5. Витки червяка 4 находятся в зацеплении с червячным колесом 6, закрепленным на одной оси 7 с двумя параллельными ребрами жесткости 8. На этой же оси 7 жестко установлена тяга 9 и шарнирно – пластина разработки 10, соединенные между собой винтом 11.
Ортез применяют следующим образом. Проводят ревизию зоны повреждения нервного ствола. При его дефекте – мобилизуют проксимальный и дистальный концы поврежденного нерва, сгибают конечность в суставе и производят нейрорафию. Конечность фиксируют в согнутом положении в ортезе для удлинения нервных стволов. При этом пластина разработки и тяга ортеза крепятся на сегменте конечности, расположенном дистальнее сустава. В последующем пациент самостоятельно, по заранее определенной врачом программе, производит поворот рукоятки 5, обеспечивая этим вращение червяка 4, а с ним и вращение червячного колеса 6. Поскольку на оси 7 червячного колеса 6 установлен элемент крепления, состоящий из тяги 9 и пластины разработки 10, то вращение червячного колеса 6 приводит во вращение жестко установленную тягу 9, а значит, и соединенную с нею винтом 11 пластину разработки 10, что дает возможность принудительно разгибать согнутую конечность. Темп разгибания выдерживают таким образом, чтобы ежедневное удлинение нервного ствола составляло не более 1-2 мм. При этом ортез позволяет проводить профилактику контрактуры сустава. Для этого винтом 11 разъединяют тягу 9 и пластину разработки 10. Так как пластина разработки 10 установлена шарнирно на одной оси 7 с ребрами жесткости 8, пациент беспрепятственно производит активную и пассивную разработку движений в иммобилизированном суставе. Тяга 9 при этом служит упором и не позволяет совершать переразгибание дистального сегмента конечности.
Источники информации
1. Григорович К.А. Хирургическое лечение повреждений нервов. – Л., 1981. – 302 с.
2. Авт. свид. СССР №2061433, М.кл. А61В 17/66, БИ №16, 1996.
Формула изобретения
1. Ортез для удлинения нервных стволов, содержащий элементы крепления к сегментам конечности, соединенным суставом, шарниры и механизм привода, размещенный в кожухе, отличающийся тем, что в качестве механизма привода использована червячная передача, червяк которой установлен в отверстиях на противоположных стенках прямоугольного кожуха и приводится во вращение рукояткой на его оси, червячное колесо механизма закреплено на одной оси с двумя параллельными ребрами жесткости, установленными шарнирно, жестко закрепленными на стенках кожуха и являющимися элементом крепления на части конечности, расположенной проксимальнее сустава, на той же оси установлен элемент крепления, состоящий из пластины разработки и тяги, соединенных между собой винтом, который фиксируется на часть конечности, расположенную дистальнее сустава, причем тяга установлена на оси жестко, а пластина разработки – шарнирно.
2. Ортез по п.1, отличающийся тем, что каждый из элементов крепления к частям конечности заключен в манжетку из синтетического материала с тканевым покрытием, имеющую по 2 ремня с застежками “Велкро”.
3. Ортез по п.1, отличающийся тем, что при его фиксации механизм крепления устанавливается по наружной поверхности, а застежки – по внутренней поверхности конечности.
РИСУНКИ
MM4A – Досрочное прекращение действия патента СССР или патента Российской Федерации на изобретение из-за неуплаты в установленный срок пошлины за поддержание патента в силе
Дата прекращения действия патента: 14.04.2008
Извещение опубликовано: 27.05.2010 БИ: 15/2010
|
|