|
(21), (22) Заявка: 2004100334/14, 13.01.2004
(24) Дата начала отсчета срока действия патента:
13.01.2004
(43) Дата публикации заявки: 20.06.2005
(46) Опубликовано: 20.11.2007
(56) Список документов, цитированных в отчете о поиске:
RU 2076639 C1, 10.04.1997. RU 2074651 C1, 10.03.1997. SU 1725847 A1, 15.04.1992. US 6428549 B1, 06.08.2002. ФЕДОРОВ И.В. Хирургические инструменты. Функции и назначение. – Казань: АКП “Аделаида”, 2001, с.46-47.
Адрес для переписки:
119415, Москва, ул. Удальцова, 4, кв.181, А.В.Дубровскому
|
(72) Автор(ы):
Дубровский Аркадий Вениаминович (RU)
(73) Патентообладатель(и):
Дубровский Аркадий Вениаминович (RU)
|
(54) СШИВАЮЩИЙ АППАРАТ С АТРАВМАТИЧЕСКИМИ ИГЛАМИ
(57) Реферат:
Сшивающий аппарат с атравматическими иглами, содержащий корпус с концевыми рукоятками и с концевой рабочей частью в виде прижимных губок, на одной из которых размещен съемный игольный прошивающий элемент, а на другой расположен фиксатор прошивающего элемента, отличающийся тем, что прошивающий элемент выполнен в виде подвижного магазина под прямые атравматические иглы с лигатурами, снабженного приводом прямолинейного движения под углом другим, чем перпендикулярно к линии шва, а рабочая губка с фиксатором прошивающего элемента снабжена также механизмом натяжения и фиксации лигатур, причем прижимные губки по существу параллельны друг к другу или подвижная рабочая губка установлена на дополнительном шарнире с возможностью качания вокруг своей центральной оси. Изобретение позволяет уменьшить травмирование прошиваемых тканей и облегчить вытягивание игл. 14 ил.
Область применения
Изобретение относится к медицине, к области хирургических сшивающих аппаратов.
Предшествующий уровень техники
В хирургической практике в настоящее время широко используются сшивающие аппараты, использующие металлические скрепки из тантала, титана, сплава 40 КНХМ для соединения тканей (авторское свидетельство СССР №71792, 1947 г., патенты СССР №107965, 1955 г., №1438739, 1985 г., патенты США №3316914, 1963 г., №4060089, 1977 г., №4532926, 1985 г. и т.д.) Несмотря на широкое распространение, металлические скрепки имеют ряд недостатков, остаются инородными телами и не могут быть использованы для сшивания ряда тканей и паренхиматозных органов.
Известны также устройства для сшивания тканей мягкой лигатурой, например, авторские свидетельства СССР №138326, 1960 г. (класс 30а, 8/06), №713563, 1976 г., №749389, 1978 г., №1745214, 1990 г., №1827189, 1990 г. (А61В 17/04), патент RU №2074651, 1993 г., патент RU №2076639, 1993 г., патент RU №2119771, 1993 г., патент RU №2120240, 1996 г., патент США №4557265, 1985 г. (128-340), патент DE №2801096, 1980 (А61В 17/04) и т.д. Эти аппараты не получили распространения из-за целого ряда недостатков (сложность конструкции, использование неатравматических игл, отсутствие замкнутого цикла сшивания и фиксации лигатур и т.д.)
Наиболее близким по конструкции является патент RU №2076639, 1993 г. Это устройство для сшивания тканей включает корпус с концевыми рукоятками и с концевой рабочей частью в виде прижимных губок, на одной из которых расположен съемный игольный прошивающий элемент с лигатурами, а на другой – стопор игольного прошивающего элемента. Игольный прошивающий элемент выполнен в виде снабженного приводом подвижного магазина под атравматические иглы и лигатуры. Игольный стопор снабжен дополнительно лигатурным фиксатором, лигатурным натяжителем и съемной предохранительной лигатурной пластиной. В результате устройство позволяет накладывать швы с использованием современных хирургических лигатур, в том числе и рассасывающихся. Однако это устройство для сшивания тканей имеет существенный недостаток: в устройстве используются иглы, конфигурация которых должна изменяться в процессе прошивания. Несмотря на предусмотренные в конструкции очень точные направляющие на прижимных поверхностях рабочих губок, игла при прохождении через ткани в результате остаточной ее деформации, особенно ее тупой конец с запрессованной в нее лигатурой, может оставить в тканях ход более широкий, чем диаметр иглы. Поэтому предлагается новая конструкция аппарата, сшивающего мягкими лигатурами, но при этом используются атравматические иглы прямые. Это позволит свести травму прошиваемых тканей к минимуму.
Таким образом, устройство для сшивания тканей по патенту RU №2076639, 1993 г. может быть принято как прототип к данному изобретению.
Раскрытие сущности изобретения
Целью данного изобретения является создание компактного аппарата для прошивания мягких тканей атравматическими иглами с современными хирургическими нитями, позволяющего уменьшить травму прошиваемых тканей. Для этого предлагается использовать прямые атравматические иглы, причем предусматривается их прямолинейное движение. Это исключает какую либо деформацию игл во время их прохождения через сшиваемые ткани, сводит травму прокалываемых тканей к минимуму и облегчает вытягивание игл из тканей.
Краткое описание чертежей
В дальнейшем изобретение поясняется описанием конкретных вариантов его осуществления и прилагаемыми чертежами, на которых:
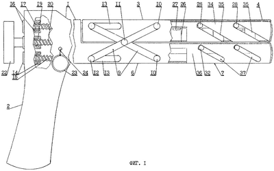
Фиг.1 изображает общий вид сшивающего аппарата, первый вариант согласно изобретению, с расположением игл перпендикулярно к продольной оси аппарата, в исходном положении, частичный разрез.
Фиг.2 – вид сверху на рабочую подвижную часть.
Фиг.3 – рабочие части сшивающего аппарата, вариант с расположением игл под углом в 45 градусов к продольной оси аппарата.
Фиг.4 – то же, что и на фиг.3, рабочие части в раскрытом положении.
Фиг.5 – то же, что и на фиг.1, рабочие части первого варианта, частичный разрез неподвижной рабочей части и полный разрез подвижной рабочей части на уровне боковых пластин – толкателя магазина с иглами и толкателя фиксатора игл с дистальными отделами управляющих штоков.
Фиг.6 – то же, что и на фиг.5, рабочие части первого варианта, частичный разрез, без боковых пластин – толкателя магазина с иглами и толкателя фиксатора игл.
Фиг.7 – толкатель магазина с иглами.
Фиг.8 – толкатель фиксатора игл.
Фиг.9 – магазин с иглами и лигатурами, с расположением игл перпендикулярно продольной оси аппарата.
Фиг.9а – магазин с иглами, вид сверху.
Фиг.10 – магазин с иглами и лигатурами при расположении игл под углом в 45 градусов к продольной оси аппарата.
Фиг.11 – фиксатор игл, срединный разрез.
Фиг.12 – подвижная внутренняя планка фиксатора игл, вариант с вырезами под иглы.
Фиг.12а – то же, что и на фиг.12 – подвижная внутренняя планка фиксатора игл, вариант с клиновидными боковыми выступами для заклинивания игл.
Фиг.13 и 13а – прижимная поверхность рабочей губки подвижной части, варианты отверстий для игл и прорезей для лигатур.
Фиг.14 – прижимная поверхность рабочей губки неподвижной части с затягивающимися петлями фиксирующих лигатур.
Лучшие варианты осуществления изобретения
Инструмент состоит из корпуса 1 с рукояткой 2 и управляющими винтами-рукоятками 14, 16, 19 со съемной рукояткой 22 на одном конце и рабочими частями 3 и 6, снабженными рабочими губками 4 и 7, на другом конце. Внутри корпуса располагаются три штока (15, 17-18 и 20), при помощи которых управляющие рукоятки соединяются с подвижной рабочей частью, с прошивающим элементом и стопором прошивающего элемента.
Рабочий конец инструмента состоит из двух частей: неподвижной 6 и подвижной 3. Каждая из этих частей имеет основание, в котором располагается механизм, поднимающий и опускающий подвижную часть, и собственно рабочие губки 4 и 7.
Подвижная рабочая часть может быть связана с неподвижной таким же образом, как и в патенте RU №2076639 от 1993 г., т.е. установлена на двух шарнирах с возможностью поворота вокруг своей центральной оси («плавающая рабочая губка»), или при помощи соединения, показанного на фиг.1, 3 и 4.
Это соединение состоит из двух штанг 9, перекрещенных и соединенных между собой центральным шарниром 11. Дистальные отделы штанг имеют шарниры 10, закрепленные в центральном отделе подвижной рабочей части и соответствующей по уровню неподвижной рабочей части. Проксимальные отделы штанг снабжены выступами, которые свободно перемещаются в соответствующих им прорезах 13 в подвижной и неподвижной частях аппарата. Проксимальный отдел штанги, расположенный в неподвижной части инструмента, связан шарниром 12 со штоком 15. При перемещении штока 15, управляемого винтом 14 и съемной рукояткой 22, перекрещенные штанги поднимают или опускают подвижную часть аппарата, раскрывая или сжимая рабочие губки. Описанное расположение перекрещенных штанг позволяет обеспечить параллельное движение рабочих губок. Перекрещенные штанги могут располагаться в середине или с каждой стороны рабочих частей аппарата, как показано на фиг.2 (вид сверху).
В рабочей губке подвижной части 4 располагается иглодержатель 25 – магазин с гнездами для атравматических игл с запрессованными в тупом их конце лигатурами 27. Иглы 26 с лигатурами 27 вставляются в гнезда тупым концом. Гнезда для игл в магазине могут располагаться в один, два и более рядов, лучше в шахматном порядке для большей герметичности шва (см. фиг.13 и 13а). В данной конструкции используются парные иглы, т.е. на каждой лигатуре с каждого конца имеется игла. Каждая пара игл с одной лигатурой вставляются в соседние гнезда иглодержателя – магазина для игл или через гнездо. После прошивания тканей и фиксации двух концов одной лигатуры между собой получается законченный стежок. Возможно использовать и одиночные иглы и множественные иглы на одной лигатуре с множественными ответвлениями.
В магазине иглы могут располагаться перпендикулярно продольной оси аппарата (фиг.9) или под другим углом (фиг.10). При расположении игл под углом, например, в 45 градусов – длина иглы в губке того же размера увеличивается почти в 1,5 раза. При этом расположении игл увеличивается и путь прошивания сжатых тканей, но незначительно. Поэтому расположение игл под углом к продольной оси аппарата может позволить создать рабочие губки меньших размеров.
Острые концы игл располагаются в специальных отверстиях прижимной поверхности 5 подвижной рабочей части (фиг.13 и 13а). Эти отверстия направляют движение игл при выталкивании их из подвижной рабочей части в строго определенном направлении. Каждая пара отверстий соединена между собой прорезью для соскальзывания лигатуры, соединяющей соответствующие пары игл (фиг.13 и 13а)
Каждый магазин имеет две или более пары выступов на своих боковых поверхностях 28 (фиг.9-10), которые располагаются в соответствующих им специальных направляющих пазах 29 в боковых поверхностях подвижной рабочей губки инструмента (фиг.6). Направление этих пазов должно точно соответствовать направлению игл в магазине (перпендикулярно к продольной оси аппарата или под определенным углом)
Между боковыми стенками подвижной рабочей губки и боковыми стенками магазина с каждой стороны имеется пространство, в котором располагается и может передвигаться боковая пластина – толкатель 34 со скошенными прорезями 35, соответствующими боковым выступам 28 на магазине (фиг.1, 5, 7). Эти скошенные прорези, как клинья, опускают магазин при горизонтальном передвижении (вдоль продольной оси инструмента) боковых пластин-толкателей. Пазы 29 в боковых стенках подвижной губки (фиг.6), в которых располагаются выступы 28 магазина, точно направляют магазин 25 в нужном направлении. Боковых пластин-толкателей 34 со скошенными прорезями лучше иметь две (с каждой стороны), но может быть и три (одна посередине магазина) или одна (с одной стороны или при расположении клиньев под дном магазина). Толкатели 34 связаны с управляющим винтом 16 посредством штока 17-18. Вместо винта 16 со съемной рукояткой 22 может быть использована и обычная рукоятка, вытягивающая шток 17-18 в проксимальном направлении.
Движение магазина с иглами, таким образом, происходит при движении штока 17-18. Шток 17-18, в связи с движениями подвижной части, состоит из двух частей: проксимальная часть 17, связанная с управляющим винтом 16, в удаленном от рукоятке отделе, соответствующему уровню подвижной части, оканчивается кольцом или другого вида расширением 17а, в котором может перемещаться изогнутый конец дистальной части штока 18 (см. фиг.4 и 5). Это зацепление дает возможность работать штоку в сомкнутом состоянии губок как единое целое и не мешает движениям подвижной рабочей части 3, приводящим к раскрытию и сжиманию рабочих губок.
В дистальном отделе неподвижной рабочей части (рабочей губке 7) расположен механизм фиксации концов игл 30, прошивших зажатые между губками ткани и вошедших в неподвижную рабочую губку 7 (фиг.6, 11). Механизм состоит из трех параллельно расположенных пластин (возможен вариант из двух пластин). Верхняя и нижняя пластины прочно соединены друг с другом, составляя корпус фиксатора игл 30. Между ними перемещается внутренняя пластина 31. В каждой пластине фиксатора (нижней, внутренней и верхней) имеются соответствующие друг другу прорези, в которые свободно проходят прошившие иглы (фиг.12). Перемещение внутренней пластины 31 деформирует прошившие иглы, прочно прижимая их к перекладинам в нижней и верхней пластинах. Для прочной фиксации пластины 31 в нужном положении на конце ее имеется выступ, который, попадая внутрь корпуса фиксатора 30, входит в зацепление с пружинящими упорами на концах верхней и нижней пластин фиксатора 30 (фиг.6 и 11). Это предотвращает обратное выскальзывание пластины 31 из корпуса фиксатора 30. Возможны и другие варианты фиксации игл, например, внутренняя пластина 31 имеет вид множественных клиньев (фиг.12а), деформирущих при своем перемещении прошившие иглы и прижимающих их (заклинивая) к боковым стенкам фиксатора. Могут быть созданы условия для загибания концов прошивших игл, например, упор в лунки, изменяющих направление игл (подобно аппаратам для сшивания металлическими скрепками).
Механизм фиксации игл 30, также как и магазин для игл 25, имеет боковые выступы 32 (фиг.1, 5, 6), расположенные в направляющих пазах 33 боковых стенок неподвижной рабочей губки 7. Направляющие пазы 33 вначале расположены перпендикулярно или под другим углом к продольной оси аппарата (точно в соответствии с расположением игл в магазине), но затем, в отличие от подвижной губки, они плавно меняют направление и располагаются вдоль продольной оси аппарата (фиг.6). Это позволяет, вытянув иглы 26 из зоны прошивания, затем передвигать весь фиксатор с зажатыми иглами и нитями вдоль продольной оси, натягивая прошившие лигатуры с необходимым усилием.
Совершенно также, как и в подвижной рабочей губке 4, между боковыми стенками рабочей губки неподвижной части 7 и боковыми стенками механизма для фиксации игл 30 расположены и передвигаются боковые пластины-толкатели 36 со скошенными прорезями 37 (фиг.5 и 8). Передвижение толкателей 36 вдоль продольной оси аппарата обеспечивает движение механизма для фиксации игл 30 с вытягиванием игл 26 и связанных с ним лигатур 27 из зоны прошивания.
Соединение толкателей 36 со штоком 20 осуществляется только после полной фиксации игл 26 в механизме 30. Для этого шток 20 сначала подается с определенным усилием в дистальном направлении. При этом он перемещает внутреннюю пластину 31 в механизме для фиксации игл 30 (см. фиг.5 и 6). Только переместившись на нужное расстояние, обеспечивающее прочную фиксацию игл, шток 20 входит в зацепление при помощи специального выступа 21 с пружинящим выступом 38 толкателя или толкателей 36. После этого движение штока 20 в обратном направлении приведет в движение толкатели 36, обеспечивающие движение механизма для фиксации игл 30. Движения штока 20 обеспечиваются управляющим винтом 19 со съемной рукояткой 22.
После прошивания и вытягивания игл и лигатур с достаточным их натяжением происходит фиксация концов каждой пары лигатур фиксирующей лигатурой 24 с затягивающейся прочным узлом петлей. Для этого необходимо натянуть до упора кольцо 23, к которому прикреплены все концы фиксирующих лигатур 24. Затягивающиеся узлом петли фиксирующих лигатур расположены (фиг.14) на прижимной поверхности 8 рабочей губки неподвижной части 7 в специальных пазах таким образом, чтобы в каждую петлю попадала одна пара прошивших лигатур. Концы фиксирующих лигатур проходят в специальных пазах или перекидываются через специальные выступы, расположенные в боковых участках на прижимной поверхности 8 рабочих губок неподвижной части 7. Концы фиксирующих лигатур должны быть направлены в противоположные стороны для равномерного затягивания узлов. Возможен вариант прохождения концов фиксирующих лигатур через специальную полую трубочку с боковыми отверстиями, соответствующими каждой петле. Такая трубочка 39 может быть расположена по средней линии прижимной поверхности 8 неподвижной рабочей губки 7 или с каждой стороны губки, как показано на фиг.14.
Возможны и другие способы фиксации прошивших и натянутых лигатур (склеивание концов лигатур, сдавливание их между двумя фиксирующимися поверхностями, скручивание их, сплавление их и т.д.).
Для прошивания паренхиматозных органов и в других случаях, когда необходимо предотвратить возможность прорезывания сшиваемых тканей затягивающейся лигатурой, предусматривается использование накладных тонких пластин из биосовместимого, лучше всего рассасывающегося материала, которые легко прокалываются иглами. Эти накладные пластины укладываются на прижимные поверхности 5 и 8 подвижной и неподвижной рабочих губок. В этих случаях петли фиксирующих лигатур, затягивающиеся узлами, располагаются непосредственно под такой накладной пластиной на прижимной поверхности 8 неподвижной рабочей губки 7.
Порядок работы сшивающим аппаратом следующий: после зарядки аппарата сшивающим элементом (магазином с иглами и лигатурами 25) и проверки расположения петель с затягивающимися узлами фиксирующих лигатур 24, аппарат подводится к сшиваемым тканям. При помощи съемной рукоятки 22 и управляющего винта 14 подвижная рабочая часть 3 поднимается. В образовавшееся пространство между рабочими губками 4 и 7 помещается сшиваемая ткань, при помощи рукоятки 22 и винта 14 подвижная рабочая часть 3 опускается, рабочие губки 4 и 7 смыкаются, сжимая расположенную между ними ткань с определенным контролируемым усилием. Проверив точность расположения рабочих губок на сшиваемой ткани, съемная рукоятка 22 перемещается на управляющий винт 16 и при помощи штока 17-18 и толкателя 34 магазин с иглами 25 перемещается по направляющим пазам 29 – иглы прокалывают зажатую ткань и входят в неподвижную рабочую губку 7, попадая в фиксатор игл 30. После этого съемная рукоятка 22 перемещается на управляющий винт 19. Вначале шток 20 подается вперед – в дистальном направлении до упора. При этом конец штока 20 толкает вперед внутреннюю пластину фиксатора игл 31, которая деформирует и заклинивает в фиксаторе игл 30 прошившие иглы 26. Одновременно с этим упор 21 на штоке 20 входит в зацепление с пружинящим упором 38 толкателя фиксатора игл 36. После этого вращением рукоятки 22 в обратном направлении шток 20 подается в проксимальном направлении, перемещая толкатель фиксатора игл по направляющим пазам 33. Фиксатор игл вытягивает прошившие и фиксированные иглы из сшиваемых тканей в прямолинейном направлении, строго совпадающим с направлением иглы. После полного извлечения игл из сшиваемых тканей дальнейшее движение штока 20 в проксимальном направлении благодаря направляющим пазам 33 приводит к движению фиксатора лигатур с зажатыми иглами в проксимальном направлении до достаточного натяжения лигатур 27.
Убедившись в достаточности натяжения прошивших лигатур, натягивается кольцо 23, которое приводит к натяжению фиксирующих лигатур 24 и затягиванию прочных узлов вокруг основания натянутых лигатур 27. Съемная рукоятка 22 перемещается на винт 14, подвижная часть 3 поднимается, освобождая прошитые ткани. Прошившие и фиксированные лигатуры после проверки герметичности шва отсекаются. Цикл прошивания закончен.
Промышленная применимость
Представленные варианты сшивающего аппарата с атравматическими иглами позволяют широко использовать его в различных областях хирургической практики для соединения различных биологических тканей, в том числе – для сшивания паренхиматозных органов. Аппарат обеспечивает герметичный шов с минимальной травмой сшиваемых тканей. Аппарат позволяет использовать рассасывающиеся в определенные сроки современные лигатуры.
Обозначения
1. Корпус.
2. Рукоятка корпуса.
3. Подвижная рабочая часть.
4. Рабочая губка подвижной части.
5. Прижимная поверхность рабочей губки подвижной части.
6. Неподвижная рабочая часть.
7. Рабочая губка неподвижной части.
8. Прижимная поверхность рабочей губки неподвижной части.
9. Штанги, поднимающие и опускающие подвижную рабочую часть.
10. Шарниры штанг, фиксированные в подвижной и неподвижной рабочих частях.
11. Центральный шарнир штанг.
12. Шарнир штанги, связывающей ее со штоком 15.
13. Прорези для движения проксимальных отделов штанг
14. Винт, управляющий движениями штока 15.
15. Шток для штанг 9, управляющих движением подвижной части 3.
16. Винт, управляющий движением штока 17-18 для толкателя (толкателей) магазина с иглами 34.
17. Шток для толкателя магазина с иглами, проксимальная часть.
17а. Расширение на дистальном конце штока 17.
18. Дистальная часть штока 17 для толкателя магазина с иглами 34.
19. Винт, управляющий движением штока 20 для толкателя фиксатора игл 36.
20. Шток толкателя фиксатора игл 36.
21. Выступ на дистальном конце штока 20 для зацепления с толкателем фиксатора игл 36.
22. Съемная рукоятка для управляющих винтов 14, 16 и 19.
23. Рукоятка (кольцо) для натяжения фиксирующих лигатур.
24. Фиксирующие лигатуры с петлями, затягивающимися узлами.
25. Магазин с иглами.
26. Атравматические прямые иглы.
27. Лигатуры.
28. Направляющие выступы на магазине.
29. Направляющие пазы на корпусе подвижной рабочей губки для движения магазина.
30. Фиксатор игл – корпус.
31. Подвижная внутренняя пластина фиксатора игл с защелкой.
32. Направляющие выступы на корпусе фиксатора игл.
33. Направляющие пазы на корпусе неподвижной рабочей части для корпуса фиксатора.
34. Толкатель магазина с иглами.
35. Прорези в толкателе магазина для выступов на боковых поверхностях магазина.
36. Толкатель фиксатора игл.
37. Прорези в толкателе фиксатора игл для выступов на боковых поверхностях фиксатора.
38. Выступ в толкателе фиксатора игл для сцепления его с выступом 21 штока толкателя фиксатора игл 20.
39. Трубочки для фиксирующих лигатур 24.
Формула изобретения
Сшивающий аппарат с атравматическими иглами, содержащий корпус с концевыми рукоятками и с концевой рабочей частью в виде прижимных губок, на одной из которых размещен съемный игольный прошивающий элемент, а на другой расположен фиксатор прошивающего элемента, отличающийся тем, что прошивающий элемент выполнен в виде подвижного магазина под прямые атравматические иглы с лигатурами, снабженного приводом прямолинейного движения под углом, другим, чем перпендикулярно к линии шва, а рабочая губка с фиксатором прошивающего элемента снабжена также механизмом натяжения и фиксации лигатур, причем прижимные губки, по существу, параллельны друг к другу или подвижная рабочая губка установлена на дополнительном шарнире с возможностью качания вокруг своей центральной оси.
РИСУНКИ
|