|
(21), (22) Заявка: 2006119157/14, 31.05.2006
(24) Дата начала отсчета срока действия патента:
31.05.2006
(46) Опубликовано: 20.11.2007
(56) Список документов, цитированных в отчете о поиске:
Журнал «АКСИОМА», 2004, с.12, №2094 М. RU 2163784 C1, 10.03.2001. RU 2238045 C1, 20.10.2004. US 5353785 A, 11.10.1994.
Адрес для переписки:
350007, г.Краснодар, ул. Захарова, 43, кв.13, В.И. Закусило
|
(72) Автор(ы):
Оноприев Александр Владимирович (RU), Закусило Валентин Иванович (RU), Закусило Владимир Валентинович (RU), Габриэль Сергей Александрович (RU)
(73) Патентообладатель(и):
Оноприев Александр Владимирович (RU), Закусило Валентин Иванович (RU), Закусило Владимир Валентинович (RU), Габриэль Сергей Александрович (RU)
|
(54) УСТРОЙСТВО ДЛЯ СМЕЩЕНИЯ ОРГАНОВ БРЮШНОЙ ПОЛОСТИ ПРИ ЛАПАРОСКОПИЧЕСКОМ ВМЕШАТЕЛЬСТВЕ
(57) Реферат:
Изобретение относится к хирургии и может быть использовано при лапароскопических операциях с целью смещения органов и создания рабочего пространства в области оперирования. Устройство для смещения органов брюшной полости при лапароскопическом вмешательстве содержит пластины-ретракторы на рабочем конце, корпус в виде трубки, муфту для крепления корпуса к горизонтальной штанге и рукоятки. Рукоятки размещены на конце, противоположном рабочему концу корпуса. Муфта для крепления корпуса прикреплена к горизонтальной штанге. Штанга закреплена к стакану. Стакан установлен на стойке. Стойка прикреплена к операционному столу. На корпусе установлена труба. Рукоятки закреплены на концах корпуса и трубы для перемещения корпуса и трубы. Пластины-ретракторы выполнены переустанавливаемыми и закреплены на рабочих концах корпуса и трубы для смещения органов параллельно корпусу или для смещения органов перпендикулярно корпусу. В результате устройство обеспечивает возможность смещения и расширения мест доступа к оперируемым органам брюшной полости в горизонтальном и вертикальном направлениях при лапароскопических операциях. 3 з.п. ф-лы, 8 ил.
Предлагаемое изобретение относится к медицине, а именно к хирургии, и может быть использовано при лапароскопических операциях с целью смещения органов и создания рабочего пространства в области оперирования. Недостаточность выбора известных оперативных средств смещения органов для обеспечения рабочего пространства в области оперирования, а также возможность фиксированного смещения органов ограничивает использование лапароскопических операций. Наличие только вертикальных ретракторов для лапароскопических операций не позволяет обеспечить необходимый доступ к местам оперирования, там где необходим подъем органов и расширение рабочего пространства в вертикальном и горизонтальном направлениях.
Отсутствие фиксации выбранных положений ретракторов, невозможность обеспечения их стабильного положения создает неудобства и трудности в работе, вызывает необходимость в дополнительном ассистенте на операции. Наличие в конструкции существующих ретракторов неразборных узлов ухудшает качество их стерилизации.
Аналогом предлагаемого изобретения является ретрактор, представленный в каталоге «Аксиома», 2004 г., стр.12:
– ретрактор прямой №2093М пятилепестковый содержит корпус в виде трубки, на рабочем конце которого смонтированы пять раскрывающихся лепестков в виде пластин, раскрывающихся механизмом с пазами, приводимого в действие посредством толкателя от рукоятки, расположенной на противоположном от рабочего конца месте, содержащий рычажный механизм.
К недостаткам такого решения следует отнести отсутствие возможности его использования в вертикальном направлении, неразборность его механизма для достаточной стерилизации, отсутствие возможности фиксации выбранного положения относительно операционного стола.
В качестве ближайшего аналога может быть использован ретрактор прямой трехлепестковый, представленный в журнале «Аксиома», 2004 г. стр. 12, №2094М.
Ретрактор содержит корпус в виде трубки, на рабочем конце которого смонтированы лепестки в виде пластин, раскрывающиеся посредством механизма с пазами, приводимого в действие через толкатель от рукоятки, расположенной на противоположном от рабочего конца месте.
К недостаткам такого ретрактора следует отнести расположение лепестков только в вертикальной плоскости. Посредством такого ретрактора затруднительно выполнение расширения пространства в оперируемой области в вертикальном направлении, а также подъем органов. Затруднена стерилизация в связи с наличием неразбираемых узлов конструкции, отсутствует возможность фиксации положения ретрактора относительно операционного стола.
Задачи:
– Обеспечение устройством возможности смещения и расширения доступа к оперируемым органам в вертикальном и горизонтальном направлении при лапароскопических операциях.
– Обеспечение удобной установки ретракторов в месте базирования на корпусе и трубе с надежным их закреплением.
– Удобство работы с устройством с возможностью полной разборки его для стерилизации и дезинфекции.
– Надежное фиксирование выбранного положения ретракторов на операционном столе.
Сущностью предлагаемого изобретения является то, что на наружном диаметре корпуса в виде трубки установлена труба, на рабочих концах корпуса и трубы крепятся переустанавливаемые пластины-ретракторы для смещения органов в вертикальном и горизонтальном направлении, а на противоположных рабочим концам корпусе и трубе установлены рукоятки для их перемещения с закрепленными на них пластинами-ретракторами. На рабочем конце корпуса предусмотрено квадратное отверстие для установки хвостовиками двух симметричных пластин-ретракторов с лунками для фиксации пластин-ретракторов посредством винта, расположенного в отверстии корпуса, с рукояткой со стороны, противоположной рабочему концу корпуса. На наружном диаметре трубы, у рабочего ее конца, предусмотрены пазы для установки пластины с вилкой, на внутренних сторонах которой предусмотрены радиусные поверхности, нанизываемые на наружный диаметр корпуса при совпадении пазов на трубе и корпусе, а после нанизывания вилки и поворота трубы относительно корпуса, вилка пластины радиусными поверхностями удерживается в пазах трубы наружным диаметром корпуса. Предусмотрена муфта для крепления корпуса к горизонтальной штанге, содержащая ось для отклонения корпуса от вертикального положения, с фиксацией выбранного положения конусным фиксатором, при этом штанга закреплена к стакану, установленному на стойке, закрепленной к операционному столу, а также в муфте предусмотрена возможность вместо корпуса устройства крепить прямые ретракторы по типу ретракторов №2094М и №2093М с обеспечением фиксации выбранного положения.
Устройство обеспечит возможность смещения и расширения мест доступа к оперируемым органам брюшной полости в горизонтальном и вертикальном направлении при лапароскопических операциях.
Обеспечит возможность установки в корпус и трубу пластин-ретракторов через параллельно установленный в брюшине троакар имеющимися средствами.
Обеспечит надежное крепление пластин-ретракторов.
Обеспечит возможность полной разборки для очистки и стерилизации.
Обеспечит надежное фиксирование смещений органов за счет крепления корпуса через муфту, штангу, стойку к операционному столу.
Обеспечит возможность установки и крепления вместо корпуса устройства прямых ретракторов по типу ретракторов №2094М и №2093М.
За счет отсутствия карбоксиперитонеума расширится возможность применения лапароскопических операций у больных с кардиологической патологией.
Обеспечит расширение возможностей использования лапароскопических способов операций, удобство в работе, сократит время операции.
Отпадет необходимость в дополнительном ассистенте, который держит применяемый в настоящее время ретрактор.
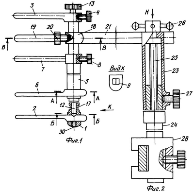
Конструкция «Устройство для смещения органов брюшной полости при лапароскопическом вмешательстве» изображена на фиг.1 – общий вид устройства с расположением пластин-ретракторов для смещения органов параллельно оси корпуса; фиг.2 – вид по стрелке К; фиг.3 – вид по стрелке Н; фиг.4 – вид по А-А; фиг.5 – вид по Б-Б; фиг.6 – вид с расположением пластин в устройстве для смещения органов перпендикулярно оси корпуса; фиг.7 – вид по В-В; фиг.8 – вид устройства с установкой прямого ретрактора 29 вместо корпуса устройства 1.
На корпусе 1 закреплены пластины-ретракторы 2 и рукоятка 3 с винтом 4, установлена труба 5 с пластиной-ретрактором 6 и рукояткой 7, закрепленной винтом 8.
На корпусе 1 предусмотрено квадратное отверстие 9 для крепления пластин-ретракторов 2 с хвостовиками 10, имеющими лунки 11. В отверстии корпуса 1 установлен винт 12 с рукояткой 13 для фиксации пластин 2. В трубе 5 предусмотрены пазы 14 для установки пластины-ретрактора 6 с вилкой 15, имеющей радиусные поверхности 16 для фиксации вилки 15 на наружном диаметре корпуса 1. На корпусе 1 предусмотрены пазы 17 для прохода вилки 15 и одевания ее радиусными поверхностями 16 на наружный диаметр корпуса 1.
Корпус 1 крепится муфтой 18 с рукояткой и винтом 20 к штанге 21, закрепленной винтом 22 к стакану 23, установленному на стойке 24, закрепленной к операционному столу замком 28. Стакан 23 перемещается на стойке 24 посредством винта 25 с рукояткой 26 и фиксируется винтом 27. Стойка крепится к операционному столу замком 28. При целесообразности прямой ретрактор 29 крепится вместо корпуса 1.
Работа устройства для смещения органов брюшной полости осуществляется следующим образом. При выполнении лапароскопических операций, если выявилась необходимость смещения органов или расширения доступа к оперируемому органу, выполняется следующее.
Корпус 1 с рукояткой 3, закрепленной винтом 4, с трубой 5, закрепленной на ней рукояткой 7 посредством винта 8, устанавливаются к зоне оперирования через троакар. Через параллельно расположенный троакар имеющимися средствами заводятся в зону оперирования поочередно смежные пластины-ретракторы 2 и устанавливаются хвостовиками 10 в квадратное отверстие 9 корпуса 1, в зависимости от требований операции в направлении, параллельном или перпендикулярном оси корпуса. Смежные пластины-ретракторы 2 закрепляются винтом 12 с рукояткой 13 с упором в лунки 11 через параллельно установленный троакар, имеющимися средствами проводят в зону оперирования пластину-ретрактор 6 и устанавливают его в пазы 14 на трубе 5 вилкой 15. При совпадении пазов 14 и пазов 17 надевают вилку радиусными поверхностями 16 на наружный диаметр корпуса 1. Поворотом трубы 5 относительно корпуса 1 обеспечивается фиксирование вилки пластины-ретрактора 14 радиусными поверхностями 16 на пружинном диаметре корпуса 1.
Корпус 1 посредством муфты 18, рукоятки 19 и винта 20 крепится к штанге 21. Штанга 21 крепится винтом 22 к стакану 23. Посредством винта 25 рукояткой 26 устанавливается стакан 23 по высоте относительно стойки 24, закрепленной к операционному столу замком 28, и фиксируется винтом 27. В корпусе 1 с торца предусмотрено резьбовое отверстие для крепления дополнительного ретрактора 30.
Винтом 20 освобождают зажим муфты 18 корпуса 1. Рукояткой 3 корпус 1 с симметричными пластинами-ретракторами 2 смещает орган брюшной полости, облегчая доступ к месту оперируемого органа. Выбранное положение смещения фиксируется муфтой 18 с винтом 20 и рукояткой 19.
При освобождении винтом 8 рукояткой 7 устанавливается пластина-ретрактор 6, смещая орган брюшной полости, облегчая доступ к месту оперирования, и винтом 8 фиксируется положение пластины-ретрактора 6 фиксацией трубы 5 на корпусе 1.
Разборка осуществляется в обратной последовательности.
При целесообразности применения прямолинейного ретрактора 29 с обеспечением фиксации выбранного положения ретрактор 29 устанавливается в муфту 18 и крепится винтом 20 и рукояткой 19 вместо корпуса 1.
Формула изобретения
1. Устройство для смещения органов брюшной полости при лапароскопическом вмешательстве, содержащее пластины-ретракторы на рабочем конце, корпус в виде трубки, и рукоятки, размещенные на конце, противоположном рабочему концу корпуса, отличающееся тем, что дополнительно содержит муфту для крепления корпуса к горизонтальной штанге, которая закреплена к стакану, установленному на стойке, прикрепленной к операционному столу, причем на корпусе установлена труба, рукоятки закреплены на концах корпуса и трубы для перемещения корпуса и трубы, а пластины-ретракторы выполнены переустанавливаемыми и закреплены на рабочих концах корпуса и трубы для смещения органов параллельно корпусу или для смещения органов перпендикулярно корпусу.
2. Устройство по п.1, отличающееся тем, что на рабочем конце корпуса выполнено квадратное отверстие для установки хвостовиков двух пластин-ретракторов, причем пластины-ретракторы выполнены симметричными и имеют лунки для фиксации винтом в плоскости, перпендикулярной корпусу, или в плоскости, параллельной корпусу, а винт расположен в отверстии корпуса и снабжен рукояткой, размещенной со стороны, противоположной рабочему концу корпуса.
3. Устройство по п.1, отличающееся тем, что на наружном диаметре трубы у рабочего ее конца выполнены пазы для установки пластины-ретрактора, имеющей вилку, причем на внутренних сторонах вилки выполнены радиусные поверхности для нанизывания на наружный диаметр корпуса и для удерживания в пазах трубы наружным диаметром корпуса.
4. Устройство по п.1, отличающееся тем, что горизонтальная штанга содержит ось для отклонения корпуса от вертикального положения с фиксацией выбранного положения конусным фиксатором, а муфта выполнена для крепления прямых ретракторов вместо корпуса и для фиксации выбранного положения.
РИСУНКИ
MM4A – Досрочное прекращение действия патента СССР или патента Российской Федерации на изобретение из-за неуплаты в установленный срок пошлины за поддержание патента в силе
Дата прекращения действия патента: 01.06.2008
Извещение опубликовано: 20.06.2010 БИ: 17/2010
|