|
(21), (22) Заявка: 2005133400/12, 28.10.2005
(24) Дата начала отсчета срока действия патента:
28.10.2005
(30) Конвенционный приоритет:
29.10.2004 KR 10-2004-0087104
(43) Дата публикации заявки: 10.05.2007
(46) Опубликовано: 20.11.2007
(56) Список документов, цитированных в отчете о поиске:
WO 00/74548 A, 14.12.2000. US 3425192 A, 04.02.1969. US 2553175 A, 15.05.1951. EP 0489468 A1, 10.06.1992. RU 2236813 C2, 27.09.2004.
Адрес для переписки:
129010, Москва, ул. Б.Спасская, 25, стр.3, ООО “Юридическая фирма Городисский и Партнеры”, пат.пов. С.А.Дорофееву
|
(72) Автор(ы):
ПАРК Тае Джин (KR), КИМ Сеонг Йонг (KR)
(73) Патентообладатель(и):
ЭлДжи ЭЛЕКТРОНИКС ИНК. (KR)
|
(54) ПЫЛЕУЛАВЛИВАЮЩЕЕ УСТРОЙСТВО ДЛЯ ПЫЛЕСОСА (ВАРИАНТЫ)
(57) Реферат:
Пылеулавливающее устройство предназначено для пылесоса и позволяет повысить эффективность пылеулавливания и снизить общий объем пылесоса. Пылеулавливающее устройство содержит первую пылеулавливающую часть для фильтрования инородных объектов в воздухе, вторую пылеулавливающую часть для фильтрования инородных объектов в воздухе, который прошел через первую пылеулавливающую часть, пылеулавливающий контейнер, имеющий первую и вторую пылеулавливающие камеры, которые соответствуют первой и второй пылеулавливающим частям соответственно, и направляющую воздушный поток пластину, расположенную над пылеулавливающим контейнером, для направления воздуха, который прошел через первую пылеулавливающую камеру, во вторую пылеулавливающую камеру, и накрывающую первую пылеулавливающую камеру и вторую пылеулавливающую камеру. Первая и вторая пылеулавливающие камеры накапливают инородные объекты, отфильтрованные соответствующими первой и второй пылеулавливающими частями, в состоянии, когда части из соответствующих первой и второй пылеулавливающих частей размещены в соответствующих первой и второй пылеулавливающих камерах. Первая и вторая пылеулавливающие камеры расположены в линию. В варианте выполнения пылеулавливающее устройство содержит нижнюю крышку для открывания и закрывания нижней части пылеулавливающего контейнера, множество малых циклонов, проходящих вниз от направляющей воздушный поток пластины и открытых по направлению ко второй пылеулавливающей камере, отводящую направляющую трубку для направления воздуха, который прошел через малые циклоны, вверх, и направляющую выпуск пластину, выполненную за одно целое с отводящей направляющей трубкой, для покрытия направляющей воздушный поток пластины. Над направляющей выпуск пластиной расположена верхняя крышка для направления воздуха, выпускаемого наружу через отводящую направляющую трубку. Отводящая направляющая трубка может быть предназначена для размещения части каждого малого циклона. Внешние контуры пылеулавливающего контейнера, направляющей воздушный поток пластины и направляющей выпуск пластины выполнены подобными друг другу. 4 н. и 16 з.п. ф-лы, 5 ил.
Настоящее изобретение относится к пылесосу, а конкретно к пылеулавливающему устройству пылесоса, которое имеет первую пылеулавливающую часть для фильтрования относительно крупных инородных объектов и вторую пылеулавливающую часть для фильтрования относительно мелких инородных объектов, при этом первая и вторая пылеулавливающие части отделены друг от друга. Кроме того, настоящее изобретение также относится к пылеулавливающему устройству для пылесоса, которое сконструировано по размеру и форме таким, что его можно легко устанавливать в основной корпус пылесоса.
Пылесос используют для очистки помещения или других пространств путем всасывания воздуха, содержащего инородные объекты, и фильтрования инородных объектов путем использования разрежения, создаваемого в нем. Чтобы отфильтровать инородные объекты, содержащиеся во всасываемом воздухе, в пылесосе предусматривают пылеулавливающее устройство, а в пылеулавливающем устройстве предусматривают бумажный фильтр, имеющий заданную конструкцию.
Бумажный фильтр выполняют из пористого материала, так что инородные объекты отфильтровываются, тогда как воздух, содержащий инородные объекты, проходит сквозь фильтр.
Однако вследствие того что затруднительно повторно использовать бумажный фильтр и трудно очищать фильтр, недавно был предложен пылесос циклонного типа. В пылесосе циклонного типа наружный воздух, содержащий инородные объекты, засасывается через всасывающую насадку, направляется в улавливающую камеру по всасывающему воздуховоду. Поскольку всасывающий воздуховод проходит по касательной к улавливающей камере, засасываемый воздух, содержащий инородные объекты, вращается по спирали в улавливающей камере, в результате чего относительно тяжелые инородные объекты падают вниз. Далее воздух проходит через фильтровальный элемент, в результате чего относительно мелкие инородные объекты, содержащиеся в воздухе, отфильтровываются фильтром.
Однако когда фильтровальный элемент образован пористым фильтром и объединен с циклонным устройством, проблема периодической очистки фильтра все же остается. Когда инородные объекты засоряют пористый фильтр, скорость воздушного потока снижается, при этом ухудшается эксплуатационная эффективность пылесоса.
Чтобы разрешить указанные выше проблемы, в последние годы было разработано пылеулавливающее устройство многоциклонного типа, в котором предусмотрено большое количество циклонных устройств для формирования большого количества циклонных воздушных потоков, так что инородные объекты, содержащиеся в воздухе, могут быть отфильтрованы с помощью только циклонных воздушных потоков.
Однако чтобы сформировать ряд циклонных воздушных потоков, в пылеулавливающем устройстве многоциклонного типа должно быть выделено относительно большое пространство. В этом случае общий размер пылеулавливающего устройства возрастает, при этом нежелательно возрастает общий объем пылесоса. Поэтому пользователю нелегко обращаться с пылесосом.
Поэтому предметом настоящего изобретения явилось пылеулавливающее устройство для пылесоса, использование которого, по существу, исключает одну или несколько проблем, обусловленных ограничениями и недостатками известных устройств.
Техническая задача настоящего изобретения заключается в создании пылеулавливающего устройства для пылесоса, в котором оптимизирована конструкция пылеулавливающей части.
Другая техническая задача настоящего изобретения заключается в создании пылеулавливающего устройства для пылесоса, которое может эффективно отфильтровывать мелкие инородные объекты, а также крупные инородные объекты, в результате чего повышается эффективность пылеулавливания.
Дополнительные преимущества, задачи и признаки изобретения будут изложены отчасти в описании, которое следует далее, и отчасти станут понятными обычным специалистам в данной области техники при изучении нижеследующего или могут быть поняты ими при практическом осуществлении изобретения. Задачи и другие преимущества изобретения могут быть реализованы и получены посредством конструкции, детально показанной в изложенном описании и в его формуле изобретения, а также в приложенных чертежах.
Для решения этих задач и получения других преимуществ и в соответствии с назначением изобретения, воплощенного и широко описанного в настоящей заявке, предложено пылеулавливающее устройство для пылесоса, содержащее первую пылеулавливающую часть для фильтрования инородных объектов в воздухе, вторую пылеулавливающую часть для фильтрования инородных объектов в воздухе, который прошел через первую пылеулавливающую часть, пылеулавливающий контейнер, имеющий первую и вторую пылеулавливающие камеры, которые соответствуют первой и второй пылеулавливающим частям соответственно, и направляющую воздушный поток пластину, расположенную над пылеулавливающим контейнером, для направления воздуха, который прошел через первую пылеулавливающую камеру, во вторую пылеулавливающую камеру, и накрывающую первую пылеулавливающую камеру и вторую пылеулавливающую камеру, при этом первая и вторая пылеулавливающие камеры накапливают инородные объекты, отфильтрованные соответствующими первой и второй пылеулавливающими частями, в состоянии, когда части из соответствующих первой и второй пылеулавливающих частей размещены в соответствующих первой и второй пылеулавливающих камерах, а первая и вторая пылеулавливающие камеры расположены в линию.
Предпочтительно, первая и вторая пылеулавливающие части отфильтровывают инородные объекты путем использования циклонного воздушного потока.
Предпочтительно, первая пылеулавливающая камера выполнена цилиндрической по форме.
Предпочтительно, первая пылеулавливающая часть содержит фильтровальный элемент, имеющий множество отверстий для воздуха.
Предпочтительно, первая пылеулавливающая часть отфильтровывает относительно крупные инородные объекты по сравнению со второй пылеулавливающей частью.
Предпочтительно, пылеулавливающий контейнер имеет сечение в форме “восьмерки”.
Предпочтительно, вторая пылеулавливающая часть содержит множество малых циклонов, каждый из которых имеет цилиндрическую трубку и коническую трубку, выходящую из цилиндрической трубки.
Для решения указанных задач также было создано пылеулавливающее устройство для пылесоса, содержащее пылеулавливающий контейнер, имеющий первую и вторую пылеулавливающие камеры, отделенные друг от друга и размещенные в линию, нижнюю крышку для открывания и закрывания нижней части пылеулавливающего контейнера, направляющую воздушный поток пластину, расположенную над пылеулавливающим контейнером, для направления воздуха, который прошел через первую пылеулавливающую камеру, во вторую пылеулавливающую камеру, и накрывающую первую пылеулавливающую камеру и вторую пылеулавливающую камеру, множество малых циклонов, проходящих вниз от направляющей воздушный поток пластины и открытых по направлению ко второй пылеулавливающей камере, отводящую направляющую трубку для размещения части каждого малого циклона и направления воздуха, который прошел через малые циклоны, вверх, направляющую выпуск пластину, выполненную за одно целое с отводящей направляющей трубкой, для покрытия направляющей воздушный поток пластины, и верхнюю крышку, расположенную над направляющей выпуск пластиной, для направления воздуха, выпускаемого через отводящую направляющую трубку, наружу.
Предпочтительно, нижняя крышка одновременно закрывает первую и вторую пылеулавливающие камеры.
Предпочтительно, направляющая воздушный поток пластина, направляющая выпуск пластина и верхняя крышка совместно соединены друг с другом винтами.
Предпочтительно, все малые циклоны размещены во второй пылеулавливающей камере.
Предпочтительно, направляющий элемент воздухозаборного отверстия выступает из впуска каждого малого циклона для направления воздуха по касательной к внутренней стенке малого циклона.
Предпочтительно, пылеулавливающее устройство дополнительно содержит направляющую воздушного потока, отделяющую направляющую воздушный поток пластину от направляющей выпуск пластины, для направления воздуха, выпускаемого из первой пылеулавливающей камеры только по направлению ко второй пылеулавливающей камере.
Предпочтительно, направляющая воздушного потока образована за одно целое с направляющей воздушный поток пластиной.
Предпочтительно, пылеулавливающее устройство дополнительно содержит фильтровальный элемент, избирательно установленный на нижней части направляющей воздушный поток пластины и размещенный в первой пылеулавливающей камере, для фильтрования инородных объектов, содержащихся в воздухе.
Предпочтительно, первая пылеулавливающая камера выполнена с возможностью создания циклонного воздушного потока вдоль ее внутренней поверхности.
Кроме того, для решения указанных задач и согласно изобретению было создано пылеулавливающее устройство для пылесоса, содержащее пылеулавливающий контейнер, имеющий первую и вторую пылеулавливающие камеры, отделенные друг от друга и размещенные в линию, нижнюю крышку для открывания и закрывания нижней части пылеулавливающего контейнера, направляющую воздушный поток пластину, расположенную над пылеулавливающим контейнером, для направления воздушного потока, и накрывающую первую пылеулавливающую камеру и вторую пылеулавливающую камеру, множество малых циклонов, выступающих вниз из направляющей воздушный поток пластины, для фильтрования мельчайших частиц, содержащихся в воздухе, отводящую направляющую трубку для направления воздуха, который прошел через малые циклоны, вверх, направляющую выпуск пластину, образованную за одно целое с отводящей направляющей трубкой, для покрытия направляющей воздушный поток пластины, и верхнюю крышку, расположенную над направляющей выпуск пластиной, для направления воздуха, выпущенного через отводящую направляющую трубку, наружу.
Предпочтительно, первая пылеулавливающая камера имеет горизонтальное сечение, круглое по форме.
К тому же для решения указанных задач согласно изобретению было создано пылеулавливающее устройство для пылесоса, содержащее пылеулавливающий контейнер, снабженный первой и второй пылеулавливающими камерами, отделенными друг от друга и размещенными в линию, направляющую воздушный поток пластину, расположенную над пылеулавливающим контейнером, для направления воздушного потока, и накрывающую первую пылеулавливающую камеру и вторую пылеулавливающую камеру, множество малых циклонов, выступающих вниз из направляющей воздушный поток пластины, для фильтрования мельчайших частиц, содержащихся в воздухе, отводящую направляющую трубку для направления воздуха, который прошел через малые циклоны, вверх, и направляющую выпуск пластину, образованную за одно целое с отводящей направляющей трубкой, для покрытия направляющей воздушный поток пластины, при этом внешние контуры пылеулавливающего контейнера, направляющей воздушный поток пластины и направляющей выпуск пластины выполнены подобными друг другу.
Предпочтительно, пылеулавливающий контейнер имеет горизонтальное сечение в форме “восьмерки”.
В соответствии с настоящим изобретением повышена эффективность пылеулавливания.
В дополнение к этому может быть создано множество циклонных воздушных потоков без установки фильтровального элемента, при этом эффективно удаляются мелкие инородные объекты, а также крупные инородные объекты, и обеспечивается удобство использования для пользователя.
Кроме того, поскольку система воздушных потоков хорошо рассчитана, сопротивление воздушным потокам может быть снижено для повышения эффективности пылеулавливания.
В дополнение к этому собранные инородные объекты могут быть удалены путем открывания нижней крышки, в результате чего дополнительно повышается удобство для пользователя.
Должно быть понятно, что как нижеследующее общее описание, являются иллюстративными и пояснительными и предназначены для дополнительного пояснения изобретения, изложенного в формуле изобретения.
Прилагаемые чертежи, которые включены для дополнительного пояснения изобретения, иллюстрируют вариант (варианты) осуществления изобретения и совместно с описанием служат для пояснения принципа изобретения. На чертежах:
фиг.1 – перспективный вид пылеулавливающего устройства согласно варианту осуществления настоящего изобретения;
фиг.2 – перспективный вид с пространственным разделением деталей пылеулавливающего устройства, показанного на фиг.1;
фиг.3 – перспективный вид снизу направляющей выпуск воздуха пластины, показанной на фиг.2;
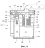
фиг.4 – разрез, сделанный по линии I-I’ на фиг.1; и
фиг.5 – вид, иллюстрирующий этап, на котором собранные инородные объекты удаляют из пылеулавливающего устройства согласно настоящему изобретению.
Теперь будут подробно описаны предпочтительные варианты осуществления настоящего изобретения, примеры которого иллюстрируются сопровождающими чертежами. Там, где это возможно, одни и те же позиции будут использоваться на всех чертежах для обозначения одинаковых или аналогичных деталей.
На фиг.1 и 2 показано пылеулавливающее устройство согласно варианту осуществления изобретения.
Что касается фиг.1 и 2, то обладающее признаками изобретения пылеулавливающее устройство включает в себя пылеулавливающий контейнер 110, имеющий в сечении форму “восьмерки”.
Внутреннее пространство пылеулавливающего контейнера 110 разделено на первую и вторую пылеулавливающие камеры 111 и 112, которые расположены в линию и предназначены для размещения соответственно первой и второй пылеулавливающих частей, которые будут описаны ниже.
Между первой и второй пылеулавливающими камерами 111 и 112 образована перегородка 113. Перегородка 113 выгнута по направлению ко второй пылеулавливающей камере 112, так что первая улавливающая камера 111 может быть выполнена цилиндрической по форме. Следовательно, горизонтальное сечение первой пылеулавливающей камеры 111 имеет круговую форму, благодаря чему в первой пылеулавливающей камере 111 имеет место циклонный воздушный поток.
Поскольку первая и вторая пылеулавливающие камеры 111 и 112 расположены в линию, длина пылеулавливающего устройства возрастает, тогда как ширина уменьшается. А именно секцию пылеулавливающего устройства обычно выполняют относительно плоской. Поэтому пылеулавливающее устройство может быть легко введено даже в пылесос вертикального типа, имеющий относительно небольшую ширину. Например, при введении пылеулавливающего устройства 100 в пылесос вертикального типа становится возможным размещение первой пылеулавливающей камеры 111 в пылесосе с одновременным вынесением второй пылеулавливающей камеры 112 из пылесоса, что облегчает установку пылеулавливающего устройства в пылесосе. В дополнение к этому первая и вторая пылеулавливающие камеры полностью отделены друг от друга, при этом воздушный поток в одной из камер не влияет на воздушный поток в другой, в результате чего дополнительно повышается эффективность пылеулавливания.
Теперь пылеулавливающие части будут описаны более подробно.
Всасывающий воздуховод 122 образован на верхнем участке пылеулавливающего контейнера 110, задающем первую пылеулавливающую камеру 111. Всасывающий воздуховод 122 имеет первый конец, выступающий из пылеулавливающего контейнера 110, для направления воздуха, входящего в пылеулавливающий контейнер 110, в тангенциальном направлении вдоль внутренней стенки пылеулавливающего контейнера 110. Поэтому всасывающий воздуховод выполнен так, что он является наклонным на наружной поверхности пылеулавливающего контейнера 110.
На боковом участке пылеулавливающего контейнера 110 образована ручка 114. Ручка 114 выполнена так, что пользователь может легко захватить ее. А именно, ручка 114 образована выступающей наружу из бокового участка пылеулавливающего контейнера 110.
Соединительный шарнир 116 (фиг.4) предусмотрен на нижнем конце бокового участка пылеулавливающего контейнера 110. Нижняя крышка 130 с возможностью поворота присоединена к соединительному шарниру 116. Соединительный шарнир 116 снабжен неполной выемкой с внутренней стороны пылеулавливающего контейнера 110, так что не возникает затруднений, когда пылеулавливающий контейнер 110 устанавливают в основной корпус пылесоса.
Верхняя часть пылеулавливающего контейнера 110 закрыта верхней крышкой 120. Верхнюю крышку 120 выполняют в соответствии с верхней частью пылеулавливающего контейнера 110 и с возможностью съема устанавливают на верхнюю часть пылеулавливающего контейнера 110. Верхняя крышка 120 снабжена выпускным воздуховодом 122′, выступающим наверх. Воздух, из которого инородные объекты отфильтрованы первой и второй пылеулавливающими частями, выбрасывается посредством выпускного воздуховода 122′.
Нижняя часть пылеулавливающего контейнера 110 закрыта нижней крышкой 130. Нижняя крышка 130 образована в соответствии с нижней частью пылеулавливающего контейнера 110 для открывания и закрывания одновременно первой и второй пылеулавливающих камер 111 и 112.
Нижняя крышка 130 с возможностью поворота закреплена посредством соединительного шарнира 116, предусмотренного на пылеулавливающем контейнере 110. А именно правый конец нижней крышки 130 с возможностью поворота соединен с соединительным шарниром 116, а левый конец ее отдельно соединен с нижним концом посредством соединительного элемента, такого как рабочая часть крюка.
Под верхней крышкой 120 предусмотрена направляющая выпуск пластина 140, имеющая форму, соответствующую верхней крышке 120, для разделения внутреннего пространства пылеулавливающего контейнера 110 на верхнюю и нижнюю камеры. Поэтому между верхней крышкой 120 и направляющей выпуск пластиной 140 образуется выпускной канал 142. То есть, поскольку направляющая выпуск пластина 140 отстоит вниз от верхней крышки 120, образуется пространство между направляющей выпуск пластиной 140 и верхней крышкой 120. Это пространство действует как выпускной канал, по которому воздух направляется в выпускной воздуховод 122′.
Множество отводящих направляющих трубок 144 образовано на направляющей выпуск пластине 140. Как показано на фиг.3, каждая из отводящих направляющих трубок 144 выполнена цилиндрической по форме и выступает вниз из направляющей выпуск пластины 140. Отводящие направляющие трубки 144 расположены в малых циклонах 160, которые будут описаны ниже. Поэтому отводящие направляющие трубки 144 направляют воздух в выпускной канал 142 через направляющую выпуск пластину 140.
Левая и правая перегородки 147 и 146 образованы на левом и правом участках верхней части направляющей выпуск пластины 140. Перегородки предусмотрены для направления воздушного потока. Левая перегородка 147 размещена по левую сторону от отводящих направляющих трубок 144 для предотвращения протекания влево воздуха, направляемого вверх через выпускные направляющие трубки 144. Правая перегородка 146 размещена по правую сторону от отводящих направляющих трубок 144 для предотвращения протекания вправо воздуха, направляемого вверх через выпускные направляющие трубки 144. Правая перегородка 146 имеет полукруглую выемку 145, которая соответствует нижнему концу выпускного воздуховода 122′, для направления воздуха из выпускного канала 142 в выпускной воздуховод 122′.
Кроме того, направляющая выпуск пластина 140 снабжена резьбовыми отверстиями 148, через которые проходят винты. Предпочтительно, чтобы резьбовые отверстия 148 были расположены на передней, задней, левой и правой частях направляющей выпуск пластины 140. Поэтому направляющая выпуск пластина 140 может быть прикреплена винтами к верхней крышке 120.
При этом под направляющей выпуск пластиной 140 имеется направляющая воздушный поток пластина 150. Направляющая воздушный поток пластина 150 отстоит от направляющей выпуск пластины 140 и выполнена по форме в соответствии с формой направляющей выпуск пластины 140. Поэтому между направляющей выпуск пластиной 140 и направляющей воздушный поток пластиной 150 образуется замкнутое пространство. Воздух протекает вдоль замкнутого пространства.
На направляющей воздушный поток пластине 150 в большом количестве образованы малые циклоны 160, функционирующие как вторая пылеулавливающая часть. Малые циклоны 160 образованы на левом участке направляющей воздушный поток пластины 150 для фильтрования относительно небольших инородных объектов путем использования центробежной силы, создаваемой спиральным потоком текучей среды.
А именно каждый из малых циклонов 160 включает в себя цилиндрическую трубку 162 и коническую трубку 164, выходящую из цилиндрической части 162. Диаметр конической части 164 постепенно уменьшается по мере прохождения ее вниз. Поскольку малые циклоны 160 сосредоточены на стороне воздухозаборной трубки 152, сопротивление воздушному потоку, вводимому в путь потока воздуха, уменьшается.
Воздухозаборное отверстие 166, через которое вводится воздух, прошедший через первую пылеулавливающую часть, образовано на боковом участке верхнего конца цилиндрической трубки 162 малого циклона 160. Воздухозаборное отверстие 166 образовано соответственно стороне верхнего конца цилиндрической трубки 162, вытянутой вверх от направляющей воздушный поток пластины 150.
Направляющий элемент 168 воздухозаборного отверстия образован в воздухозаборном отверстии 166 и выступает наружу. Направляющий элемент 168 воздухозаборного отверстия образован на по меньшей мере одной из левой и правой сторон воздухозаборного отверстия 166 и ориентирован по направлению к воздухозаборной трубке 152, что будет описано ниже.
Отводящая направляющая трубка 144 размещена в соответствующей цилиндрической трубке 162 малого циклона 160. Поэтому воздух, который протекает вниз благодаря малому циклону 160, направляется отводящей направляющей трубкой 144 и выпускается над направляющей выпуск пластиной 140.
Воздухозаборная трубка 152 образована за одно целое с правым участком направляющей воздушный поток пластины 150. Воздухозаборная трубка 152 частично продолжается вниз от направляющей воздушный поток пластины 150 для направления воздуха, прошедшего через первую пылеулавливающую часть, выше направляющей воздушный поток пластины 150.
Кроме того, на верхней части направляющей воздушный поток пластины 150 образована направляющая 154 воздушного потока. Направляющая воздушного потока 154 выступает наверх до верхней части направляющей воздушный поток пластины 150 для предотвращения продвижения пыли и инородных объектов, так что воздух, направляемый над направляющей воздушный поток пластиной через воздухозаборную трубку 152, может быть направлен по направлению к воздухозаборному отверстию 166 малого циклона 160 без рассеяния на верхнем участке направляющей воздушный поток пластины 150. Поэтому, чтобы оградить верхний правый участок воздухозаборной трубки 152, направляющая 154 воздушного потока образована как имеющая форму >-, если смотреть сверху.
Направляющая воздушный поток пластина 150 также снабжена участками 156 винтового соединения, соответствующими резьбовым отверстиям 148, образованным в направляющей выпуск пластине 140. Поэтому винт, проходящий через резьбовое отверстие 148, входит в соединение с участком 156 винтового соединения, тем самым закрепляя направляющую выпуск и направляющую воздушный поток пластины 140 и 150 на верхней крышке 120.
Между верхней крышкой 120, направляющей выпуск пластиной 140 и направляющей воздушный поток пластиной 150 могут быть предусмотрены уплотнительные элементы. Уплотнительные элементы могут быть образованы из эластичного материала.
Фильтровальный элемент 170 установлен на правом нижнем участке направляющей воздушный поток пластины 150. Фильтровальный элемент 170 образует первую пылеулавливающую часть, которая в первую очередь отфильтровывает инородные объекты, содержащиеся в воздухе, входящем из всасывающего воздуховода 112 пылеулавливающего контейнера 110. Фильтровальный элемент 170 выполнен цилиндрическим по форме и снабжен множеством отверстий 172 для воздуха. Фильтровальный элемент 170, снабженный отверстиями 172 для воздуха, может быть изготовлен литьем под давлением. Каждое из отверстий 172 для воздуха рассчитано так, что имеет заданный диаметр, которым обеспечивается возможность прохождения через него только мельчайших частиц. То есть относительно крупные инородные объекты не могут пройти сквозь отверстия 172 для воздуха и падают вниз. Предпочтительно, чтобы отверстия для воздуха не были образованы на ударных участках, с которыми непосредственно сталкивается воздух, входящий через всасывающий воздуховод 122. А именно, когда отверстия для воздуха образованы на ударных участках, воздух, входящий через всасывающий воздуховод 122 в направлении по касательной к внутренней стенке пылеулавливающего контейнера 110, может проходить сквозь отверстия 172 для воздуха до того, как начнет вращаться по спирали. Поэтому предпочтительно, чтобы отверстия для воздуха не были образованы на ударном участке. Фильтровальный элемент 170 размещен в центральной части первой пылеулавливающей камеры 111 и с возможностью съема закреплен на нижней части направляющей воздушный поток пластины 150. В соответствии с этим воздухозаборная трубка 152, образованная на направляющей воздушный поток пластине 150, должна быть размещена на верхнем конце фильтровального элемента 170. Фильтровальный элемент 170 может быть опущен в случае, когда инородные объекты могут быть полностью отфильтрованы первой и второй пылеулавливающими частями. В этом случае нет необходимости промывать фильтровальный элемент, и при этом повышается степень удобства для пользователя.
Разделительная перегородка 174 выполнена на нижнем конце фильтровального элемента 170. Разделительная перегородка 174 разделяет первую пылеулавливающую камеру 111 на верхнюю и нижнюю камеры и при этом функционирует для предотвращения рассеяния в верхнюю камеру инородных объектов, падающих в нижнюю камеру.
Пропускающие инородные объекты отверстия 175 образованы по обоим боковым концам разделительной перегородки 174. Инородные объекты из верхней камеры падают в нижнюю камеру через пропускающие инородные объекты отверстия 175. То есть инородные объекты, содержащиеся в воздухе, входящем через всасывающий воздуховод 122, отфильтровываются фильтровальным элементом 170 и опускаются вдоль внутренней стенки пылеулавливающего контейнера 110. Затем они падают в нижнюю камеру через пропускающие инородные объекты отверстия 175 и собираются на нижней крышке 130.
На верхнем конце фильтровального элемента 170 в большом количестве образованы соединительные выступы 176. Назначение соединительных выступов 176 заключается в закреплении фильтровального элемента 170 с возможностью съема на направляющей воздушный поток пластине 150. Поэтому на направляющей воздушный поток пластине 150 в большом количестве образованы фиксирующие выступы (не показаны), входящие в соединение с соединительными выступами 176.
Ниже со ссылкой на фиг.4 будет описана работа рассмотренного выше пылеулавливающего устройства.
Когда пылесос включают, воздух, содержащий инородные объекты, всасывается через всасывающую насадку. Всосанный воздух направляется в первую пылеулавливающую камеру 111 пылеулавливающего контейнера 110 через всасывающий воздуховод 122.
Поскольку всасывающий воздуховод 122 вытянут в тангенциальном направлении относительно пылеулавливающего контейнера 110, всосанный воздух вращается по спирали в первой пылеулавливающей камере 111, при этом относительно крупные инородные объекты падают вниз через пропускающие инородные объекты отверстия 175, а воздух, все еще содержащий относительно мелкие инородные объекты, направляется в фильтровальный элемент 170 через пропускающие воздух отверстия 172 фильтровального элемента 170. В то время как воздух проходит через фильтровальный элемент 170, относительно крупные инородные объекты d, содержащиеся в воздухе, в основном отфильтровываются. Воздух, который прошел через фильтровальный элемент 170, направляется над направляющей воздушный поток пластиной 150 через воздухозаборную трубку 152.
Воздух, направляемый над направляющей воздушный поток пластиной 150, направляется в малые циклоны 160. На этой стадии воздух, направляемый в каждый из малых циклонов 160, направляется направляющим элементом 168 воздухозаборного отверстия и направляется в цилиндрическую трубку 162 через воздухозаборное отверстие 166. Поскольку малые циклоны предусмотрены в большом количестве, столкновение между путями воздушных потоков не будет иметь место.
Воздух, направляемый в цилиндрическую трубу 162, протекает в направлении по касательной к боковой стенке цилиндрической трубки 162, при этом он вращается по спирали и опускается по направлению к конической трубке 164.
Когда воздух достигает нижнего конца конической трубки, направление течения воздуха вдоль внутренней стенки конической трубки 164 изменяется на течение вверх. То есть, когда воздух вращается по спирали и опускается вдоль внутренней стенки конической трубки 164, в центральной части создается восходящее воздушное течение. Восходящее воздушное течение направляется к выпускному каналу 142, образованному над направляющей выпуск пластиной 140, через отводящую направляющую трубку 144.
В рассмотренном выше процессе мельчайшие частицы d , содержащиеся в воздухе, вращаются по спирали, и падают вдоль внутренней стенки конической трубки 164, и выпускаются через нижнее отверстие конической трубки 164. Кроме того, поскольку первая и вторая пылеулавливающие камеры 111 и 112 полностью отделены друг от друга перегородкой 113, инородные объекты d и d , собираемые в соответствующих пылеулавливающих камерах 111 и 112, подвергаются воздействию совершенно различных воздушных потоков. Поэтому инородные объекты d и d могут стабильно собираться без влияния на них другого воздушного потока.
Воздух, направляемый вверх по отводящей направляющей трубке 144, выпускается наружу по выпускному воздуховоду 122′ верхней крышки 120 через посредство выпускного канала 142.
На фиг.4 стрелками показаны направления воздушных потоков и сбор инородных объектов.
Чтобы удалить инородные объекты, скопившиеся на нижней крышке 130, нижнюю крышку 130 открывают. Эта стадия показана на фиг.5.
На этой стадии размыкают соединение соединительного устройства, предусмотренного на левом конце нижней крышки 130, с тем чтобы повернуть нижнюю крышку 130 вниз вокруг соединительного шарнира 116, образованного на правом конце нижней крышки 130, посредством чего выбрасывают инородные объекты d и d , скопившиеся на нижней крышке 130.
Между тем, инородные объекты могут частично накапливаться на разделительной перегородке 174. Эти инородные объекты удаляют после отделения фильтровального элемента 170 и направляющей воздушный поток пластины 150 от пылеулавливающего контейнера 110.
Чтобы отделить направляющую воздушный поток пластину 150, сначала отделяют верхнюю крышку 120 от пылеулавливающего контейнера 110. А именно поскольку направляющая воздушный поток пластина 150 и направляющая выпуск пластина 140 присоединены к верхней крышке 120 посредством одной группы винтов, то, когда отделяют верхнюю крышку 120, направляющие воздушный поток и выпуск пластины 140 и 150 одновременно отделяются от пылеулавливающего контейнера 110.
Затем фильтровальный элемент 170 поворачивают и отделяют от направляющей воздушный поток пластины 150. А именно когда фильтровальный элемент 170 поворачивают, соединительные выступы 176 фильтровального элемента 170 освобождаются из фиксирующих выступов направляющей воздушный поток пластины 150, при этом фильтровальный элемент 170 отделяется от направляющей воздушный поток пластины 150.
После того как фильтровальный элемент 170 отделен, его промывают водой.
Специалистам в данной области техники должно быть понятно, что в настоящем изобретении могут быть сделаны различные модификации и изменения. Поэтому предполагается, что настоящее изобретение охватывает модификации и изменения этого изобретения при условии, что они находятся в рамках объема приложенной формулы изобретения и ее эквивалентов.
Например, вторая пылеулавливающая часть может быть предусмотрена на правом, переднем или заднем участке первой пылеулавливающей части, а не на левом участке.
В дополнение к этому фильтровальный элемент может быть выполнен путем использования другого процесса изготовления вместо процесса литья под давлением. Кроме того, могут быть использованы фильтры других типов, такие как гофрированный фильтр или многократный фильтр.
Кроме того, направляющие выпуск и воздушный поток пластины 140 и 150 могут быть соединены с верхней крышкой 120 вместо винтов крепежными средствами других типов.
В дополнение к этому направляющие выпуск и воздушный поток пластины 140 и 150 могут быть соединены с пылеулавливающим контейнером 110, а не с верхней крышкой 120.
Формула изобретения
1. Пылеулавливающее устройство для пылесоса, содержащее
первую пылеулавливающую часть для фильтрования инородных объектов в воздухе;
вторую пылеулавливающую часть для фильтрования инородных объектов в воздухе, который прошел через первую пылеулавливающую часть,
пылеулавливающий контейнер, имеющий первую и вторую пылеулавливающие камеры, которые соответствуют первой и второй пылеулавливающим частям соответственно, и
направляющую воздушный поток пластину, расположенную над пылеулавливающим контейнером, для направления воздуха, который прошел через первую пылеулавливающую камеру, во вторую пылеулавливающую камеру, и накрывающую первую пылеулавливающую камеру и вторую пылеулавливающую камеру,
при этом первая и вторая пылеулавливающие камеры накапливают инородные объекты, отфильтрованные соответствующими первой и второй пылеулавливающими частями, в состоянии, когда части из соответствующих первой и второй пылеулавливающих частей размещены в соответствующих первой и второй пылеулавливающих камерах, а первая и вторая пылеулавливающие камеры расположены в линию.
2. Пылеулавливающее устройство по п.1, в котором первая и вторая пылеулавливающие части отфильтровывают инородные объекты путем использования циклонного воздушного потока.
3. Пылеулавливающее устройство по п.1, в котором первая пылеулавливающая камера выполнена цилиндрической по форме.
4. Пылеулавливающее устройство по п.1, в котором первая пылеулавливающая часть содержит фильтровальный элемент, имеющий множество отверстий для воздуха.
5. Пылеулавливающее устройство по п.1, в котором первая пылеулавливающая часть отфильтровывает относительно крупные инородные объекты по сравнению со второй пылеулавливающей частью.
6. Пылеулавливающее устройство по п.1, в котором пылеулавливающий контейнер имеет сечение в форме «восьмерки».
7. Пылеулавливающее устройство по п.1, в котором вторая пылеулавливающая часть содержит множество малых циклонов, каждый из которых имеет цилиндрическую трубку и коническую трубку, выходящую из цилиндрической трубки.
8. Пылеулавливающее устройство для пылесоса, содержащее
пылеулавливающий контейнер, имеющий первую и вторую пылеулавливающие камеры, отделенные друг от друга и размещенные в линию,
нижнюю крышку для открывания и закрывания нижней части пылеулавливающего контейнера,
направляющую воздушный поток пластину, расположенную над пылеулавливающим контейнером, для направления воздуха, который прошел через первую пылеулавливающую камеру, во вторую пылеулавливающую камеру, и накрывающую первую пылеулавливающую камеру и вторую пылеулавливающую камеру,
множество малых циклонов, проходящих вниз от направляющей воздушный поток пластины и открытых по направлению ко второй пылеулавливающей камере,
отводящую направляющую трубку для размещения части каждого малого циклона и направления воздуха, который прошел через малые циклоны, вверх,
направляющую выпуск пластину, выполненную за одно целое с отводящей направляющей трубкой, для покрытия направляющей воздушный поток пластины, и
верхнюю крышку, расположенную над направляющей выпуск пластиной, для направления воздуха, выпускаемого через отводящую направляющую трубку, наружу.
9. Пылеулавливающее устройство по п.8, в котором нижняя крышка одновременно закрывает первую и вторую пылеулавливающие камеры.
10. Пылеулавливающее устройство по п.8, в котором направляющая воздушный поток пластина, направляющая выпуск пластина и верхняя крышка совместно соединены друг с другом винтами.
11. Пылеулавливающее устройство по п.8, в котором все малые циклоны размещены во второй пылеулавливающей камере.
12. Пылеулавливающее устройство по п.8, в котором направляющий элемент воздухозаборного отверстия выступает из впуска каждого малого циклона для направления воздуха по касательной к внутренней стенке малого циклона.
13. Пылеулавливающее устройство по п.8, дополнительно содержащее направляющую воздушного потока, отделяющую направляющую воздушный поток пластину от направляющей выпуск пластины, для направления воздуха, выпускаемого из первой пылеулавливающей камеры только по направлению ко второй пылеулавливающей камере.
14. Пылеулавливающее устройство по п.13, в котором направляющая воздушного потока образована за одно целое с направляющей воздушный поток пластиной.
15. Пылеулавливающее устройство по п.8, дополнительно содержащее фильтровальный элемент, избирательно установленный на нижней части направляющей воздушный поток пластины и размещенный в первой пылеулавливающей камере, для фильтрования инородных объектов, содержащихся в воздухе.
16. Пылеулавливающее устройство по п.8, в котором первая пылеулавливающая камера выполнена с возможностью создания циклонного воздушного потока вдоль ее внутренней поверхности.
17. Пылеулавливающее устройство для пылесоса, содержащее
пылеулавливающий контейнер, имеющий первую и вторую пылеулавливающие камеры, отделенные друг от друга и размещенные в линию,
нижнюю крышку для открывания и закрывания нижней части пылеулавливающего контейнера,
направляющую воздушный поток пластину, расположенную над пылеулавливающим контейнером, для направления воздушного потока, и накрывающую первую пылеулавливающую камеру и вторую пылеулавливающую камеру,
множество малых циклонов, выступающих вниз из направляющей воздушный поток пластины, для фильтрования мельчайших частиц, содержащихся в воздухе,
отводящую направляющую трубку для направления воздуха, который прошел через малые циклоны, вверх,
направляющую выпуск пластину, образованную за одно целое с отводящей направляющей трубкой, для покрытия направляющей воздушный поток пластины, и
верхнюю крышку, расположенную над направляющей выпуск пластиной, для направления воздуха, выпущенного через отводящую направляющую трубку, наружу.
18. Пылеулавливающее устройство по п.17, в котором первая пылеулавливающая камера имеет горизонтальное сечение, круглое по форме.
19. Пылеулавливающее устройство для пылесоса, содержащее
пылеулавливающий контейнер, снабженный первой и второй пылеулавливающими камерами, отделенными друг от друга и размещенными в линию;
направляющую воздушный поток пластину, расположенную над пылеулавливающим контейнером, для направления воздушного потока, и накрывающую первую пылеулавливающую камеру и вторую пылеулавливающую камеру,
множество малых циклонов, выступающих вниз из направляющей воздушный поток пластины, для фильтрования мельчайших частиц, содержащихся в воздухе,
отводящую направляющую трубку для направления воздуха, который прошел через малые циклоны, вверх, и
направляющую выпуск пластину, образованную за одно целое с отводящей направляющей трубкой, для покрытия направляющей воздушный поток пластины,
при этом внешние контуры пылеулавливающего контейнера, направляющей воздушный поток пластины и направляющей выпуск пластины выполнены подобными друг другу.
20. Пылеулавливающее устройство по п.19, в котором пылеулавливающий контейнер имеет горизонтальное сечение в форме «восьмерки».
РИСУНКИ
|