|
|
(21), (22) Заявка: 2005131298/12, 11.10.2005
(24) Дата начала отсчета срока действия патента:
11.10.2005
(30) Конвенционный приоритет:
23.02.2005 (пп.1-6) KR 10-2005-015071
(43) Дата публикации заявки: 20.04.2007
(46) Опубликовано: 20.11.2007
(56) Список документов, цитированных в отчете о поиске:
DE 19860020 A1, 08.07.1999. US 6193894 B1, 27.02.2001. US 6296775 B1, 02.10.2001. DE 2232519 A, 29.11.1973. DE 29500994 U1, 27.06.1996. SU 254037 A, 24.03.1970. US 3960106 A, 01.06.1976.
Адрес для переписки:
191036, Санкт-Петербург, а/я 24, “НЕВИНПАТ”, пат.пов. А.В.Поликарпову
|
(72) Автор(ы):
СЕО Джи-вон (KR), ОХ Джанг-кеун (KR), ЛИ Хак-бонг (KR)
(73) Патентообладатель(и):
Самсунг Гуангджу Электроникс Ко., Лтд. (KR)
|
(54) ПЫЛЕПРИЕМНИК С ОКНОМ, ПРОПУСКАЮЩИМ УЛЬТРАФИОЛЕТОВОЕ ИЗЛУЧЕНИЕ, И ПЫЛЕСОС, СОДЕРЖАЩИЙ ЭТОТ ПЫЛЕПРИЕМНИК
(57) Реферат:
Пылеприемник с окном, пропускающим ультрафиолетовое излучение, предназначен для пылесоса, имеющего ультрафиолетовую стерилизационную лампу для дезинфекции пылеприемника. Пылеприемник содержит корпус, прикрепленный разъемным соединением к корпусу пылесоса, сквозное окно на корпусе приемника, пропускающее ультрафиолетовое излучение, и герметизирующую это окно тефлоновую крышку. Вокруг окна, пропускающего ультрафиолетовое излучение, выполнены соединительные выступы, а в тефлоновой крышке выполнены соответствующие им соединительные отверстия. Соединительные выступы образуют многоугольный столбик и размещены в по меньшей мере двух рядах так, что соединительные выступы одного ряда расположены в шахматном порядке напротив соединительных выступов другого ряда. Тефлоновая крышка выполнена из прозрачного материала и закреплена путем сдавливания концов соединительных выступов, проходящих через соединительные отверстия, при высоких температуре и давлении. Пропускающее ультрафиолетовое излучение окно содержит заглубленный участок, наклоненный под заданным углом к верхнему участку пылеприемника. Пылесос имеет установленную внутри его корпуса ультрафиолетовую стерилизационную лампу для сканирования пылеприемника ультрафиолетовым излучением, и решетку, защищающую ультрафиолетовую стерилизационную лампу. Технический результат состоит в обеспечении воздухонепроницаемости пылеприемника без необходимости использования специального уплотняющего элемента, например прокладки. 2 н. и 4 з.п. ф-лы, 5 ил.
В соответствии с §119(а) раздела 35 свода законов США приоритет данной заявки заявляется по заявке на патент Кореи №2005-15071, поданной 23 февраля 2005 года, содержание которой целиком включено в данную заявку посредством ссылки.
ОБЛАСТЬ ТЕХНИКИ
Данное изобретение относится к пылесосу. Более конкретно, данное изобретение относится к пылеприемнику для пылесоса, содержащему ультрафиолетовую (УФ) стерилизационную лампу, предназначенную для дезинфекции пылеприемника, собирающего загрязнения, и к пылесосу, содержащему этот пылеприемник.
ПРЕДПОСЫЛКИ ИЗОБРЕТЕНИЯ
Как правило, пылесос улавливает пыль с очищаемой поверхности, втягивая окружающий воздух за счет отрицательного давления, создаваемого средством вакуумного всасывания, установленным в корпусе пылесоса. В связи с распространением благосостояния и здорового образа жизни недавно был предложен пылесос с ультрафиолетовой (УФ) стерилизационной лампой, установленной в корпусе пылесоса с целью уничтожения бактерий, которые могут присутствовать в пыли, осажденной в пылеприемнике, а также просто для улавливания пыли.
В корейском патентном документе №10-0232526, относящемся к уровню техники, описан пылесос, в котором УФ стерилизационная лампа предназначена для уничтожения личинок или клещей в мешке для пыли, а на монтажном участке перед УФ лампой для ее защиты от посторонних веществ установлена прозрачная панель из кварцевого стекла.
Однако несмотря на то что, панель из кварцевого стекла защищает лампу от посторонних веществ, при установке УФ стерилизационной лампы непосредственно внутри пылеулавливающей области, например в мешке для пыли, сама панель из кварцевого стекла может быть легко загрязнена осажденной пылью. В этом случае УФ излучение, создаваемое УФ стерилизационной лампой, не может быть в полной мере пропущено в мешок для пыли, в результате чего происходит снижение эффективности стерилизации. Кроме того, неизменно находясь под воздействием пыли, панель из кварцевого стекла, защищающая УФ стерилизационную лампу, может быть повреждена крупной пылью.
СУЩНОСТЬ ИЗОБРЕТЕНИЯ
В одном аспекте данного изобретения по меньшей мере предлагается решение вышеуказанных проблем и/или устранение недостатков, а также по меньшей мере достижение приведенных ниже преимуществ. Следовательно, одним аспектом данного изобретения является создание усовершенствованного пылеприемника для пылесоса, который может обеспечить защиту ультрафиолетовой (УФ) стерилизационной лампы от загрязнения и повреждения осажденной пылью и повышение эффективности стерилизации его внутренней области, а также пылесоса, в котором имеется указанный пылеприемник.
Для осуществления вышеизложенных аспектов данного изобретения предложен пылеприемник для пылесоса, содержащий корпус приемника, прикрепленный разъемным соединением к корпусу пылесоса, сквозное окно, выполненное на корпусе приемника и пропускающее ультрафиолетовое (УФ) излучение, и тефлоновая (Teflon®) крышка, которая герметизирует окно, пропускающее УФ излучение.
Вокруг окна, пропускающего УФ излучение, выполнены соединительные выступы, а в тефлоновой (Teflon®) крышке выполнены соединительные отверстия, соответствующие соединительным выступам.
Соединительные выступы образуют многоугольный столбик и размещены в по меньшей мере двух рядах так, что соединительный выступы одного ряда расположены в шахматном порядке напротив соединительных выступов другого ряда.
Концы соединительных выступов, проходящие через соединительные отверстия, закреплены путем сдавливания при высоких температуре и давлении.
Окно, пропускающее УФ излучение, содержит залубленный участок, наклоненный под заданным углом к верхнему участку пылеприемника.
Тефлоновая (Teflon®) крышка выполнена из прозрачного материала.
В соответствии с другим аспектом данного изобретения предлагается пылесос, содержащий корпус пылесоса, пылеприемник, прикрепленный разъемным соединением к корпусу пылесоса, УФ стерилизационную лампу, установленную внутри корпуса пылесоса и предназначенную для сканирования пылеприемника УФ излучением, решетку, защищающую УФ стерилизационную лампу, причем пылеприемник содержит окно, пропускающее УФ излучение и расположенное напротив УФ стерилизационной лампы, и тефлоновую (Teflon®) крышку, герметизирующую окно, пропускающее УФ излучение.
УФ стерилизационная лампа и решетка наклонены под заданным углом к направлению длины пылеприемника.
КРАТКОЕ ОПИСАНИЕ ЧЕРТЕЖЕЙ
Вышеуказанный аспект и другие признаки данного изобретения станут более очевидными из последующего подробного описания примерных вариантов выполнения изобретения со ссылкой на прилагаемые чертежи, на которых:
фиг.1 является аксонометрическим видом пылесоса в соответствии с одним вариантом выполнения данного изобретения;
фиг.2 является увеличенным видом в разрезе ультрафиолетовой (УФ) стерилизационной лампы и пылеприемника, представленного на фиг.1;
фиг.3 является видом, на котором показана УФ стерилизационная лампа, представленная на фиг.2;
фиг.4 является аксонометрическим видом пылеприемника в соответствии с одним вариантом выполнения данного изобретения; и
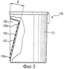
фиг.5 является видом в разрезе конструкции соединения тефлоновой (Teflon®) крышки.
ПОДРОБНОЕ ОПИСАНИЕ ПРИМЕРНЫХ ВАРИАНТОВ ВЫПОЛНЕНИЯ
Ниже более подробно описаны пылеприемник пылесоса и содержащий его пылесос в соответствии с некоторыми вариантами выполнения данного изобретения со ссылкой на прилагаемые чертежи.
В приведенном ниже описании для одинаковых элементов используются одинаковые позиции элементов даже для разных чертежей. Понятия, даваемые в данном описании, например детальная конструкция и элементы, не означают ничего, кроме того, что они способствуют всестороннему пониманию данного изобретения. Таким образом, очевидно, что данное изобретение может быть выполнено без объяснения этих понятий. Кроме того, не приведено подробное описание известных функций или конструкций, поскольку наличие излишней детализации внесло бы неясность в изобретение.
Обратимся к фиг.1. Пылесос 100, выполненный в соответствии с одним вариантом выполнения данного изобретения, содержит корпус 110 пылесоса, всасывающую щетку 120 и пылеприемник 130.
Пылесос 110 содержит средство вакуумного всасывания (не показано) и пылеулавливающий узел (не показан), предназначенный для отделения пыли от переносящего пыль воздуха, втянутого всасывающей щеткой 120. Как показано на фиг.2, в корпусе 110 пылесоса, на котором находится пылеприемник 130, имеется ультрафиолетовая (УФ) стерилизационная лампа 111, предназначенная для уничтожения бактерий, и решетка 113, предназначенная для защиты УФ стерилизационной лампы 111. Как показано на фиг.4, УФ стерилизационная лампа 111 и решетка 113 установлены с наклоном под заданным углом б к направлении длины пылеприемника 130. В предпочтительном случае угол б составляет приблизительно 15°. Смысл наклона УФ стерилизационной лампы 111 и решетки 113 заключается в выравнивании УФ излучения, проецируемого от УФ стерилизационной лампы 111 на внутреннюю часть пылеприемника 130.
Как показано на фиг.2 и 4, пылеприемник 130 содержит корпус 131 приемника, окно 132, пропускающее УФ излучение, и тефлоновую (Teflon®) крышку 133.
Корпус 131 приемника имеет открытый верхний участок, предназначенный для поступления пыли, отделенной пылеулавливающим узлом (не показан). Осаждение отделенной пыли происходит в корпусе 131 приемника.
Сквозное окно 132, пропускающее УФ излучение, выполнено у места, соответствующего положению УФ стерилизационной лампы 111 на корпусе 131 приемника. Окно 132, пропускающее УФ излучение, имеет углубленный участок 135 (фиг.4), имеющий наклон к верхнему участку пылеприемника 130 под заданным углом в. В предпочтительном случае заданный угол в составляет примерно 10°. Смысл расположения окна 132, пропускающего УФ излучение, с заглублением в корпус 131 приемника заключается в сведении к минимуму расстояния прохождения УФ излучения от УФ стерилизационной лампы 111. Другими словами, благодаря заглублению окна 132, пропускающего УФ излучение в направлении внутренней части пылеприемника 130, УФ излучение, создаваемое УФ стерилизационной лампой 111, может быть максимально приближено к нижней или внутренней стенке пылеприемника 130. Это обстоятельство создает тот же эффект, что и установка УФ стерилизационной лампы 111 внутри пылеприемника 130. То есть благодаря уменьшению расстояния прохождения УФ излучения внутри пылеприемника 130 может быть рассеяно более интенсивное УФ излучение, за счет чего повышается эффективность стерилизации.
Тефлоновая (Teflon®) крышка 133 герметизирует окно 132, пропускающее УФ излучение, так, что внутри пылеприемника 130 поддерживается воздухонепроницаемость. Поскольку тефлон (Teflon®) редко обладает сродством с другими веществами, то такие загрязнения как пыль практически не прикрепляются к нему. Следовательно, крышка 133, выполненная из тефлона (Teflon®), может оставаться чистой. Кроме того, за счет высокой проводимости УФ излучения крышка 133 из тефлона (Teflon®) способна пропускать УФ излучение, проецируемое УФ стерилизационной лампой 111 в пылеприемник 130. Однако вследствие упомянутой выше характерной особенности тефлона (Teflon®) крышка 133 из тефлона (Teflon®) не может быть выполнена за одно целое с пылеприемником 130, изготовленным из обычной смолы, а также не может быть прикреплена обычным способом, например клеевым соединением.
Ниже приведено описание способа присоединения тефлоновой (Teflon®) крышки 133 со ссылкой на прилагаемые чертежи.
Как показано на фиг.4, вокруг окна 132, пропускающего УФ излучение, выполнены соединительные выступы 132а, а в тефлоновой (Teflon®) крышке 133 выполнены соединительные отверстия 133а, соответствующие соединительным выступам 132а. Соединительные выступы 132а расположены в по меньшей мере двух рядах и образуют, соответственно, многоугольный столбик. Кроме того, соединительные выступы 132а одного ряда расположены в шахматном порядке напротив соединительных выступов другого ряда. Следовательно, как показано на фиг.5, тефлоновая (Teflon®) крышка 133 при сцеплении с соединительными выступами 132а может быть плотно соединена с окном 132, пропускающим УФ излучение.
Как показано в разрезе на фиг.5, конец соединительного выступа 132а, прошедший сквозь соединительные отверстия 133а, изменяет свой внешний вид под воздействием высокой температуры и высокого давления, за счет чего осуществляется прикрепление установленной тефлоновой (Teflon®) крышки 133. При описанном выше расположении соединительных выступов 132а в шахматном порядке относительно рядов соответствующие обращенные друг к другу поверхности соединительных выступов 132а могут действовать в качестве стенок, закрывающих промежутки между соединительными выступами 132а. Следовательно, воздухонепроницаемость пылеприемника 130 обеспечивается без необходимости использования специального уплотняющего элемента, например прокладки.
Для пропускания УФ излучения тефлоновая (Teflon®) крышка 133 необязательно должна быть прозрачной, поскольку она обладает превосходной способностью пропускать УФ излучение, однако, предпочтительнее тефлоновую (Teflon®) крышку 133 выполнять из прозрачного материала, чтобы пользователь мог наблюдать внутреннюю часть пылеприемника 130 невооруженным глазом.
Как было описано выше, устанавливая УФ стерилизационную лампу 111 внутри корпуса 110 пылесоса, отделенного от пылеприемника 130, можно поддерживать воздухонепроницаемость пылеприемника и, кроме того, предотвращать загрязнение и повреждение УФ стерилизационной лампы 111 осаждаемой пылью.
Более того, поскольку тефлоновая (Teflon®) крышка 133 не загрязняется пылью, то можно поддерживать на стабильном уровне УФ излучение, проецируемое в пылеприемник 130.
Несмотря на то, что в качестве примера в описанном варианте выполнения данного изобретения был рассмотрен пылесос вертикального типа, данное изобретение не ограничивается только этим вариантом; возможно использование и других типов пылесосов, имеющих пылеприемник, например пылесоса контейнерного типа.
Как можно понять из приведенного выше описания, поскольку УФ стерилизационная лампа 111 установлена снаружи пылеприемника 130, то можно предотвратить загрязнение и повреждение лампы осаждаемой пылью.
Кроме того, так как пылеприемник 130 герметично прикреплен к корпусу 110 пылесоса, то можно предотвратить потери давления и просачивание пыли, которые могут возникать при установке УФ стерилизационной лампы 111 в пылеприемнике130.
Хотя изобретение было продемонстрировано и описано со ссылкой лишь на некоторые варианты его выполнения, специалистам в данной области очевидно, что возможно внесение различных изменений в форму и детали, не выходящих за пределы сущности и объема изобретения, определенных в прилагаемой формуле изобретения.
Формула изобретения
1. Пылеприемник для пылесоса, содержащий
корпус приемника, прикрепленный разъемным соединением к корпусу пылесоса, сквозное окно на корпусе приемника, пропускающее ультрафиолетовое излучение, тефлоновую крышку, герметизирующую окно, пропускающее ультрафиолетовое излучение, и
соединительные выступы, выполненные вокруг окна, пропускающего ультрафиолетовое излучение, и соединительные отверстия, выполненные в тефлоновой крышке и соответствующие соединительным выступам, причем соединительные выступы образуют многоугольный столбик и размещены в по меньшей мере двух рядах так, что соединительные выступы одного ряда расположены в шахматном порядке напротив соединительных выступов другого ряда.
2. Пылеприемник по п.1, в котором тефлоновая крышка закреплена путем сдавливания концов соединительных выступов, проходящих через соединительные отверстия, при высоких температуре и давлении.
3. Пылеприемник по п.1, в котором окно, пропускающее ультрафиолетовое излучение, содержит заглубленный участок, наклоненный под заданным углом к верхнему участку пылеприемника.
4. Пылеприемник по п.1, в котором тефлоновая крышка выполнена из прозрачного материала.
5. Пылесос, содержащий
корпус пылесоса,
пылеприемник по п.1,
ультрафиолетовую стерилизационную лампу, установленную внутри корпуса пылесоса и предназначенную для сканирования пылеприемника ультрафиолетовым излучением, и
решетку, защищающую ультрафиолетовую стерилизационную лампу.
6. Пылесос по п.5, в котором ультрафиолетовая стерилизационная лампа и решетка наклонены под заданным углом к направлению длины пылеприемника.
РИСУНКИ
|
|