|
|
(21), (22) Заявка: 2001131629/12, 26.11.2001
(24) Дата начала отсчета срока действия патента:
26.11.2001
(30) Конвенционный приоритет:
02.12.2000 DE 10059982.6-16
(43) Дата публикации заявки: 27.08.2003
(46) Опубликовано: 20.11.2007
(56) Список документов, цитированных в отчете о поиске:
FR 2562409 A1, 11.10.1985. US 5289599 A, 01.03.1994. US 4541132 А, 17.09.1985. DE 3211436 A1, 29.09.1983. WO 98/51202 A1, 19.11.1998.
Адрес для переписки:
117393, Москва, а/я 279, “Константин Шилан и Ко.”, пат.пов. К.А.Шилану, рег.№ 367
|
(72) Автор(ы):
Д-р Михаэль ГЕРЛОФФ (DE)
(73) Патентообладатель(и):
Д-р Михаэль ГЕРЛОФФ (DE)
|
(54) ОПОРНЫЙ КОРПУС ДЛЯ ЧАШИ ДУША
(57) Реферат:
Изобретение относится к санитарно-гигиеническому оборудованию жилища. Приемная чаша душа, изготовленная из камня, керамической плитки или подобного материала, содержит опорный корпус, подставку, донную плиту, водосточный канал и краевую раму. Последняя образует с донной плитой в области водосточного канала щель для слива воды в канал. Эта щель образована двумя параллельно расположенными боковыми поверхностями и проходит под некоторым углом к вертикали. Нижнее отверстие щели смещено вбок по отношению к верхнему отверстию по крайней мере на ширину верхнего отверстия. Донная плита выполнена съемной. Изобретение обеспечивает упрощение монтажа и демонтажа конструкции и ее водонепроницаемость. 6 з.п. ф-лы, 4 ил.
Изобретение относится к опорному корпусу как части приемной чаши душа из камня (искусственного или природного), керамической (метлахской) плитки и т.п. Под чашей душа (приемной чашей) понимается элемент, который представляет собой непосредственно видимую нижнюю часть душа или иными словами ту часть, которая непосредственно соприкасается с водой.
Предметом изобретения является в первую очередь опорный корпус для чаши душа, а также чаша душа как таковая вместе с опорным корпусом как ее нижней конструкцией.
Известны чаши или ванны душа самой различной конструкции. Особенно широко известны приемные чаши душа из пластмассы или эмалированной стали. Такие чаши могут быть встроены либо на уровне пола, т.е. почти заподлицо с поверхностью сплошного бесшовного пола с монолитным покрытием, либо же на этом полу, т.е. так, что ванна душа стоит на бесшовном полу, например на некоторых подставках, или же для нее предусматривается так называемая полувысокая установка, когда приемная ванна душа по крайней мере частично утоплена в пол.
Из немецкого патента DE 29808129 U1 известна рама с расположенным по ее периметру желобом. Чаша душа лежит на этой раме. Вода из приемной чаши душа спускается через слив, предусмотренный в чаше. Вода отводится также через желоб, образованный рамой, и попадает на пол рядом с рамой, выложенный плиткой, в равной мере как и стекающая («ползучая») вода, которая через швы под керамической плиткой доходит до слоя гидроизоляции.
Из немецкого патента DE 24230083 С2 известна опора для ванны душа, которая выполнена так, что может вместить в себя приемные ванны душа с различной глубиной установки. Это, в частности, обеспечивается тем, что при слишком малой высоте опоры ванны под нее подкладывают установочные бруски, а при недостаточной глубине опоры ванны с цоколя (гнезда) опоры снимают часть материала.
Из французского патента FR 2562409 А1 известна конструкция ванны душа, при которой в качестве опорного корпуса предусмотрен кольцеобразный желоб, причем на верхней стороне внутренней стенки желоба положена донная плита. Под этой плитой расположена еще одна плитка, размеры которой соответствуют внутреннему свободному пространству, образованному желобом, чтобы избежать смещения донной плиты. Между донной плитой и наружной стенкой желоба имеется некоторое расстояние для образования зазора, чтобы обеспечить возможность стекания воды с донной плиты в желоб.
Недостаток здесь заключается, в частности, в том, что в центре конструкции донная плита лежит без опирания. Без особого усиления донной плиты плиткой, которая расположена ниже, имелась бы опасность разрушения донной плиты при соответствующей горизонтальной вытяжке и соответствующей нагрузке. Недостатком является еще и то, что через зазор между донной плитой и наружной стенкой желоба сверху виден желоб со всей его грязью.
Особенно для дорогостоящих ванн и душей известны чаши душа из камня и, в частности, из природного камня или керамической плитки. При этом, как правило, предусматривается центральный донный слив. Чтобы обеспечить, чтобы вода из душа доходила до слива, каменные и(или) керамические плитки нужно укладывать так, чтобы с каждой стороны имелся уклон по направлению к сливу. При четырехугольной чаше или ванне душа с четырьмя в общей сложности каменными плитками, направленными к сливу, каждая каменная плитка поэтому будет иметь разный уклон. Для сооружения таких чаш для душа требуются значительные затраты ручного труда. К тому же, в отличие от заранее изготовленных ванн или чаш для душа из эмалированной стали или пластмассы такие чаши из облицованного кирпича, природного камня или керамической плитки ввиду наличия швов никогда не могут быть совершенно водонепроницаемыми. Поэтому безусловно необходимо предусматривать под чашей душа по крайней мере слой гидроизоляции, который тоже был бы соединен со сливом с таким расчетом, чтобы вода, прошедшая через швы, могла бы попасть по слою изоляции в слив.
В гостиницах, особенно в номерах с подвесными потолками, для безопасности устанавливают не только один слой гидроизоляции, но обычно два слоя один над другим, чтобы не допустить при поврежденной изоляции протекания воды через потолок. В местах подсоединения изоляции к сливу здесь возможны особые проблемы и поэтому от рабочего-сантехника требуется повышенная внимательность.
Из современного уровня техники известны, кроме того, так называемые опорные элементы из твердого пенопласта, которые вырезают (выфрезеровывают) из блоков. При четырехугольном исполнении эти элементы тоже имеют уклон со всех четырех сторон к центральному сливу. Недостаток здесь заключается во-первых в том, что при укладке таких опорных элементов с каменными или керамическими плитками еще требуются значительные затраты (ручного труда), потому что эти каменные или керамические плитки должны быть выкроены очень точно, чтобы получилась чисто оформленная чаша душа. Кроме того, возникает и дополнительная проблема при установке. Дело в том, что такой опорный элемент из твердого пенопласта должен быть соответствующим образом подперт, чтобы и вся приемная чаша душа в целом опиралась устойчиво. Для этого предусматривается, чтобы такой опорный элемент из твердого пенопласта сначала был поставлен на ножки, чтобы его можно было выверить, а затем на втором этапе этот опорный элемент подливают цементным раствором или затвердевающим пластиком.
У всех этих известных приемных чаш душа общее свойство (недостаток) заключается в том, что их монтаж обходится очень дорого (это впрочем в равной мере относится и к демонтажу) и что такие чаши ввиду наличия фигунка швов не являются плотными (полностью водонепроницаемыми).
Поэтому в основу изобретения положена задача создать чашу для душа описанного выше типа, в частности из природного камня, искусственного камня, керамической плитки и т.п., которая была бы простой при монтаже и демонтаже, совершенно плотной и к тому же допускала установку и в варианте на подставке, и в варианте заподлицо с полом.
Эта задача согласно изобретению была решена тем, что приемная чаша душа имеет по крайней мере одну подставку, которая окружена кромкой, причем в ней предусмотрен один канал, выходящий в слив. Такой канал, имеющий от верхней стороны подставки уступ вниз, образует в соединении со сливом систему прохода воды, встроенную в опорный корпус. Это означает, что при выбранной конструкции опорного корпуса получается приемная чаша душа, которая в отношении плотности имеет такие же преимущества, как и традиционная чаша для душа из пластмассы или эмалированной стали, но имеющая оптические преимущества (внешний вид) как у чаши, изготовленной например из природного камня или керамической плитки. При этом опорный корпус является частью чаши душа в том смысле, что он тоже способствует сливу воды. Здесь становится очевидным и еще одно преимущество перед конструкцией согласно французскому патенту FR 2562409. Чтобы обеспечить плотность между плиткой пола и желобом, плитку пола пришлось бы склеивать. Однако тогда приемную чашу нельзя было бы подвергать осмотрам с приемлемыми затратами. Между тем возможность проведения осмотров важна, когда желоб нужно очищать или когда туда упали какие-либо предметы, которые нужно извлечь.
Другие выгодные признаки новой конструкции можно понять из пунктов патентной формулы.
Так, в частности, предусмотрено, что между буртиком опорного корпуса и подставкой предусмотрен канал преимущественно кольцеобразной формы, проходящий вокруг подставки.
Благодаря этому появляется возможность положить на подставку сквозную плитку пола из природного или искусственного камня, причем в краевом участке плитки пола по направлению к кромке опорного корпуса получается прорезь (щель), через которую вода может стекать в канал, окружающий подставку. Это значит, что в соединении с опорным корпусом, который изготовлен, например, из пластмассы и здесь, в частности, из полиуретана и обкладкой из природного камня, образуется практически замкнутая сама в себе система, которая обеспечивает абсолютную плотность. В частности, при кольцеобразном канале эффект захватывания воды получается весьма существенным. Поскольку слив с донной плиты перекрыт, кроме того, имеется возможность обеспечить сравнительно большой слив, не нарушая этим картину (внешний вид) приемной чаши душа в целом. Благодаря проходящей насквозь донной плите из природного камня, уложенной только на подставку, отпадают к тому же и дорогостоящие монтажные работы, которые требуются при теперешнем уровне техники, когда каменные или керамические плитки приходится укладывать наклонно к центральному сливу в четырех плоскостях. Таким образом удается также и избежать и швов, что является в частности оптическим преимуществом, поскольку картина швов по крайней мере прерывает оптический (внешний) вид природного камня.
С целью обеспечить, чтобы донная плита из природного камня надежно прилегала к верхней стороне подставки, на подставке на ее верхней стороне предусмотрены выступающие бугорки (шишки). На каменной плитке с нижней стороны имеются соответствующие выемки или глухие углубления (мешки).
Чтобы далее обеспечить, что вода, втекающая в канал, могла бы и стечь из него, в канале предусмотрен уклон по направлению к сливу.
Согласно другому особому признаку опорный корпус в области слива на нижней своей стороне имеет несколько выемок, причем между отдельным выемками проходит перемычка как ребро жесткости, выгодно увеличивающая жесткость опорного корпуса. Благодаря этим выемкам предоставляется место для монтажа труб, которые могут быть проложены от слива к любой имеющейся в этой области точке подсоединения на стене.
В частности, слив в опорном корпусе окружен кольцеобразным краевым участком, чтобы обеспечить в соединении с сифоном слива уплотнение резиновым кольцом. С той же целью на подставке в области слива имеется выемка. Чтобы не допустить, чтобы в области этой выемки для слива каменная плитка лежала открытой, за сливом соосно с кромками подставки предусмотрена опора подставки, которая дополнительно подпирает каменную плитку снизу.
Предметом изобретения является также приемная чаша душа из камня, керамической плитки и т.п., в частности с опорным корпусом описанного выше типа, которая отличается тем, что на подставке уложена по крайней мере одна донная плитка, образующая дно чаши, причем в области канала донная плита образует щель по отношению к кромке опорного корпуса для отекания воды в канал, причем эта щель проходит под некоторым углом к вертикали. Благодаря угловому наклону этой щели внутрь невозможно заглянуть сверху внутрь канала. К тому же, только благодаря этому и возможно размещение донной плиты. Особенно благодаря этому возникает оптический эффект, который создает впечатление как бы сплошной поверхности, потому что даже если специально смотреть в щель сверху, то в поле зрения окажется материал краевого участка или же материал плитки пола, т.е., например, гранит, но никак не материал опорного корпуса или грязь, имеющаяся в канале.
Более конкретно, предусматривается, что образуется щель между двумя проходящими параллельно одна другой боковыми поверхностями, причем нижнее отверстие этой щели смещено вбок по крайней мере на ширину верхнего отверстия щели.
Благодаря такому смещению нижнего отверстия по отношению к верхнему достигается эффект, что через щель, которая выполнена проходящей предпочтительно по периметру (по окружности), смотреть насквозь нельзя.
В частности, из этого становится ясно, что монтаж всей чаши душа получается особенно простым. Опорный корпус представляет собой предварительно изготовленный элемент (полуфабрикат) из пластмассы, в частности из пенополиуретана, причем сначала выполняется кромка с заложенной обкладкой V из природного камня или керамической плитки. После монтажа трубопровода для спуска воды и сифона на сливе и установки на место опорного корпуса остается только положить донную плитку из камня на подставку. Для очистки канала или сифона эту донную плиту нужно просто снять. Как уже упоминалось выше, донная плита кладется на бугорчатые выступы (шишки), выполненные на подставке, причем донная плита на своей нижней стороне имеет такой же фигунок глухих углублений, как фигунок бугорчатых выступов на подставке. Этим обеспечивается точное позиционирование донной плиты пола на подставке.
Чтобы на длительное время обеспечить, что на нижней стороне донной плиты из природного или искусственного камня под влиянием влажности не образуются отложения типа слизи или грибковой плесени, нижняя сторона плиты выполняется водонепроницаемой, например закупоривается покрытием из полиэфирной смолы.
Далее изобретение более подробно поясняется со ссылкой на фигунки (фигуры), приводимые в качестве примера.
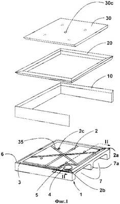
На фиг.1 показано устройство приемной чаши душа с опорным корпусом в перспективном раздвинутом изображении.
На фиг.2 показан разрез по линии II-II из фиг.1 при установке чаши на сплошном бесшовном полу.
На фиг.3 показан вариант установки, когда опорный корпус чаши частично утоплен в сплошной бесшовный пол.
На фиг.4 показан вариант установки чаши заподлицо с уровнем сплошного монолитного пола.
Установка комплектной приемной чаши душа вместе с опорным корпусом 1 или на нем видна – как уже упоминалось – из фиг.1. Опорный корпус 1 опирается на бесшовный пол 50 или углубляется в него и стоит у стены 60. На фиг.1 представлен опорный корпус, отмеченный цифрой 1, кромка которого 6 обложена краевой обкладкой 10, причем на эту обкладку 10 насаживается краевая рама 20, которая охватывает донную плиту 30, лежащую на подставке 2 опорного корпуса 1. Сама чаша душа, таким образом, устанавливается в основном как на опоре или как на краевой опоре на опорном корпусе 1. Вокруг подставки 2 располагается кольцеобразный канал 3, который имеет уклон по направлению к сливу воды 4. Слив 4 имеет краевой участок 5, заниженный по отношению к уровню подставки 2, причем благодаря этому краевому участку вокруг слива образуется кольцеобразная плоскость, которая пригодна для установки уплотнительных устройств, например круглых О-образных колец. При этом опорный корпус становится составной частью приемной чаши душа в том смысле, что он используется для слива воды через канал.
На продолжении боковых кромок 2а подставки 2 располагается так называемая опора подставки 2b, верхняя сторона которой находится на той же высоте, что и подставка 2. На подставке 2 предусмотрены, кроме того, бугорчатые выступы 2с, которые входят в соответствующие глухие углубления 30с на донной плите 30, чем обеспечивается устойчивая посадка донной плиты 30 на подставке 2.
Вокруг кольцеобразного канала располагается обозначенная цифрой 6 кромка опорного корпуса 1, который – как уже упоминалось в другом месте – обложен краевой обкладкой 10 и краевой рамой 20.
В области слива 4 предусмотрены две выемки 7, причем выемки 7 разделены перемычкой (ребром жесткости) 7а, которая обеспечивает увеличение жесткости опорного корпуса в этой области. Выемки 7 должны облегчить прокладку сливных труб к канализационной трубе.
Изображение комплектной чаши душа более подробно представлено также и на фиг.2. Так, в частности, на фиг.2 видно, что выше кольцеобразного канала 3 между донной плитой 30 и краевой рамой 20 образуется щель 40, через которую обеспечивается слив воды в канал 3. Окружная щель 40 имеет две расположенные параллельно одна другой боковые поверхности 46 и 47 с верхним отверстием 48 и нижним отверстием 49 с соответствующими сторонами отверстия 48а и 49а. Между тем, наклон щели 40 выбран таким, что оба отверстия 48 и 49 не накладываются одно на другое; напротив, нижнее отверстие 49 смещено по отношению к верхнему отверстию 48 по крайней мере на ширину 48а верхнего отверстия 48. Прямой сквозной взгляд в канал 3 поэтому невозможен, однако возможность его осмотра путем снятия донной плиты всегда обеспечивается. В области щели 40, кроме того, предусмотрены окружные пазы для капель с целью не допустить, чтобы вода текла вдоль нижней стороны донной плиты 30 или по нижней стороне краевой рамы 20.
Чтобы не допустить, чтобы вода, стекающая через прорезь 40 под действием капиллярного эффекта подсасывалась бы под донную плиту 30 или в пространство между донной плитой 30 и опорным корпусом 1, по первому варианту к обеим сторонам щели 40 предусмотрена окружная канавка 41. Альтернативным решением может быть водоотталкивающая планка 45 в области щели 40 донной плиты 30, например L-образного профиля из эластомерного материала и т.п. Такая планка предпочтительно L-образного сечения прокладывается вдоль щели 40, предпочтительно с обеих сторон щели. Оказалось, что под донной плитой 30 в области подставки 2 при некоторых условиях может образовываться конденсат. Для отвода этой сконденсировавшейся воды на верхней стороне опорного корпуса 1 в подставке 2 предусмотрены желобки 35, имеющие предпочтительно звездообразную форму и проходящие от центра подставки 2 опорного корпуса к каналу 3. Через желобки 35 происходит также вентиляция пространства между донной плитой и подставкой опорного корпуса.
Для монтажа теперь нужно поступать так. Сначала предварительно изготовленный опорный корпус, например из пенополиуретана, временно ставят на сплошной бесшовный пол или в случае если желательно иметь чашу душа заподлицо с полом, то в соответствующее углубление в полу. Затем размечают слив опорного корпуса на бесшовном сплошном или на обычном полу. После монтажа сливного трубопровода опорный корпус ставят в углубление в сплошном полу или на него, в зависимости от того, какой вариант установки приемной чаши душа желателен. После соединения сифона с трубопроводом сливной воды затем ставят краевую обкладку 10 или только краевую раму 20, если приемная чаша душа будет устанавливаться по варианту заподлицо с полом, причем для подсоединения достаточно только уложить донную плиту 30. В некоторых случаях обкладка опорного корпуса (материалом типа природного камня) может быть заранее смонтирована уже на заводе, в зависимости от того, какой вариант установки приемной чаши душа будет выполняться.
Преимущество такой конструкции чаши душа с опорным корпусом заключается в простоте монтажа и демонтажа и в абсолютной водонепроницаемости. Кроме того, приемная чаша имеет красивый внешний вид и может быть обложена любым (благородным) материалом.
Формула изобретения
1. Приемная чаша душа, изготовленная из камня, керамической плитки или подобного материала, содержащая опорный корпус (1), подставку (2), расположенную на ней по крайней мере одну донную плиту (30), водосточный канал (3) и краевую раму (20), образующую с донной плитой (30) в области водосточного канала (3) щель (40) для слива воды в канал, отличающаяся тем, что щель (40) для слива воды в канал образована двумя параллельно расположенными боковыми поверхностями (46), (47) и проходит под некоторым углом к вертикали, причем нижнее отверстие (49) щели (40) смещено вбок по отношению к верхнему отверстию (48) по крайней мере на ширину (48а) верхнего отверстия, а донная плита (30) выполнена съемной.
2. Приемная чаша душа по п.1, отличающаяся тем, что кромка опорного корпуса (1) обложена закрепленным на ней камнем ценных пород, керамической плиткой или иными подобными материалами.
3. Приемная чаша душа по п.1, отличающаяся тем, что донная плита (30) имеет на своей нижней стороне глухие углубления (30с) для входа в них бугорчатых выступов (2с), которые имеются на верхней стороне подставки (2).
4. Приемная чаша душа по п.1, отличающаяся тем, что нижняя сторона плиты (30) закупорена для обеспечения водонепроницаемости, например, отверждающейся смолой.
5. Приемная чаша душа по п.1, отличающаяся тем, что на нижней стороне донной плиты (30) предусмотрены средства (41, 45), предотвращающие сползание воды под действием капиллярного эффекта на нижнюю сторону донной плиты (30) вдоль нее.
6. Приемная чаша душа по п.5, отличающаяся тем, что указанные средства (41, 45) представляют собой водоотталкивающую планку, в частности с L-образной формой поперечного сечения.
7. Приемная чаша душа по п.1, отличающаяся тем, что щель (40) выполнена как окружающая подставку (2).
РИСУНКИ
|
|