|
|
(21), (22) Заявка: 2003134183/12, 27.05.2002
(24) Дата начала отсчета срока действия патента:
27.05.2002
(30) Конвенционный приоритет:
28.05.2001 (пп.1-7) SE 0101858-9
(43) Дата публикации заявки: 27.10.2004
(46) Опубликовано: 20.11.2007
(56) Список документов, цитированных в отчете о поиске:
GB 2322794 А, 09.09.1989. GB 2108092 А, 11.05.1983. GB 857972 А, 04.01.1961. US 5871108 А, 16.02.1999. WO 0006004 А, 10.02.2000. US 4306510 А, 22.12.1981. SU 721361 А, 25.03.1980. SU 1801815 A1, 15.03.1993. RU 2160557 C1, 20.21.2000.
(85) Дата перевода заявки PCT на национальную фазу:
29.12.2003
(86) Заявка PCT:
SE 02/01011 (27.05.2002)
(87) Публикация PCT:
WO 02/096247 (05.12.2002)
Адрес для переписки:
191036, Санкт-Петербург, а/я 24, “НЕВИНПАТ”, пат.пов. А.В.Поликарпову
|
(72) Автор(ы):
ЛАНДИН ЛОРЕНТЗЕН Лена (SE)
(73) Патентообладатель(и):
Ой Карл Фазер АБ (FI)
|
(54) ТОРГОВЫЙ БЛОК
(57) Реферат:
В изобретении предложен торговый блок для товаров, а также торговая секция, составленная из подобных торговых блоков. Каждый блок содержит вертикально составленные один над другим контейнеры, каждый из которых снабжен дверцей для доступа к товарам. Все контейнеры установлены в каркасе, который содержит средства перемещения, предназначенные для обеспечения возможности поперечного перемещения каркаса вместе с контейнерами вперед из его нормального положения в торговой секции и возвращения назад, соответственно, в нормальное положение для обеспечения пополнения контейнеров товаром с задней стороны при их нахождении в выдвинутом положении. Изобретение обеспечивает упрощение манипулирования торговым блоком при пополнении контейнеров товарами. 6 з.п. ф-лы, 7 ил.
Область техники
Данное изобретение относится к сфере деятельности, связанной с демонстрацией товаров в торговых секциях, состоящих из вертикально составленных контейнеров, в которых содержатся эти товары. Предпочтительно изобретение относится к торговым секциям, состоящим из ряда вертикально составленных контейнеров и предназначенным для отделов самообслуживания, и в особенности для отделов самообслуживания по продаже кондитерских изделий и других сладостей.
Предпосылки изобретения
Кондитерские изделия и другие сладости, продаваемые в отделах самообслуживания, обычно выставляются в магазинах в хорошо просматриваемых прозрачных контейнерах, причем каждый сорт кондитерских изделий выставляется в своем отдельном контейнере. Контейнеры установлены один над другим в стеллаже, из которого можно вынимать каждый контейнер, когда требуется произвести его пополнение товарами. Нетрудно убедиться в том, что при существующем количестве сортов сладостей подобные контейнеры занимают целиком стены в магазинах. Их количество в магазине может составлять 200 контейнеров и более. В случае пополнения контейнеров каждый контейнер необходимо отдельно от других вынуть из стеллажа, пополнить его и затем возвратить обратно на место. Таким образом, можно легко понять суть свойственных данной работе проблем и связанных с нею временных издержек, необходимых для пополнения контейнера. Персонал, осуществляющий пополнение контейнера, берет на складе, каким-то образом связанном с магазином, упаковку со сладостями соответствующего сорта, переносит эту упаковку в отдел самообслуживания и там в соответствии с вышеизложенным осуществляет пополнение контейнера.
Например, в патенте GB 2322794 на фиг.1 проиллюстрировано, каким образом отдельные контейнеры для сладостей укладывают в штабель с тем, чтобы выставить для покупателей сладости разных видов.
Цель изобретения
Цель данного изобретения заключается в решении вышеуказанных проблем путем создания торгового блока, манипулировать которым при осуществлении пополнения товарами отдельных контейнеров торгового блока можно значительно проще.
Дополнительная цель заключается в сокращении времени, затрачиваемого на пополнение контейнеров вышеупомянутого типа.
Еще одной целью изобретения является исключение необходимости использования большегрузных подъемников, а также исключение неудобных физических положений при работе, которые раньше возникали у персонала, которому предстояло пополнить контейнер товаром, а затем после пополнения возвратить этот контейнер на место обратно в секцию.
Кроме того, целью данного изобретения является обеспечение промежуточного хранения пополняющих упаковок, предназначенных для быстрого пополнения по меньшей мере одного контейнера.
Сущность изобретения
Указанные выше цели достигаются в данном изобретении путем создания устройства, описанного в независимом пункте формулы изобретения, при этом исключены перечисленные недостатки. В зависимых пунктах формулы приведены соответствующие варианты выполнения изобретения.
Согласно изобретению торговая секция собрана из отдельных торговых блоков, ширина которых составляет 30 см и которые присоединены к торговой секции произвольного размера. Каждый торговый блок выполнен таким образом, что по ширине он содержит либо один контейнер, занимающий полную ширину блока, либо два контейнера, каждый из которых занимает половину этой ширины. По вертикали блок составлен из трех или четырех контейнеров. Для передвижения торгового блока в целом каждый такой блок снабжен средствами перемещения какого-либо вида, которые обеспечивают возможность выдвигания блока, состоящего из трех или четырех контейнеров, независимо от остальных торговых блоков. Средства перемещения выполнены в виде направляющих планок, установленных на подшипниках для обеспечения плавной и легкой работы. Как вариант, средства перемещения снабжены роликами или колесами, которые опираются на поверхность пола или платформу, приподнятую над поверхностью пола. Средства перемещения расположены либо под блоком, на его боковых сторонах, либо в верхней его части. Объем патентных притязаний данного изобретения распространяется также и на случай комбинации мест расположения указанных средств. Возможность выдвигания блока позволяет беспрепятственно пополнять отдельные контейнеры с их задней стороны. Кроме того, блок для каждого контейнера имеет наклонную панель для хранения, обеспечивающую место для промежуточного хранения пополняющих упаковок.
Промежуточное хранение пополняющих упаковок осуществляется благодаря возможности выдвигания блока, которая позволяет использовать для хранения товара место за контейнерами и исключает необходимость посещения обычного склада магазина.
Несмотря на то, что описанные ниже варианты выполнения изобретения главным образом имеют отношение к сладостям, продаваемым россыпью, данное изобретение применимо также и к бестарным товарам другого типа, продаваемым в отделах самообслуживания. В этой связи бестарные товары можно размещать как в прозрачных контейнерах, так и в закрытых контейнерах с присоединенным к ним демонстрационным модулем.
Соответствующий вариант выполнения торгового блока представляет собой блок, выполненный с возможностью выдвигания по приподнятой платформе, причем основание блока содержит опорный элемент, выполненный с возможностью автоматического раскладывания. Опорный элемент раскладывается при выдвигании блока и складывается при возвращении блока обратно.
Краткое описание чертежей
Далее изобретение описано более подробно на примере вариантов его выполнения, приведенных со ссылкой на прилагаемые чертежи, на которых:
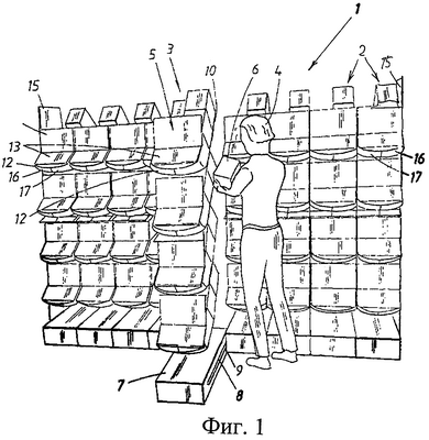
Фиг.1 изображает выдвинутый торговый блок торговой секции в соответствии с данным изобретением.
Фиг.2 изображает отдельный каркас предложенного торгового блока.
Фиг.3 изображает поперечное сечение предложенного средства перемещения.
Фиг.4 изображает выдвинутый каркас предложенного торгового блока.
Фиг.5а изображает опущенную опору предложенного торгового блока.
Фиг.5b иллюстрирует принцип действия показанной на фиг.2, 4 и 5а опоры во время ее подъема.
Фиг.5с изображает показанную на фиг.2, 4 и 5а опору полностью поднятой.
Описание изобретения
На фиг.1 изображена торговая секция 1, составленная из отдельных торговых блоков 2, установленных бок о бок вдоль стены в торговом помещении. На чертеже также показан торговый блок 3, выдвинутый из торговой секции. Рядом с выдвинутым торговым блоком 3 изображен человек 4, собирающийся пополнить товаром контейнеры 5, расположенные в этом торговом блоке. Выполняя это, указанный человек 4 открывает пополняющую упаковку 6, чтобы засыпать новый товар в повернутый наружу пополняющий контейнер (не показан), затем товар попадает вниз в соответствующий контейнер и после этого пополняющий контейнер снова поворачивают назад, возвращая его в нормальное положение. После выполнения процедуры пополнения выдвинутый блок снова перемещают в нормальное положение в торговой секции. Кроме того, из чертежа можно видеть, что торговая секция имеет нижнюю часть 7, содержащую средства 8 перемещения, выполненные в виде направляющих планок, которые с одной стороны присоединены к этой нижней части 7, а с другой стороны – к прикрепленному к полу элементу 9. К этому элементу 9 присоединен также смежный торговый блок.
Кроме того, как показано на фиг.1, к каждому контейнеру 5 присоединена наклонная панель 10, расположенная у его задней кромки. Эта панель 10 предназначена для размещения по меньшей мере одного пополняющего контейнера 6 и образует в блоке место для промежуточного хранения.
Показанные на чертеже контейнеры 5 снабжены демонстрационным фасадным модулем 11, а также частью 12 для отбора товара, имеющей дверцу 13, которая выполнена с возможностью откидывания вверх и которую покупатель открывает для того, чтобы взять товар. На чертеже показано, что каждый контейнер разделен на два отдельных контейнера 16, 17. В связи с этим ширина каждого торгового блока составляет примерно 30 см, и эту ширину может составлять один контейнер шириной приблизительно 30 см или два контейнера, каждый из которых соответственно имеет ширину около 15 см. В связи с этим следует заметить, что также возможны варианты, в которых контейнеры имеют другие соотношения показателей ширины, например 20/10 см или 25/5 см. Таким образом, при нахождении в выдвинутом положении данный торговый блок позволяет обслуживающему лицу осуществлять пополнение соответствующего контейнера как с одной, так и с другой из его сторон. Кроме того, на чертеже показано, что каждая торговая секция ограничена боковым элементом 15, который заслоняет всю боковую сторону торговой секции 1 от обзора.
Фиг.2 изображает вариант выполнения каркаса 20, из которого вынуты все контейнеры. Каркас содержит по меньшей мере один задний вертикальный каркасный элемент 21, проходящий вверх от основания 22 до горизонтальных каркасных элементов 23, расположенных в верхней части блока. Указанный каркас 20 также имеет фронтальные каркасные стенки 24, проходящие от основания 22 вверх до горизонтальных каркасных элементов 23. Между стенками 24 расположена боковая перегородка 25, проходящая через каждый отведенный под контейнер отсек. Указанная перегородка выполнена с возможностью защелкивания и является первым средством фиксации для соответствующего контейнера. К основанию 22 с обеих сторон присоединены направляющие планки 8. Кроме того, основание 22 содержит опору 26. Согласно данному варианту, опора выполнена с возможностью откидывания от основания при перемещении торгового блока в поперечном направлении наружу по направляющим планкам 8. Также из чертежа видно, что в каркасе каждый отсек для контейнера содержит наклонную панель 27 для хранения. Поскольку каркасный элемент 21 занимает вертикальное положение, а стенки 24 каркаса занимают наклонное положение, то нижние панели для хранения длиннее верхних панелей. Данное обстоятельство позволяет осуществлять промежуточное хранение пополняющих упаковок на нижних панелях в большем количестве, чем на верхних. Таким образом, на нижних панелях блока можно размещать товары, пользующиеся большим спросом.
Фиг.3 изображает основание 22 в виде L-образного профиля, показанное ранее на фиг.2, и смежное основание 32 смежного торгового блока, также выполненное в виде L-образного профиля. К каждому основанию 22, 32 прочно присоединена наружная направляющая планка 33, 34. Каждая наружная направляющая планка перемещается вперед, выдвигаясь относительно внутренней направляющей планки 35, 36. Из чертежа видно, что это относительное перемещение между направляющими планками, внешней и внутренней, осуществляется благодаря роликовому подшипнику 37. Внутренние направляющие планки 35, 36 присоединены к закрепленной на полу конструктивной балке 38. Таким образом, благодаря данной конструкции каждый торговый блок можно перемещать в поперечном направлении – соответственно наружу и внутрь относительно всех смежных торговых блоков. Кроме того, как видно на чертеже, каждая внутренняя направляющая планка 35, 36 соединена с конструктивной балкой с помощью второго средства 39 фиксации, которое показано в виде резьбового соединения, позволяющего соединять торговый блок со смежным блоком с любой из сторон.
На фиг.4 изображены три каркаса 20, 40, 41, средний 20 из которых выдвинут из своего нормального положения. При нахождении в этом выдвинутом положении опора 26 каркаса 20 (описанная ранее со ссылкой на фиг.2) откинута вниз к полу. Два остальных каркаса 40, 41, расположенные по обеим сторонам, показаны в своем нормальном положении с поднятыми опорами. Кроме того, на чертеже показано, что опоры снабжены колесами, которые перемещаются как по возвышению, так и по полу торгового помещения.
На фиг.5а подробно показана опора, находящаяся в опущенном положении. Опора содержит первое звено 51, установленное на шарнире 52 в основании 22. Это звено 51 имеет сквозную продольную щель 53. В основании 22, на шарнире 55, закреплено также второе звено 54. На наружном конце второго звена 54 расположен скользящий шарнир 56, расположенный с возможностью перемещения в удлиненной щели 53 первого звена 51.
На чертеже показано, что основание 22 выдвинуто в направлении стрелки, при этом второе звено 54 соскользнуло с элемента 57 скольжения и под тяжестью собственного веса совершило угловое перемещение вокруг шарнира 55, а скользящий шарнир 56, перемещаясь в щели, обеспечил таким образом поворот первого звена 51 в наружном направлении от основания 22, и опора оказалась в опущенном положении.
На чертеже также показано, что на наружном конце первого звена 51 расположен опорный элемент 58 в виде колеса. Он также может быть выполнен в виде поверхности скольжения, которая выполняет ту же опорную функцию, т.е. создает опору на пол 59 торгового помещения, вследствие чего торговый блок с основанием 22 не будет опрокидываться при выдвигании этого блока за пределы его цоколя 60. Кроме того, на чертеже показано, что когда звено 51 полностью опущено, оно прошло свое предельное положение и находится в зафиксированном состоянии.
На фиг.5b изображен показанный на фиг.5а опорный элемент, находящийся в частично приподнятом положении. При задвигании торгового блока и, соответственно, его основания 22 внутрь в направлении стрелки второе звено 54 наталкивается на элемент скольжения 57 и скользит по нему, поворачиваясь вверх и вызывая перемещение скользящего шарнира 56 в щели 53, первое звено 51 при этом поднимается.
На фиг.5с изображен показанный на фиг.5а опорный элемент, находящийся в полностью поднятом и сложенном положении. Из чертежа следует, что по сравнению с фиг.5b при дальнейшем перемещении основания 22 в направлении стрелки второе звено 54 приняло полностью горизонтальное положение благодаря скользящему перемещению по элементу 57. В результате первое звено 51 с опорным элементом 58 также поднялось в горизонтальное положение.
Формула изобретения
1. Торговый блок (3) для товаров, содержащий вертикально составленные один над другим контейнеры (5), каждый из которых снабжен дверцей (13) для доступа к товарам, причем все контейнеры (5) установлены в каркасе (20), отличающийся тем, что каркас (20) содержит средства (8) перемещения, предназначенные для обеспечения возможности поперечного перемещения каркаса (20) вместе с контейнерами (5) вперед из его нормального положения в торговой секции (1), содержащей установленные бок о бок торговые блоки (3), и возвращения назад соответственно в нормальное положение для обеспечения пополнения каждого отдельного контейнера (5) товаром с задней стороны при нахождении каркаса в выдвинутом положении.
2. Торговый блок (3) по п.1, отличающийся тем, что средства (8) перемещения выполнены в виде направляющих планок (8) и/или колес, установленных под каркасом (20), с обеспечением возможности скольжения/качения каркаса (20) по этим направляющим планкам/колесам соответственно в наружном и внутреннем направлениях.
3. Торговый блок (3) по п.2, отличающийся тем, что каркас (20) содержит для каждого контейнера (5) наклонную панель (27) для хранения, образующую место для хранения пополняющих упаковок (6).
4. Торговый блок (3) по п.3, отличающийся тем, что каркас (20) выполнен так, что наклонная панель (27) самого нижнего контейнера (5) длиннее наклонной панели (27) самого верхнего контейнера при одинаковом угле наклона этих панелей (27) относительно воображаемой горизонтальной плоскости.
5. Торговый блок (3) по п.4, отличающийся тем, что каркас (20) снабжен первым средством (25) фиксации, предназначенным для фиксации контейнера (5) в каркасе (20).
6. Торговый блок (3) по п.5, отличающийся тем, что каркас (20) снабжен вторым средством (39) фиксации, предназначенным для фиксации торгового блока (3) на таком же смежном торговом блоке с образованием торговой секции (1).
7. Торговый блок (3) по любому из пп.1-6, отличающийся тем, что на переднем крае каркаса (20) имеется опорный элемент (26), выполненный с возможностью автоматического раскладывания при выдвигании торгового блока (3) и расположенный с предотвращением опрокидывания торгового блока (3) при его нахождении в выдвинутом положении.
РИСУНКИ
MM4A – Досрочное прекращение действия патента СССР или патента Российской Федерации на изобретение из-за неуплаты в установленный срок пошлины за поддержание патента в силе
Дата прекращения действия патента: 28.05.2008
Извещение опубликовано: 27.11.2010 БИ: 33/2010
|
|