|
|
(21), (22) Заявка: 2004123795/12, 06.01.2003
(24) Дата начала отсчета срока действия патента:
06.01.2003
(30) Конвенционный приоритет:
04.01.2002 (пп.1-11) NO 20020045
(43) Дата публикации заявки: 10.05.2005
(46) Опубликовано: 20.11.2007
(56) Список документов, цитированных в отчете о поиске:
US 5150948 А, 29.09.1992. US 5080435 А, 14.01.1992. RU 2100950 C1, 10.01.1998. SU 1773232 A3, 30.10.1992.
(85) Дата перевода заявки PCT на национальную фазу:
04.08.2004
(86) Заявка PCT:
NO 03/00001 (06.01.2003)
(87) Публикация PCT:
WO 03/055357 (10.07.2003)
Адрес для переписки:
129010, Москва, ул. Б.Спасская, 25, стр.3, ООО “Юридическая фирма Городисский и Партнеры”, пат.пов. С.А.Дорофееву
|
(72) Автор(ы):
ВУЛЛУМ Оле Петтер (NO)
(73) Патентообладатель(и):
СТОККЕ АС (NO)
|
(54) ПОДВИЖНОЕ СОЧЛЕНЕНИЕ С НЕСКОЛЬКИМИ СТАБИЛЬНЫМИ ПОЛОЖЕНИЯМИ ДЛЯ ИСПОЛЬЗОВАНИЯ В МЕБЕЛИ
(57) Реферат:
Изобретение относится к подвижному сочленению для конструкции сиденья, в частности кресла, которое устанавливается между сиденьем и опорой для него. Сочленение содержит по меньшей мере два элемента, которые выполнены с возможностью ограниченного поворота друг относительно друга между двумя крайними положениями для обеспечения возможности наклона сиденья под воздействием перемещения веса пользователя, и два внешних элемента, которые шарнирно установлены с возможностью поворота относительно среднего элемента. Поворотные оси между двумя внешними элементами и средним элементом смещены относительно друг друга в горизонтальном направлении, в результате чего сочленение может принимать стабильное наклонное положение между двумя крайними положениями. Сочленение выполнено компактным, прочным и имеет возможность регулирования пользователем и возврата в исходное положение, когда кресло не используется. 2 н. и 9 з.п. ф-лы, 13 ил.
Предпосылки создания изобретения
Настоящее изобретение относится к подвижному сочленению, имеющему несколько устойчивых положений и используемому в мебели, например в креслах и особенно в откидывающихся креслах.
Известно несколько типов подвижных сочленений между сиденьем и основанием, особенно в офисных креслах. Однако такие кресла обычно имеют только два крайних устойчивых положения, например положение для сидения и положение для отдыха. Для того чтобы использовать эти кресла между крайними положениями, сочленение обычно необходимо зафиксировать, как правило, с помощью рукоятки или подобного устройства. Обычно такие рукоятки являются труднодоступными, поскольку не должны портить внешний вид кресла. Если такие рукоятки выполнить более доступными, они начинают мешать пользователю и чаще ломаются и быстрее изнашиваются.
Кроме того, существует насколько разных откидывающихся кресел с откидывающейся спинкой. В этих креслах спинка часто может откидываться назад, когда на нее опираются и в различных вариантах используют поворотные сочленения или рельсы, обеспечивающие перемещение. Для того чтобы создать сопротивление такому движению, используют, например, фрикционные элементы или пружины. В креслах такого типа также широко применяют фиксацию фрикционных элементов или используют другие запирающие механизмы, чтобы зафиксировать кресло в выбранном положении. В некоторых креслах сиденье также перемещается как функция перемещения спинки, например, вперед и немного вверх. Недостатком таких кресел является необходимость применения силы для перемещения спинки кресла и/или для фиксации спинки в промежуточном положении.
Существуют также кресла, которые могут перемещаться между несколькими устойчивиыми положениями с помощью направляющих, подобно используемым в креслах-качалках, но которые также содержат прямые сегменты, которые расположены под углом относительно друг друга. Таким образом, пользователь может перемещать кресло между фиксированными положениями, перемещая свой центр тяжести относительно этих сегментов. Проблемой такого решения является то, что направляющие становятся большими и громоздкими и, например, могут защемить попавшую под них ногу. Кроме того, в таких конструкциях трудно гасить движения, и кресло не возвращается в какое-либо конкретное исходное положение.
Для того чтобы получить хорошее положение для отдыха, желательно, чтобы ноги располагались относительно высоко, например, на одной высоте с сердцем. В вышеописанных креслах такая возможность ограничена.
Таким образом, существует потребность в сочленении для кресел, при котором сиденье и спинка кресла могут наклоняться в более чем два устойчивых положения относительно опоры просто и без необходимости использования рукояток или других функциональных устройств. Сочленение, кроме того, должно быть компактным и прочным и иметь возможность регулирования пользователем, а также, предпочтительно, возвращаться в исходное положение, когда кресло не используется.
Технической задачей настоящего изобретения явилось создание сочленения для кресла, которое решает описанные проблемы и устраняет недостатки известных решений.
Эта задача решается с помощью подвижного сочленения для конструкции сидения, в частности для кресла, для установки между сиденьем конструкции сидения и опорой для него, содержащее по меньшей мере два элемента сочленения, которые выполнены с возможностью ограниченного поворота друг относительно друга между двумя крайними положениями для обеспечения наклона сиденья под воздействием перемещения веса пользователя, которое согласно изобретению содержит первый элемент сочленения, первым концом прикрепленный к опоре и вторым концом прикрепленный с возможностью вращения только к первому концу среднего элемента сочленения поворотной осью, и дополнительно включающее в себя второй элемент сочленения, первым концом прикрепленный к сиденью и вторым концом прикрепленный с возможностью поворота только ко второму концу среднего элемента сочленения поворотной осью, при этом поворотные оси смещены по горизонтали друг относительно друга во всех положениях сочленения между двумя крайними положениями, в результате чего наклонные положения между двумя крайними положениями сочленения являются устойчивыми.
Предпочтительно расстояние по горизонтали между поворотными осями (40, 50) составляет около 5-15 см, а более предпочтительно около 6-10 см.
Предпочтительно наклонные положения ограничиваются взаимодействующими посадочными поверхностями между элементами сочленения.
Предпочтительно одна или обе из взаимодействующих посадочных поверхностей имеют ограничители поворотного движения.
Предпочтительно по меньшей мере два из элементов сочленения подпружинены друг относительно друга.
Предпочтительно подпружинивание обеспечивается торсионной пружиной, спиральной пружиной, плоской пружиной или другим упругим материалом, но предпочтительно торсионной пружиной.
Предпочтительно пружина выполнена регулируемой.
Предпочтительно первый и второй элементы сочленения подпружинены по-разному относительно среднего элемента сочленения.
Предпочтительно по меньшей мере два из элементов сочленения могут быть заблокированы друг относительно друга.
Техническая задача также решается с помощью кресла, содержащего сиденье, опору и описанное подвижное сочленение, соединяющее сиденье и опору.
Далее изобретение будет пояснено более подробно со ссылкой на прилагаемые чертежи, на которых:
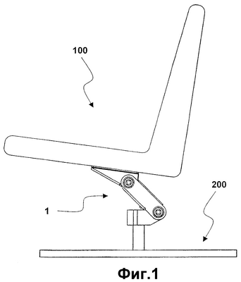
фиг.1 – профиль сочленения согласно настоящему изобретению, используемого между опорой и сиденьем кресла;
фиг.2 – вид сочленения с фиг.1 в перспективе;
фиг.3 – сочленение с фиг.1 в одном положении;
фиг.4 – сочленение с фиг.1 в альтернативном положении;
фиг.5 – сочленение с фиг.1 в альтернативном положении;
фиг.6 – вид сбоку в сечении сочленения с фиг.2;
фиг.7 – вид сбоку в сечении сочленения с фиг.3;
фиг.8 – вид сбоку в сечении сочленения с фиг.4;
фиг.9 – профиль альтернативного варианта сочленения согласно настоящему изобретению, используемого между основанием кресла и его сиденьем;
фиг.10 – вид в перспективе сочленения с фиг.8.
фиг.11 – вид сбоку в сечении сочленения с фиг.8 в одном положении;
фиг.12 – сочленение с фиг.10 в альтернативном положении;
фиг.13 – сочленение с фиг.10 в альтернативном положении.
Ниже следует более подробное описание примеров вариантов воплощения настоящего изобретения со ссылками на прилагаемые чертежи. Примеры предназначены для лучшего понимания изобретения и не ограничивают его объем.
В нижеследующем описании термины “передний” и “вперед” используются для обозначения направления, в котором направлен взгляд пользователя, когда он или она сидят в кресле, откинувшись на его спинку обычным образом, а термины “задний” и “назад” обозначают противоположное направление, если прямо не будет указано иное.
Далее ссылки на угол сочленения следует понимать как ссылки на углы между сиденьем кресла и опорой, например полом. В показанных вариантах они соответствуют углам между верхней и нижней частями описываемого сочленения, но в других вариантах такое соответствие может быть необязательным.
Пример А
Как показано на фиг.1, сочленение 1 согласно настоящему изобретению установлено как соединяющее сочленение между сиденьем 100 кресла и опорой 200. Опора 200 часто состоит из вертикальной штанги, которая может быть выполнена с возможностью поворота/наклона, и в основном горизонтальной пяты, размер которой должен предотвращать опрокидывание кресла, когда опора не закреплена.
В этом варианте сочленение 1 собрано, как показано на фиг.2, из трех элементов 10, 20 и 30 сочленения, которые соединены поворотными осями 40 и 50. Каждый элемент сочленения может поворачиваться между двумя крайними положениями относительно каждого элемента сочленения, с которым он соединен.
Когда сочленение 1 является сочленением между сиденьем кресла 100 и опорой 200 на фиг.1 или другим жестким элементом, элементы сочленения будут обозначены как “нижний элемент” 10, “средний элемент” 20 и “верхний элемент” 30.
В этом варианте нижний элемент 10 сочленения в принципе параллелен основанию и перпендикулярен штанге основания. Нижний элемент 10 сочленения устанавливается на опоре 200 и соединяется с нижним концом среднего элемента 20 сочленения горизонтальной поворотной осью 40. Средний элемент 20 сочленения своим верхним концом соединен с верхним элементом 30 осью 50, которая проходит параллельно оси 40. Верхний элемент 30 сочленения крепится к сиденью кресла. Верхняя часть, верхнего элемента 30 таким образом является крепежной поверхностью для нижней части сиденья кресла.
Сочленение 1 может принимать три устойчивых положения в зависимости от положения центра тяжести пользователя относительно осей 50 и 40, поскольку элементы 10, 20, 30 взаимодействуют, как указано выше.
На фиг.3. сочленение показано в исходном положении, в котором центр тяжести 300 пользователя расположен перед обеими осями 40 и 50. Сочленение 1 в этом случае имеет угол (между верхней поверхностью 31 сочленения и опорой, см. фиг.6), который может быть любым углом пригодным для предполагаемого использования и в данном случае он равен прибл. 8°, когда кресло должно использоваться для сидения прямо.
На фиг.4 показано сочленение в промежуточном положении, в котором центр тяжести 300 пользователя расположен между двумя осями 40 и 50. Сочленение 1 принимает угол , который в этом случае больше угла и составляет прибл. 18°.
На фиг.5 показано сочленение в крайнем положении, в котором центр тяжести 300 пользователя расположен сзади обеих осей 40 и 50. Сочленение в этом случае имеет угол , который в этом случае больше углов и и составляет прибл. 30°.
Сочленение 1 предпочтительно, но не обязательно, подпружинено. Такая нагрузка может выталкивать сочленение 1 вперед к его исходному положению так, что кресло возвращается в это положение, если не будет нагружено пользователем. Более того, подпружинивание сглаживает движение сочленения 1 и обеспечивает плавный переход между вышеупомянутыми устойчивыми положениями. Это позволяет получить комфортабельное движение и лучшую защиту от резких перемещений пользователя, которые могут опрокинуть кресло. Подпружинивание можно в общем случае адаптировать под такие аспекты, как вес пользователя, вес сиденья кресла, угол между сиденьем и спинкой кресла, а также монтажное положение сиденья кресла относительно сочленения.
Подпружинивание осей 40 и 50 в этом варианте обеспечивается торсионными пружинами, и эти пружины могут при желании выполняться с возможностью регулировки путем их затягивания или ослабления, чтобы более точно настраиваться на вес пользователя.
Вышеупомянутое взаимодействие между элементами 10, 20, 30 сочленения показано на фиг.6, где иллюстрируются посадочные поверхности элементов сочленения и блокирующие элементы.
На фиг.6 сочленение 1 находится в исходном положении, показанном на фиг.3. В этом варианте элементы сочленения выполнены так, что внешние элементы 10 и 30 сочленения имеют блокирующие элементы 11 и 32 соответственно, выступающие в средний элемент 20 сочленения.
Выступающий блокирующий элемент 11 имеет верхнюю посадочную поверхность 12, упирающуюся во взаимодействующую верхнюю посадочную поверхность 21 внутренней стенки среднего элемента 20 сочленения, которая препятствует дальнейшему перемещению вперед среднего элемента 20 сочленения. Аналогично выступающий блокирующий элемент 32 имеет верхнюю посадочную поверхность 33, по выбору оснащенную ограничителем 34 поворотного движения, упирающимся в соответствующую посадочную поверхность 22 на внутренней стенке среднего элемента 20 сочленения, препятствуя дальнейшему движению вперед верхнего элемента 30 сочленения.
Ограничители ротационного движения служат для сглаживания ударов посадочных поверхностей при контакте с ними и для уменьшения беспокоящего шума и могут выполняться, например, из полимерного материала. Ограничители поворотного движения могут крепиться к любой из соответствующих посадочных поверхностей или к обеим таким поверхностям.
Нижний элемент 10 сочленения может быть оснащен деталями для соединительного элемента, например, направляющей 15 так, чтобы сочленение 1 можно было по выбору крепить к опоре. Подобным образом верхний элемент 30 сочленения может оснащаться верхней поверхностью 31, подготовленной для крепления к сиденью кресла, например, болтами и/или через направляющие.
В этом варианте ось 50 состоит из внутреннего поворотного элемента 51 и внешнего поворотного элемента 52, соединенных друг с другом известным способом торсионной пружиной (не показана), прикрепленной к верхнему элементу 30 сочленения и среднему элементу 40 сочленения соответственно или наоборот. Подпружинивание оси 50 по выбору может быть выполнено регулируемым с помощью торсионного рычага 53, который регулируется винтовым устройством (не показано) через специальные отверстия 54 и 37 в торсионном рычаге и в верхнем элементе 30 сочленения соответственно. Аналогично ось 40 состоит из внутреннего поворотного элемента 41 и внешнего поворотного элемента 42, соединенных друг с другом торсионной пружиной (не показана), которая соединена со средним элементом 20 и нижним элементом 10 сочленения соответственно или наоборот. Подпружинивание оси 40 может по выбору быть выполнено регулируемым с помощью торсионного рычага 43, который регулируется соответственно, как описано выше.
Средний элемент 20 сочленения может по выбору иметь усиливающую внутреннюю стенку 25 для достижения достаточной жесткости и прочности этого элемента.
На фиг.7 сочленение 1 устойчиво находится в промежуточном положении. В этом положении нижний элемент 10 и средний элемент 20 сочленения занимают то же положение относительно друг друга, что и на фиг.4, поскольку центр тяжести пользователя не зашел за ось 40. С другой стороны, верхний элемент 30 сочленения наклонен назад так, что выступающий блокирующий элемент 32 нижней посадочной поверхностью 35, по выбору оснащенной ротационным упором 36, упирается в соответствующую нижнюю посадочную поверхность 26 на внутренней стенке среднего элемента 20, что препятствует дальнейшему движению назад верхнего элемента 30 сочленения.
На фиг.8 сочленение 1 показано в крайнем положении. В этом положении верхний элемент 30 и средний элемент 20 сочленения находятся в том же положении относительно друг друга, что и на фиг.5, поскольку центр тяжести пользователя зашел за ось 50. Однако средний элемент 20 сочленения наклонен назад так, что выступающий блокирующий элемент 11 нижней посадочной поверхностью 14 упирается в соответствующую нижнюю посадочную поверхность 23 внутри среднего элемента 20 сочленения, возможно, оснащенную ограничителем 24 поворотного движения, что препятствует дальнейшему движению назад среднего элемента 20 сочленения.
Пример В
На фиг.9 показан альтернативный вариант сочленения 2 согласно настоящему изобретению как соединительное сочленение между сиденьем 100 кресла и опорой 200. Сочленение 2 работает по тем же принципам, что и сочленение 1, описанное выше, но элементы сочленения перемещаются в иной последовательности, чем в сочленении 1, описанной ранее.
Как можно видеть на фиг.9 и 10, сочленение 2 имеет Z-образную форму, что делает его очень компактным, поскольку элементы 10, 20, 30 расположены в основном друг над другом в вертикальном направлении. Таким образом, сочленение 2 имеет более узкий диапазон наклона в горизонтальной плоскости при установке на вращающемся основании, по сравнению с ранее описанным сочленением 1.
На фиг.11 сочленение 2 находится в своем исходном положении, соответствующем положению сочленения 1 с фиг.3 и 6. Сочленение 2 имеет в этом положении угол , например, приблизительно равный 8°. В этом варианте дальнейшее движение среднего элемента 20 ограничено, поскольку выступающий блокирующий элемент 11 упирается нижней посадочной поверхностью 14 в соответствующую посадочную поверхность 23 на внутренней стенке среднего элемента 20 сочленения, которая может иметь ограничитель 24 поворотного движения. Более того, верхний элемент 30 сочленения также ограничен в дальнейшем движении вперед выступающим блокирующим элементом 32, нижняя посадочная поверхность 35 которого упирается в соответствующую нижнюю посадочную поверхность 26 на внутренней стенке среднего элемента 20 сочленения, которая может иметь ограничитель 26 поворотного движения.
На фиг.12 сочленение 2 показано в промежуточном положении, соответствующем положению сочленения 1, показанному на фиг.4 и 7. Сочленение 2 в этом случае имеет угол , который в этом случае больше угла и приблизительно равен 18°. В этом положении верхний элемент 30 и средний элемент 20 сочленения имеют такое же положение относительно друг друга, как показано на фиг.11, поскольку центр тяжести пользователя не сместился за ось 50, которая теперь расположена за осью 40, в отличие от примера А. Наоборот, средний элемент 20 сочленения наклонен назад и, в результате, его дальнейшему движению назад препятствует выступающий блокирующий элемент 11, верхняя посадочная поверхность 12 которого может иметь ограничитель 13 поворотного движения и упирается в соответствующую верхнюю посадочную поверхность 21 на внутренней стенке среднего элемента 20 сочленения.
На фиг.13 сочленение 2 находится в крайнем положении, соответствующем положению сочленения 1 на фиг.5 и 8. В этом случае сочленение имеет угол , который больше и угла , и угла и, например, равен приблизительно 30°. В этом положении нижний элемент 10 и средний элемент 20 сочленения находятся в том же положении относительно друг друга, как и на предыдущем чертеже фиг.12, поскольку центр тяжести пользователя все еще находится за осью 40. Верхний элемент 30 сочленения, с другой стороны, наклонен назад, и его дальнейшему перемещению назад препятствует выступающий блокирующий элемент 32, верхняя посадочная поверхность 33 которого упирается в соответствующую верхнюю посадочную поверхность 22 внутри среднего элемента 20 сочленения, которая может иметь ограничитель 27 поворотного движения.
В вышеприведенных примерах А и В расстояние и угловое соотношение между осями 40 и 50 важны для достижения желаемого эффекта сочленения. Наиболее предпочтительный вариант сочленения зависит от таких факторов, как конструкция сиденья кресла, угол спинки и вес сиденья, а также вес пользователя и, возможно, ограничения на конструкцию опоры. Более того, на факторы углов и расстояний оказывает влияние возможное подпружинивание и жесткость пружины. В вышеприведенном примере В размеры сочленений, в исходном положении например, обычно составляют 20×15×15 см (высота × длина × ширина), что является очень компактным сочленением. Более того, расстояние между осями 40 и 50, например, обычно составляет 12 см и угол между прямой, проходящей через оси 40, 50, и горизонтальной плоскостью в исходном положении может составлять прибл. 60°. Горизонтальное расстояние между осями 40, 50 может, например, составлять 6-10 см, но может меняться в широких пределах в зависимости от конструкции. Сочленение может быть изготовлено из любого подходящего материала, например металла, пластика, или композитного материала, предпочтительно из металла, такого как сталь или алюминий.
Альтернативные варианты воплощения изобретения
В вышеописанных вариантах А и В элементы сочленения сконструированы так, что внешние элементы 10 и 30 имеют блокирующие элементы 11 и 32 соответственно, которые проходят в средний элемент 20 сочленения, но возможно и противоположное решение. Средний элемент 20 сочленения может иметь один или более блокирующий элемент, который входит в один или в оба внешних элемента 10 и 30 сочленения и оснащен соответствующими посадочными поверхностями на внутренних стенках. Блокирующий элемент может дополнительно состоять из нескольких выступающих блокирующих элементов, взаимодействующих с соответствующими структурами на противоположном сочленении так, чтобы увеличить число посадочных поверхностей и увеличить площадь контакта.
В альтернативном варианте сочленения 1 и 2 могут иметь большее число элементов и осей для того, чтобы получить несколько промежуточных устойчивых положений. Более того, устойчивые положения могут адаптироваться к желаемому применению. В этой ситуации подпружинивание одной или более из осей может быть реверсировано, чтобы получить, например, другие исходные положения или эффекты.
В альтернативном варианте исходное положение может быть, например, промежуточным положением, описанным выше, так, что сочленение может отклоняться вперед или назад, по желанию пользователя, что может оказаться полезным для офисных кресел. В этом отношении угол разрешенного отклонения назад может быть больше, чем угол отклонения вперед, или подпружинивание может быть более сильным при отклонении вперед, чем назад, или наоборот.
В другом альтернативном варианте функцией сочленения может быть обеспечение возможности наклона кресла вперед в два или более устойчивых положения, например, как в офисном кресле. Сиденье 100 кресла в этом случае может, например, крепиться на сочленение 1 или 2 в противоположном направлении относительно описанного выше.
Кроме того, сочленение согласно настоящему изобретению может использоваться для обеспечения возможности наклона мебели в направлении ином, чем вперед или назад, например, вбок или в комбинации этих направлений для адаптации к возможностям использования мебели. Этого можно достичь, например, если сочленение имеет непараллельные оси или путем использования двух или более сочленений, развернутых относительно друг друга в горизонтальной плоскости.
Кроме того, сочленение согласно настоящему изобретению может использоваться вместе с любым сиденьем кресла или предмета мебели любой конструкции. Такое кресло может быть стулом без спинки, например табуреткой, или креслом, в котором пользователь в сидячем положении имеет опору и над коленями, и за ними.
Подпружинивание может выполняться не торсионными пружинами, а пружинами другого типа, например, спиральными пружинами, плоскими пружинами и прочими упругими средствами.
Подпружинивание поворотных осей 40, 50, как уже упоминалось, не является обязательным, но приобретает большее значение, если горизонтальное расстояние между поворотными осями (40, 50) невелико. В альтернативном варианте поворотные оси 40, 50 могут располагаться горизонтально друг над другом и разница в подпружинивании этих двух осей 40, 50 позволит получить устойчивое промежуточное наклонное положение.
Формула изобретения
1. Подвижное сочленение (1) для конструкции сиденья, в частности для кресла, устанавливаемое между сиденьем (100) конструкции сиденья и опорой (200) для сиденья (100) и содержащее два элемента (10, 30) сочленения, которые выполнены с возможностью ограниченного поворота относительно друг друга между двумя крайними положениями для обеспечения возможности наклона сиденья (100) под воздействием перемещения веса пользователя, причем первый элемент (10) сочленения прикреплен к опоре (200) и соединен с возможностью поворота с нижнем концом среднего элемента (20) сочленения посредством горизонтальной поворотной оси (40), а второй элемент (30) сочленения прикреплен к сиденью (100) и соединен с возможностью поворота с верхним концом среднего элемента (20) сочленения посредством второй поворотной оси (50), параллельной оси (40), при этом поворотные оси (40, 50) горизонтально разнесены друг от друга, в результате чего сочленение (1) может занимать устойчивое наклонное положение между двумя крайними положениями, отличающееся тем, что поворотные оси (40, 50) являются подпружиненными и регулируемыми в соответствии с весом пользователя.
2. Сочленение по п.1, отличающееся тем, что расстояние по горизонтали между поворотными осями (40, 50) составляет около 5-15 см.
3. Сочленение по п.1, отличающееся тем, что расстояние по горизонтали между поворотными осями (40, 50) составляет около 6-10 см.
4. Сочленение по любому из пп.1-3, отличающееся тем, что наклонные положения ограничиваются взаимодействующими посадочными поверхностями (12, 21; 14, 23; 33, 22; 35, 26) между элементами сочленения.
5. Сочленение по п.4, отличающееся тем, что одна или обе из взаимодействующих посадочных поверхностей (12, 21; 14, 23; 33, 22; 35, 26) имеют ограничители (13, 24, 34, 36) поворотного движения.
6. Сочленение по одному из пп.1-5, отличающееся тем, что по меньшей мере два из элементов (10, 20, 30) сочленения подпружинены относительно друг друга.
7. Сочленение по п.6, отличающееся тем, что подпружинивание обеспечивается торсионной пружиной, спиральной пружиной, плоской пружиной или другим упругим материалом, но предпочтительно торсионной пружиной.
8. Сочленение по п.6 или 7, отличающееся тем, что пружина выполнена регулируемой.
9. Сочленение по одному из пп.6-8, отличающееся тем, что первый и второй элементы (10, 30) подпружинены по разному относительно среднего элемента (20) сочленения.
10. Сочленение по одному из пп.1-9, отличающееся тем, что по меньшей мере два из элементов (10, 20, 30) сочленения могут быть заблокированы относительно друг друга.
11. Кресло, содержащее сиденье (100), опору (200) и подвижное сочленение (1), соединяющее сиденье (100) и опору (200), отличающееся тем, что сочленение (1) выполнено по одному из предшествующих пунктов.
РИСУНКИ
MM4A – Досрочное прекращение действия патента СССР или патента Российской Федерации на изобретение из-за неуплаты в установленный срок пошлины за поддержание патента в силе
Дата прекращения действия патента: 07.01.2009
Извещение опубликовано: 27.07.2010 БИ: 21/2010
|
|