|
|
(21), (22) Заявка: 2005133904/12, 03.11.2005
(24) Дата начала отсчета срока действия патента:
03.11.2005
(43) Дата публикации заявки: 10.05.2007
(46) Опубликовано: 20.11.2007
(56) Список документов, цитированных в отчете о поиске:
US 6427291 B1, 06.08.2002. RU 2222245 C2, 27.01.2004. SU 1259997 A1, 30.09.1996. US 1388623 A, 23.08.1921. GB 1511690 A, 24.05.1978.
Адрес для переписки:
117335, Москва, а/я 36, Е.И. Рыковой
|
(72) Автор(ы):
Котляров Станислав Владимирович (RU), Рудас Валерий Петрович (RU)
(73) Патентообладатель(и):
Котляров Станислав Владимирович (RU), Рудас Валерий Петрович (RU)
|
(54) ПРЯЖКА ДЛЯ РЕМНЯ
(57) Реферат:
Предназначено для использования в фурнитурной промышленности при изготовлении пряжек. Пряжка содержит крепежную и приемную части, при этом приемная часть имеет полый внутри корпус, образованный боковыми стенками и внутренней и наружной пластинами, зажим с концевой частью и зацепкой, первую, вторую и третью оси шарнира и магнит. Зажим установлен на первой оси шарнира с возможностью его поворота. Первая ось шарнира имеет на одном конце ручку и установлена с возможностью управления зажимом при воздействии на ручку. Концевая часть и зацепка зажима расположены между внутренней и наружной пластинами корпуса, а внутренняя пластина вблизи концевой части зажима имеет отверстие, в котором жестко закреплен магнит, выполненный с возможностью фиксации концевой части зажима на внутренней пластине для обеспечения свободного прохождения конца ремня через зажим. Крепежная часть пряжки выполнена модульной с возможностью ее съема и замены и установлена на второй оси шарнира с возможностью ее поворота, имеет корпус для размещения в нем регулируемой части ремня. Корпус образован боковыми стенками, а также передней и задней пластинами, при этом задняя пластина имеет фиксирующую деталь с зазубренной частью для фиксации свободного конца ремня, а фиксирующая деталь установлена на третьей оси шарнира с возможностью поворота. Обеспечивается удобство пользования ремнем за счет обеспечения автоматического зацепления ремня, быстрая регулировка длины ремня, возможность замены крепежной части пряжки, простота, надежность и безопасность зажима, обеспечивающая целостность ремня. 7 з.п. ф-лы, 4 ил.
Настоящее изобретение относится к легкой промышленности, более конкретно к пряжкам для ремня.
В течение достаточно продолжительного времени в мире преобладали обычные пряжки с застежкой типа дырочка-защелка.
Потребитель, который носит такую пряжку, вынужден вручную нащупывать защелку пряжки и проушину (дырочку, отверстие для фиксации защелки) ремня, чтобы застегнуть их, и так происходит каждый раз при застегивании и растегивании ремня, что вызывает ряд неудобств и занимает значительное время для застегивания ремня.
В последний годы появилось достаточно большое количество пряжек для ремня с оригинальными конструкциями, позволяющими прктически автоматически осуществлять процесс застегивания и растегивания ремня.
Так, в конструкции пряжки для ремня, известной из патента РФ №2141237, А44В 11/00, 1999 г., содержащей прямоугольный полый внутри корпус, образованный боковыми стенками и внутренней и наружной пластинами, за счет выполнения шпильки-зацепки на центральной оси внутренней пластины процесс застегивания и растегивания ремня происходит практически автоматически без нащупывания вручную шпильки-зацепки.
Однако в данной конструкции при застегивании ремня не происходит его жесткой фиксации, и при резких движениях пользователя шпилька-зацепка может выходить из зацепления с проушиной, что приводит к самопроизвольному расстегиванию ремня.
Кроме того, такая конструкция пряжки требует наличия на конце ремня проушин, что нарушает целостность ремня, которая особенно актуальна для ремней с оригинальным рисунком, а также может привести к его порче за счет разрушения в местах проушин.
Известна также конструкция пряжки для ремня по патенту США №6427291, А44В 11/25, 2002 г., выбранная в качестве прототипа, в которой зацепление ремня при его застегивании осуществляется практически автоматически за счет наличия зажима с зацепкой и концевой частью, который фиксирует зацепку в проушине, при этом при использовании такого зажима в ремне можно не делать проушины а использовать “трещетку” (ленту с поперечными параллельными углублениями в виде полос для зацепления, расположенную на тыльной стороне ремня), что позволяет обеспечить целостность ремня.
Данная пряжка для ремня выполнена в виде двух частей: крепежной части для крепления и регулировки длины ремня и приемной части, содержащей прямоугольный полый внутри корпус, образованный боковыми стенками и внутренней и наружной пластинами, ограничивающими полость в корпусе, предназначенную для прохождения через нее свободного конца ремня, зажим с зацепкой и концевой частью для фиксирования положения ремня, при этом внутренняя пластина имеет вырез в центральной своей части.
Недостатками данной пряжки для ремня являются достаточно сложная конструкция зажима в виде полого цилиндра со вставленной внутри него пружиной, которая при застегивании-расстегивании может достаточно быстро сломаться, что снижает надежность данной пряжки.
Кроме того, зацепка и концевая часть зажима в данной пряжке расположены за внутренней пластиной, и при работе зажима соприкасаются с одеждой или телом пользователя, что может привести к повреждению одежды пользователя и его тела.
Также крепежная часть данной пряжки выполнена без возможности регулировки длины ремня, а также без возможности замены данной крепежной части на другую.
Все перечисленные выше недостатки не обеспечивают достаточного удобства пользования ремнем с описанной выше пряжкой.
Задачей данного изобретения является создание пряжки для ремня, обеспечивающей удобство пользования ремнем за счет обеспечения автоматического зацепления ремня с достаточно простой, надежной и безопасной конструкцией зажима, при обеспечении целостности ремня, а также за счет обеспечения быстрой регулировки длины ремня и замены крепежной части данной пряжки.
Для решения данной задачи предлагается пряжка для ремня, выполненная в виде двух частей: крепежной части для крепления и регулировки длины ремня и приемной части, содержащей прямоугольный полый внутри корпус, образованный боковыми стенками и внутренней и наружной пластинами, ограничивающими полость в корпусе, предназначенную для прохождения через нее свободного конца ремня, зажим с концевой частью и зацепкой для фиксирования положения ремня, при этом внутренняя пластина имеет вырез в центральной своей части, в котором установлен зажим, закрепленный между боковыми стенками, а пряжка также содержит первую ось шарнира, имеющую на одном конце ручку и магнит, при этом зажим представляет собой плоскую пластину, на одних противоположенных сторонах которой сформированы концевая часть и зацепка, а другие противоположенные стороны загнуты с образованием фиксирующих выступов с фиксирующими отверстиями для крепления на первой оси шарнира, которая установлена между боковыми стенками корпуса с возможностью поворота при воздействии на ручку, при этом концевая часть и зацепка зажима расположены между внутренней и наружной пластинами, а внутренняя пластина вблизи концевой части зажима имеет отверстие, в котором жестко закреплен магнит, выполненный с возможностью фиксации концевой части зажима на внутренней пластине для обеспечения свободного прохождения конца ремня через зажим, а также надежного положения зацепления зацепки при любых попытках ее отклонения от этого положения, при этом зажим жестко закреплен на первой оси шарнира с возможностью его поворота и вывода зацепки из положения зацепления при воздействии на ручку, а крепежная часть пряжки выполнена модульной, с возможностью ее съема и замены.
Такая конструкция пряжки позволяет за счет наличия магнита обеспечить свободное вхождение конца ремня в пряжку и прохождение его через зажим, так как концевая часть зажима зафиксирована на поверхности внутренней пластины магнитом, а также обеспечить автоматическое надежное зацепление зацепки зажима в параллельных углублениях ремня, не нарушая при этом целостности ремня.
При нажатии на ручку первой оси шарнира в данной кострукции пряжки обеспечивается практически мгновенное освобождение ремня из зацепления за счет поворота зажима и вывода зацепки из углубления ремня.
Кроме того, выполнение концевой и фиксирующей частей зажима между внутренней и наружной пластинами не позволяет контактировать этим частям с одеждой и кожей пользователя, обеспечивая их сохранность.
Также данная конструкция пряжки предусматривает наличие крепежной части как с регулировкой длины ремня, так и без нее.
Целесообразно, чтобы концевая часть и зацепка зажима пряжки были образованы сгибанием под соответствующим углом наклона в сторону внешней пластины вытянутых продолжений сторон пластины зажима.
Предпочтительно, чтобы концевая часть имела закругленный конец, а зацепка имела острый прямоугольный конец.
Кроме того, ручка может иметь прямоугольную втулку, в которой жетко закреплен конец первой оси шарнира, при этом прямоугольная втулка жестко закреплена в фиксирующем отверстии зажима, которое имеет прямоугольную форму.
Желательно, чтобы боковые стенки корпуса пряжки имели ушки с отверстиями, в которых установлена первая ось шарнира с возможностью ее поворота.
Кроме того, предусматривается также выполнение пряжки, содержащей вторую ось шарнира и выступы на боковых стенках корпуса, расположенные вблизи с крепежной частью, при этом выступы имеют отверстия для установки в них второй оси шарнира с возможностью ее поворота и установки на ней крепежной части.
Предпочтительным является также то, что крепежная часть пряжки содержит третью ось шарнира и полый внутри корпус для размещения в нем регулируемой части ремня, образованный боковыми стенками, а также передней и задней пластинами, ограничивающими полость в корпусе, предназначенную для размещения в ней регулируемой части ремня, при этом передняя и задняя пластины с одной стороны скреплены с образованием внутреннего продольного цилиндрического отверстия, в котором установлена вторая ось шарнира, а с другой стороны образуют прямоугольное отверстие для вхождения регулируемой части ремня в полость корпуса.
Целесообразным является также то, что передняя пластина крепежной части имеет направляющую деталь, выполненную с возможностью прохождения через нее зафиксированного в приемной части конца ремня, а задняя пластина крепежной части имеет фиксирующую деталь с зазубренной частью на одном конце и цилиндрическим отверстием на противоположном конце, при этом свободный конец задней пластины загнут с образованием внутреннего продольного цилиндрического отверстия, в котором установлена третья ось шарнира, проходящая через цилиндрическое отверстие фиксирующей детали с возможностью вращения фиксирующей детали и установки ее в положение зацепления регулируемой части ремня, при этом третья ось шарнира жесто закреплена между боковыми стенками крепежной части.
Представленные выше варианты выполнения крепежной части пряжки позволяют быстро и просто установить требуемую длину ремня за счет вывода фиксирующей детали из положения зацепления регулируемой части ремня, установки заданной длины ремня, размещения регулируемой части ремня в полости корпуса и ее фиксации фиксирующей деталью в положении зацепления.
Техническим результатом настоящего изобретения является обеспечение автоматического зацепления ремня при одновременном упрощении конструкции зажима пряжки, повышении его надежности и безопасности, а также обеспечение целостности ремня, простой и быстрой регулировки длины ремня.
Ниже приводится один из вариантов выполнения настоящего изобретения со ссылками на прилагаемые чертежи, на которых:
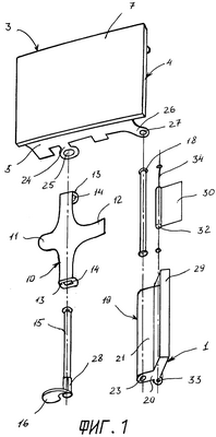
фиг.1 – подетальнее изображение пряжки в перспективе согласно изобретению;
фиг.2 – вид снизу на пряжку в зацеплении с ремнем согласно изобретению;
фиг.3 – сечение по линии А-А фиг.2 согласно изобретению, илюстрирующее механизм зацепления ремня зацепкой зажима;
фиг.4 – сечение по линии В-В фиг.3 согласно изобретению, илюстрирующее механизм зацепления регулируемого по длине конца ремня.
Пряжка для ремня выполнена в виде двух частей: крепежной части 1 для крепления и регулировки длины ремня 2 и приемной части 3, содержащей прямоугольный полый внутри корпус 4, образованный боковыми стенками 5 и внутренней 6 и наружной 7 пластинами, ограничивающими полость в корпусе 4, предназначенную для прохождения через нее свободного конца ремня 2 с поперечными параллельными углублениями 8 в виде полос для зацепления, выполненными на ленте 9, расположенной на тыльной стороне ремня.
Выполнение такой ленты 9 обеспечивает целостность ремня, а также автоматическое его зацепление при использовании пряжки по данному изобретению.
Кроме того, данная конструкция пряжки предусматривает также автоматическое зацепление и для обычных ремней с проушинами.
Внутренняя пластина 6 имеет вырез в центральной своей части, в котором установлен зажим 10, закрепленный между боковыми стенками 5. Зажим 10 выполнен в виде плоской пластины с концевой частью 11 и зацепкой 12 для фиксирования положения ремня. При этом концевая часть 11 и зацепка 12 зажима пряжки образованы сгибанием под соответствующим углом наклона в сторону внешней пластины 7 вытянутых продолжений сторон пластины зажима 10, а конец концевой части 11 выполнен закругленным.
Конец зацепки 12 выполнен заостренным прямоугольной формы, что обеспечивает его надежное удержание в поперечных углублениях 8 ленты ремня 2.
Загнутые стороны зажима 10 в виде фиксирующих выступов 13 имеют фиксирующие отверстия 14 для жесткого крепления на первой оси шарнира 15, которая имеет ручку 16 и закреплена между боковыми стенками 5 корпуса 4 с возможностью поворота при воздействии на ручку 16.
В предпочтительном варианте концевая часть 11 и зацепка 12 расположены между внутренней 6 и наружной 7 пластинами. При этом внутренняя пластина 6 вблизи концевой части 12 имеет отверстие, в котором жестко закреплен магнит 17, выполненный с возможностью фиксации концевой части 11 зажима 10 на внутренней пластине 6 и обеспечения свободного прохождения конца ремня 2 через зажим 10, а также надежного положения зацепления зацепки 12 в поперечных углублениях 8 ремня 2 при любых попытках ее отклонения от этого положения.
На второй оси шарнира 18 закреплена с возможностью поворота крепежная часть 1 пряжки, содержащая полый внутри корпус 19 для размещения в нем регулируемой части ремня 2, образованный боковыми стенками 20, а также передней 21 и задней 22 пластинами, ограничивающими полость в корпусе, предназначенную для размещения в ней регулируемого по длине конца ремня 2, при этом передняя 21 и задняя 22 пластины с одной стороны скреплены с образованием внутреннего продольного цилиндрического отверстия 23, в котором установлена вторая ось шарнира 18, а с другой стороны образуют прямоугольное отверстие для вхождения регулируемого конца ремня в полость.
Боковые стенки 5 корпуса 4 имеют ушки 24 с отверстиями 25, в которых установлена первая ось шарнира 15 с возможностью ее поворота при взаимодействии с ручкой 16, а также имеют выступы 26 с отверстиями 27 для крепления второй оси шарнира 18.
Предусматривается наличие на ручке 16 прямоугольной втулки 28 для жесткого ее крепления в отверстии 14 прямоугольной формы, что обеспечивает поворот зажима 10 при взаимодействии с ручкой 16 и вывод зацепки 12 из положения зацепления.
Передняя пластина 21 крепежной части 1 имеет направляющую деталь 29 для прохождения через нее и дополнительного удержания свободного конца ремня 2, зафиксированного в приемной части 3.
Задняя пластина 22 крепежной части имеет фиксирующую деталь 30 с зазубренной частью 31 и цилиндрическим отверстием 32, при этом свободный конец задней пластины 22 загнут с образованием внутреннего продольного цилиндрического отверстия 33, в котором установлена третья ось шарнира 34, проходящая через цилиндрическое отверстие 32 фиксирующей детали 30 с возможностью вращения ее и установки в положение зацепления регулируемого конца ремня, при этом третья ось шарнира 34 жесто закреплена между боковыми стенками 20 крепежной части 1.
Пряжку для ремня в соответствии с данным изобретением изготавливают следующим образом.
Изготавливают внешнюю 7 и внутреннюю 6 пластины корпуса 4 приемной части, после чего края внутренней 6 пластины сгибают в продольном направлении с образованием боковых стенок 5, а также вырезают в середине внутренней 6 пластины центральное отверстие, после чего скрепляют внутреннюю 6 и внешнюю 7 пластины между собой с образованием корпуса 4 с внутренней полостью для прохождения свободного конца ремня 2.
Выполняют во внутренней 6 пластине отверстие, в которое вставляют магнит 17, который закрывают сверху колпачком.
Вырезают пластину зажима 10 с вытянутыми противоположенными сторонами в виде концевой части 11 и зацепки 12, которые сгибают под небольшим заданным углом, при этом другие противоположенные стороны сгибают под прямым углом с образованием фиксирующих выступов 13, в которых выполняют фиксирующие отверстия 14.
Формируют на боковых сторонах 5 корпуса 4 ушки 24 с отверстиями 25, в которых закрепляют с возможностью поворота первую ось шарнира 15, на которой предварительно жестко закрепляют зажим 10 с возможностью его поворота при взаимодействии с ручкой 16. При этом зажим 10 устанавливают в центральное отверстие внутренней пластины 5 таким образом, чтобы его концевая часть 11 и зацепка 12 не выходили за пределы внутренней пластины.
Вырезают пластину корпуса крепежной части 1, которую сгибают с образованием передней 21 и задней 22 пластин, к которым прикрепляют боковые стенки 20, при этом в месте изгиба пластины формируют внутреннее цилиндрическое отверстие 23, в которое вставляют вторую ось шарнира 18, а свободный конец задней пластины загибают с образованием втутреннего продольного цилиндрического отверстия 33, в которое устанавливают третью ось шарнира 34, на которую предварительно устанавливают фиксирующую деталь 30 с возможностью ее вращения на третьей оси шарнира 34, которую жестко закрепляют между боковыми стенками 20.
Формируют на боковых стенках 5 выступы 26 с отверстиями 27, в которые устанавливают вторую ось шарнира 18.
Для зацепления ремня 2 в пряжке вставляют его свободный конец в полость корпуса 4 между концевой частью 11, зафиксированной на внутренней пластине 5 при помощи магнита 17, и зацепкой 12 зажима 10 до тех пор, пока не достигнут требуемого положения зацепления, которое осуществляется автоматически за счет попадания зацепки 12 в поперечное углубление 8 для фиксации ремня 2 (фиг.3, показано пунктиром).
Для обеспечения вывода зацепки 12 из положения зацепления производят поворот ручки 16, при котором зажим 10 поворачивается и зацепка 12 приподнимается и выходит из положения зацепления (фиг.3, показано сплошной линией), после чего свободный конец ремня 2 вытягивают из пряжки.
Согласно вышеприведенному описанию предлагаемой пряжки для ремня обеспечивается автоматическое надежное зацепление ремня 2 без проблем с нащупыванием вручную, упрощение конструкции зажима 10 пряжки за счет выполнения его в виде пластины с загнутыми под заданным углом концевой частью 11 и зацепкой 12, повышение надежности и безопасности зажима 10 за счет расположения его концевой части 11 и зацепки 12 между внешней 7 и внутренней 6 пластинами, простая и быстрая регулировка длины ремня 2 при использовании фиксирующей детали 30 с зазубренной частью 31, а также обеспечивается целостность ремня 2 за счет применения на его тыльной стороне ленты 9 с поперечными параллельными углублениями 8 для зацепления с зацепкой 12 определенной формы.
Формула изобретения
1. Пряжка для ремня, выполненная в виде двух частей – крепежной части для крепления и регулировки длины ремня и приемной части, содержащей прямоугольный полый внутри корпус, образованный боковыми стенками и внутренней и наружной пластинами, ограничивающими полость в корпусе, предназначенную для прохождения через нее свободного конца ремня, зажим с концевой частью и зацепкой для фиксирования положения ремня, при этом внутренняя пластина имеет вырез в центральной своей части, в котором установлен зажим, закрепленный между боковыми стенками, отличающаяся тем, что содержит первую ось шарнира, имеющую на одном конце ручку, магнит, при этом зажим представляет собой плоскую пластину на одних противоположных сторонах которой сформированы концевая часть и зацепка, а другие противоположные стороны загнуты с образованием фиксирующих выступов с фиксирующими отверстиями для крепления на первой оси шарнира, которая установлена между боковыми стенками корпуса с возможностью поворота при воздействии на ручку, при этом концевая часть и зацепка зажима расположены между внутренней и наружной пластинами, а внутренняя пластина вблизи концевой части зажима имеет отверстие, в котором жестко закреплен магнит, выполненный с возможностью фиксации концевой части зажима на внутренней пластине для обеспечения свободного прохождения конца ремня через зажим, а также надежного положения зацепления зацепки при любых попытках ее отклонения от этого положения, при этом зажим жестко закреплен на первой оси шарнира с возможностью его поворота и вывода зацепки из положения зацепления при воздействии на ручку, а крепежная часть пряжки выполнена модульной, с возможностью ее съема и замены.
2. Пряжка по п.1, отличающаяся тем, что концевая часть и зацепка зажима образованы сгибанием под соответствующим углом наклона в сторону внешней пластины вытянутых продолжений сторон пластины зажима.
3. Пряжка по п.1, отличающаяся тем, что концевая часть имеет закругленный конец, а зацепка имеет острый прямоугольный конец.
4. Пряжка по п.1, отличающаяся тем, что боковые стенки корпуса имеют ушки с отверстиями, в которых установлена первая ось шарнира с возможностью ее поворота.
5. Пряжка по п.1, отличающаяся тем, что ручка имеет прямоугольную втулку, в которой жестко закреплен конец первой оси шарнира, при этом прямоугольная втулка жестко закреплена в фиксирующем отверстии зажима, которое имеет прямоугольную форму.
6. Пряжка по п.1, отличающаяся тем, что содержит вторую ось шарнира и выступы на боковых стенках корпуса, расположенные вблизи с крепежной частью, при этом выступы имеют отверстия для установки в них второй оси шарнира с возможностью ее поворота и установки на ней крепежной части.
7. Пряжка по п.1, отличающаяся тем, что крепежная часть пряжки содержит третью ось шарнира и полый внутри корпус для размещения в нем регулируемой части ремня, образованный боковыми стенками, а также передней и задней пластинами, ограничивающими полость в корпусе, предназначенную для размещения в ней регулируемой части ремня, при этом передняя и задняя пластины с одной стороны скреплены с образованием внутреннего продольного цилиндрического отверстия, в котором установлена вторая ось шарнира, а с другой стороны образуют прямоугольное отверстие для вхождения регулируемой части ремня в полость корпуса.
8. Пряжка по п.7, отличающаяся тем, что передняя пластина крепежной части имеет направляющую деталь, выполненную с возможностью прохождения через нее зафиксированного в приемной части свободного конца ремня, а задняя пластина имеет фиксирующую деталь с зазубренной частью и цилиндрическим отверстием, при этом свободный конец задней пластины загнут с образованием внутреннего продольного цилиндрического отверстия, в котором установлена третья ось шарнира, проходящая через цилиндрическое отверстие фиксирующей детали с возможностью вращения фиксирующей детали и установки ее в положение зацепления регулируемой части ремня, при этом третья ось шарнира жестко закреплена между боковыми стенками крепежной части.
РИСУНКИ
|
|