|
|
(21), (22) Заявка: 2005137852/12, 26.04.2004
(24) Дата начала отсчета срока действия патента:
26.04.2004
(30) Конвенционный приоритет:
06.05.2003 (пп.1-4) JP 2003-128104 13.11.2003 (пп.5-10) JP 2003-384083
(43) Дата публикации заявки: 27.04.2006
(46) Опубликовано: 20.11.2007
(56) Список документов, цитированных в отчете о поиске:
RU 2198575 C1, 20.02.2003. US 4253929 A, 03.03.1981. US 4364401 A, 21.12.1982. WO 0165954 A, 13.09.2001. DE 69215638 С, 05.06.1997. RU 2150218 C1, 10.06.2000.
(85) Дата перевода заявки PCT на национальную фазу:
06.12.2005
(86) Заявка PCT:
JP 2004/006001 (26.04.2004)
(87) Публикация PCT:
WO 2004/098323 (18.11.2004)
Адрес для переписки:
129010, Москва, ул. Б.Спасская, 25, стр.3, ООО “Юридическая фирма Городисский и Партнеры”, пат.пов. Г.Б. Егоровой, рег.№ 513
|
(72) Автор(ы):
ЯМАДА Йосиюки (JP), ХАСЕГАВА Юкико (JP)
(73) Патентообладатель(и):
ДЖАПАН ТОБАККО ИНК. (JP)
|
(54) СПОСОБ ПРОИЗВОДСТВА ВОССТАНОВЛЕННОГО ТАБАЧНОГО МАТЕРИАЛА
(57) Реферат:
Способ касается производства восстановленного табачного материала. Способ осуществляют следующим образом. Природный табачный материал подвергают экстракции растворителем с получением экстрагированного раствора, содержащего компоненты природного табачного материала, и экстракционный остаток. Полученный экстрагированный раствор подвергают фракционирующей обработке с помощью ультрафильтрации, обратноосмотического фильтрования или обращенно-фазной распределительной хроматографии, получая при этом первую фракцию, обогащенную желательными компонентами и обедненную нежелательными компонентами, и вторую фракцию, обогащенную нежелательными компонентами и обедненную желательными компонентами. Из экстракционного остатка получают полотно восстановленного табака. К полотну восстановленного табака добавляют первую фракцию, возможно вместе со второй фракцией в уменьшенном количестве. Техническим результатом является регулирование снижения канцерогенных веществ в дыме при курении табачных изделий и снижение их скорости горения. 9 з.п. ф-лы, 2 ил., 15 табл.
Настоящее изобретение относится к способу производства восстановленного табачного материала.
В табачных материалах, таких как листья табака, куски табачных листьев, средние жилки, стебель и корневая часть растений природного табака, содержатся различные компоненты, такие как никотин, нитраты, нитрозамины, углеводороды и протеины. Эти компоненты экстрагируют из природных табачных материалов и используют в качестве корригирующей добавки к табаку. С одной стороны, эти компоненты включают вещества, количество которых необходимо уменьшать, или вещества, которые следует удалять, но они также включают вещества, которые не требуется удалять, или количество которых следует увеличивать для желательного табачного аромата или по каким-либо другим причинам.
Например, в патенте США 4253929 и в патенте США 4364401 описан способ, в котором табачные материалы экстрагируют водным экстрагирующим растворителем с последующим электродиализом водного экстрагированного раствора для отделения и удаления нитрат-ионов. Можно производить различные табачные изделия путем добавления экстрагированного раствора, из которого удалены нитрат-ионы, к волокнистым табачным материалам, образующим экстракционный остаток.
В публикации патента США 2002/0134394 A1 (соответствующего международной публикации WO 02/28209) описан способ, в котором экстрагированный раствор, полученный путем экстракции табачных материалов экстрагирующим растворителем, обрабатывают сорбентом, способным адсорбировать/абсорбировать нитрозамины, таким как активированный уголь, для удаления из экстрагированного раствора нитрозаминов. Можно производить различные табачные изделия путем добавления экстрагированного раствора, из которого удалены нитрозамины, к волокнистым табачным материалам, образующим экстракционный остаток.
В международной публикации WO 01/65954 описано извлечение нитрозаминов путем обработки табака сжиженным (сверхкритическим) диоксидом углерода и подвергания экстракта процессу удаления нитрозаминов. Процесс удаления нитрозаминов включает процедуру отделения хроматографией. Однако эта процедура подробно не описана, а материал, подвергаемый хроматографии, не является материалом, содержащим водный экстракт.
При отделении/удалении с использованием указанного выше электродиализа удаляемый объект ограничен ионами и, следовательно, этот способ не имеет широкого применения. Экстрагированный раствор также имеет тенденцию к денатурации при наложении напряжения во время электродиализа. Экстрагированный раствор также имеет тенденцию к денатурации при нагревании, используемом для повышения эффективности выделения. Кроме того, когда пригодные для последующего использования компоненты, содержащиеся в диализате, из которого удалены нитрат-ионы, должны применяться для определенной цели, диализат необходимо подвергать концентрированию. Подобное концентрирование может потребоваться в случае отделения с использованием сорбента. Способ с использованием сжиженного (сверхкритического) диоксида углерода также требует наличия дорогостоящей аппаратуры.
В связи с вышесказанным задача настоящего изобретения состоит в создании способа производства восстановленного табачного материала, в котором из экстрагированного раствора, полученного экстракцией природных табачных материалов, получают фракцию, обогащенную желательным компонентом и обедненную нежелательным компонентом, и другую фракцию, обедненную желательным компонентом и обогащенную нежелательным компонентом, и одну или обе из указанных фракций используют для производства восстановленных табачных материалов.
Настоящее изобретение предлагает способ производства восстановленного табачного материала, предусматривающий стадии: (a) экстрагирования природного табачного материала экстрагирующим растворителем с получением экстрагированного раствора, содержащего компоненты природного табачного материала, и экстракционного остатка; при этом природный табачный материал содержит как желательные компоненты, так и нежелательные компоненты; (b) фракционирования экстрагированного раствора с помощью ультрафильтрации, обратноосмотического фильтрования или обращенно-фазной распределительной хроматографии с получением первой фракции, обогащенной желательными компонентами и обедненной нежелательными компонентами, и второй фракции, обогащенной нежелательными компонентами и обедненной желательными компонентами; (c) получения полотна восстановленного табака с использованием экстракционного остатка; и (d) добавления первой фракции к полотну восстановленного табака, возможно вместе с уменьшенным количеством второй фракции.
Краткое описание чертежей
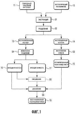
На фиг.1 представлена блок-схема, поясняющая способ производства восстановленного табачного материала согласно одному из вариантов настоящего изобретения;
на фиг.2 представлена блок-схема, поясняющая способ производства восстановленного табачного материала согласно другому варианту настоящего изобретения.
Далее настоящее изобретение описывается более подробно.
Настоящее изобретение предлагает способ производства восстановленного табачного материала с использованием экстрагированного раствора и экстракционного остатка, получаемых путем экстракции природного табачного материала. Полотно восстановленного табака получают с использованием экстракционного остатка.
Экстрагированный раствор подвергают фракционирующей обработке с помощью ультрафильтрации, обратноосмотического фильтрования или обращенно-фазной распределительной хроматографии. Раствор, экстрагированный из природного табачного материала, с одной стороны, содержит компоненты (нежелательные компоненты), количество которых необходимо уменьшать или которые следует удалять, а также содержит компоненты (желательные компоненты), которые не требуется удалять или количество которых следует увеличивать, учитывая наличие табачного аромата, или по каким-либо другим причинам. С помощью фракционирующей обработки согласно настоящему изобретению получают первую фракцию, обогащенную желательными компонентами и обедненную нежелательными компонентами, и вторую фракцию, обогащенную нежелательными компонентами и обедненную желательными компонентами. Требуемый восстановленный табачный материал производят путем добавления первой фракции к полотну восстановленного табака, возможно вместе с уменьшенным количеством второй фракции.
На фиг.1 представлена блок-схема, поясняющая способ производства восстановленного табачного материала согласно одному из вариантов настоящего изобретения. При таком варианте фракционирующую обработку экстрагированного раствора проводят с использованием ультрафильтрации или обратноосмотического фильтрования.
Как показано на фиг.1, природный табачный материал 11 смешивают с экстрагирующим растворителем 12 и перемешивают смесь, чтобы подвергнуть природный табачный материал 11 экстракции S1.
В качестве природного табачного материала 11 можно применять листья табака, измельченные табачные листья, средние жилки, стебель и корневую часть табачного растения, а также их смесь. В качестве экстрагирующего растворителя можно применять, например, воду или органический растворитель. Экстрагирующий растворитель, такой как вода, может быть щелочным или кислым. В качестве экстрагирующего растворителя также можно применять смесь воды и органического растворителя, который способен смешиваться с водой. Примеры органического растворителя включают, например, спирты, такие как этанол, простые эфиры, такие как простой диэтиловый эфир, и углеводородные растворители, такие как циклогексан. В экстрагирующем растворителе может быть растворена неорганическая соль, такая как гидроксид натрия. В общем случае экстракцию осуществляют при температуре от 0 до 100°C в течение периода времени от 5 минут до 6 часов.
После завершения экстракции S1 полученную при экстракции смесь подвергают разделению S2, например, путем фильтрации, чтобы разделить полученную при экстракции смесь на экстрагированный раствор 13 и экстракционный остаток 14.
Природный табачный материал содержит соли металлов, такие как соль калия, нитраты, никотин, сахара, аминокислоты, гликозид, соединения аминосахаров, протеины, углеводороды (насыщенные углеводороды, ненасыщенные углеводороды, ароматические углеводороды), спирты, простые эфиры, альдегиды, кетоны, сложные эфиры, лактоны, хиноны, кислоты (включая ангидриды кислот), фенолы, амины, пирролы, пиридины, пиразины, алкалоиды, полициклические азотсодержащие соединения, нитрозосоединения, такие как нитрозамины (включая специфические для табака нитрозамины TSNA), амиды, липиды, галогениды, серосодержащие соединения и неорганические элементы. Экстрагированный раствор 13, полученный при вышеупомянутой экстракции, может содержать по существу все упомянутые выше компоненты в зависимости от использованного экстрагирующего растворителя. Содержание указанных компонентов, и тех компонентов, которые являются желательными, и тех компонентов, которые являются нежелательными, варьируется в зависимости, например, от желаемого вкуса или аромата восстановленного табачного материала, который собираются производить. Однако по меньшей мере никотин представляет собой желательный компонент, а нитраты и амины, включая нитрозамины, такие как TSNA, являются нежелательными компонентами.
Экстракционный остаток 14 представляет собой компонент, нерастворимый в экстрагирующем растворителе, и в основном состоит из волокон. Полотно восстановленного табака производят обычным способом с использованием экстракционного остатка 14. Экстракционный остаток может образовывать весь восстановленный табак или его часть. Например, восстановленный табак 15 в виде листа можно получить из массы материала, содержащей экстракционный остаток 14, с помощью обычного способа изготовления бумаги S3.
С другой стороны, экстрагированный раствор, полученный при разделении S2, подвергают мембранному разделению S4. Мембранное разделение S4 проводят с помощью ультрафильтрации или обратноосмотического фильтрования. Мембраны, используемые для мембранного разделения (то есть ультрафильтрационная мембрана и обратноосмотическая фильтрационная мембрана), представляют собой пористые мембраны с порами заданного размера или менее, а разделение и фракционирование растворенных веществ основано в основном на различии между размерами поры мембраны и молекул растворенного вещества. Молекулярная масса растворенного вещества с минимальным размером молекул, не способных проходить через мембрану, называется порогом отсечения молекулярной массы мембраны. В общем случае, порог отсечения по молекулярной массе ультрафильтрационной мембраны составляет от 1000 до 1000000, а порог отсечения по молекулярной массе обратноосмотической фильтрационной мембраны составляет от 100 до 1000. Такие мембраны имеются в продаже. Например, в качестве ультрафильтрационной мембраны можно применять мембрану Biomax 5 (порог отсечения по молекулярной массе 5000) и мембрану из PCXK-целлюлозы (порог отсечения по молекулярной массе 1000000) фирмы Milipore Inc. В качестве обратноосмотической фильтрационной мембраны можно применять мембрану Nanomax 95 (порог отсечения по молекулярной массе около 100) и Nanomax 50 (порог отсечения по молекулярной массе около 400) фирмы Milipore Inc. Мембранное разделение с помощью ультрафильтрации и обратноосмотического фильтрования можно проводить с помощью методик, известных в данной области. При проведении мембранного разделения экстрагированный раствор 13 может находиться при низкой температуре от 0 до 30°С, что приводит к малой вероятности денатурации компонентов, содержащихся в экстрагированном растворе. К тому же, обратноосмотическая фильтрационная мембрана (обратноосмотическая мембрана) способна эффективно отделять гидратированные ионы, такие как нитрат-ионы.
С помощью мембранного разделения S4, компоненты природного табака с молекулярной массой выше порога отсечения по молекулярной массе используемой мембраны, получают в виде фракции 16 ретентата, а компоненты табака с молекулярной массой ниже порога отсечения по молекулярной массе используемой мембраны получают в виде фракции 17 пермеата. Другими словами, фракция 16 ретентата, по сравнению с фракцией 17 пермеата, обогащена компонентами природного табака с молекулярной массой выше порога отсечения по молекулярной массе используемой мембраны и обеднена компонентами природного табака с молекулярной массой ниже порога отсечения по молекулярной массе используемой мембраны. С другой стороны, фракция 17 пермеата, по сравнению с фракцией 16 ретентата, обогащена компонентами природного табака с молекулярной массой ниже порога отсечения по молекулярной массе используемой мембраны и обеднена компонентами природного табака с молекулярной массой выше порога отсечения по молекулярной массе используемой мембраны. Какая фракция, 16 или 17, обогащена или обеднена компонентами природного табака, определяют на основе относительной концентрации/относительного количества компонентов природного табака.
Фракцию 16 ретентата и/или фракцию 17 пермеата можно подвергнуть дополнительной обработке (не показано). Дополнительная обработка, например, включает по меньшей мере одно дополнительное мембранное разделение, подобное описанному выше, разделение компонентов хроматографией, концентрирование и удаление компонентов с помощью адсорбента.
Фракцию ретентата и/или фракцию пермеата (включая фракцию, подвергаемую дополнительной обработке), можно удалять, если такие фракции нежелательны, и можно применять, как они есть, или смешивать (S5) с другой фракцией для регулирования табачного вкуса или аромата, если такие фракции являются желательными. Следовательно, при смешивании фракции ретентата с фракцией пермеата количество по меньшей мере одной из указанных фракций уменьшается.
Таким образом, восстановленный табачный материал 18 можно получать путем добавления полученного корригирующего табачного агента к полотну восстановленного табака (S6). Полученный таким образом восстановленный табачный материал 18 обеспечивает вкус или аромат, отличающийся от вкуса или аромата природного табачного материала, несмотря на тот факт, что восстановленный табачный материал 18 содержит компоненты, полученные из природного табачного материала. К тому же, когда мембранное разделение осуществляют много раз с помощью ультрафильтрационных мембран или обратноосмотических фильтрационных мембран, отличающихся друг от друга по порогу отсечения молекулярной массы, к полотну восстановленного табака можно добавлять одну или более полученных фракций ретентата и фракций пермеата. Однако, когда все фракции ретентата или фракции пермеата добавляют к полотну восстановленного табака, количество по меньшей мере одной фракции ретентата и фракции пермеата уменьшается при добавлении указанных фракций к полотну восстановленного табака.
В первом примере рассматривается случай, в котором уменьшается количество нитрата, содержащегося в природном табачном материале. В таком случае водный экстрагированный раствор, полученный путем экстракции природного табачного материала водой, подвергают мембранному разделению с помощью обратноосмотической фильтрационной мембраны с порогом отсечения по молекулярной массе около 400. В результате получают фракцию ретентата, обогащенную компонентами табака с молекулярной массой более 400 (другими словами, обедненную компонентами, молекулярная масса которых не выше 400, включая неорганические ионы, такие как нитрат-ионы и ионы калия). Также получают фракцию пермеата, обедненную компонентами табака с молекулярной массой более 400 (другими словами, обогащенную компонентами с молекулярной массой не выше 400, включая неорганические ионы, такие как нитрат-ионы и ионы калия). К восстановленному табачному материалу, полученному с использованием экстракционного остатка, можно отдельно добавлять фракцию ретентата, обедненную нитрат-ионами, или смешивать фракцию ретентата с небольшим количеством фракции пермеата для добавления к восстановленному табачному материалу, полученному с использованием экстракционного остатка. Сигарета, производимая с использованием конкретного восстановленного табачного материала, позволяет значительно уменьшать количество NOx, содержащегося в дыме, который вдыхает курильщик, и также обеспечивает снижение скорости горения по сравнению с сигаретой, производимой с использованием природного табачного материала.
Второй пример относится к мембранному разделению жидкого экстракта природного табачного материала, экстрагированного водой. В данном случае используют обратноосмотическую фильтрационную мембрану с порогом отсечения по молекулярной массе около 100. В результате получают фракцию ретентата, обогащенную компонентами с молекулярной массой более 100, включая никотин, и фракцию пермеата, обогащенную компонентами с молекулярной массой не выше 100. При производстве сигареты с использованием восстановленного табачного материала, полученного путем добавления фракции ретентата к полотну восстановленного табака, сохраняется ее сходство с сигаретой с обычным табаком, или такое сходство увеличивается. Кроме того, поскольку количество нитрат-ионов уменьшается, количество NOx, содержащегося в дыме, который вдыхает курильщик, также уменьшается. К тому же, поскольку существует возможность, что фракция ретентата, обогащенная никотином, содержит нитрозамины, такие как TSNA, желательно подвергать фракцию ретентата дополнительной обработке для удаления нитрозаминов перед добавлением фракции ретентата к полотну восстановленного табака. Вышеупомянутая дополнительная обработка включает разделение хроматографией и удаление нитрозамина с помощью поглощения нитрозамина сорбентом. Удаление нитрозамина можно также применять в отношении фракции пермеата в описанном выше первом примере.
Третий пример относится к фракционированию экстрагированного раствора с помощью двух видов мембран. Более конкретно, экстрагированный раствор, полученный экстракцией компонентов природного табака водой, подвергают мембранному разделению с помощью обратноосмотической фильтрационной мембраны с порогом отсечения по молекулярной массе 100, получая при этом фракцию ретентата (фракция A) с уменьшенным количеством нитрат-ионов, как в описанном выше втором примере, и фракцию пермеата, обогащенную нитрат-ионами. Затем фракцию A подвергают мембранному разделению с помощью ультрафильтрационной мембраны с порогом отсечения по молекулярной массе около 5000, получая при этом фракцию ретентата (фракция B) и фракцию пермеата (фракция C). Фракция B обогащена протеинами, а фракция C обогащена сахарами, такими как сахароза.
При такой ситуации фракцию C добавляют по потребности к небольшому количеству фракции A и/или фракции B и полученную в результате смесь фракций добавляют к полотну восстановленного табака, получая при этом восстановленный табачный материал. Если сигарету производить с использованием восстановленного табачного материала, полученного таким образом, можно получить сигарету с относительно большей сладостью.
На фиг.2 представлена блок-схема, поясняющая способ производства восстановленного табачного материала согласно другому варианту настоящего изобретения. Использованные на фиг.1 и 2 позиции обычно обозначают один и тот же параметр и способ обработки, необходимый для производства восстановленного табачного материала.
В варианте, показанном на фиг.2, фракционирующую обработку экстрагированного раствора осуществляют обращенно-фазной распределительной хроматографией. Никотин и TSNA можно эффективно разделять путем фракционирующей обработки экстрагированного раствора обращенно-фазной распределительной хроматографией.
Авторы настоящего изобретения обратили внимание на хроматографию, как на простую процедуру отделения никотина от TSNA в экстрагированном растворе, получаемом экстракцией природного табачного материал водным экстрагирующим растворителем. Хроматография включает молекулярно-ситовую хроматографию, при которой элюирующему раствору позволяют протекать через колонку, загруженную наполнителем с порами заданного размера, для разделения желательных компонентов с использованием разницы в скоростях вымывания, которая определяется размером и конфигурацией молекул. Однако, поскольку никотин и TSNA близки по свойствам, разделять указанные компоненты молекулярно-ситовой хроматографией трудно. Также при ионообменной хроматографии и нормально-фазовой распределительной хроматографии концентрация соли в элюирующем растворе требует регулирования pH для отделения адсорбированных на наполнителе никотина и TSNA друг от друга. При использовании элюирующего раствора только из воды невозможно было отделить никотин и TSNA друг от друга.
При проведении дополнительного исследования было обнаружено, что обращенно-фазная распределительная хроматография обеспечивает эффективное отделение никотина и TSNA друг от друга даже при использовании водного элюирующего раствора.
При варианте осуществления, показанном на фиг.2, экстрагированный раствор 13 и экстракционный остаток 14 получают экстракцией S1, применяя экстрагирующий растворитель 12, как описано ранее в связи с фиг.1. Восстановленный табак 15 в виде листа можно получить с использованием экстракционного остатка 14 с помощью способа изготовления бумаги S3, как описано ранее в связи с фиг.1.
Экстрагированный раствор 13, полученный путем разделения S2, подвергают разделению S21, которое осуществляют обращенно-фазной распределительной хроматографией. Разделение S21 можно осуществлять с использованием неподвижной фазы, применяя в качестве основного материала смолу (мет)акрилового ряда, смолу винилового ряда или смолу силикагелевого ряда. Желательно, чтобы основной материал содержал гидрофобную группу. Желательно, чтобы гидрофобная группа представляла собой углеводородную группу, состоящую не более чем из шести атомов углерода. Углеводородная группа из шести или менее атомов углерода непременно является гидрофобной. Однако надо полагать, так как степень гидрофобности углеводородной группы низкая (или относительно высокая степень гидрофильности), при использовании неподвижной фазы, образованной из материала основы, содержащего такую гидрофобную группу, нитрозамины можно более эффективно отделять от никотина. Углеводородные группы не более чем с шестью атомами углерода включают метильную группу, этильную группу, пропильную группу, бутильную группу, пентильную группу, гексильную группу и фенильную группу. Гидрофобная группа может представлять собой группу, которую вводят для модифицирования материала основы, или группу, которая изначально включена в основной материал, такую как метильная группа участка метакриловой кислоты, из которой состоит смола на основе полиметакриловой кислоты. Материал неподвижной фазы, содержащий такую гидрофобную группу, который используют для обращенно-фазной распределительной хроматографии, поступает в продажу в форме гранулированного материала.
Для проведения обращенно-фазной распределительной хроматографии экстрагированный из табака раствор выливают в колонку, загруженную описанной выше неподвижной фазой, с последующим фракционированием экстрагированного из табака раствора с использованием водного элюента. Водный элюент может представлять собой воду или смесь воды и органического растворителя, способного смешиваться с водой (например, этанола). Обращенно-фазную распределительную хроматографию можно проводить при температуре ниже точки кипения растворителя (например, от 10 до 90°С). При обращенно-фазной распределительной хроматографии фракцию 21 (никотинсодержащую фракцию с удаленным TSNA), которая содержит значительное количество никотина (например, по меньшей мере 30% от первоначального содержания никотина) и из которой по существу удалены TSNA, извлекают из фракций, вытекающих из колонки, а фракцию 22 (TSNA-фракция), содержащую значительное количество TSNA, удаляют за ненадобностью. Согласно обращенно-фазной распределительной хроматографии, используемой в настоящем изобретении, можно получать фракцию с пониженным отношением нитрозаминов к никотину по сравнению с природным табачным материалом. В частности, согласно настоящему изобретению можно получать фракцию с коэффициентом уменьшения TSNA по меньшей мере около 90% и с коэффициентом уменьшения никотина ниже 60% по сравнению с раствором экстракта до фракционирования. При использовании материала неподвижной фазы с гидрофобной группой, состоящей из углеводородной группы не более чем с шестью атомами углерода, можно получать фракцию с коэффициентом уменьшения TSNA не менее чем около 90% и с коэффициентом уменьшения никотина ниже 35%. Когда концентрированную или неконцентрированную никотинсодержащую фракцию с удаленными TSNA 21 частично или полностью добавляют (S22) к полотну восстановленного табака 15, можно получить восстановленный табачный материал 23. Следовательно, полученный восстановленный табачный материал 23 содержит никотин, но по существу не содержит TSNA.
Настоящее изобретение описано выше со ссылкой на различные варианты выполнения, однако ими не ограничивается. Понятно, что описанные выше варианты изобретения могут комбинироваться друг с другом.
Например, можно подвергать полученную фракцию пермеата или фракцию ретентата фракционирующей обработке согласно первому варианту изобретения путем обращенно-фазной распределительной хроматографии, используемой во втором варианте. В частности, фракцию пермеата, полученную при первом варианте и обогащенную как никотином, так TSNA, можно разделять на TSNA-фракцию и фракцию, обогащенную никотином, с удаленными TSNA, подвергая вышеупомянутую фракцию пермеата обращенно-фазной распределительной хроматографии, согласно второму варианту изобретения.
Теперь настоящее изобретение будет описано с помощью примеров, не ограничивающих настоящее изобретение.
В последующих примерах и примерах для сравнения:
Количество NOx, количество ароматических аминов и количество TSNA, содержащееся в дыме, который вдыхает курильщик, измеряли согласно методике Canada Method No. T-110, T-102 и T-111;
Количество никотина в дыме, который вдыхает курильщик, измеряли согласно методике ISO 10315;
Количество никотина в резаном табаке измеряли согласно методике Института промышленных стандартов Германии DIN 10373;
Количество NO3 в резаном табаке измеряли с помощью экстракции резаного табака водой, восстановления NO3 в экстрагированном растворе гидразином до азотистой кислоты и определения количества NO3 колориметрическим способом c помощью диазотирования (см. справочник «Sanitary Test Methods» стр. 707 и стр. 836 Фармацевтической академии Японии;
Количество протеинов в резаном табаке измеряли с помощью способа, описанного в публикации Balasubramaniam и др. (см. Balasubramaniam D. и др. «Tobacco Protein Separation by two-phase extraction», Journal of Chromatography A, 989, 119-129, 2003).
Кроме того, для анализа сахаров применяли жидкостной хроматограф Agilent 1100 LC Chromatograph. В качестве колонки применяли высокоэффективную колонку для определения углеводов Waters High Performance Carbohydrate Column, 60A 4 мкм (4,6 × 250 мм). Температуру колонки поддерживали при 35°С. Количество вводимого образца составляло 8,0 мкл. Кроме того, в качестве подвижной фазы применяли смесь ацетонитрилочищенная вода (3:1).
Пример 1
Экстракцию резаного табака проводили путем смешивания 200 г резаного табака с 875 мл воды и перемешивания смеси при 25°С. Полученную таким образом после экстракции смесь фильтровали с получением экстрагированного раствора и экстракционного остатка. Полотно восстановленного табака получали путем обработки экстракционного остатка с помощью способа изготовления бумаги. К тому же, в высушенном состоянии масса восстановленного табака в виде листов составляла 100 г, что составляло приблизительно половину массы исходного резаного табака.
С другой стороны, экстрагированный раствор смешивали с 211 мл воды и подвергали мембранному разделению с помощью обратноосмотической мембраны (Nanomax 95 фирмы Milipore Inc.) с порогом отсечения по молекулярной массе 100 с получением фракции ретентата, (246 мл) и фракции пермеата (840 мл). Определяли количества азотной кислоты и сахара (фруктозы и глюкозы), содержащихся в полученных таким образом фракциях, то есть фракции ретентата и фракции пермеата, получая при этом результаты, представленные ниже в табл.1. В табл.1 также приведены результаты анализа экстрагированного раствора.
| Таблица 1 |
| Фракция |
Количество фракции (мл) |
Количество компонента в каждой фракции |
| Азотная кислота (мг) |
Фруктоза (г) |
Глюкоза (г) |
| Фракция ретентата |
246 |
201 |
1,46 |
0,72 |
| Фракция пермеата |
840 |
193 |
0 |
0 |
| Экстрагированный раствор перед фракционированием |
875 |
394 |
1,46 |
0,72 |
Как видно из результатов, приведенных в табл.1, фракция ретентата обогащена сахаром и обеднена азотной кислотой. С другой стороны, фракция пермеата обеднена сахаром (0 в данном случае) и обогащена азотной кислотой.
Затем все количество (246 мл) фракции ретентата добавляли к 100 г полотна восстановленного табака, получая при этом восстановленный табачный материал, и производили сигареты с использованием полученного в результате восстановленного табачного материала.
С другой стороны, проводили дополнительную экстракцию по точно такой же методике, как описанная выше экстракция, и полотно восстановленного табака получали из экстракционного остатка подобным образом. Экстрагированный раствор не подвергали мембранному разделению, а только концентрировали путем нагревания в вакууме. Все количество концентрированного экстрагированного раствора добавляли к полотну восстановленного табака, получая при этом восстановленный табачный материал, и производили сигареты с использованием полученного восстановленного табачного материала.
Чтобы измерить количество NOx в дыме, который вдыхает курильщик, указанные сигареты курили в соответствии с ISO-методикой при профиле вдыхаемого дыма конусного типа, времени одной затяжки 2 секунды (количество вдыхаемого дыма во время одной затяжки составляло 35 мл) и рассчитывали количество NOx на мг смолы. Результаты представлены в табл.2.
| Таблица 2 |
| Сигарета |
Количество NOx во вдыхаемом дыме |
| Количество NOx на сигарету (мкг) |
Количество NOx на мг смолы (мкг) |
| С добавлением экстрагированного раствора |
230 |
10,9 |
| С добавлением фракции ретентата |
117 |
5,5 |
Как видно из результатов, приведенных в табл.2, можно уменьшить количество NOx в дыме от сигареты, который вдыхает курильщик, и уменьшить количество NOx на единицу (мг) смолы, добавляя к полотну восстановленного табака фракцию ретентата, которая обеднена азотной кислотой.
Пример 2
Для обработки резаного табака, отличающегося от табака, использованного в примере 1, применяли экстракцию, подобную экстракции по примеру 1, получая при этом экстрагированный раствор и экстракционный остаток. Полотно восстановленного табака получали путем обработки экстракционного остатка с помощью способа изготовления бумаги.
С другой стороны, экстрагированный раствор подвергали мембранному разделению с помощью обратноосмотической мембраны (NTR-729HG фирмы Nitto Denko K.K.). Полученную таким образом фракцию ретентата добавляли к полотну восстановленного табака, получая при этом восстановленный табачный материал, который нарезали, чтобы получить резаный табак.
Экстракцию осуществляли точно так, как описано выше, а полотно восстановленного табака получали путем обработки полученного экстракционного остатка с помощью способа изготовления бумаги. Полученный при экстракции экстрагированный раствор также концентрировали при нагревании в вакууме, и все количество концентрированного экстрагированного раствора добавляли к полотну восстановленного табака, получая при этом восстановленный табачный материал, который нарезали, чтобы получить резаный табак.
В полученном таким образом резаном табаке измеряли количество NO3 и количество никотина. Результаты приведены в табл.3.
| Таблица 3 |
| Резаный табак |
Количество NO3 в резаном табаке (мг/г) |
Количество никотина в резаном табаке (мг/г) |
| С добавлением экстрагированного раствора |
6,17 |
7,5 |
| С добавлением фракции ретентата |
0,3 |
6,6 |
Как видно из результатов, представленных в табл.3, количество NO3 в резаном табаке, полученном из восстановленного табачного материала путем добавления фракции ретентата к полотну восстановленного табака, уменьшается приблизительно на 95% по сравнению с резаным табаком, полученным из восстановленного табачного материала путем добавления экстрагированного раствора, не подвергнутого мембранному разделению, несмотря на тот факт, что уменьшения количества никотина в резаном табаке, включающем фракцию ретентата, не происходило.
С использованием каждого из описанных выше образцов резаного табака производили сигареты, чтобы по примеру 1 измерить количество NOx и количество никотина в дыме, который вдыхает курильщик. Результаты приведены в табл.4.
| Таблица 4 |
| Сигарета |
Количество NOx в дыме, который вдыхает курильщик |
Количество никотина в дыме, который вдыхает курильщик |
| на сигарету (мкг) |
на мг смолы (мкг) |
на сигарету (мкг) |
на мг смолы (мкг) |
| Резаный табак с добавлением экстрагированного раствора |
154 |
9,7 |
0,6 |
0,045 |
| Резаный табак с добавлением фракции ретентата |
27 |
1,8 |
0,6 |
0,040 |
Как видно из результатов, представленных в табл.4, сигарета, полученная с использованием резаного табака с добавлением к нему фракции ретентата, была по количеству никотина полностью сравнима с сигаретой, полученной с использованием резаного табака, к которому добавляли экстрагированный раствор, не подвергнутый мембранному разделению, и при этом позволяла значительно уменьшить количество NOx.
Пример 3
Экстракцией по примеру 1 обрабатывали резаный табак, отличающийся от табака, использованного в примере 1, с получением экстрагированного раствора и экстракционного остатка. Полотно восстановленного табака получали, подвергая экстракционный остаток процессу изготовления бумаги.
С другой стороны, экстрагированный раствор подвергали обработке мембранным разделением на ультрафильтрационной мембране (CF30-F-PT фирмы Nitto Denko K.K.; с порогом отсечения по молекулярной массе 50000) и полученную таким образом фракцию ретентата подвергали дополнительному мембранному разделению с помощью обратноосмотической мембраны (NTR-729HG фирмы Nitto Denko K.K). Полученную фракцию ретентата добавляли к полотну восстановленного табака, получая при этом восстановленный табачный материал, который нарезали, чтобы получить резаный табак.
Экстракцию также осуществляли точно так, как описано выше, а полотно восстановленного табака получали путем обработки полученного экстракционного остатка с помощью способа изготовления бумаги. Полученный при экстракции экстрагированный раствор также концентрировали при нагревании в вакууме, и все количество концентрированного экстрагированного раствора добавляли к полотну восстановленного табака, получая при этом восстановленный табачный материал, который нарезали, чтобы получить резаный табак.
В полученном таким образом резаном табаке измеряли количество NO3, количество никотина и количество протеинов. Результаты приведены в табл.5.
| Таблица 5 |
| Резаный табак |
Количество NO3 в резаном табаке (мг/г) |
Количество никотина в резаном табаке (мг/г) |
Количество протеинов в резаном табаке (мг/г) |
| Резаный табак с добавлением экстрагированного раствора |
6,17 |
7,5 |
16 |
| Резаный табак с добавлением фракции ретентата |
0,22 |
7,5 |
0 |
Как видно из результатов, представленных в табл.5, было обнаружено, что при получении резаного табака из восстановленного табачного материала, полученного путем добавления к полотну восстановленного табака фракции ретентата, полученной на обратноосмотической мембране при фильтровании фракции пермеата, полученной ультрафильтрацией, количество NO3 в резаном табаке уменьшается приблизительно на 95%, и, по существу, полностью удаляется белок, несмотря на подавление снижения количества никотина, по сравнению с резаным табаком из восстановленного табачного материала, включающего экстрагированный раствор, который не подвергался мембранной обработке.
С использованием каждого из описанных выше образцов резаного табака производили сигареты, чтобы по примеру 1 измерить количество NOx и количество никотина в дыме, который вдыхает курильщик. Результаты приведены в табл.6.
| Таблица 6 |
| Сигарета |
Количество NOx в дыме, который вдыхает курильщик |
Количество никотина в дыме, который вдыхает курильщик |
| на сигарету (мкг) |
на мг смолы (мкг) |
на сигарету (мкг) |
на мг смолы (мкг) |
| Резаный табак с добавлением экстрагированного раствора |
154 |
9,7 |
0,6 |
0,045 |
| Резаный табак с добавлением фракции ретентата |
25 |
1,9 |
0,6 |
0,040 |
Как видно из результатов, представленных в табл.6, было обнаружено, что сигарета, полученная согласно настоящему изобретению из восстановленного табачного материала, полученного добавлением к полотну восстановленного табака фракции ретентата при фильтровании фракции пермеата, по количеству никотина полностью аналогична сигарете, полученной из резаного табака, к которому добавляли экстрагированный раствор, не подвергнутый мембранному разделению, и обеспечивает значительное уменьшение количества NOx по сравнению с такой сигаретой.
Эти сигареты оценивала группа дегустаторов из 10 человек с тем результатом, что по общей оценке специфический запах восстановленного табака был меньше у сигареты по изобретению.
Пример 4
Экстракцией по примеру 1 обрабатывали резаный табак, отличающийся от табака, использованного в примере 1, с получением экстрагированного раствора и экстракционного остатка. Полотно восстановленного табака получали, подвергая экстракционный остаток процессу изготовления бумаги.
С другой стороны, экстрагированный раствор подвергали мембранному разделению с помощью ультрафильтрационной мембраны (Biomax 10 фирмы Milipore Inc.; с порогом отсечения по молекулярной массе 50000) и полученную при этом фракцию ретентата подвергали дополнительному мембранному разделению с помощью обратноосмотической мембраны (Nanomax 95 фирмы Milipore Inc.; с порогом отсечения по молекулярной массе около 100). Полученную фракцию ретентата добавляли к полотну восстановленного табака, получая при этом восстановленный табачный материал, который нарезали с получением резаного табака. Затем из резаного табака производили сигарету.
Экстракцию также осуществляли точно так, как описано выше, а полотно восстановленного табака получали путем обработки полученного экстракционного остатка с помощью способа изготовления бумаги. Полученный при экстракции экстрагированный раствор также концентрировали при нагревании в вакууме, и все количество концентрированного экстрагированного раствора добавляли к полотну восстановленного табака, получая при этом восстановленный табачный материал, который нарезали, чтобы получить резаный табак. Затем из резаного табака производили сигарету.
Измеряли количества ароматических аминов в дыме, который вдыхает курильщик, от полученной таким образом сигареты. Результаты приведены в табл.7.
| Таблица 7 |
| |
Количество ароматических аминов в дыме, который вдыхает курильщик |
| на сигарету |
на мг смолы |
| 1-амино-нафталин (нг) |
2-амино-нафталин (нг) |
3-амино-бифенил (нг) |
4-амино-бифенил (нг) |
1-амино-нафталин (нг) |
2-амино-нафталин (нг) |
3-амино-бифенил (нг) |
4-амино-бифенил (нг) |
| Резаный табак с добавлением экстрагированного раствора |
10,235 |
7,8325 |
5,405 |
2,2 |
0,56339 |
0,43115 |
0,29752 |
0,1211 |
| Резаный табак с добавлением фракции ретентата |
7,3525 |
5,4275 |
2,965 |
1,21 |
0,3191 |
0,23555 |
0,12868 |
0,05251 |
Как видно из результатов, представленных в табл.7, было обнаружено, что сигарета, полученная согласно настоящему изобретению из восстановленного табачного материала, полученного добавлением к полотну восстановленного табака фракции ретентата, полученной при обратноосмотическом фильтровании фракции, прошедшей через ультрафильтрационную мембрану, обеспечивает значительное уменьшение ароматических аминов в дыме, который вдыхает курильщик, по сравнению с сигаретой, полученной из резаного табака, к которому добавляли экстрагированный раствор, не подвергнутый мембранному разделению.
Пример 5
100 г резаного табака, который представлял собой смесь резаного табака (смесь двух типов табака: табак трубоогневой сушки и табак Барлей) и измельченных средних жилок листа, смешиваемых при весовом отношении 1:1, смешивали с 1000 мл воды и перемешивали при 25°C, чтобы осуществить экстракцию резаного табака. Полученную при экстракции смесь фильтровали, получая при этом экстрагированный раствор и экстракционный остаток. Экстракционный остаток обрабатывали с помощью способа изготовления бумаги, получая при этом полотно восстановленного табака.
С другой стороны, экстрагированный раствор концентрировали с помощью мембранного разделения и 1 мл концентрированного раствора заливали в колонку (диаметром 8 мм и длиной 300 мм), загруженную частицами полиметакриловой смолы с диаметром частиц от 200 до 600 мкм (товарный знак: HP2MG фирмы Mitsubishi Chemical Co., Ltd.). В колонку в качестве элюента заливали воду, получая при этом сначала 70 мл (фракция 1) и затем 8030 мл (фракция 2). Определяли количества никотина, нитрозаминов (N’-нитрозонорникотина (NNN), 4-(метилнитрозамино)-1-(3-пиридил)-1-бутанона (NNK) и N’-нитрозоанатабина (NAT)) в экстрагированном растворе перед фракционированием (необработанный экстрагированный раствор) и в каждой фракции. Результаты представлены в табл.8. В табл.8 также приведены коэффициент уменьшения никотина и коэффициент уменьшения TSNA.
| Таблица 8 |
| |
Количество жидкости (мл) |
Никотин (мг) |
Коэффициент уменьшения никотина |
NNN (мкг) |
NNK (мкг) |
NAT (мкг) |
Общее количество TSNA, (мкг) |
Коэффициент уменьшения TSNA |
| Необработанный экстрагированный раствор |
1 |
2,81 |
– |
0,94 |
0,04 |
0,04 |
1,02 |
– |
| Фракция 1 |
70 |
2,73 |
3% |
0,11 |
0,00 |
0,00 |
0,11 |
89% |
| Фракция 2 |
8030 |
0,08 |
97% |
0,83 |
0,04 |
0,04 |
0,91 |
11% |
Как видно из табл.8, во фракции 1 количество TSNA уменьшалось по сравнению с первоначальным количеством по существу на 89%. NNK и NAT в числе TSNA из фракции 1 полностью удалялись. Кроме того, количество никотина во фракции 1 уменьшалось только на 3% от первоначального количества.
Исходя из этого, фракцию 2 удаляли за ненадобностью, а восстановленный табачный материал получали добавлением фракции 1 к полотну восстановленного табака.
Пример 6
Концентрированный экстрагированный из табака раствор и полотно восстановленного табака получали по примеру 5, за исключением того, что в составе смеси изменяли отношение табака трубоогневой сушки к табаку типа Барлей. 1 мл концентрированного экстрагированного из табака раствора заливали в колонку (диаметром 10 мм и длиной 250 мм), загруженную поливиниловой смолой, модифицированной фенильными группами, с диаметром частиц от 50 до 150 мкм (товарный знак TOYOPEARL Phenyl 650C фирмы Toso Inc.). В колонку заливали воду, используемую в качестве элюента, получая при этом сначала 28 мл (фракция 1) и затем 115 мл (фракция 2). Определяли количества никотина, NNN, NNK, NAT, а также N’-нитрозоанабазина (NAB) в экстрагированном растворе перед фракционированием (необработанный экстрагированный раствор) и в каждой фракции. Результаты приведены в табл.9. В табл.9 также приведены коэффициент уменьшения никотина и коэффициент уменьшения TSNA.
| Таблица 9 |
| |
Количество жидкости (мл) |
Никотин (мг) |
Коэффициент уменьшения никотина |
NNN (мкг) |
NNK (мкг) |
NAT (мкг) |
NAB (мкг) |
Общее количество TSNA, (мкг) |
Коэффициент уменьшения TSNA |
| Необработанный экстрагированный раствор |
1 |
2,51 |
– |
0,80 |
0,20 |
0,21 |
0,21 |
1,42 |
– |
| Фракция 1 |
28 |
2,51 |
0% |
0,13 |
0,00 |
0,00 |
0,00 |
0,13 |
91% |
| Фракция 2 |
115 |
0,00 |
100% |
0,68 |
0,20 |
0,21 |
0,21 |
1,30 |
9% |
Как видно из табл.9, во фракции 1 содержание TSNA по сравнению с первоначальным количеством уменьшилось по существу на 91%. NNK, NAT и NAB в числе TSNA во фракции 1 полностью удалялись. Кроме того, количество никотина во фракции 1 вообще не уменьшалось.
Исходя из этого, фракцию 2 удаляли за ненадобностью, а восстановленный табачный материал получали добавлением фракции 1 к полотну восстановленного табака.
Пример 7
Концентрированный экстрагированный из табака раствор и полотно восстановленного табака получали по примеру 1, за исключением того, что в составе смеси изменяли отношение табака трубоогневой сушки к табаку типа Барлей. 0,02 мл концентрированного экстрагированного из табака раствора заливали в колонку (диаметром 6 мм и длиной 150 мм), загруженную смолой на основе силикагеля, модифицированного бутильными группами, со средним диаметром частиц 15 мкм (товарный знак Pack C4 фирмы YMC Inc.) В колонку заливали воду, используемую в качестве элюента, получая при этом сначала 600 мл (фракция 1) и затем 400 мл (фракция 2). Определяли количества никотина, NNN, NNK, NAT и NAB в экстрагированном растворе перед фракционированием (необработанный экстрагированный раствор) и в каждой фракции. Результаты представлены в табл.10. В табл.10 также приведены коэффициент уменьшения никотина и коэффициент уменьшения TSNA.
| Таблица 10 |
| |
Количество жидкости (мл) |
Никотин (мг) |
Коэффициент уменьшения никотина |
NNN (мкг) |
NNK (мкг) |
NAT (мкг) |
NAB (мкг) |
Общее количество TSNA, (мкг) |
Коэффициент уменьшения TSNA |
| Необработанный экстрагированный раствор |
0,02 |
2,16 |
– |
2,29 |
0,56 |
1,47 |
1,47 |
5,79 |
– |
| Фракция 1 |
600 |
0,72 |
67% |
2,29 |
0,56 |
1,47 |
1,47 |
5,79 |
0% |
| Фракция 2 |
400 |
1,44 |
33% |
0,00 |
0,00 |
0,00 |
0,00 |
0,00 |
100% |
Как видно из табл.10, содержание TSNA во фракции 2 уменьшалось на 100%. Кроме того, было обнаружено, что уменьшение количества никотина во фракции 2 по сравнению с первоначальным количеством составляет только 33%.
Исходя из этого, фракцию 1 удаляли за ненадобностью, а восстановленный табачный материал получали добавлением фракции 2 к полотну восстановленного табака.
Как видно из результатов, полученных в примерах 5-7, коэффициент уменьшения TSNA составлял не менее 90%, и можно получить фракцию с коэффициентом уменьшения никотина менее 35% при использовании неподвижной фазы из материала с гидрофобными группами, образованными из углеводородных групп не более чем с 6 атомами углерода.
Пример 8
Концентрированный, экстрагированный из табака раствор и полотно восстановленного табака получали по примеру 5, за исключением того, что в составе смеси изменяли отношение табака трубоогневой сушки к табаку типа Барлей. 0,02 мл концентрированного, экстрагированного из табака раствора заливали в колонку (диаметром 4,6 мм и длиной 150 мм), загруженную смолой на основе силикагеля, модифицированного октильными группами, со средним диаметром частиц 5 мкм (товарный знак XDB-C8 фирмы Alingent Inc). В колонку заливали воду, используемую в качестве элюента, получая при этом сначала 200 мл (фракция 1), затем 200 мл (фракция 2) и в заключение 400 мл (фракция 3). Определяли количества никотина, NNN, NNK, NAT и NAB в экстрагированном растворе перед фракционированием (необработанный экстрагированный раствор) и в каждой фракции. Результаты представлены в табл.11. В табл.11 также приведены коэффициент уменьшения никотина и коэффициент уменьшения TSNA.
| Таблица 11 |
| |
Количество жидкости (мл) |
Никотин (мг) |
Коэффициент уменьшения никотина |
NNN (мкг) |
NNK (мкг) |
NAT (мкг) |
NAB (мкг) |
Общее количество TSNA, (мкг) |
Коэффициент уменьшения TSNA |
| Необработанный экстрагированный раствор |
0,02 |
1,64 |
– |
2,22 |
0,77 |
2,49 |
0,04 |
5,52 |
– |
| Фракция 1 |
200 |
0,00 |
100% |
1,83 |
0,00 |
0,00 |
0,00 |
1,83 |
67% |
| Фракция 2 |
200 |
0,92 |
44% |
0,39 |
0,77 |
2,49 |
0,04 |
3,69 |
33% |
| Фракция 3 |
400 |
0,72 |
56% |
0,00 |
0,00 |
0,00 |
0,00 |
0,00 |
100% |
Как видно из табл.11, TSNA полностью удалялись из фракции 3. Кроме того, коэффициент уменьшения никотина для фракции 3 составлял 56%.
Исходя из этого, фракции 1 и 2 удаляли за ненадобностью, а восстановленный табачный материал получали добавлением фракции 3 к полотну восстановленного табака.
Пример 9
Концентрированный экстрагированный из табака раствор и полотно восстановленного табака получали по примеру 1, за исключением того, что в составе смеси изменяли отношение табака трубоогневой сушки к табаку типа Барлей. 0,02 мл концентрированного экстрагированного из табака раствора заливали в колонку (диаметром 6 мм и длиной 150 мм), загруженную смолой на основе силикагеля, модифицированного октадецильными группами, со средним диаметром частиц 15 мкм (товарный знак ODS-AP фирмы YMC Inc). В колонку заливали воду, используемую в качестве элюента, получая при этом сначала 400 мл (фракция 1), затем 200 мл (фракция 2) и в заключение 200 мл (фракция 3). Определяли количества никотина, NNN, NNK, NAT и NAB в экстрагированном растворе перед фракционированием (необработанный экстрагированный раствор) и в каждой фракции. Результаты представлены в табл.12. В табл.12 также приведены коэффициент уменьшения никотина и коэффициент уменьшения TSNA.
| Таблица 12 |
| |
Количество жидкости (мл) |
Никотин (мг) |
Коэффициент уменьшения никотина |
NNN (мкг) |
NNK (мкг) |
NAT (мкг) |
NAB (мкг) |
Общее количество TSNA, (мкг) |
Коэффициент уменьшения TSNA |
| Необработанный экстрагированный раствор |
0,02 |
2,17 |
– |
2,33 |
0,57 |
2,28 |
0,03 |
5,21 |
– |
| Фракция 1 |
400 |
0,37 |
83% |
2,33 |
0,00 |
0,00 |
0,00 |
2,33 |
55% |
| Фракция 2 |
200 |
1,03 |
53% |
0,00 |
0,57 |
2,28 |
0,03 |
2,88 |
45% |
| Фракция 3 |
200 |
0,76 |
65% |
0,00 |
0,00 |
0,00 |
0,00 |
0,00 |
100% |
Как видно из табл.12, TSNA полностью удалялись из фракции 3. Кроме того, было обнаружено, что коэффициент уменьшения никотина для фракции 3 составлял 65%.
Исходя из этого, фракции 1 и 2 удаляли за ненадобностью, а восстановленный табачный материал получали добавлением фракции 3 к полотну восстановленного табака.
Сравнительный пример 1
1 мл концентрированного экстрагированного из табака раствора, полученного по примеру 5, за исключением того, что в составе смеси изменяли отношение табака трубоогневой сушки к табаку типа Барлей, заливали в колонку (диаметром 10 мм и длиной 250 мм), загруженную катионообменной смолой на основе полистирола со средним диаметром частиц 300 мкм (противоион: Na+; товарный знак CR-1310 фирмы Organo Inc.). В колонку заливали воду, используемую в качестве элюента, получая при этом сначала 100 мл (фракция 1) и затем 900 мл (фракция 2). Определяли количества никотина, NNN, NNK, NAT и NAB в экстрагированном растворе перед фракционированием (необработанный экстрагированный раствор) и в каждой фракции. Результаты представлены в табл.13. В табл.13 также приведены коэффициент уменьшения никотина и коэффициент уменьшения TSNA.
| Таблица 13 |
| |
Количество жидкости (мл) |
Никотин (мг) |
Коэффициент уменьшения никотина |
NNN (мкг) |
NNK (мкг) |
NAT (мкг) |
NAB (мкг) |
Общее количество TSNA, (мкг) |
Коэффициент уменьшения TSNA |
| Необработанный экстрагированный раствор |
1 |
3,09 |
– |
1,04 |
0,43 |
0,33 |
0,02 |
1,82 |
– |
| Фракция 1 |
100 |
0,00 |
100% |
0,00 |
0,00 |
0,00 |
0,02 |
0,02 |
99% |
| Фракция 2 |
900 |
0,00 |
100% |
0,00 |
0,43 |
0,00 |
0,00 |
0,43 |
76% |
Как видно из табл.13, TSNA удалялись из фракций 1 и 2 в значительной степени. Однако из указанных фракций полностью удалялся никотин. Понятно, что невозможно получить восстановленный табачный материал, содержащий никотин, при использовании любой из фракций 1 и 2.
Сравнительный пример 2
0,22 мл концентрированного экстрагированного из табака раствора, полученного по примеру 1, за исключением того, что в составе смеси изменяли отношение табака трубоогневой сушки к табаку типа Барлей, заливали в колонку (диаметром 4,6 мм и длиной 250 мм), загруженную анионообменной смолой на основе полистирола со средним диаметром частиц 7 мкм (противоион: СН3СОО–; товарный знак CDR-10 фирмы Mitsubishi Chemical Co., Ltd.). В колонку заливали воду, используемую в качестве элюента, получая при этом сначала 500 мл (фракция 1) и затем 950 мл (фракция 2). Определяли количества никотина, NNN, NNK, NAT и NAB в экстрагированном растворе перед фракционированием (необработанный экстрагированный раствор) и в каждой фракции. Результаты представлены в табл.14. В табл.14 также приведены коэффициент уменьшения никотина и коэффициент уменьшения TSNA.
| Таблица 14 |
| |
Количество жидкости (мл) |
Никотин (мг) |
Коэффициент уменьшения никотина |
NNN (мкг) |
NNK (мкг) |
NAT (мкг) |
NAB (мкг) |
Общее количество TSNA, (мкг) |
Коэффициент уменьшения TSNA |
| Необработанный экстрагированный раствор |
0,22 |
0,78 |
– |
0,53 |
0,22 |
1,21 |
0,07 |
2,03 |
– |
| Фракция 1 |
50 |
0,78 |
0% |
0,20 |
0,00 |
0,29 |
0,04 |
0,53 |
74% |
| Фракция 2 |
950 |
0,00 |
100% |
0,33 |
0,22 |
0,92 |
0,03 |
1,50 |
26% |
Как видно из табл.14, TSNA удалялись из фракции 1 в значительной степени. Однако также полностью удалялся никотин. С другой стороны, во фракции 2 первоначальное количество никотина сохранялось на уровне 100%. Однако коэффициент уменьшения TSNA составлял только 26%. Понятно, что при использовании какой-либо из фракций 1 и 2 невозможно получить восстановленный табачный материал, содержащий значительное количество никотина и по существу не содержащий TSNA.
Сравнительный пример 3
0,5 мл концентрированного экстрагированного из табака раствора, полученного по примеру 5, за исключением того, что в составе смеси изменяли отношение табака трубоогневой сушки к табаку типа Барлей, заливали в колонку для нормально-фазовой распределительной хроматографии (диаметром 7,5 мм и длиной 50 мм), загруженную смолой на основе силикагеля с диаметром частиц 40-60 мкм (товарный знак Daisogel 2000 фирмы Daiso Inc). В колонку заливали воду, используемую в качестве элюента, получая при этом сначала 10 мл (фракция 1) и затем 10 мл (фракция 2), затем еще 10 мл (фракция 3), затем еще 10 мл (фракция 4) и в заключение 110 мл (фракция 5). Определяли количества никотина, NNN, NNK и NAT в экстрагированном растворе перед фракционированием (необработанный экстрагированный раствор) и в каждой фракции. Результаты представлены в табл.15. В табл.15 также приведены коэффициент уменьшения никотина и коэффициент уменьшения TSNA.
| Таблица 15 |
| |
Количество жидкости (мл) |
Никотин (мг) |
Коэффициент уменьшения никотина |
NNN (мкг) |
NNK (мкг) |
NAT (мкг) |
Общее количество TSNA (мкг) |
Коэффициент уменьшения TSNA |
| Необработанный экстрагированный раствор |
0,5 |
1,05 |
– |
0,89 |
0,02 |
0,15 |
1,06 |
– |
| Фракция 1 |
10 |
0,12 |
89% |
0,25 |
0,00 |
0,02 |
0,27 |
75% |
| Фракция 2 |
10 |
0,31 |
72% |
0,39 |
0,22 |
0,05 |
0,66 |
38% |
| Фракция 3 |
10 |
0,19 |
82% |
0,17 |
0,00 |
0,06 |
0,23 |
78% |
| Фракция 4 |
10 |
0,09 |
91% |
0,08 |
0,00 |
0,02 |
0,02 |
98% |
| Фракция 5 |
110 |
0,35 |
67% |
0,00 |
0,00 |
0,00 |
0,00 |
100% |
Как видно из табл.15, TSNA удалялись из фракций 1-5 в значительной степени. Однако коэффициент уменьшения никотина не был ниже, чем около 70%. Отсюда следует, что невозможно получить восстановленный табачный материал, содержащий значительное количество никотина и по существу не содержащий TSNA, путем использования какой-либо из фракций 1-5.
Формула изобретения
1. Способ производства восстановленного табачного материала, предусматривающий стадии
(a) экстрагирования природного табачного материала экстрагирующим растворителем с получением экстрагированного раствора, содержащего компоненты природного табачного материала, и экстракционного остатка; причем природный табачный материал содержит как желательные компоненты, так и нежелательные компоненты,
(b) фракционирования экстрагированного раствора с помощью ультрафильтрации, обратноосмотического фильтрования или обращенно-фазной распределительной хроматографии с получением первой фракции, обогащенной желательными компонентами и обедненной нежелательными компонентами, и второй фракции, обогащенной нежелательными компонентами и обедненной желательными компонентами;
получения полотна восстановленного табака с использованием экстракционного остатка, и
добавления первой фракции к полотну восстановленного табака, возможно вместе со второй фракцией в уменьшенном количестве.
2. Способ по п.1, в котором фракционирующую обработку проводят с использованием ультрафильтрационной мембраны или обратноосмотической фильтрационной мембраны, получая при этом фракцию пермеата и фракцию ретентата.
3. Способ по п.2, в котором фракционирующую обработку осуществляют многократно с помощью мембран, отличающихся друг от друга по порогу отсечения молекулярной массы, и одну или более полученных после фракционирующей обработки фракций ретентата и фракций пермеата добавляют к полотну восстановленного табака, при условии, что когда все полученные фракции ретентата и фракции пермеата добавляют к полотну восстановленного табака, количество по меньшей мере одной из полученных фракций ретентата и фракций пермеата уменьшается при добавлении фракций к полотну восстановленного табака.
4. Способ по п.2, в котором фракция ретентата обеднена нитрат-ионами и ее добавляют к полотну восстановленного табака.
5. Способ по п.1, в котором фракционирующую обработку осуществляют обращенно-фазной распределительной хроматографией, получая при этом фракцию, содержащую уменьшенное количество нитрозаминов по сравнению с раствором экстракта.
6. Способ по п.5, в котором обращенно-фазную распределительную хроматографию осуществляют с использованием неподвижной фазы, включающей в качестве основного материала (мет)акриловую смолу, виниловую смолу или смолу на основе силикагеля, и основной материал содержит гидрофобную группу, включая углеводородную группу с 6 или менее атомами углерода.
7. Способ по п.5, в котором в экстрагированном растворе, содержащем уменьшенное количество нитрозаминов, отношение нитрозамина к никотину ниже указанного соотношения в природном табачном материале.
8. Способ по п.2, в котором фракцию пермеата подвергают фракционирующей обработке обращенно-фазной распределительной хроматографией, получая при этом из фракции пермеата фракцию, обогащенную никотином с удаленными из нее нитрозаминами.
9. Способ по п.8, в котором фракция ретентата обеднена нитрат-ионами, и ее добавляют к полотну восстановленного табака.
10. Способ по п.8, в котором обращенно-фазную распределительную хроматографию осуществляют с использованием неподвижной фазы, включающей в качестве основного материала (мет)акриловую смолу, виниловую смолу или смолу на основе силикагеля, и основной материал содержит гидрофобную группу, включая углеводородную группу с 6 или менее атомами углерода.
РИСУНКИ
|
|