|
|
(21), (22) Заявка: 2006112365/13, 13.04.2006
(24) Дата начала отсчета срока действия патента:
13.04.2006
(46) Опубликовано: 20.11.2007
(56) Список документов, цитированных в отчете о поиске:
RU 2193832 С2, 10.12.2002. RU 2124841 C1, 20.01.1999. RU 94024384 A1, 20.04.1996.
Адрес для переписки:
660049, г.Красноярск, пр. Мира, 90, КГАУ, патентоведу Т.А. Лобановой
|
(72) Автор(ы):
Невзоров Виктор Николаевич (RU), Шупиков Антон Владимирович (RU)
(73) Патентообладатель(и):
Федеральное образовательное учреждение высшего профессионального образования Красноярский Государственный Аграрный Университет (RU)
|
(54) УСТАНОВКА ДЛЯ ПОЛУЧЕНИЯ КОПТИЛЬНОГО ПРЕПАРАТА
(57) Реферат:
Изобретение относится к оборудованию пищевой промышленности и может быть использовано при получении коптильных препаратов. Установка содержит дымогенератор, абсорбер, электростатический фильтр и охлаждающий контур. Дымогенератор выполнен в виде пиролизной камеры, размещенной внутри теплогенератора, не касаясь его стенок, и снабжен датчиками температуры и давления. Внутри дымогенератора по контуру снизу и по бокам расположены ребра в виде треугольных выступов. Абсорбер выполнен в виде аккумулирующей камеры, внутри которой установлено Сегнерово колесо, а на выходе – клапан регулировки давления сброса паровоздушной смеси. Флорентина снабжена контрольно-измерительным разделителем жидкостей и выходным патрубком для слива нормализованного коптильного материала. Изобретение позволяет повысить производительность и улучшить качество получения коптильного препарата. 2 з.п.ф-лы, 1 ил.
Изобретение относится к оборудованию пищевой промышленности и может быть использовано при получении коптильных препаратов для придания пищевым продуктам специфических вкусоароматических свойств копчености.
Известно устройство для получения коптильного препарата, включающее дымогенератор, абсорбционную колонну с распределенными в ней форсунками для ввода и диспергирования жидкости, насадкой для увеличения поверхности контакта и жалюзийным каплеотделителем, сепаратором, охлаждаемый жидкостный контур с устройством для подачи жидкости в колонну и возврата в контур и средства для подачи газов из дымогенератора в колонну, вывода их из абсорбера и сбора (патент РФ №2124841, А23В 4/048, 1997).
Недостатками устройства являются низкая производительность и большие габаритные размеры, недостаточная эффективность процессов абсорбции и сепарации.
Известно устройство для получения коптильного препарата, включающее источник газов (дымогенератор), абсорбер, содержащий вихревую контактную камеру и центробежный сепаратор, рециркуляционный газовый контур, жидкостной контур со средствами подачи жидкости в абсорбер, охлаждения, очистки от механических примесей, залива и слива, жидкостно-газового эжектора для подачи газов в абсорбер (патент РФ №2193852, А23В 4/048, 2000).
Недостатком устройства является неполное улавливание жидкостью коптильных веществ и связанная с этим недостаточно высокое качество коптильного препарата и низкая эффективность процесса абсорбции.
Задача изобретения заключается в повышении производительности и улучшении качества получения коптильного препарата.
Указанный технический результат при осуществлении изобретения, в отличие от прототипа, достигается тем, что в установке для получения коптильного препарата, содержащей дымогенератор, абсорбер, электростатический фильтр и охлаждающий контур, отличающаяся тем, что дымогенератор выполнен в виде пиролизной камеры, размещенной внутри теплогенератора, не касаясь его стенок, и снабжен датчиками температуры и давления, а внутри его по контуру снизу и по бокам расположены ребра в виде треугольных выступов, при этом абсорбер выполнен в виде аккумулирующей камеры, внутри которой установлено Сегнерово колесо, а на выходе – клапан регулировки давления сброса паровоздушной смеси, притом флорентина снабжена контрольно-измерительным разделителем жидкостей и выходным патрубком для слива нормализованного коптильного материала. Теплогенератор снабжен заслонкой на выходной трубе, регулирующей температуру и давление в процессе пиролиза в дымогенераторе. В фильтрующей камере установлены сменные фильтры грубой и тонкой очистки.
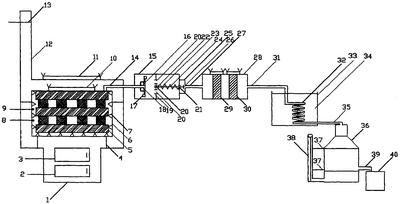
На чертеже показана установка для получения коптильного препарата.
Устройство для получения коптильного препарата включает в себя теплогенератор 1, имеющий поддувало 2, топочную камеру 3. Дымогенератор 6 выполнен в виде пиролизной камеры и размещен внутри теплогенератора 1 на стойках 4, не касаясь его стенок. Внутри дымогенератора 6 по его контуру снизу и по бокам расположены ребра 7 в виде треугольных выступов, на которых размещается сырье для производства коптильного препарата 5, при том дымогенератор (пиролизная камера) 6 снабжен датчиками температуры 8 паровоздушной смеси и давления 9. Дымогенератор 6 имеет загрузочное окно 10 с крышкой, расположенное под загрузочным окном 11 с крышкой, выполненной в теплогенераторе 1 с большим диаметром, чем загрузочное окно 10. Теплогенератор 1 имеет вытяжную трубу 12 с регулирующей заслонкой 13, а дымогенератор 6 имеет выходной патрубок 14, соединенный с абсорбером, выполненным в виде аккумулирующей камеры 15. Патрубок 14 герметично входит в аккумулирующую камеру 15, где на подшипнике 16 установлено Сегнерово колесо 18, имеющее выходные отверстия 17. Внутри аккумулирующей камеры 15 установлена перегородка 19, имеющая отверстия 20 и отверстие 21, в которую вставлен стержень 23, имеющий опорную пяту 22 и клапан 26. На стержень 23 надета пружина сжатия 24, которая одним концом упирается в опорную пяту 22, а другим концом на корпус камеры 15 выходного отверстия 21 клапана 26. Клапан 26 имеет камеру рабочего хода 25, соединенную с выходным патрубком 27. Выходной патрубок 27 входит в фильтрующую камеру 28, в которой установлены съемные фильтры грубой очистки 29 и тонкой очистки 30. Фильтрующая камера 28 патрубком 31 соединена со змеевиком 32 и патрубком 35 с флорентиной 36. Змеевик 32 установлен в емкости 33, в которой находится холодная вода 34. Флорентина 36 имеет контрольно-измерительный стеклянный разделитель жидкостей 38, установленный на стойках 37, и выходной патрубок 39 для сбора коптильного препарата в емкость 40.
Устройство для получения коптильной жидкости работает следующим образом.
Через открытые загрузочные окна 10 и 11 в дымогенератор 6 на ребра 7 накладываются осиновые заготовки 5. Окна 10 и 11 герметично закрываются. В топочную камеру 3 закладываются дрова и поджигаются, дверка поддувала 2 приоткрыта для доступа воздуха. Продукты горения выходят через вытяжную трубу 12, а их скорость выхода регулируется заслонкой 13 по показаниям температурного датчика 8 и датчика давления 9. В дымогенераторе 6 при достижении определенной температуры начинается процесс пиролиза древесины и выделяется газовоздушная смесь. Равномерное перемещение газовоздушной смеси внутри камеры обеспечивают ребра 7. Полученная газовоздушная смесь по патрубку 14 поступает в Сегнерово колесо 18 камеры аккумулирования 15, при этом Сегнерово колесо 18 вращается и равномерно перемешивает газовоздушную смесь в камере аккумулирования 15. При достижении заданного давления срабатывает клапан 26, установленный между перегородкой 19 и стенкой камеры 15. Движение газовоздушной смеси внутри камеры аккумулирования 15 осуществляется через отверстия 20 в перегородке 19. Нагнетанию давления газовоздушной смеси и выпуск ее осуществляет пружина сжатия 24, установленная на стержне 23 клапана 26. Под давлением газовоздушная смесь поступает в камеру рабочего хода 25 клапана 26, жестко закрепленную с камерой 15, через отверстие 21 и по патрубку 27 проходит в фильтрующую камеру 28, где проходит очистку через сменный фильтр грубой очистки 29 и сменный фильтр тонкой очистки 30. По патрубку 31 газовоздушная смесь поступает в змеевик 32, расположенный в емкости 33, наполненной холодной водой 34. Здесь газовоздушная смесь преобразуется в жидкость. В флорентине 36 жидкость, поступившая по патрубку 35, отстаивается и разделяется на легкие смолы, тяжелые смолы и коптильную жидкость. На флорентине 36 на стойках 37 установлен контрольно-измерительный стеклянный разделитель жидкостей 38, который служит для визуальной оценки уровня полученного коптильного препарата. Полученная коптильная жидкость поступает в емкость для сбора коптильной жидкости 40 по патрубку 39.
Повышение производительности и улучшение качества достигается за счет выполненного дымогенератора внутри геплогенератора. Дымогенератор снабжен внутренним оребрением, которое обеспечивает свободную циркуляцию паровоздушной смеси внутри дымогенератора, в нем осуществляется контроль за процессом пиролиза с помощью датчиков температуры и давления паровоздушной смеси; полного равномерного смешения паровоздушной смеси в аккумулирующей камере путем прохождения паровоздушной смеси через Сегнерово колесо, создания давления и проточки паровоздушной смеси под давлением через сменные фильтры грубой и тонкой очистки, охлаждения и естественного отстоянного разделения конденсата на легкие, тяжелые смолы и коптильную жидкость в специально изготовленной флорентине.
Формула изобретения
1. Установка для получения коптильного препарата, содержащая дымогенератор, абсорбер, электростатический фильтр и охлаждающий контур, отличающаяся тем, что дымогенератор выполнен в виде пиролизной камеры, размещенной внутри теплогенератора, не касаясь его стенок, и снабжен датчиками температуры и давления, а внутри его по контуру снизу и по бокам расположены ребра в виде треугольных выступов, при этом абсорбер выполнен в виде аккумулирующей камеры, внутри которой установлено Сегнерово колесо, а на выходе – клапан регулировки давления сброса паровоздушной смеси, притом флорентина снабжена контрольно-измерительным разделителем жидкостей и выходным патрубком для слива нормализованного коптильного материала.
2. Установка по п.1, отличающаяся тем, что теплогенератор снабжен заслонкой на выходной трубе, регулирующей температуру и давление в процессе пиролиза в дымогенераторе.
3. Установка по п.1, отличающаяся тем, что в фильтрующей камере установлены сменные фильтры грубой и тонкой очистки.
РИСУНКИ
MM4A – Досрочное прекращение действия патента СССР или патента Российской Федерации на изобретение из-за неуплаты в установленный срок пошлины за поддержание патента в силе
Дата прекращения действия патента: 14.04.2008
Извещение опубликовано: 27.05.2010 БИ: 15/2010
|
|