|
|
(21), (22) Заявка: 2006131069/28, 30.08.2006
(24) Дата начала отсчета срока действия патента:
30.08.2006
(46) Опубликовано: 20.11.2007
(56) Список документов, цитированных в отчете о поиске:
SU 1297765 A1, 23.03.1987. RU 2216930 C2, 27.11.2003. RU 2219698 C1, 27.12.2003. SU 1517851 A1, 30.10.1989. US 5148985, 22.09.1992.
Адрес для переписки:
400059, г.Волгоград, 59, ул. Изоляторная, 2, кв.89, А.М. Салдаеву
|
(72) Автор(ы):
Кизяев Борис Михайлович (RU), Салдаев Александр Макарович (RU), Бородычев Виктор Владимирович (RU), Шенцева Екатерина Викторовна (RU), Майер Александр Владимирович (RU), Долгополова Елена Владимировна (RU), Губер Кирилл Вадимович (RU), Гуренко Владимир Михайлович (RU), Губаюк Юрий Данилович (RU), Лытов Михаил Николаевич (RU), Захаров Юрий Иванович (RU), Гавра Мария Михайловна (RU), Дубенок Николай Николаевич (RU), Калиниченко Роман Владимирович (RU), Криволуцкий Александр Александрович (RU)
(73) Патентообладатель(и):
Государственное научное учреждение Всероссийский научно-исследовательский институт гидротехники и мелиорации им. А.Н. Костякова Российской академии сельскохозяйственных наук (RU)
|
(54) УСТАНОВКА ДЛЯ ПРОВЕДЕНИЯ ЛАБОРАТОРНЫХ ИССЛЕДОВАНИЙ, ПРЕИМУЩЕСТВЕННО КАПЕЛЬНИЦ, ВСТРОЕННЫХ В ПОЛОСТИ ГИБКОГО ПОЛИВНОГО ТРУБОПРОВОДА
(57) Реферат:
Изобретение относится к стендовому оборудованию для проведения исследований работы капельниц различных конструкций как встроенных в полости гибкого поливного трубопровода, так и фиксируемых на его поверхности. Установка для проведения лабораторных исследований, преимущественно капельниц, включают станину с закрепленным на ней резервуаром и баком. Резервуар гидравлически соединен с резервуаром двухпозиционным краном и формирователем капель. Формирователь капель образован установленными в резервуаре двумя параллельными штангами, оппозитно и попарно размещенными на них ниппелями и фрагментами гибких поливных трубопроводов с капельницами. На заходных конических поверхностях ниппелей смонтированы концы каждого фрагмента гибкого поливного трубопровода. В каждом фрагменте гибкого поливного трубопровода, по крайней мере, имеется хотя бы одна встроенная в его полости капельница с водовыпускным отверстием. Водовыпускные отверстия гибкого поливного трубопровода ориентированы вниз. Концы каждого гибкого поливного трубопровода зафиксированы накидными гайками, размещенными на резьбовых участках ниппелей. Под каждым водовыпускным отверстием гибкого поливного трубопровода с возможностью перевода в рабочее и нерабочее положения установлен мерный цилиндр. Он размещен в механизме группового привода. Механизм группового привода мерных цилиндров в рабочее и нерабочее положения выполнен в виде П-образной штанги. Штанга размещена в парах направляющих. Направляющие смонтированы в стенках резервуара. На штанге с возможностью демонтажа размещена кассета для установки в вертикальном положении мерных цилиндров. Кассета армирована упругим материалом. 4 з.п. ф-лы, 3 ил.
Изобретение относится к стендовому оборудованию для проведения исследований работы капельниц различных конструкций как встроенных в полости гибкого поливного трубопровода, так и фиксируемых на его поверхности.
Известна лабораторная дождевальная установка, включающая станину с закрепленным на ней резервуаром, перемещаемую раму и тележку с формирователем капель в виде набора съемных игл, механизм возвратно-поступательного перемещения тележки с грузовым, тросовым приводом, в которой, с целью повышения КПД и эксплуатационной надежности, механизм перемещения тележки снабжен устройством автоматического управления, выполненным в виде бака с поплавком, гидравлически соединенным с резервуаром, при этом поплавок кинематически связан с формирователем капель и грузовым приводом, а устройство автоматического управления снабжено двухпозиционным краном с подпружиненным курковым затвором, кинематически связанным с поплавком (авторское свидетельство SU №1517851 А1, М. кл.4 А01G 25/02. Лабораторная дождевальная установка. / В.Ф.Гаммер, В.К.Гладкий, Н.Ю.Крекер, Л.Н.Сидорова (СССР). – Заявка №4305209/30-15; заявлено 15.09.1987; опубл. 30.10.1989. Бюл.№40).
К недостаткам описанной лабораторной дождевальной установки, принятой нами в качестве наиближайшего аналога, относятся ограниченные функциональные возможности, невозможность получения достоверных экспериментальных данных работы капельниц, сложность замены испытуемых капельниц.
Сущность заявленного изобретения заключаются в следующем.
Задача, на решение которой направлено заявленное изобретение, – получение достоверных экспериментальных данных для построения расходных характеристик капельниц, встроенных в полости гибких поливных трубопроводов, в зависимости от давления воды в сети, ее температуры и плотности, содержания взвесей и минерализации, диаметра поливного трубопровода, толщины его стенки, особенностей конструкций капельниц, диаметра водовыпускного отверстия и др.
Технический результат – снижение затрат труда и времени на проведение каждой серии опытов.
Указанный технический результат достигается тем, что в известной установке для проведения лабораторных исследований, преимущественно капельниц, встроенных в полости гибкого поливного трубопровода, включающей станину с закрепленными на ней резервуаром и баком, гидравлически соединенным с резервуаром двухпозиционным краном и формирователем капель, согласно изобретению формирователь капель образован установленными в резервуаре двумя параллельными штангами, оппозитно и попарно размещенными на их заходных конических поверхностях концами поливных трубопроводов, имеющих, по крайней мере, одну встроенную в полости гибкого поливного трубопровода капельницу, и обращенным вниз водовыпускным отверстием, концы каждого гибкого поливного трубопровода зафиксированы накидными гайками на резьбовых участках ниппелей, под каждым водовыпускным отверстием гибкого поливного трубопровода с возможностью перевода в рабочее и нерабочее положения установлен мерный цилиндр, размещенный в механизме группового привода, одна из упомянутых штанг через двухпозиционный кран гидравлически связана с имеющим электропривод насосом, размещенным в баке, на другом конце названной штанги смонтирован контрольный манометр и дополнительный двухпозиционный кран, соединенный отводным рукавом, при этом на концах другой штанги размещены заглушка и редукционный клапан; механизм группового привода мерных цилиндров в рабочее и нерабочее положения выполнен в виде П-образной штанги, размещенной в парах направляющих, смонтированных в стенках резервуара, и кассета для установки в вертикальном положении мерных цилиндров; кассета армирована упругим материалом; резервуар размещен на станине над баком и емкость бака в 3-4 раза больше емкости резервуара; бак снабжен термометром, ареометром и трубчатым электрическим нагревателем для изменения температуры воды.
Изобретение поясняется чертежами.
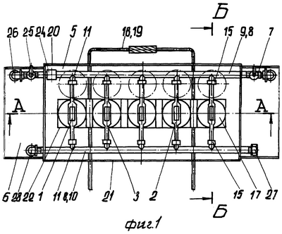
На фиг.1 представлена установка для проведения лабораторных исследований, преимущественно капельниц, встроенных в полости гибкого поливного трубопровода, вид в плане.
На фиг.2 – сечение А-А на фиг.1, поперечно-вертикальный разрез установки.
На фиг.3 – сечение Б-Б на фиг.1, продольно-вертикальный разрез гибкого поливного трубопровода со встроенной капельницей, размещенной над мерным цилиндром.
Сведения, подтверждающие возможность реализации заявленного изобретения, заключаются в следующем.
Установка для проведения лабораторных исследований, преимущественно капельниц 1, встроенных в полости 2 гибкого поливного трубопровода 3, включает станину 4 с закрепленными на ней резервуаром 5 и баком 6. Бак 6 гидравлически соединен с резервуаром 5 двухпозиционным краном 7 и формирователем 8 капель (см. фиг.1-3).
Формирователь 8 капель образован установленными в резервуаре 5 двумя параллельными штангами 9 и 10. На штангах 9 и 10 оппозитно и попарно размещены ниппели 11. На концах ниппелей 11 выполнены заходные конические поверхности 12 для фиксирования концов 13 гибких поливных трубопроводов 3. В каждом фрагменте гибкого поливного трубопровода 3, по крайней мере, должна быть одна встроенная в его полости 3 капельница 1. Водовыпускное отверстие 14 в стенке гибкого поливного трубопровода 3 обращено вниз, т.е. в сторону донной части резервуара 5, концы 13 каждого гибкого поливного трубопровода 3 зафиксированы на заходных конических поверхностях 12 ниппелей 11 накидными гайками 15, навинченными на резьбовые участки 16 ниппелей 11. Под каждым водовыпускным отверстием 14 в стенке гибкого поливного трубопровода 3 с возможностью перевода в рабочее и нерабочее положения установлен мерный цилиндр 17.
Мерные цилиндры 17 размещены в механизме 18 группового привода. Механизм 18 группового привода мерных цилиндров 17 в рабочее и нерабочее положения выполнен в виде П-образной штанги 19. Штанга 19 размещена в парах направляющих, смонтированных в стенках 20 и 21 резервуара 5. На штанге 19 с возможностью демонтажа размещена кассета 22 для установки в вертикальном положении мерных цилиндров 17. Кассета 22 армирована упругим материалом.
Одна из упомянутых штанг 9 через двухпозиционный кран 7 гидравлически связана с имеющим электропривод насосом 23. Насос 23 размещен в баке 6. На другом конце названной штанги 9 смонтирован контрольный манометр 24 и дополнительный двухпозиционный кран 25. Дополнительный двухпозиционный кран 25 соединен с отводным рукавом 26.
На концах другой штанги 10 размещены заглушка 27 и редукционный клапан 28.
Бак 6 снабжен термометром, ареометром и трубчатым электрическим нагревателем (ТЭН) мощностью 500 Вт и напряжением 220 В для изменения температуры воды. Резервуар 5 размещен на станине 4 над баком 6. Резервуар 5 имеет водовыпускной патрубок 29. Емкость бака 6 в 3-4 раза больше емкости резервуара 5. Бак 6 снабжен патрубком 30 и двухпозиционным краном 31 для слива воды.
Установка для проведения лабораторных исследований работы капельниц, встроенных в полости гибкого поливного трубопровода, работает следующим образом.
В бак 6 заливают воду, соответствующую требованиям для испытания капельниц 1. Затем на конические поверхности 12 ниппелей 11 монтируют концы 13 фрагментов гибких поливных трубопроводов 3. Концы 13 испытуемых трубопроводов 3 на ниппелях 11 фиксируют накидными гайками. Далее открывают оба двухпозиционных крана 7 и 25. Включают в сеть переменного тока электропривод насоса 23. При работающем насосе 23 вода из бака 6 засасывается и под напором по вертикальному трубопроводу гидравлической сети установки поступает в полость крана 7, а затем – в полость штанги 9 каплеобразователя 8. Перемещаясь по пути наименьшего сопротивления, вода поступает в полость крана 25 и по отводному рукаву 26 сбрасывается в бак. Механизмом 18 мерные цилиндры 17 отводят в нерабочее положение (см. фиг.1). Далее дополнительный кран 25 медленно закрывают. Давление воды в полости штанги 9 возрастает. При нарастании давления воды из полостей 2 испытуемых гибких поливных трубопроводов 3 вытесняется воздух и при частично открытой заглушке 27 стравливается в атмосферу. При полностью выдавленном воздухе заглушку 27 на конце штанги 10 закрывают. Из каждого водовыпускного отверстия 14 трубопровода 3 на донную поверхность резервуара 5 капают капли воды. Далее, частично закрывая кран 25, поднимают рабочее давление воды, а величину рабочего давления отслеживают по показаниям стрелки контрольного манометра 24.
Проверив сопряжения концов 13 испытуемых трубопроводов 3 с ниппелями 11, приступают к проведению серии опытов с капельницами 1. Повышают давление в гидравлической сети, например, до 2 бар.
Механизмом 18 мерные цилиндры 17 приводят в рабочее положение. Включают секундомер. В течение заданного времени через водовыпусные отверстия 14 в каждый мерный цилиндр 17 поступает определенное количество воды. По истечении 0,5 часа одновременно мерные цилиндры 17 механизмом 18 отводят в нерабочее положение. Благодаря делениям на мерных цилиндрах с точностью до 0,1 см3 считывают объем воды. По полученным данным устанавливают фактический расход капельницы 1 в л/ч.
Аналогичным образом устанавливают расход капельниц при давлениях 4, 6, 8 и 10 бар, при разных температурах воды, ее минерализации, степени очистки от взвесей и др.
Затем меняют поливные трубопроводы 3 с иными капельницами 1 и повторяют опыты согласно принятой методике исследований.
При испытании гибких поливных трубопроводов 3 без капельниц 1 на предельное давление воды в гидравлической сети редукционный клапан 28 устанавливают на срабатывание 10 бар. При закрытии крана 25 отслеживают по манометру 24 величину давления, при котором испытуемый трубопровод 3 выходит из строя (вздутие, порыв, разрывы по шву и т.д.).
Таким образом, описанная установка обеспечивает достижение указанного технического результата.
Формула изобретения
1. Установка для проведения лабораторных исследований, преимущественно капельниц, встроенных в полости гибкого поливного трубопровода, включающая станину с закрепленными на ней резервуаром и баком, гидравлически соединенным с резервуаром двухпозиционным краном и формирователем капель, отличающаяся тем, что формирователь капель образован установленными в резервуаре двумя параллельными штангами, оппозитно и попарно размещенными на них ниппелями, смонтированными на их заходных конических поверхностях концами гибких поливных трубопроводов, имеющих, по крайней мере, одну встроенную в полости гибкого поливного трубопровода капельницу, и обращенным вниз водовыпускным отверстием, концы каждого гибкого поливного трубопровода зафиксированы накидными гайками на резьбовых участках ниппелей, под каждым водовыпускным отверстием гибкого поливного трубопровода с возможностью перевода в рабочее и нерабочее положения установлен мерный цилиндр, размещенный в механизме группового привода, одна из упомянутых штанг через двухпозиционный кран гидравлически связана с имеющим электропривод насосом, размещенным в баке, на другом конце названной штанги смонтирован контрольный манометр и дополнительный двухпозиционный кран, соединенный отводным рукавом, при этом на концах другой штанги размещены заглушка и редукционный клапан.
2. Установка по п.1, отличающаяся тем, что механизм группового привода мерных цилиндров в рабочее и нерабочее положения выполнен в виде П-образной штанги, размещенной в парах направляющих, смонтированных в стенках резервуара, и кассета для установки в вертикальном положении мерных цилиндров.
3. Установка по п.2, отличающаяся тем, что кассета армирована упругим материалом.
4. Установка по п.1, отличающаяся тем, что резервуар размещен на станине над баком и емкость бака в 3-4 раза больше емкости резервуара.
5. Установка по п.1, отличающаяся тем, что бак снабжен термометром, ареометром и трубчатым электрическим нагревателем для изменения температуры.
РИСУНКИ
MM4A – Досрочное прекращение действия патента СССР или патента Российской Федерации на изобретение из-за неуплаты в установленный срок пошлины за поддержание патента в силе
Дата прекращения действия патента: 31.08.2008
Извещение опубликовано: 10.05.2010 БИ: 13/2010
|
|