|
|
(21), (22) Заявка: 2006105174/12, 20.02.2006
(24) Дата начала отсчета срока действия патента:
20.02.2006
(46) Опубликовано: 20.11.2007
(56) Список документов, цитированных в отчете о поиске:
SU 1005691 А, 23.03.1983. SU 954027 А, 30.08.1982. SU 927161 А, 15.05.1982.
Адрес для переписки:
440014, г.Пенза, ул. Ботаническая, 30, ФГОУ ВПО “Пензенская государственная сельскохозяйственная академия”
|
(72) Автор(ы):
Емельянов Павел Александрович (RU), Знаев Евгений Иванович (RU), Абрамов Евгений Николаевич (RU), Аксенов Александр Геннадьевич (RU)
(73) Патентообладатель(и):
ФГОУ ВПО “Пензенская государственная сельскохозяйственная академия” (RU)
|
(54) УСТРОЙСТВО ПОШТУЧНОЙ ПОДАЧИ И ОРИЕНТАЦИИ МАТОЧНИКОВ КОНИЧЕСКОЙ ФОРМЫ ДЛЯ ПОСАДОЧНОЙ МАШИНЫ
(57) Реферат:
Изобретение относится к области сельскохозяйственного машиностроения. Устройство включает механизм подачи, который представляет собой плоский приемный лоток. Он наклонен к горизонту под углом на 1-2° больше, чем угол трения качения маточников по его поверхности. Над лотком на его сходе установлен лопастной ротор поштучной подачи с эластичными лопастями. Под приемным лотком установлен механизм ориентации. Он выполнен в виде вертикально расположенной трубы прямоугольного сечения. Труба изготовлена из легкого листового материала. На ее передней и задней стенках установлены гибкие упругие разрозненные элементы в виде гребенок. Они расположены не менее чем в два яруса таким образом, что свободные их концы образуют V-образный желоб, открытый снизу и сверху. На выходе трубы по периметру сечения смонтирована стабилизирующая воронка из гибких упругих элементов. На одной оси с воронкой, под ориентирующим устройством установлена приемопередающая воронка. Она состоит из двух створок, одна из которых неподвижна, а вторая закреплена шарнирно и удерживается в закрытом положении пружиной. Использование изобретения позволит поштучно подавать и ориентировать маточники конической формы независимо от их размеров и конусности. 3 ил.
Изобретение относится к области сельскохозяйственного машиностроения, в частности к устройствам поштучной подачи и ориентации маточников конической формы для посадочной машины.
Известны машины и посадочные аппараты для посадки корнеплодов конической формы, например: А.С. СССР №422372, МКИ А01С 11/02, Б.И. №13 1974 г.; А.С. СССР №1056945, МКИ А01С 11/02, Б.И. №44 1983 г.; А.С. СССР №145400, МКИ А01С 11/02, Б.И. №5 1962; А.С. СССР №897143, МКИ А01С 11/02, Б.И. №2 1982 г. и др. Эти машины не обеспечивают полностью выполнения агротехнических требований, имеют сложную конструкцию и невысокую производительность.
Ведутся работы по совершенствованию посадочных машин в направлении исключения ручного труда путем механизации поштучной подачи маточников с их ориентацией в высаживающие конусы посадочных аппаратов.
Известны устройства для ориентирования предметов конической формы и сахарной свеклы, например: А.С. СССР №1144643, МКИ А01С 11/00, Б.И. №10 1985 г.; А.С. СССР №563136, МКИ А01С 11/00, В65G 47/24, Б.И. №24 1977 г.; А.С. СССР №244162, Б.И. №7 1969 г.; А.С. СССР №361934, Б.И. №2 1973 г.; А.С. СССР №475973, Б.И. №25 1969 г. и др. Эти устройства имеют низкую производительность и обеспечивают ориентацию небольшого размерного диапазона корнеплодов.
Известно устройство для ориентации корнеплодов к посадочной машине (Патент РФ №2237397, МКИ А01С 11/00, 11/02, Б.И. №28 от 10.10.2004 г.), содержащее бесконечный тяговый элемент с захватами, перемещающийся в V-образном желобе, открытом сверху и снизу, и имеющем горизонтальный ориентирующий участок прямолинейной формы. Бесконечный тяговый элемент установлен сбоку от V-образного желоба и расположен параллельно одной из боковин V-образного желоба. Угол между боковинами V-образного желоба меньше минимального значения угла конусности корнеплода.
Корнеплоды поштучно подаются в ориентирующее устройство сверху, до соприкосновения с ориентирующими поверхностями V-образного желоба. Приобретенная центром масс корнеплода линейная скорость преобразуется в угловую скорость разворота. Корнеплод зависает на уровне плоскости максимального диаметра с опорой в двух точках, являющихся воображаемой осью вращения корнеплода при его развороте, и выносится к посадочному аппарату скребками. Если корнеплод фиксируется в створе ориентирующих поверхностей хвостовой частью вверх, то он принудительно разворачивается лопастями битерного барабана.
Недостатки данного устройства: строгий жестко фиксированный угол между ориентирующими поверхностями V-образного желоба ограничивает размерный диапазон ориентируемых корнеплодов и снижает качество ориентирования (из-за большого разброса угла конусности хвостовой части корнеплодов); ориентирующие поверхности V-образного желоба в процессе работы загрязняются остатками почвы, что меняет угол между ориентирующими поверхностями, их конфигурацию и коэффициент трения, процесс ориентации приобретает случайный характер, изменяются кинематические режимы подачи корнеплодов от ориентирующего устройства, что ведет к пропускам в работе посадочного аппарата и снижает качество ориентирования; механизм ориентации сложен по конструкции, имеет много кинематических передач, низкую производительность и требует постоянного контроля своей работы.
Наиболее близкой по технической сущности к заявленному изобретению является машина для посадки маточников сахарной свеклы (А.С. СССР №1005691, МКИ А01С 11/00, Б.И. №11 1983 г.), включающая бункер с расположенным на его задней наклонной стенке транспортером, установленный под бункером механизм подачи с доской, механизм ориентации и механизм закладки маточников в посадочный аппарат.
Механизм подачи выполнен в виде последовательно расположенных в вертикальной трубе заслонок, связанных посредством кривошипного механизма с посадочным колесом. Механизм ориентации представляет собой наклонную плоскость с закрепленной на ней треугольной призмой и горизонтальный клиноременный транспортер со шкивами, диаметр которых увеличивается от середины транспортера к его краям. Механизм закладки маточников выполнен в виде воронки, в нижней части которой установлена подвижная заслонка, которая удерживается в закрытом положении пружиной.
Машина работает следующим образом. Маточники из бункера с помощью транспортера подаются в приемник механизма подачи, который поштучно подает маточники на наклонную плоскость с треугольной призмой. Если маточник идет корешком вниз, он скользит по призме и попадает корешком на крайние ремни транспортера. Вследствие различной скорости ремней транспортера маточник будет повернут вдоль транспортера хвостовой частью вперед. Если маточник идет головкой вниз, то он, двигаясь по наклонной плоскости, зацепляется головкой за трехгранную призму, а хвостовая часть разворачивается и также падает на крайние ремни транспортера, что ориентирует маточник хвостовой частью вперед. Сориентированный маточник направляется в механизм закладки, откуда попадает в высаживающий конус роторного посадочного аппарата при набегании кулачка высаживающего конуса на штырь-толкатель подпружиненной заслонки механизма закладки.
Недостатками данной машины являются ненадежность механизмов подачи и ориентации, связанная с тем, что кроме описанных случаев взаимодействия маточника и трехгранной призмы, возможны и другие случаи, например, падение маточника на ребро призмы и отскок его в любом произвольном направлении. Возможно падение маточника на призму в поперечном направлении, при котором ориентация будет стохастической. Механизм подачи сложен по конструкции, имеет низкую производительность и не обеспечивает согласованной поштучной подачи маточников.
Предлагаемое изобретение направлено на устранение указанных недостатков, упрощение конструкции, повышение производительности и улучшение качества ориентирования путем использования свойства маточников конической формы самоориентироваться под действием смещенного центра тяжести.
Задача решена тем, что в устройстве поштучной подачи и ориентации маточников конической формы для посадочной машины механизм подачи представляет собой плоский приемный лоток, наклоненный к горизонту под углом на 1-2° больше, чем угол трения качения маточников по его поверхности, над которым на сходе установлен лопастной ротор поштучной подачи с эластичными лопастями, под приемным лотком установлен механизм ориентации, выполненный в виде вертикально расположенной трубы прямоугольного сечения, изготовленной из легкого листового материала, на передней и задней стенках которой установлены гибкие упругие разрозненные элементы в виде гребенок, расположенные не менее чем в два яруса таким образом, что свободные их концы образуют V-образный желоб, открытый снизу и сверху, на выходе трубы по периметру сечения смонтирована стабилизирующая воронка из гибких упругих элементов, на одной оси с которой под ориентирующим устройством установлена приемопередающая воронка, состоящая из двух створок, одна из которых неподвижна, а вторая закреплена шарнирно и удерживается в закрытом положении пружиной.
Остальные признаки заявляемого устройства частные, поскольку характеризуют лишь конкретное исполнение того или иного узла.
Изобретение поясняется чертежами.
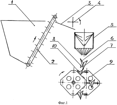
На фиг.1 изображена принципиальная схема устройства поштучной подачи и ориентации маточников конической формы для посадочной машины, вид сбоку.
На фиг.2 – схема устройства поштучной подачи и ориентации маточников, вид сверху на фиг.1.
На фиг.3 – схема ориентирующего устройства на трех видах: вид спереди; вид сбоку; вид сверху.
Устройство поштучной подачи и ориентации маточников конической формы для посадочной машины включает бункер 1 (фиг.1). На задней наклонной стенке бункера 1 установлен крутонаклонный скребковый транспортер 2, на сходе которого расположен механизм подачи.
Механизм подачи представляет собой плоский приемный лоток 3, наклоненный к горизонтали под углом на 1-2° больше, чем угол трения качения маточников по его поверхности, над которым на сходе установлен лопастной ротор поштучной подачи 4 с эластичными лопастями 1 (фиг.2) закрепленными на валу 2. Под приемным лотком 3 (фиг.1) установлен механизм ориентации 5, который состоит из корпуса 1 (фиг.3), выполненного в виде вертикально расположенной трубы прямоугольного сечения, изготовленной из легкого листового материала. На передней и задней стенках корпуса 1 установлены гибкие упругие разрозненные элементы 2 в виде гребенок, расположенные не менее чем в два яруса таким образом, что свободные их концы образуют V-образный желоб, открытый снизу и сверху. На выходе трубы по периметру сечения смонтирована стабилизирующая воронка 3 из гибких упругих элементов, на одной оси с которой под ориентирующим устройством 5 (фиг.1) установлена приемопередающая воронка, состоящая из двух створок, одна из которых 6 неподвижна, а вторая 7 закреплена шарнирно и удерживается в закрытом положении пружиной 8.
Устройство работает следующим образом.
Маточники из бункера 1 выбираются крутонаклонным скребковым транспортером 2, где они занимают горизонтальное устойчивое положение, и в этом положении поступают на приемный лоток 3, по плоской наклонной поверхности которого они перекатываются к его краю. Лопастной ротор поштучной подачи 4, установленный над приемным лотком 3, вращаясь, своими эластичными лопастями поштучно подает маточники в горизонтальном положении сверху в V-образный желоб ориентирующего устройства 5. В V-образном желобе, поверхность которого образована свободными концами гибких упругих элементов 2 (фиг.3), маточник зависает на уровне плоскости максимального диаметра с опорой в двух точках, являющихся опорными точками воображаемой оси вращения маточника, относительно которой маточник разворачивается хвостовой частью вниз и одновременно проваливается вниз из-за прогиба гибких упругих элементов 2. Самоориентация (разворот) маточников хвостовой частью вниз происходит за счет того, что центр тяжести маточника смещен от воображаемой оси вращения в сторону хвостовой части. В стабилизирующей воронке 3 из гибких упругих элементов маточник окончательно ориентируется хвостовой частью вниз и направляется в приемопередающую воронку, откуда передается в высаживающий конус 10 (фиг.1) роторного посадочного аппарата 9 при набегании на шарнирно закрепленную створку 7 приемопередающей воронки, которая возвращается в исходное положение пружиной 8.
Работа лопастного ротора поштучной подачи 4 и открытие подвижной створки 7 приемопередающей воронки синхронизировано с работой роторного посадочного аппарата 9 посредством цепной передачи и рычажного механизма.
Использование гибких упругих элементов в качестве ориентирующей поверхности в V-образном желобе позволяет самоориетироваться всем маточникам конической формы независимо от их размеров.
Описанное устройство позволяет достигать высокую степень самоориентации маточников, так как процесс их ориентации осуществляется за счет физических свойств маточников (смещенный центр тяжести, коническая форма) и использования гибких упругих элементов в V-образном желобе.
Предлагаемое изобретение по сравнению с прототипом позволяет поштучно подавать и ориентировать маточники конической формы независимо от их размеров и угла конусности хвостовой части, снизить процент посадки головкой вниз до 0,1-1%, исключить опасный ручной труд сажальщиков, в 1,5-2 раза снизить себестоимость процесса высадки, повысить урожайность (на 10-15%) и производительность (на 15-20%). Механизм несложен по конструкции, прост и надежен в эксплуатации.
Формула изобретения
Устройство поштучной подачи и ориентации маточников конической формы для посадочной машины, включающее бункер с расположенным на его задней наклонной стенке транспортером, механизм подачи, механизм ориентации и механизм закладки маточников в посадочный аппарат, отличающееся тем, что механизм подачи представляет собой плоский приемный лоток, наклоненный к горизонту под углом на 1-2° больше, чем угол трения качения маточников по его поверхности, над которым на сходе установлен лопастной ротор поштучной подачи с эластичными лопастями, под приемным лотком установлен механизм ориентации, выполненный в виде вертикально расположенной трубы прямоугольного сечения, изготовленной из легкого листового материала, на передней и задней стенках которой установлены гибкие упругие разрозненные элементы в виде гребенок, расположенные не менее, чем в два яруса таким образом, что свободные их концы образуют V-образный желоб открытый снизу и сверху, на выходе трубы по периметру сечения смонтирована стабилизирующая воронка из гибких упругих элементов, на одной оси с которой под ориентирующим устройством установлена приемопередающая воронка, состоящая из двух створок, одна из которых неподвижна, а вторая закреплена шарнирно и удерживается в закрытом положении пружиной.
РИСУНКИ
MM4A – Досрочное прекращение действия патента СССР или патента Российской Федерации на изобретение из-за неуплаты в установленный срок пошлины за поддержание патента в силе
Дата прекращения действия патента: 21.02.2008
Извещение опубликовано: 27.12.2009 БИ: 36/2009
|
|