|
|
(21), (22) Заявка: 2006107488/12, 10.03.2006
(24) Дата начала отсчета срока действия патента:
10.03.2006
(46) Опубликовано: 20.11.2007
(56) Список документов, цитированных в отчете о поиске:
RU 2210201 C1, 20.08.2003. RU 2129767 C1, 10.05.1999. RU 2192111 C2, 10.11.2002.
Адрес для переписки:
660049, г.Красноярск, пр. Мира, 90, ФГОУ ВПО КрасГАУ, патентоведу Т.А.Лобановой
|
(72) Автор(ы):
Вишняков Андрей Анатольевич (RU), Вишняков Анатолий Степанович (RU), Богульский Игорь Олегович (RU), Богульская Нина Александровна (RU), Каркавин Дмитрий Алексеевич (RU), Козлов Владимир Александрович (RU)
(73) Патентообладатель(и):
Федеральное образовательное учреждение высшего профессионального образования Красноярский Государственный Аграрный Университет (RU)
|
(54) ВЫСЕВАЮЩИЙ АППАРАТ СЕЯЛКИ
(57) Реферат:
Изобретение относится к области сельскохозяйственного машиностроения. Аппарат содержит закрепленный на раме бункер. Внизу бункера на гибких подвесках подвешено высевающее устройство. Последнее выполнено прямоугольной формы и имеет наконечники семяпроводов. Высевающее устройство снабжено приводом для его колебания. Внутри корпуса высевающего устройства над дном и параллельно ему установлена сплошная перегородка. В перегородке выполнены четыре отверстия и четыре выреза у краев обеих ее осевых линий для крепления ее плотно без зазоров к стенкам корпуса. Кроме этого, в ней выполнены два отверстия вдоль большой оси посредине между малой осью и торцевыми стенками корпуса. В этих отверстиях закреплены наконечники в виде трубок. На трубки надеты резиновые шланги. Вторыми концами шланги присоединены к другим наконечникам. Последние прикреплены к стенкам нижней горловины бункера, имеющих окна. Нижние края окон и примыкающие к ним скаты козырька выполнены полукруглой формы. Высевающий аппарат имеет упрощенную конструкцию. Использование изобретения позволит повысить качество высева семян за счет сохранения постоянного их уровня в высевающем устройстве независимо от рельефа засеваемой сеялкой поля. 4 ил.
Изобретение относится к сельскохозяйственному машиностроению, в частности к сеялкам.
Известен высевающий аппарат, содержащий закрепленный на раме сеялки бункер, подвешенное к нему снизу на гибких подвесах высевающее устройство с выполненными в его дне высевными отверстиями. Нижняя часть бункера оканчивается прямоугольной по форме горловиной. Дном нижней горловины бункера служит двухскатный козырек. В стенках горловины бункера, к которым примыкают нижние обрезы скатов козырька, имеются окна, перекрываемые регулируемыми по вертикали дозаторами, причем уровень семян в высевающем устройстве определяется расстоянием по вертикали между нижними кромками стенок дозаторов и дном высевающего устройства. (Патент РФ №2129767, А01С 7/04. Бюл. №13, 10.05.1999).
Недостатком такой конструкции аппарата является размещение окон дозаторов в зоне высевных отверстий, что создает различные для них условия высева по сравнению с другими, удаленными от этих окон дозаторов.
Кроме того, результатом непосредственного контакта колеблющегося слоя семян в высевающем устройстве и семян, поступающих из бункера через окна дозатора, является принудительный вынос семян за пределы окон, что приводит к увеличению их уровня в высевающем устройстве. Это обстоятельство не только снижает расход семян через высевные отверстия, но и повышает неравномерность их высева через эти отверстия. Колебания уровня семян в высевающем устройстве особенно характерно при работе сеялки на полях с пересеченным рельефом местности.
Наиболее близким к предложенному, предназначенному для поддержания постоянного уровня колеблющихся семян, является высевающий аппарат сеялки, включающий бункер, закрепленный на раме сеялки, и подвешенное к нему на гибких подвесках высевающее устройство с высевными отверстиями и установленными под ним с наконечниками семяпроводов и привод его колебаний, причем горловина бункера прямоугольной формы размещена внутри корпуса высевающего устройства, а ее дном является двухскатный козырек в стенках горловины, к которым примыкают нижние края скатов козырька, предусмотрены окна, перекрываемые регулируемыми по вертикали дозаторами, причем каждый из дозаторов изготовлен раздвижным, подвижной выполнена его нижняя часть, в боковинах ее, внизу установлена ось с двухлопастным клапаном, на одной из его лопастей, с тыльной стороны в стойках, закреплена ось, концы которой выведены в обе стороны за пределы дозаторов, на них установлены пластмассовые пустотелые поплавки так, что их нижние плоскости и торцы нижних обрезов стенок подвижных частей дозаторов расположены в одной горизонтальной плоскости, а каждый из дозаторов расположен в карманах, которые выполнены в обеих боковых стенках корпуса высевающего устройства (Патент РФ №2210201, А01С 7/16. Бюл. №23, 20.08.2003, прототип).
Недостатком такого аппарата является сложность конструкции как высевающего устройства, так и дозаторов, предназначенных для сохранения постоянного уровня семян в высевающем устройстве. Размещение поплавков по обе стороны дозаторов на одной и той же оси не обеспечивает постоянства уровня семян в высевающем устройстве, особенно при работе семян на пересеченном рельефе засеваемого поля.
Задача изобретения – упрощение конструкции как высевающего устройства, так и нижней горловины бункера и повышение качества высева семян сеялкой за счет сохранения постоянного их уровня в высевающем устройстве независимо от пересеченности рельефа засеваемого поля.
Указанная задача решается за счет того, что в отличие от прототипа внутри корпуса высевающего устройства над дном и параллельно ему плотно без зазоров установлена и прикреплена к стенкам корпуса сплошная перегородка, в перегородке выполнены четыре отверстия и четыре выреза у краев обеих ее осевых линий и два отверстия вдоль большой оси посредине между малой осью и торцевыми стенками корпуса, в которых закреплены наконечники в виде трубок, на трубки надеты резиновые шланги, вторыми концами шланги присоединены к другим наконечникам, последние прикреплены к стенкам нижней горловины бункера, в которых выполнены окна, причем нижние края окон и примыкающие к ним скаты козырька выполнены полукруглой формы.
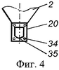
На фиг.1 изображен общий вид высевающего аппарата, вид спереди; на фиг.2 – крепление перегородки к торцевой стенке корпуса высевающего устройства; на фиг.3 – перегородка, вид сверху; на фиг.4 – нижняя горловина бункера, вид со стороны окна в стенке горловины.
Высевающий аппарат сеялки выполнен вибрационным и содержит раму 1 (фиг.1), на которой закреплен бункер 2 посредством кронштейна 3, для чего к бункеру приварены пластины 4, усиленные косынками 5. Крепление бункера 2 к кронштейну 3 и кронштейна к раме 1 осуществляется болтовыми соединениями 6. К бункеру 2 снизу через гибкие подвески 7 присоединяется высевающее устройство 8 прямоугольной формы с наконечниками семяпроводов 9. Привод 10 высевающего устройства смонтирован на горизонтальной полке 11, приваренной к вертикальному кронштейну 12 и усиленной косынками 13. Кронштейн 12 привода 10 закреплен на раме 1 посредством верхней 15 и нижней 14 накладок, приваренных к кронштейну болтовым соединением 16. Передача колебаний от привода 10 к левому высевающему аппарату 8 и правому (ввиду симметричности правый аппарат не показан) осуществляется посредством шатунов 17 и 18, а от левого к последующим – шатуном 19. Колебания всех левых и правых высевающих аппаратов выполняется в противофазе. К противоположным стенкам нижней горловины 20 бункера 2, примыкающих к скатам козырька 21, прикреплены наконечники 22, к которым присоединены резиновые шланги 23. Вторые концы шлангов закреплены в трубках 24, которые установлены в перегородке 25, расположенной над дном и параллельно дну 26 корпуса высевающего устройстве 8. Перегородка 25 (фиг.2) крепится к боковым и торцевым 27 стенкам корпуса высевающего устройства 8 с помощью уголков 28. Уголки 28 присоединены к стенкам корпуса высевающего устройства, в том числе и к торцевой стенке 27, винтами 29.
На горизонтальные полки уголков 28 устанавливается перегородка 25 и закрепляется винтами 30. Чтобы обеспечить плотное без зазоров прилегание сплошной перегородки 25 к стенкам корпуса высевающего устройства 8, в ней у краев обеих ее осевых линий выполнено четыре выреза 31, а также 4 отверстия 32 под винты 30 (фиг.3). В перегородке 25 вдоль большой ее оси посредине между малой осью и торцевыми стенками корпуса, симметрично относительно малой оси, выполнены два отверстия 33, в которых закреплены наконечники в виде трубок 24, а на трубки надеты резиновые шланги 23. Вторыми концами резиновые шланги 23 присоединены к другим наконечникам 22, последние прикреплены к стенкам нижней горловины 20 бункера 2, в которых выполнены окна 35.
В стенках нижней горловины 20 бункера 2, примыкающих к скатам двухскатного козырька 21, с помощью отверстий 34 присоединяются винтами наконечники 22 резиновых шлангов 23 (фиг.4). Нижние края окон 35 и примыкающие к ним скаты двухскатного козырька 21 горловины бункера 2 имеют полукруглую форму.
Рабочий процесс высевающего аппарата сеялки протекает следующим образом.
Засыпанные в бункер 2 семена за счет своей сыпучести поступают в нижнюю горловину 20 и двухскатным козырьком 21 делятся на два потока (на фиг.1 показано стрелками). Каждый из этих потоков через окна, выполненные в стенках нижней горловины 20 бункера 2 и наконечники 22, прикрепленные к этим стенкам, поступают в резиновые шланги 23 и далее через трубки 24 во внутреннюю полость высевающего устройства 8. Самопроизвольное заполнение полости высевающего устройства семенами будет происходить до тех пор, пока вершины горок семян не достигнут перегородки 25. При включении привода 10 высевающего устройства за счет его колебаний произойдет выравнивание семенного материала и дальнейшее его поступление из бункера 2 будет до тех пор, пока верхний слой семян не достигнет перегородки 25.
В процессе работы аппарата семена из высевающего устройства 8 через его высевные отверстия, наконечники семяпроводов 9 и семяпроводы (на схеме не показаны) будут поступать в бороздки, образованные сошниками, и заделываться почвой.
Уровень семян в высевающем устройстве будет поддерживаться за счет их поступления самотеком из бункера. Одинаковый режим колебаний семян, поступающих из бункера через трубки, установленные в перегородке и семян в высевающем устройстве устраняет возможное переуплотнение слоя колеблющихся семян в высевающем устройстве при постоянном их уровне.
Постоянный уровень семян в высевающем устройстве, определяемый установленной перегородкой 25, будет обеспечивать одинаковые условия для равномерного их высева через все высевные отверстия. Эти условия будут сохраняться и при работе сеялки на полях с пересеченным рельефом местности.
Предложенный вибрационный высевающий аппарат за счет конструктивного изменения позволяет расширить функциональные возможности сеялки и обеспечить качественный высев семян вне зависимости от рельефа засеваемого поля.
Высевающий аппарат может быть легко реализован в сельскохозяйственном производстве.
Формула изобретения
Высевающий аппарат сеялки, содержащий закрепленный на раме бункер, подвешенное к нему снизу на гибких подвесках высевающее устройство прямоугольной формы с наконечниками семяпроводов и привод для его колебания, причем горловина бункера прямоугольной формы размещена внутри корпуса высевающего устройства и ее дном является двухскатный козырек, а в стенках горловины, к которым примыкают нижние края скатов козырька, выполнены окна, отличающийся тем, что внутри корпуса высевающего устройства над дном и параллельно ему установлена сплошная перегородка, в которой выполнены четыре отверстия и четыре выреза у краев обеих ее осевых линий для ее крепления плотно без зазоров к стенкам корпуса, и два отверстия вдоль большой оси посредине между малой осью и торцевыми стенками корпуса для закрепления в них наконечников в виде трубок, с надетыми на них резиновыми шлангами, вторые концы которых соединены с другими наконечниками, прикрепленными к стенкам нижней горловины бункера, имеющим окна, причем нижние края окон и примыкающие к ним скаты козырька выполнены полукруглой формы.
РИСУНКИ
MM4A – Досрочное прекращение действия патента СССР или патента Российской Федерации на изобретение из-за неуплаты в установленный срок пошлины за поддержание патента в силе
Дата прекращения действия патента: 11.03.2008
Извещение опубликовано: 20.02.2010 БИ: 05/2010
|
|