|
|
(21), (22) Заявка: 2006106083/12, 26.02.2006
(24) Дата начала отсчета срока действия патента:
26.02.2006
(46) Опубликовано: 20.11.2007
(56) Список документов, цитированных в отчете о поиске:
SU 407541 A1, 08.04.1974. SU 1632384 A1, 07.03.1991. US 4751971 A, 21.06.1980. DE 2553183 B1, 17.03.1977.
Адрес для переписки:
400062, г.Волгоград, пр. Университетский, 97, ГНУ ВНИИагролесомелиорации
|
(72) Автор(ы):
Корпушов Сергей Александрович (RU), Кулик Константин Николаевич (RU), Петров Владимир Иванович (RU), Салдаев Александр Макарович (RU), Терюков Александр Гаврилович (RU)
(73) Патентообладатель(и):
Государственное научное учреждение Всероссийский научно-исследовательский институт агролесомелиорации (RU)
|
(54) ОРУДИЕ ДЛЯ ПОДЕЛКИ ИСКУССТВЕННЫХ ВОДОСБОРОВ
(57) Реферат:
Изобретение относится к сельскохозяйственному машиностроению и может быть использовано при формировании лесопастбищ на аридных территориях. Орудие содержит вращающуюся вертикальную стойку с ножами, наконечником в нижней части и поводком с упором, контактирующим с поверхностью лунки. Каждый нож снабжен транспортирующим и режущим элементами. Транспортирующий элемент посредством талрепа, вертикально и соосно установленных шарниров соединен с режущим элементом. Нижние кромки транспортирующих и режущих элементов имеют лезвия. Рабочие кромки лезвий ориентированы вдоль образующей конической поверхности. Такое конструктивное выполнение позволит обеспечить при минимальных энергозатратах высокую производительность труда и снижение себестоимости создания лесопастбищ в субаридных и аридных территориях. 3 ил.
Изобретение относится к сельскохозяйственному машиностроению, в частности к техническим средствам для поделки искусственных водосборов при формировании лесопастбищ на аридных территориях.
Известен рабочий орган ямокопателя, состоящий из цилиндрического кожуха, штанги, наконечника, радиальных и боковых ножей, в котором, с целью повышения качества подготовки посадочных мест за счет обеспечения реверсивной работы, рабочий орган ямокопателя снабжен осями, шарнирно установленными на штанге и кожухе, на которых жестко закреплены попарно радиальные и боковые ножи с симметрично расположенными режущими кромками; на кожухе установлены регулируемые ограничители поворота, выполненные в виде упоров; радиальные ножи выполнены трапецеидальной формы (SU, авторское свидетельство №7848222, М. кл. А01С 5/04, 07.12.1980).
К недостаткам описанного рабочего органа ямокопателя применительно к решаемой нами проблеме относится малый объем приствольного круга для водосбора, а также наличие вероятности заклинивания радиальных ножей в цилиндрическом кожухе.
Известно устройство для бурения посадочных ямок, содержащее шнековый бур с приводом, смонтированный в кожухе с окнами, в зоне которых расположены выбрасыватели грунта, в котором, с целью исключения беспорядочного разбрасывания грунта вокруг ямки, каждый выбрасыватель грунта выполнен в виде зубчатого колеса, ось которого смонтирована на кожухе, причем зубья зубчатых колес расположены в окнах с возможностью взаимодействия с витками шнека (SU, авторское свидетельство №1005686, М. кл. А01С 5/04, 23.03.1983).
К недостаткам данного устройства для бурения посадочных ямок относятся низкая эксплуатационная надежность шнекового бура и зубчатых колес для удаления грунта. Описанное устройство не способно формировать кольцевую лунку вокруг посадочной ямки.
Известен также рабочий орган для выкопки посадочных ям, включающий приводную стойку, закрепленный в нижней ее части режущий элемент, транспортирующий элемент, установленный на стойке над режущими элементами, и центрирующий наконечник, в котором, с целью снижения энергозатрат на выкопку путем транспортировки почвы без взаимодействия со стенками забоя, режущий элемент установлен к горизонтальной плоскости под углом 40-45°, рабочая поверхность транспортирующего элемента – под углом 35-40°, а расстояние вдоль стойки между режущим и транспортирующим элементами определяется из выражения
L=(0,3-0,5)H,
где L – расстояние между режущими элементами;
Н – рабочая длина стойки.
Транспортирующий и режущий элементы выполнены в виде установленных на кронштейнах дисков со свободной осью вращения; с целью расширения технологических возможностей путем выкопки ям различных диаметров одним рабочим органом, в кронштейнах режущего и транспортирующего элементов выполнены радиальные пазы, в которых размещены оси дисков с возможностью фиксированного перемещения; на кронштейнах режущего элемента под дисками ближе к стойке установлены лемешки (SU, авторское свидетельство №1632384, М. кл. А01С 5/04, 07.03.1991).
К недостаткам описанного рабочего органа для выкопки посадочных ям относятся большие энергозатраты на двухфазное выполнение технологического процесса. Большие скорости резания не позволяют сформировать приствольный валик достаточной высоты.
Известна машина для подготовки посадочных площадок, включающая подрезающий почву нож с установленным за ним шнековым буром, закрепленным на раме, в которой, с целью повышения качества подготовки посадочных площадок заданного профиля, рама машины установлена на опорных колесах, обод которых имеет кривизну, описанную различными радиусами из центра, совпадающего с осью вращения колеса (SU, авторское свидетельство №414959. М. кл. А01С 5/04, А01В 13/16, Е02F 5/02, 15.11.1974).
Недостатком описанной машины применительно к решаемой нами проблеме является срезка верхнего корненасыщенного слоя, приводящая к дефляции почвы и уничтожению кормовых растений. Выполненные ямы под посадку саженцев не способны аккумулировать естественные осадки.
Известен также рабочий орган для подготовки посадочных площадок, выполненный в виде шнекового бура, имеющего горизонтально расположенный нож, в котором, с целью повышения качества подготовки посадочных площадок путем укладки гумусного слоя почвы на дно посадочных ям, нож снабжен отвалом и соединен с валом бура посредством связанных между собой кронштейна и обгонной муфты, установленной на валу бура, причем нож шарнирно закреплен на кронштейне, который снабжен упором, контактирующим с отвалом ножа (SU, авторское свидетельство №755233. М. кл. А01С 5/04, 15.08.1980).
К недостаткам вышеуказанного рабочего органа, принятого в качестве прототипа, относится то, что отвал производит лишь засыпку посадочной ямы, но не формирует вокруг нее лунку для водосбора.
Известно орудие для образования лунок, включающее вращающуюся вертикальную стойку с ножами и поводок с катком, контактирующим с поверхностью образованного вокруг лунки почвенного валика, в котором, с целью улучшения контакта катка с поверхностью почвенного валика независимо от величины заглубления стойки с ножами, поводок катка шарнирно прикреплен к стойке с возможностью перемещений в вертикальной плоскости, проходящей через ось стойки, а каток шарнирно прикреплен к поводку на оси, параллельной оси крепления поводка; поверхность катка выполнена по типу гиперболоида вращения; поводок подпружинен относительно стойки (SU, авторское свидетельство №407541. М. кл. А01С 5/04, А01В 49/02, 10.12.1973).
Это орудие нами принято в качестве наиближайшего аналога.
К недостаткам описанного орудия, несмотря на возможность формирования вокруг посадочной ямы почвенного валика, относятся малая площадь водосбора выполненной лунки, сам валик имеет большую степень неравномерности по высоте. Геометрия и форма диаметрально разнесенных ножей приводят к большим энергозатратам и заклиниванию в грунте в донной части посадочной ямки.
Сущность заявленного изобретения заключается в следующем.
Задача, на решение которой направлено изобретение, – сбор и концентрация естественных осадков в зоне посадочного места саженцев при формировании саванных редкостойных древесно-кустарниковых насаждений для изменения микроклимата территории.
Технический результат – высокая производительность труда и низкая себестоимость поделки искусственных водосборов с широким диапазоном диаметров лунок при формировании лесопастбищ в субаридных и аридных регионах.
Указанный технический результат достигается тем, что в известном орудии для поделки искусственных водосборов, содержащем вращающуюся вертикальную стойку с ножами, наконечником в нижней части и поводком с упором, контактирующим с поверхностью лунки, согласно изобретению каждый упомянутый нож снабжен транспортирующими и режущими элементами, при этом транспортирующий элемент посредством талрепа, вертикально и соосно ориентированных шарниров соединен с режущим элементом, нижние кромки транспортирующих и режущих элементов имеют лезвия, рабочие кромки которых ориентированы вдоль образующей конической поверхности лунки искусственного водосбора.
Изобретение поясняется чертежами.
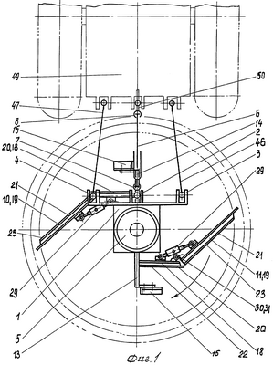
На фиг.1 схематично представлено орудие для поделки искусственных водосборов, вид в плане.
На фиг.2 – то же, вид справа.
На фиг.3 – сечение А-А на фиг.2, горизонтальное сечение талрепа в месте шарнирного соединения режущего элемента с транспортирующим элементом приводного ножа.
Сведения, подтверждающие возможность реализации заявленного изобретения, заключаются в следующем.
Орудие для поделки искусственных водосборов (см. фиг.1 и 2) содержит раму 1 с кронштейнами навески 2, 3 и 4, червячно-цилиндрический редуктор 5, карданный телескопический вал 6 с шарнирами Гука 7 и 8 по концам и вращающуюся вертикальную стойку 9 с ножами 10 и 11, наконечником 12 в нижней части стойки 9. На стойке 9 установлены диаметрально ориентированные поводки 13 и 14 с упорами 15. Упоры 15 контактируют с конической поверхностью 16 (фиг.2) лунки искусственного водосбора. Между наконечниками 12 и ножами 10 и 11 на стойке 9 размещены витки шнекового бура 17.
Каждый упомянутый нож 10 (11) с транспортирующим элементом 18 и режущим элементом 19. Транспортирующие элементы 18 закреплены перпендикулярно к диаметрально ориентированным поводкам 13, 14. Сопряженные с ними режущие элементы 19 смонтированы под углом к поводкам 13 и 14. Нижние кромки транспортирующих элементов 18 и режущих кромок 19 имеют лезвия 20 и 21. Рабочие кромки 22 и 23 лезвий 20 и 21 ориентированы вдоль образующей 24 конической поверхности 16 (см. фиг.2) лунки искусственного водосбора. Ножи 10 и 11 на вертикальной стойке 9 закреплены с возможностью демонтажа. Вертикальная стойка 9 в червячно-цилиндрическом редукторе 5 зафиксирована фасонными гайками на резьбовой части 25. Крутящий момент от червячного колеса редуктора 5 передается на шлицы 26 в верхней части стойки 9 (см. фиг.2). Полевой обрез 27 на удаленном конце режущего элемента 19 от оси вращающейся вертикальной стойки 9 выполнен с наклоном к оси симметрии стойки 9. Угол наклона (см. фиг.1 полевого обреза 27 выполнен равным или меньше угла естественного откоса почвы из слоя верхнего горизонта 28 (фиг.2). Каждый упор 15 выполнен в виде лыжи и смонтирован на конце поводка 13 (14) с возможностью переустановки по высоте вертикальной стойки 9.
Транспортирующий элемент 18 ножа 10 (11) посредством талрепа 29 (см. фиг.1-3), вертикально и соосно установленных шарниров 30 и 31 соединен с режущим элементом 19. Талреп 29 содержит стяжную гайку 32 с левой и правой навивками резьбовыми втулками 33 и 34, контргайку 35, винтов 36 и 37 с проушинами 38 и 39. Проушины 38 и 39 осями 40 и 41 соединены с кронштейнами 42 и 43 на тыльных сторонах транспортирующего элемента 18 и режущего элемента 19 каждого ножа 10 (11) (см. фиг.3)
Вертикально и соосно ориентированные шарниры 30 и 31 посредством пары кронштейнов 44 и 45 и тяги 46 соединяют транспортирующий элемент 18 с режущим элементом 19. Талреп 29 позволяет бесступенчато в широком диапазоне изменять удаление полевых обрезов 27 от оси вращения вертикальной стойки 9.
Орудие для поделки искусственных водосборов работает следующим образом.
Перед началом работы раму 1 орудия посредством пальцев и тяг 46, 47 и 48 гидронавесной системы трактора 49 соединяют с кронштейнами 2, 3 и 4. Карданный вал 6 шарниром Гука соединяют с валом отбора мощности (ВОМ) 50 трактора 49. Тягами 46-48 гидронавесной системы трактора 49 раму 1 поднимают в транспортное положение. Упоры 15 на диаметрально противоположных концах поводков 13 и 14 устанавливают по высоте для обеспечения заданной глубины лунки. Упоры 15 при вращении вертикальной стойки 9 ограничивают вертикальное перемещение ножей 10 и 11. Далее проверяют техническое состояние наконечника 12, витков шнека бура 17, рабочих кромок 22 и 23 лезвий 20 и 21 транспортирующих 18 и режущих 19 элементов. Затем включают ВОМ 50 агрегатируемого трактора 49 и на малых частотах (оборотах) вращения проверяют работу узлов привода вертикальной стойки 9.
При выезде на пастбище, отведенное под реконструкцию саванными древесными насаждениями, на поле отмечают согласно принятой схеме посадки центры лунок искусственных водосборов. Механизатор устанавливает орудие так, чтобы наконечник 12 бура 17 находился над центром лунки и переводит гидронавесную систему трактора в положение опускания. Наконечник под весом орудия внедряется в верхний горизонт 28 почвы. Далее включают ВОМ 50 трактора 49. При вращении вертикальной стойки 9 наконечник 12 врезается в почву верхнего слоя. Витками шнекового бура 17 выполняется посадочное место в виде полого цилиндра. При заглублении на установленную глубину шнекового бура 17 в работу вступают транспортирующие элементы 18 на поводках 13 и 14. Рабочими кромками 22 лезвий 20 вынутый шнековым буром 17 грунт из посадочного места 33 смещается на периферию. Одновременно с этим рабочие кромки 22 лезвий 20 разрабатывают слой почвы верхнего горизонта 28 и также смещают почвенные агрегаты на периферию. После заглубления наконечника 12 и шнекового бура 17 начинают действовать рабочие кромки 23 лезвий 21 и режущие элементы 19 ножей 10 и 11. Ими формируется конусная часть лунки для искусственного водосбора. Почва и грунт с поверхностей режущих элементов 19 ножей 10 и 11 сходит на поверхность пастбища. Полевыми обрезами 27 режущих элементов 19 формируется кольцевой вал вокруг посадочного места, увеличивая общую глубину лунки. Диаметр конусной части на поверхности лунки является превалирующим параметром при сборе естественных осадков. В осенне-зимний период в условиях аридной зоны выпадает наибольшее количество осадков в виде дождя, инея, снега, льда. Жидкие осадки стекают в цилиндрическое посадочное место и аккумулируются в нем. По мере оттаивания верхнего горизонта влага перераспределяется в нижние горизонты. Ранней весной посадку древесных насаждений ведут либо саженцами с комом земли, либо без него. В период вегетации растений поверхность 16 лунки заполняется листьями, переносимыми ветром остатками травянистой растительности, а в дальнейшем – мортмассой. Этим достигается мульчирование поверхности лунки. Выпадающие ливневые летние осадки аккумулируются в лунке, а мортмасса уменьшает интенсивность иссушения верхнего слоя. Благодаря искусственно созданному микроклимату саженцы укореняются и трогаются в рост. Кольцевой вал сдерживает прорастание сорной растительности на конической поверхности 16 лунки.
При работе на переуплотненных почвах из-за их низкой влажности и для выполнения лунок меньшего диаметра поступают следующим образом. Сначала отвинчивают контргайку 35, затем стяжную гайку 32 талрепа 29 навинчивают на винт 36 с правой навивкой. Расстояние между осями 40 и 41 уменьшается, а кронштейны 42 и 43 взаимно приближают тыльные плоскости транспортирующего элемента 18 ножа 10 и режущего элемента 19. Полевой обрез 27 режущего элемента 19 приближают к оси вращения стойки 9. Этим уменьшают радиус выполненной лунки. Далее контргайку 35 фиксируют вместе со стяжной гайкой 32 на винте 37 с левой навивкой. С транспортирующим элементом 19 ножа 11 поступают аналогичным образом.
Таким образом, заявленное орудие для поделки искусственных водосборов способно накапливать все выпадающие естественные осадки без их стока и тем самым создать оптимальные условия произрастания древесных насаждений саванного типа. Изменяемые положения режущих элементов относительно транспортирующих элементов радиально ориентированных ножей способны в широком диапазоне изменять диаметры лунок и работать в разных почвенно-климатических зонах.
Формула изобретения
Орудие для поделки искусственных водосборов, содержащее вращающуюся вертикальную стойку с ножами, наконечником в нижней части и поводком с упором, контактирующим с поверхностью лунки, отличающееся тем, что каждый упомянутый нож снабжен транспортирующим и режущим элементами, при этом транспортирующий элемент посредством талрепа, вертикально и соосно установленных шарниров соединен с режущим элементом, нижние кромки транспортирующих и режущих элементов имеют лезвия, рабочие кромки которых ориентированы вдоль образующей конической поверхности.
РИСУНКИ
MM4A – Досрочное прекращение действия патента СССР или патента Российской Федерации на изобретение из-за неуплаты в установленный срок пошлины за поддержание патента в силе
Дата прекращения действия патента: 27.02.2008
Извещение опубликовано: 20.02.2010 БИ: 05/2010
|
|