|
|
(21), (22) Заявка: 2006106063/12, 26.02.2006
(24) Дата начала отсчета срока действия патента:
26.02.2006
(46) Опубликовано: 20.11.2007
(56) Список документов, цитированных в отчете о поиске:
RU 2123776 C1, 27.12.1998. RU 2122302 C1, 27.11.1997. RU 2234827 С1, 27.08.2004. SU 1342438 A1, 07.10.1987.
Адрес для переписки:
347740, Ростовская обл., г. Зерноград, ул. Ленина, 14, ВНИПТИМЭСХ
|
(72) Автор(ы):
Рыков Виктор Борисович (RU), Таранин Виктор Илларионович (RU), Козыренко Алексей Дмитриевич (RU), Рыкова Галина Львовна (RU), Бенов Максим Владимирович (RU)
(73) Патентообладатель(и):
Государственное научное учреждение “Всероссийский научно-исследовательский и проектно-технологический институт механизации и электрификации сельского хозяйства” (ВНИПТИМЭСХ) (RU)
|
(54) ПРИЦЕПНОЕ КОМБИНИРОВАННОЕ ПОЧВООБРАБАТЫВАЮЩЕЕ ОРУДИЕ
(57) Реферат:
Изобретение относится к сельскохозяйственному машиностроению. Орудие включает сницу, опорные колеса, раму, спаренные диски на пружинных С-образных стойках, рыхлители с лапами. Лапы рыхлителей снабжены двухсторонними трехгранными клиньями с гранями. Грани клиньев снабжены полушаровыми выступами. Выступы расположены с расстоянием пр= поп, где пр – продольное расстояние между полушаровыми выступами, поп – поперечное расстояние между полушаровыми выступами. Позади рыхлителей установлены спаренные катки с разновеликими диаметрами. Диаметр (dп) переднего катка больше диаметра (d3) заднего катка. Задний и передний катки связаны между собой посредством торсионов, а с рамой они соединены через шарнир, кронштейн, нажимную планку и пружину. Такое конструктивное выполнение позволит повысить качество крошения почвы. 7 ил.
Изобретение относится к сельскохозяйственному машиностроению, в частности к прицепным комбинированным почвообрабатывающим орудиям.
Известное почвообрабатывающее орудие /1/ включает навеску, раму, диски (лапы), расположенные на отдельно стоящих стойках с регулирующим углом атаки и шириной захвата через параллелограммный механизм, и каток.
К недостаткам известного орудия следует отнести то, что на пересушенных почвах образуется глыбистость поверхности обработанного участка, а глыбистая поверхность почвы неудовлетворительно сохраняет влагу в почве, не создает оптимальный водно-воздушный, пищевой и тепловой режимы для развития растений возделываемых культур, в частности озимых колосовых.
Известно прицепное комбинированное почвообрабатывающее орудие, содержащее сницу, опорные колеса, раму, спаренные диски на пружинных С-образных стойках, рыхлители с лапами /2/.
Недостатками известного орудия является то, что оно не снижает числа обработок до минимума, так как после применения известного прицепного орудия требует применения последующих обработок по выравниванию поверхности почвы, разбивке глыб, уплотнению сильно вспушенной почвы и мульчированию верхнего сухого слоя почвы с плотностью 0,7…0,9 г/см3. Для устранения указанных недостатков и достижения технико-агронотехнологического эффекта лапы рыхлителей снабжены двухсторонними трехгранными клиньями с гранями, снабженными полушаровыми выступами, расположенными с расстоянием
пр= поп,
где пр – продольное расстояние между выступами,
поп – поперечное расстояние между полушаровыми выступами, при этом позади рыхлителей установлены спаренные катки с разновеликими диаметрами, причем диаметр (dп) переднего катка больше диаметра (d3) заднего катка, задний и передний катки связаны между собой посредством торсионов, а с рамой они соединены через шарнир, кронштейн, нажимную планку и пружину.
Расположение лап с клиньями перед катками и за спаренными дисками дает возможность производить обработку с более оптимальным фракционным почвенным материалом. Это позволяет расширить функциональные возможности прицепного комбинированного орудия и повысить качество крошения почвы.
Установка на лапе рыхлителей в виде двухсторонних трехгранных клиньев с гранями, снабженными полушаровыми выступами с расстоянием
пр= поп,
где пр – продольное расстояние между полушарами,
поп – поперечное расстояние, позволяет не только повысить качество крошения за счет изгиба отделенных от монолита частей пласта, но и стабилизировать процесс крошения, так как при пр> поп усилия, воспринимаемые клином с одной стороны и с другой не одинаковы и устойчивость нарушается, а при пр< поп пространство (зазоры) между полушарами могут залипать и крошение ухудшается.
Расположением позади рыхлительных лап с предлагаемыми клиньями спаренных катков достигается повышение влагонакопительных и влагосберегающих параметров взрыхленного слоя как за счет уплотнения среднего слоя большим катком, так и за счет мульчирования верхнего слоя малым катком.
Выполнение диаметров спаренных катков разновеликими, причем dп>d3, где dп – диаметр переднего катка, d3 – диаметр заднего катка, позволяет, во-первых, повысить качество уплотнения взрыхленного слоя почвы дисками и лапами, а во-вторых, выровнять и замульчировать верхний слой почвы величиной не более пяти сантиметров, так как при dп=d3 и при равном количестве уплотняющих элементов осуществляется неравномерное уплотнение среднего слоя, потому что появляются случаи воздействия элементов в одно и то же место, а при dп3 снижается качество формирования верхнего слоя.
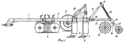
На фиг.1 представлено прицепное комбинированное почвообрабатывающее орудие, вид сбоку.
На фиг.2 представлено предлагаемое орудие, вид сверху.
На фиг.3 схематично изображен технологический процесс обработки почвы прицепным комбинированным почвообрабатывающим орудием с рабочими органами: а – дисковая батарея, б – два ряда лап, в – спаренные катки.
На фиг.4 показана лапа рыхлителя с двухсторонними трехгранными клиньями, вид сверху.
На фиг.5 показано сечение А-А, фиг.4.
На фиг.6 показано сечение В-В, фиг.4.
На фиг.7 показан узел соединения (торсионное) спаренных катков. Вид А фиг.2, увеличено.
Орудие прицепное комбинированное почвообрабатывающее включает в себя сницу 1, опорные колеса 2, раму 3, спаренные диски 4 на С-образных стойках, рыхлители 5, лапы 6, двухсторонние трехгранные клинья 7, полушаровые выступы 8, с расстоянием
пр= поп,
где пр – продольное расстояние между выступами,
поп – поперечное расстояние, нажимную планку 9, пружину 10, кронштейн 11, стойку 12 и стойку 13 катков 14, 15, торсион 16, поводок 17 и гидроцилиндр 18, шарнир 19.
Рама 3 прицепного комбинированного почвообрабатывающего орудия является основой для монтажа всех узлов и деталей орудия. К ней присоединяется сница 1, колеса 2 с рамкой, рычагом и гидроцилиндром 18. Снизу к раме 3 присоединяются спаренные диски 4 батарей и стойки рыхлителей 5 с клиньями 7 и лапами 6. На заднем брусе рамы 3 крепится кронштейн 11 и шарнир 19 для присоединения поводка 17 катков 14 и 15, стойки 13, 14 которых и поводок 17 соединены торсионами 16 и через пружину 10, нажимную планку 9 и кронштейн 11 связаны дополнительно с рамой 3. Особенностью рыхлителя 5 предлагаемого орудия является то, что клинья 7 лапы 6 снабжены полушаровыми выступами 8 с расстояниями
пр= поп,
где пр – продольное расстояние между выступами 8,
поп – поперечное расстояние между ними.
Технологический процесс прицепного комбинированного почвообрабатывающего орудия осуществляется следующим образом. При движении агрегата в рабочем положении спаренные диски 4 рыхлят почву на глубине hd, измельчают пожнивные остатки длинностебельных культур, повреждают сорняки, рыхлители 5 подрезают пласт почвы лапой 6 на заданной глубине hл и корневую систему сорняков, клинья 7 крошат почву не только за счет подъема пласта клиньями, но и за счет изгиба его полушаровыми выступами 8 и вибрации пласта при движении его по шероховатой поверхности рабочих граней клиньев 7.
После схода пласта с клиньев 7 и укладки его на плоскость подреза, он подвергается воздействию рабочих элементов катков 15 и 14, которые проникают через слой (hк) почвы, равный пяти сантиметрам, уплотняют влажную почву от 5 до 9 см. Равномерность уплотнения и величина достигаются не только за счет разности диаметров (dп>d3), но и за счет величины сжатия пружины 10. При работе катков 15, 14 возникает их вибрация, так как этому способствует торсионное устройство (см. торсион 16 фиг.7) соединения стоек 13 и 12 катков 15 и 14 и пружина 10.
Использование прицепного комбинированного почвообрабатывающего орудия в зонах возделывания зерновых культур, пропашных культур, технических культур и др. с.-х. культур не нарушает экологического равновесия, так, при работе на склоновых полях он нарезает щели и кротовинами увеличивает влагонакопление, а на поверхности оставляет измельченные пожнивные остатки более 50%, которые уменьшают скорость ветра в приземном слое, и тем самым снижают развитие ветровой эрозии.
Источники информации
2. С 12123776 RU Прицепное комбинированное почвообрабатывающее орудие. – 1998.
Формула изобретения
Прицепное комбинированное почвообрабатывающее орудие, включающее сницу, опорные колеса, раму, спаренные диски на пружинных С-образных стойках, рыхлители с лапами, отличающееся тем, что лапы рыхлителей снабжены двухсторонними трехгранными клиньями с гранями, снабженными полушаровыми выступами, расположенными с расстоянием пр= поп, где пр – продольное расстояние между полушаровыми выступами, поп – поперечное расстояние между полушаровыми выступами, при этом позади рыхлителей установлены спаренные катки с разновеликими диаметрами, причем диаметр (dп) переднего катка больше диаметра (d3) заднего катка, задний и передний катки связаны между собой посредством торсионов, а с рамой они соединены через шарнир, кронштейн, нажимную планку и пружину.
РИСУНКИ
MM4A – Досрочное прекращение действия патента СССР или патента Российской Федерации на изобретение из-за неуплаты в установленный срок пошлины за поддержание патента в силе
Дата прекращения действия патента: 27.02.2008
Извещение опубликовано: 27.09.2009 БИ: 27/2009
|
|