|
|
(21), (22) Заявка: 2005105979/12, 03.03.2005
(24) Дата начала отсчета срока действия патента:
03.03.2005
(43) Дата публикации заявки: 10.08.2006
(46) Опубликовано: 20.11.2007
(56) Список документов, цитированных в отчете о поиске:
SU 1333249 A1, 30.08.1987. SU 1189361 A, 07.11.1985. SU 1801291 A1, 15.03.1993. ЕР 1070447 A1 24.01.2001. US 6367561 B1,09.04.2004.
Адрес для переписки:
109428, Москва, 1-й Институтский пр-д, д.5, ВИМ, корп.1, к.5, А.Ф.Жуку
|
(72) Автор(ы):
Жук Алексей Феодосьевич (RU)
(73) Патентообладатель(и):
Жук Алексей Феодосьевич (RU)
|
(54) РАБОЧИЙ ОРГАН РОТАЦИОННОГО ОРУДИЯ
(57) Реферат:
Изобретение относится к области сельского хозяйства и может быть использовано для обработки почвы. Рабочий орган включает крепежную и рабочую части с передним и задним ребрами и рабочими поверхностями. Рабочие поверхности расположены под острым углом к поверхности вращения рабочего органа. Рабочие поверхности в зоне переднего ребра выполнены волнистыми с максимальным размахом на линии лезвия переднего ребра и плавным уменьшением размаха в направлении к заднему ребру. Линия выполнена в виде знакопеременной или зигзагообразной кривой. Размах знакопеременной кривой линии лезвия уменьшается от торца рабочей к крепежной части. Участок в зоне торца рабочей части и заднего ребра отклонен от расположенной выше поверхности вдоль заднего ребра и направлен в сторону, противоположную направлению отгиба расположенного перед ним участка рабочей поверхности в зоне переднего ребра. Расстояние между точками перегиба знакопеременной кривой линии лезвия до 3-х раз больше размаха этой линии. Такое конструктивное выполнение позволит повысить качество крошения почвы с различными физико-механическими свойствами. 2 з.п. ф-лы, 3 ил.
Изобретение относится к сельскохозяйственному машиностроению, в частности к почвообрабатывающим орудиям.
Известен рабочий орган, в котором для интенсификации процесса крошения наряду с основным рабочим ребром (лезвием) имеется дополнительный рабочий элемент [1]. Недостатком рабочего органа является малая интенсивность воздействия на глыбы и технологическая усложненность изготовления. После отбрасывания (раздвигания) фаской глыбистого почвенного слоя мала вероятность воздействия на них выступа на стойке, расположенного со стороны фаски лезвия.
Известен рабочий орган ротационного орудия, включающий крепежную и рабочую части с передним и задним ребрами и рабочими поверхностями расположенными под острым углом к плоскости вращения рабочего органа и направленными навстречу друг другу ([2] – прототип). Для крошения сухих почвенных глыб такой рабочий орган эффективнее обычного плоского ножа.
Недостатком рабочего органа является отсутствие положительного эффекта от задней рабочей поверхности при залипании влажной почвой пространства между передней и задней рабочими поверхностями, повышение энергозатрат из-за трения залипшей зоны ножа о почву. Кроме того, процесс трещинообразования в глыбе развивается интенсивнее при ее нагружении лезвием, изгибы которого не могут совпадать с направлением первичной трещины, образующейся при соударении лезвия с глыбой.
Задачей данного изобретения является интенсификация процесса крошения почв с различными физико-механическими свойствами.
Сущность заявляемого изобретения состоит в том, что в рабочем органе ротационного орудия, содержащем крепежную и рабочую части с передним и задним ребрами и расположенными между ними рабочими поверхности, рабочие поверхностями в зоне переднего ребра выполнены волнистыми, с максимальным размахом на линии лезвия переднего ребра, имеющего вид знакопеременной или зигзагообразной кривой, и плавным уменьшением размаха к заднему ребру и от торца рабочей части – к крепежной части. Кроме того, на конце рабочей части со стороны торца ее участок в зоне заднего ребра отклонен от прилегающей к нему остальной поверхности, расположенной вдоль заднего ребра, при этом отклонение направлено в сторону, противоположную направлению отгиба, расположенного перед ним участка, прилегающего к переднему ребру, а расстояние между точками перегиба знакопеременной кривой линии лезвия переднего ребра до 3-х раз больше размаха этой линии.
Сравнение заявляемого изобретения с прототипом показывает, что новым является выполнение рабочих поверхностей в зоне переднего ребра волнистыми с максимальным размахом на линии лезвия переднего ребра в виде знакопеременной или зигзагообразной кривой и плавным уменьшением размаха в направлении к заднему ребру и от торца рабочей к крепежной части, а также отклонение участка в зоне заднего ребра и торца рабочей части от остальной поверхности вдоль заднего ребра в сторону противоположную направлению отгиба расположенного перед ним участка в зоне переднего ребра. Кроме того, расстояние между точками перегиба знакопеременной кривой линии лезвия до 3-х раз больше размаха этой линии.
Предложенное выполнение рабочего органа способствует улучшению крошения не только за счет удлинения линии лезвия. Зигзагообразная линия лезвия преимущественно зонами своих участков с максимальным размахом при соударении с почвенной глыбой создает группы трещин, интенсифицирующих процесс крошения. А при прямом лезвии, как правило, образуется единственная трещина, разделяющая глыбу на две части. При движении рабочего органа сквозь фрагменты глыбы (почвенные комки) они дополнительно крошатся сближающимися волнистыми рабочими поверхностями рабочего органа, расположенными с разных сторон под острым углом к поверхности его вращения. Так как с почвой контактируют только зоны прогиба рабочих поверхностей органа, то удельное давление на комки и интенсивность их крошения выше, чем при воздействии на них ровной рабочей поверхности (плоскости) органа-прототипа. Отклонение участка рабочей поверхности, расположенной в зоне торца и заднего ребра, в противоположную сторону от расположенного перед ним участка в зоне лезвия, расширяет зону крошащего воздействия конца рабочей части рабочего органа и также интенсифицирует процесс крошения.
Таким образом, заявляемое изобретение соответствует критерию “новизна”.
Заявляемое устройство соответствует критерию “изобретательский уровень”, так как, несмотря на очевидную эффективность работы и простоту изготовления рабочего органа, подобное устройство до сих пор не известно.
Заявляемое устройство соответствует критерию “промышленная применимость”, так как найдет применение в ротационных почвообрабатывающих орудиях с горизонтальной и вертикальной осью вращения.
Изобретение поясняется чертежами.
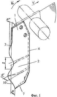
Рабочий орган ротационного орудия показан на фиг.1, на фиг.2 – вид спереди, на фиг.3 – вид торца рабочей части.
Рабочий орган содержит крепежную 1 и рабочую часть 2 с ребрами передним 3 и задним 4 и прилегающие к переднему ребру 3 на каждой стороне рабочей части 2 рабочие поверхности 5 и 6, расположенные под острым углом к поверхности Р вращения рабочего органа. Конец рабочей части 2 содержит торец 7 с участком 8, расположенным в зоне заднего ребра 4 и отклоненным от поверхности 9, размещенной выше вдоль заднего ребра 4. Рабочие поверхности 5 и 6 выполнены волнистыми с максимальным размахом на линии лезвия 10. При этом их размах плавно уменьшается от лезвия 10 к заднему ребру 4 и от торца 7 рабочей части 2 к крепежной части 1, т.е. а>a11. Расстояние S между точками перегиба знакопеременной кривой линии лезвия 10 переднего ребра 3 больше размаха 2а…2а11 этой линии, и на участке, граничащем с крепежной частью, оно превышает размах не более чем в 3 раза. При большем увеличении расстояния S или уменьшении размаха линии лезвия 10 эффект от зигзагообразности лезвия и волнистости рабочих поверхностей менее выражен.
Участок 8 вдоль заднего ребра 4 отклонен от поверхности 9 в сторону, противоположную направлению отгиба расположенного перед ним участка переднего ребра 3 с лезвием 10.
Рабочий орган может быть прямым, изогнутым и Г-образным. Контурными линиями показан фрагмент вала ротора, на котором может быть закреплен рабочий орган. Он также может быть установлен на ротор с вертикальной или наклонной осью вращения.
Рабочий орган ротационного орудия, установленный, например на роторе с горизонтальной осью, при работе вращается по направлению Vо, а орудие при этом должно двигаться по направлению V. Погружаясь в почву, рабочий орган нагружает и крошит глыбы зигзагообразным лезвием 10, волнистыми рабочими поверхностями 5 и 6 и рабочей поверхностью 8, расположенной в зоне торца 7 и заднего ребра 4 и отклоненной в противоположную сторону от направления отгиба расположенного перед ним участка рабочей поверхности в зоне переднего ребра 3. Так как появляющиеся в почве (глыбе, комке) трещины не могут совпадать с большей частью зигзагообразного лезвия 10, то в зоне его перемещения в почвенных фрагментах появляется множество трещин, интенсифицирующих процесс крошения.
При движении рабочего органа сквозь почвенный слой его глыбы комки крошатся волнистыми рабочими поверхностями 5 и 6. С почвой контактируют только зоны “прогиба” рабочих поверхностей органа (на них указывают сноски 5 и 6). Поэтому удельное давление на комки и интенсивность их крошения выше, чем при воздействии на них плоской рабочей поверхности. Поверхности 5 и 6 раздвигают слои почвы в разные стороны. Поэтому глыбы, не имеющие прямого контакта с рабочими поверхностями 5 и 6, крошатся от воздействия комков, раздвигаемых этими поверхностями. Отклонение участка 8 рабочей поверхности в противоположную сторону от расположенного перед ним участка переднего ребра 3 с лезвием 10 расширяет зону крошащего воздействия конца рабочей части 2, имеющего максимальную скорость перемещения в почве, и это также интенсифицирует процесс крошения почвы.
Уменьшение волнистости рабочих поверхностей 5 и 6 и размаха линии лезвия 10 в направлении от торца 7 к крепежной части обусловлено технологией изготовления рабочего органа и снижением эффективности работы участков рабочих поверхностей 5 и 6, приближенных к оси ротора и работающих в верхнем слое почвы.
Соотношение размаха а…а11 и расстояния S между точками перегиба линии лезвия 10 характеризует ее плавность. Расстояние S>2а обусловлено требованиями предотвращения образования почвенного нароста в зонах прогиба рабочих поверхностей 5 и 6 и технологией изготовления органа. На участке, граничащем с крепежной частью 1, расстояние S превышает размах линии лезвия этого участка не более чем в 3 раза (S<6а), так как дальнейшее увеличение и сглаживание знакопеременной кривой заметно снижает интенсивность крошения.
Рабочий орган будет использован в новом поколении фрезерных машин для качественной за один проход обработки тяжелых почв под посев.
Источники информации
1. Авт. свид. СССР №1189361, А01В 33/02, 1984.
Формула изобретения
1. Рабочий орган ротационного орудия, включающий крепежную и рабочую части с передним и задним ребрами и рабочими поверхностями, расположенными под острым углом к поверхности вращения рабочего органа, отличающийся тем, что рабочие поверхности в зоне переднего ребра выполнены волнистыми с максимальным размахом на линии лезвия переднего ребра, выполненной в виде знакопеременной или зигзагообразной кривой, и плавным уменьшением размаха в направлении к заднему ребру.
2. Рабочий орган ротационного орудия по п.1, отличающийся тем, что размах знакопеременной кривой линии лезвия уменьшается от торца рабочей к крепежной части, а участок в зоне торца рабочей части и заднего ребра отклонен от расположенной выше поверхности вдоль заднего ребра и направлен в сторону противоположную направлению отгиба, расположенного перед ним участка рабочей поверхности в зоне переднего ребра.
3. Рабочий орган ротационного орудия по п.1 или 2, отличающийся тем, что расстояние между точками перегиба знакопеременной кривой линии лезвия до 3-х раз больше размаха этой линии.
РИСУНКИ
|
|