|
|
(21), (22) Заявка: 2004130470/09, 13.03.2003
(24) Дата начала отсчета срока действия патента:
13.03.2003
(30) Конвенционный приоритет:
15.03.2002 US 10/099,128
(43) Дата публикации заявки: 10.05.2005
(46) Опубликовано: 10.11.2007
(56) Список документов, цитированных в отчете о поиске:
RU 9663 U1, 16.04.1999. RU 2134488 C1, 10.08.1999. WO 0174045 A1, 04.10.2001. DE 10039430 A1, 28.02.2002.
(85) Дата перевода заявки PCT на национальную фазу:
15.10.2004
(86) Заявка PCT:
US 03/07948 (13.03.2003)
(87) Публикация PCT:
WO 03/079717 (25.09.2003)
Адрес для переписки:
129010, Москва, ул. Б. Спасская, 25, стр.3, ООО “Юридическая фирма Городисский и Партнеры”, пат.пов. Ю.Д.Кузнецову, рег.№ 595
|
(72) Автор(ы):
СОЛИМАН Самир С. (US)
(73) Патентообладатель(и):
КВЭЛКОММ ИНКОРПОРЕЙТЕД (US)
|
(54) СПОСОБ И УСТРОЙСТВО БЕСПРОВОДНОЙ ДИСТАНЦИОННОЙ ТЕЛЕМЕТРИИ С ИСПОЛЬЗОВАНИЕМ ad-hoc СЕТЕЙ
(57) Реферат:
Изобретение относится к области беспроводной передачи данных. Технический результат заключается в усовершенствовании системы снятия телеметрических данных. Заявлен способ дистанционной телеметрии в системе беспроводной связи, включающей в себя телеметрическое устройство, мобильное устройство и центральный контроллер, при этом способ включает в себя этапы, на которых принимают информацию от телеметрического устройства посредством мобильного устройства через ad-hoc сеть (одноранговую сеть с произвольной структурой), передают принятую информацию на центральный контроллер посредством мобильного устройства, при этом при передаче принятой информации эту информацию передают в период неинтенсивной нагрузки и переносят принятую информацию на центральный контроллер, по меньшей мере, одной ad-hoc сети. 3 з.п. ф-лы, 3 ил.
Область техники, к которой относится изобретение
Настоящее изобретение в целом относится к беспроводной связи. Конкретнее, настоящее изобретение ориентировано на новые и усовершенствованные способы и устройства для снятия показаний с удаленных измерительных устройств посредством беспроводной связи с использованием AD-HOC сетей (одноранговых сетей произвольной структуры).
Описание предшествующего уровня техники
Удаленные измерительные устройства используют во многих отраслях промышленности для мониторинга, измерения или записи критических данных. Например, коммунальные предприятия используют счетчики коммунальных услуг, расположенные в месте нахождения потребителя, для измерения потребления услуг. Отмена государственного регулирования коммунальных предприятий, таких как компании-производители электроэнергии, компании по снабжению водой и природным газом, заставила эти компании прибегнуть к технологической модернизации оборудования и услуг как к средству снижения расценок для того, чтобы конкурировать с другими потенциальными поставщиками коммунальных услуг.
В обычной системе измерения потребления коммунальных услуг каждому потребителю коммунальных услуг выставляется счет через определенный промежуток времени, например раз в месяц или раз в два месяца. Использование коммунальной услуги измеряется электромеханическим счетчиком с визуальным индикатором, таким как набор циферблатов, или с индикатором типа «одометр». Определенное лицо, обычно служащий коммунального предприятия, периодически осматривает каждый счетчик в районе обслуживания для визуального считывания данных о потреблении, представленных на счетчике.
Обычной системе измерения потребления коммунальных услуг присущи некоторые недостатки. Например, коммунальное предприятие должно оплачивать персоналу поездки к каждому счетчику для визуального считывания информации. Может потребоваться отправка лица, считывающего информацию, в небезопасную область. Для осмотра всех счетчиков потребуется довольно много времени. Кроме того, большинство электромеханических счетчиков может быть вскрыто, а показания подделаны лицом, желающим уменьшить свой счет за потребление услуг. Поскольку показания со счетчика обычно снимаются раз в месяц, подделка может быть неочевидна для коммунального предприятия. Другим недостатком обычной системы измерения потребления коммунальных услуг является невозможность обнаружения локального сбоя, такого как локализованное длительное нарушение энергоснабжения или уменьшение освещения, поскольку с отдаленных устройств информация не считывается на регулярной основе.
Проблемы, с которыми столкнулись коммунальные предприятия в этой области, аналогичны проблемам, с которыми столкнулись предприятия в других отраслях, в которых существует необходимость удаленного мониторинга или снятия показаний с измерительных устройств или кассовых терминалов. Например, компании по доставке почты, такие как Почтовая служба США или аналогичные ей, обычно содержат большое количество разбросанных почтовых пунктов. Каждый из этих пунктов должен проверяться для того, чтобы установить, поступила ли какая-либо почта для доставки. Часто, особенно в сельской области, когда приезжает почтовый служащий для проверки, в отдаленном почтовом ящике нет почты. Результатом является неэффективное распределение ресурсов. Аналогично, операторы торговых автоматов посылают служащих к отдаленным торговым автоматам в соответствии с заранее установленным графиком, не зная, в чем в действительности нуждается автомат до прибытия служащего на место. Ясно, что существует множество отраслей, сталкивающихся с подобными недостатками, возникающими вследствие предусмотренного графиком обслуживания отдаленных пунктов вместо зависящего от событий и обусловленного потребностью управления такими отдаленными пунктами.
Патент США № 5748104 под названием «Wireless Remote Telemetry System», выданный 5 мая 1998 года, переуступленный правопреемнику настоящего изобретения и включенный в настоящее описание путем ссылки, раскрывает способ и систему дистанционной телеметрии. Однако для беспроводной части инфраструктуры требуется удаленное устройство высокой мощности и тщательное планирование сети.
Вследствие этого существует потребность в системе дистанционной телеметрии, в которой устранены недостатки телеметрических систем в соответствии с предшествующим уровнем техники путем предоставления радиотелеметрических данных недорогим и эффективным способом. Также необходим «шлюз» для обеспечения усовершенствованного обслуживания потребителей в отдаленных районах.
Сущность изобретения
Настоящим изобретением обеспечивается новая усовершенствованная система беспроводной дистанционной телеметрии, использующая ad-hoc сети для обеспечения частого снятия показаний и управления удаленными телеметрическими устройствами. Например, в варианте осуществления изобретения, применимом в области коммунальных услуг, потребление электроэнергии такими потребителями, как жилые дома и коммерческие здания может быть измерено посредством системы измерения потребления коммунальных услуг, выполненной с возможностью связи по ad-hoc сети. Система измерения потребления коммунальных услуг связывается с мобильным устройством посредством ad-hoc сети. Мобильное устройство затем связывается с центральным контроллером через ad-hoc сеть и/или системы беспроводной связи.
Мобильное устройство принимает информацию от систем измерения потребления коммунальных услуг посредством ad-hoc сети, когда это мобильное устройство приближается к удаленному измерительному устройству. Мобильное устройство может передавать принятую информацию в центральный контроллер регулярно, по запросу, в период неинтенсивной нагрузки или в соответствии с заранее определенным графиком, который может устанавливаться и регулироваться беспроводной инфраструктурой или центральным контроллером. Сообщения, которые удаленное измерительное устройство пересылает центральному контроллеру, включают в себя показания о потреблении услуги и о состоянии неисправности.
Система может предоставлять различные усовершенствованные услуги, такие как доставка информации об интенсивности удаленным измерительным устройствам для того, чтобы изменять нагрузку в часы пик, дистанционное уведомление владельца здания о состоянии неисправности в предоставлении коммунальных услуг или в измерительной системе, а также функции управления в реальном масштабе времени, такие как выравнивание нагрузки с целью сведения к минимуму расхода в часы пик. Система также предоставляет различные методики управления нагрузкой на систему по составлению отчетов во время ее максимальной загруженности составлением отчетов, как, например, во время длительного нарушения энергоснабжения на обширной территории. Более того, удаленное измерительное устройство может обеспечить доступ к усовершенствованному обслуживанию потребителей в отдаленных местах. Предоставляя услуги по беспроводному и автоматическому измерению, коммунальные предприятия могут уменьшить расходы за счет исключения трудоемкого снятия показаний со счетчиков.
Коммунальные предприятия могут использовать принятые данные для мониторинга и регулирования нагрузки в качестве реакции на скачок и падение потребления. Если такие изменения выявляются на ранней стадии, то возможно регулирование снабжения или изменение потребления путем повышения цен во время наибольшего использования или путем прямого управления удаленным потреблением, за счет чего снижается отношение пикового значения к среднему. Информация, собранная для отдельных потребителей, может быть обработана в режиме реального времени для выработки краткосрочного и долгосрочного прогноза потребления. Одновременное снятие показаний с множества удаленных измерительных устройств по всей распределительной сети обеспечивает обнаружение потерь, воровства, утечек и неправильно измеряющих счетчиков. В счетах потребителям может быть предоставлена точная информация о динамике потребления для того, чтобы более точно выявлять и контролировать неэкономное потребление и содействовать достижению целей экономии.
Перечень чертежей
Признаки, задачи и преимущества настоящего изобретения станут более очевидны из приведенного ниже подробного описания совместно с чертежами, на которых используется сквозная нумерация позиций и на которых:
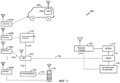
фиг. 1 – общий вид системы дистанционной телеметрии в соответствии с настоящим изобретением, показанный в виде блок-схемы;
фиг. 2 – блок-схема удаленного измерительного устройства в соответствии с одним из вариантов осуществления изобретения; и
фиг. 3 – блок-схема мобильного устройства в соответствии с одним из вариантов осуществления изобретения.
Подробное описание предпочтительных вариантов осуществления изобретения
На фиг. 1 в виде блок-схемы показан общий вид системы 100 дистанционной телеметрии в соответствии с одним из вариантов осуществления изобретения. Следует отметить, что хотя настоящее изобретение будет описано в отношении услуг по снабжению электроэнергией, оно применимо и для других коммунальных предприятий, таких как поставщики природного газа и воды, а также и в других отраслях, которые, как отмечено выше, нуждаются в дистанционном мониторинге, управлении и/или обслуживании удаленных объектов.
Множество удаленных измерительных устройств 102а-102n расположено соответствующим образом в стратегических точках по всей распределительной сети коммунального предприятия. Например, удаленные измерительные устройства 102а-102n могут быть расположены в жилых домах и коммерческих сооружениях, являющихся целевым назначением обслуживания. Мобильные устройства могут быть также расположены в важных распределительных пунктах, таких как подстанции, в которых желателен крупномасштабный мониторинг. Удаленные измерительные устройства 102а-102n могут состоять, например, из основного приемопередатчика, присоединенного уже к существующему обычному электромеханическому счетчику посредством интерфейсного устройства, адаптированного к данному типу счетчика (т.е. к счетчику с циферблатом или типа одометра). Преимущество такой конструкции состоит в том, что небольшое, недорогое и простое в изготовлении устройство может быть легко адаптировано к установке на существующие счетчики без дорогостоящей модернизации системы. Такое удаленное измерительное устройство описано ниже со ссылкой на фиг.2.
В одном из вариантов осуществления изобретения каждое из удаленных измерительных устройств 102а-102n выполняет основные измерительные функции, включая составление отчетов о потреблении коммунальной услуги, обнаружение незаконного воздействия на счетчик и отчет об этом, отчет об утечках и выявление «скачков» и «падений» в уровне поставляемой услуги. Удаленные измерительные устройства 102а-102n могут пересылать отчетные сообщения в центральный контроллер 116 через по меньшей мере одну базовую станцию 108 и центр коммутации мобильной телефонной связи (MTSO) 110, который может взаимодействовать с коммутируемой телефонной сетью общего пользования (PSTN) 112. Центральный контроллер 116 может включать в себя, например, компьютерную систему и связанные с ней хранилище базы данных, и интерфейсную схему, которая исполняет специальное прикладное программное обеспечение для осуществления описанных здесь функций управления. В различных вариантах осуществления изобретения, описанных ниже, между удаленными измерительными устройствами 102а-102n и центральным контроллером 116 могут быть помещены различные промежуточные устройства связи или «ретрансляторы» по типу «ячеистой сети». Промежуточные устройства связи включают в себя мобильное абонентское устройство 140, мобильное базовое устройство (МБУ, MBU) 130, домашний компьютер 132 абонента и домашнее базовое устройство (ДБУ, HBU) 122. Все эти варианты осуществления могут сосуществовать в одной и той же широкомасштабной системе.
В одном из вариантов осуществления базовая станция 108 и MTSO 110 относятся к системам связи расширенного спектра с множественным доступом с кодовым разделением каналов (CDMA). Пример такой системы приведен в патенте США № 4901307, выданном 13 февраля 1990, с названием «Spread Spectrum Multiple Access Communication System Using Satellite or Terrestrial Repeaters», переуступленном правопреемнику настоящего изобретения и включенном в настоящее описание путем ссылки. Кроме того, беспроводная система связи может быть сконструирована в соответствии с временным стандартом IS-95 Ассоциации промышленности средств связи (TIA)/Ассоциации электронной промышленности (EIA) под названием «Mobile Station – Base Station Compatibility Standard for Dual-Mode Wideband Spread Spectrum Celluar Systems» или стандартом «TIA/EIA/IS-2000 Standard for cdma2000 Spread Spectrum System», далее обозначаемым «стандарт cdma2000». Альтернативно, беспроводная система связи может быть сконструирована в соответствии с ANSI J-STD-008, озаглавленным «Personal Station-Base Station Compatibility Requirements for 1.8 to 2.0 GHz Code Division Multiple Access (CDMA) Personal Communications Systems». Однако следует отметить, что настоящее изобретение применимо и к другим беспроводным системам связи, сотовым и несотовым, и независимо от используемой схемы модуляции. Например, настоящее изобретение также применимо в системах, основанных на множественном доступе с временным разделением каналов (TDMA), таких как стандарт США IS-54 на TDMA, или общеевропейский стандарт на Глобальную систему мобильной связи (GSM). Кроме того, настоящее изобретение применимо в аналоговых системах связи с частотной модуляцией, таких как Система мобильной телефонной связи (AMPS).
В одном из вариантов осуществления изобретения удаленные измерительные устройства 102а-102n передают свои отчетные сообщения на промежуточное устройство связи через ad-hoc сеть. К преимуществам использования ad-hoc сетей относится гибкость инфраструктуры, отсутствие проводных линий связи и гибкая топологическая схема сети. Ad-hoc сети позволяют использовать мобильные низкомощностные промежуточные устройства связи, которые могут находиться у людей или которые могут быть расположены в автомобилях. Промежуточные устройства связи могут прерывать измерительные устройства 102а-102n для передачи любых данных без необходимости сетевого планирования. Ad-hoc сети могут основываться, например, на протоколе Bluetooth, IEEE 802.11 или на протоколе ультраширокополосной связи.
Протокол связи Bluetooth обеспечивает простой, основанный на радио способ надежной передачи данных и речи на короткие расстояния, например от 10 м до 100 м, без проводов или без необходимости в луче обзора. Он предоставляет такие преимущества, как небольшая сложность, низкое потребление энергии, низкая стоимость, скачкообразная перестройка частоты и реализация дуплексной связи с разделением по времени. Устройства Bluetooth, находящиеся в зоне радиопокрытия друг друга, могут при необходимости динамически устанавливать беспроводные соединение от точки к точке и/или от точки к множеству точек. Этот стандарт пригоден для устройств с батарейным питанием. Протокол связи Bluetooth широко известен в данной области техники.
Протокол связи IEEE 802.11 обеспечивает возможность соединения устройства с устройством заранее незапланированным образом (ad-hoc) в условиях беспроводной локальной сети (WLAN). Этот стандарт беспроводной связи имеет более высокие скорости передачи данных, большие расстояния, до 90 м, но требует больше энергии. Этот стандарт пригоден для устройств с небатарейным питанием. Протокол связи IEEE 802.11 широко известен в данной области техники.
Протокол ультраширокополосной связи также обеспечивает возможность соединения устройства с устройством заранее незапланированным образом (ad-hoc). Он обеспечивает гибкую, недорогую реализацию прямой связи на коротком расстоянии, не требуя базовой станции. Этот протокол связи ad-hoc также широко известен в данной области техники.
В одном из вариантов осуществления мобильное устройство 140 может принимать информацию от измерительного устройства 102n и пересылать принятую информацию на базовую станцию 108 в соответствии с запланированной схемой доставки данных. Мобильное устройство может принимать информацию от измерительного устройства 102n через ad-hoc сеть, когда мобильное устройство входит в зону радиопокрытия измерительного устройства 102n. Мобильное устройство преимущественно находится у людей или в автомобилях. Лицо, у которого находится мобильное устройство, может идти, бежать, ехать на велосипеде или разносить что-либо вблизи измерительного устройства 102n. К автомобилям, в которых может находиться мобильное устройство, относятся транспортные средства доставки, пассажирский транспорт, автобусы и/или такси. Когда такое мобильное устройство, рассчитанное на работу в ad-hoc сети, попадает в зону радиопокрытия измерительного устройства, также рассчитанного на работу в ad-hoc сети, мобильное устройство может считывать и сохранять информацию с этого измерительного устройства. Мобильное устройство затем может самостоятельно или в соответствии с запланированной схемой доставки данных, управление которой может осуществляться беспроводной инфраструктурой или Главным контроллером, переслать информацию на другое беспроводное устройство или на центральный контроллер.
В одном из вариантов осуществления мобильное устройство 140 может пересылать принятую информацию на базовую станцию 108 прямо через сотовую сеть связи, такую как сотовая сеть CDMA. Мобильное устройство может пересылать информацию в период неинтенсивной нагрузки, периодически или по запросу мобильной станции 108 или центрального контроллера 116.
В другом варианте осуществления мобильное устройство 140 может пересылать принятую информацию на центральный контроллер 116 через ad-hoc сеть или через ad-hoc сети с множеством ретрансляторов, когда мобильное устройство приближается к центральному устройству. Использование ad-hoc сети с множеством ретрансляторов для передачи информации от мобильного устройства 140 на центральный контроллер 116 уменьшает энергию, необходимую для передачи, по сравнению с единой ad-hoc сетью.
В другом варианте осуществления изобретения мобильное устройство 140 может пересылать принятую информацию на центральный контроллер 116 посредством протокола двоичной среды времени выполнения для беспроводной связи (BREW). BREW – это прикладная платформа, которая может быть загружена в мобильное устройство 140 и центральный контроллер 116 для пересылки информации через Интернет. Протокол BREW широко известен в данной области техники.
В другом варианте осуществления изобретения мобильное устройство 140 может пересылать принятую информацию на базовую станцию 108 через промежуточный ретранслятор, такой как ДБУ 122. Передача от мобильного устройства 140 на ДБУ 122 может осуществляться через низкомощностную сотовую или ad-hoc сеть. Преимуществом является то, что мобильное устройство 140 не требует большого потребления энергии для передачи при взаимодействии с ДБУ 122.
В другом варианте осуществления изобретения мобильное устройство 140 может пересылать принятую информацию на центральный контроллер 116 через пользовательский терминал 132. Пересылка от мобильного устройства 140 на пользовательский терминал 132 может также осуществляться через ad-hoc сети, как это обсуждалось выше, когда мобильное устройство входит в зону радиопокрытия домашнего компьютера 132. Как обсуждалось выше, пользовательский терминал 132 может затем переслать принятую информацию на центральный контроллер, например, через Интернет. Преимуществом является то, что мобильное устройство 140 не требует большого потребления энергии для пересылки при осуществлении связи с пользовательским терминалом 132.
В одном из вариантов осуществления изобретения информация, имеющаяся на измерительном устройстве 102n, может быть передана на базовую станцию 108 или центральный контроллер 116 посредством множества мобильных устройств. Если одно мобильное устройство не способно принять всю информацию, имеющуюся на измерительном устройстве 102n, из-за подвижности мобильного устройства, другие мобильные устройства, которые входят в зону радтопокрытия измерительного устройства 102n, могут принять от измерительного устройства 102n оставшуюся информацию, например пакеты данных. В этом варианте осуществления пакеты данных, которые приняты базовой станцией 108 или центральным контроллером 116, группируются вместе на основе какой-либо групповой идентификации, например идентификационных номеров (ID) пакетов.
В одном из вариантов осуществления изобретения мобильное базовое устройство (МБУ) 130 может быть размещено в транспортном средстве 128 и может перемещаться в пределах зоны связи с удаленным измерительным устройством 102a. Такой вариант осуществления изобретения, который может являться альтернативой мобильному устройству 140, может быть использован для увеличения зоны приема в сельской местности, где еще нет услуг беспроводной связи. В этом варианте осуществления изобретения МБУ 130 может снимать показания с удаленного измерительного устройства 102а через ad-hoc сеть, как было описано выше применительно к другим вариантам осуществления. МБУ 130 может также включать в себя отдельный компьютер (не показан) для хранения данных и заключительной обработки вместо прямой пересылки на базовую станцию 108 или центральный контроллер 116. В этом варианте осуществления изобретения МБУ 130 снимает показания с удаленного измерительного устройства 102а, когда проезжает мимо. МБУ 130 может затем переслать принятую информацию на базовую станцию 108 или на центральный контроллер 116 непосредственно или через мобильное устройство 140, ДБУ 122 и/или пользовательский терминал 132.
В одном из вариантов осуществления изобретения ДБУ 122 собирает и передает отчетные сообщения, выдаваемые удаленным измерительным устройством 102с, на базовую станцию 108. ДБУ 122 может принимать управляющие сообщения, команды и ответы на отчетные сообщения от базовой станции 108 и ретранслировать их на удаленное измерительное устройство 102с для осуществления требуемых действий. Однако следует отметить, что в альтернативных вариантах осуществления изобретения ДБУ 122 может использовать ранее установленную наземную линию связи 126 непосредственно с PSTN для связи с центральным контроллером 116. Преимуществом такого альтернативного варианта осуществления является сокращение затрат на связь, если ранее существовавшая наземная линия связи уже существует на удаленной станции. Кроме того, ДБУ 122 может иметь интерфейс, предоставляющий возможность дистанционного планирования автоматического снятия показаний, автоматической пересылки информации о счетах и тому подобного на основе управляющих сообщений, посылаемых с центрального контроллера 116.
В одном из вариантов осуществления изобретения ДБУ 122 может включать в себя интегрированный последовательный порт RS-232, приемопередатчик шины бытовой электроники (CEBus) или тому подобное для обеспечения интерфейса через линию 134 связи с пользовательским терминалом 132. Пользовательский терминал может включать в себя персональный компьютер или аппарат факсимильной связи. Линия 134 связи может также быть ad-hoc соединением, как это обсуждалось выше. Таким образом, ДБУ 122 может служить в качестве интерфейса для пользователя для получения и отображения информации, посылаемой центральным контроллером 116 на ДБУ 122. Например, данные о счетах в режиме реального времени, запросы о состоянии счета и другие дополнительные услуги, такие как реклама, могут отображаться на пользовательском терминале 132. Во время пикового пользования услугой с центрального контроллера 116 на пользовательский терминал 122 может присылаться текущая информация о ценах, побуждающая пользователя снизить потребление энергии путем выключения нетребующегося электрического оборудования.
ДБУ 122 может также служить в качестве «шлюза» к другим услугам, относящимся к домоуправлению и управлению нагрузкой. Например, рассмотрим CEBus-совместимый электроприбор 136, соединенный с ДБУ 122 посредством сетевого соединения ad-hoc или интерфейса линии электропередач (PLC) 138. Электроприбор 136 может представлять собой, например, светильник, устройство нагрева/кондиционирования воздуха, систему безопасности или домашний центр развлечений. В часы пиковой нагрузки центральный контроллер 116 может посылать управляющие сообщения на электроприбор 136 или группу приборов по общей шине для их выключения, таким образом снижая нагрузку в режиме реального времени. Потребитель также может дистанционно включать и выключать электроприбор 136, посылая управляющие сообщения с мобильного устройства 140 на прибор 136 через базовую станцию 108 и ДБУ 122 или, альтернативно, через линию 142 связи ad-hoc сети.
В одном из вариантов осуществления изобретения удаленное измерительное устройство 102b может иметь интерфейс ad-hoc сети с пользовательским терминалом 132. В этом варианте осуществления информация, измеренная измерительным устройством 102b, может пересылаться на пользовательский терминал 132 регулярно, по запросу, в соответствии с графиком или когда портативный пользовательский терминал 132 входит в зону радиопокрытия измерительного устройства 102b. Пользовательский терминал может обрабатывать, хранить и/или пересылать принятую информацию на центральный контроллер через глобальную сеть связи, такую как Интернет.
В каждом из вышеописанных вариантов осуществления изобретения множество удаленных измерительных устройств 102а-102n может одновременно пытаться послать сообщение через промежуточные «ретрансляторы», т.е. мобильное устройство 140, компьютерный терминал 132, ДБУ 122 или МБУ 130, в то самое время, когда другие мобильные устройства также пытаются связаться с базовой станцией. В патенте США 5748104, включенном в настоящее описание путем ссылки, раскрыты различные способы избежания «конфликтов» между конкурирующими удаленными измерительными устройствами 102а-102n.
Далее со ссылкой на фиг. 2 показано удаленное измерительное устройство 200. В варианте осуществления изобретения, применимом к снятию показаний о потреблении электричества, измерительное устройство 202 может представлять собой электромеханическое устройство мониторинга и отображения потребления энергии типа вращающегося диска или одометра, известных из уровня техники. Интерфейс 204 снятия показаний может быть оптическим или электромеханическим, адаптированным к типу используемого измерительного устройства 202. Например, если измерительное устройство 202 является электромеханическим вращающимся диском, число оборотов диска является показателем потребления энергии. В этом случае интерфейс 204 снятия показаний может включать в себя источник света и фотоэлемент, который считывает единичный световой импульс при каждом обороте диска. Интерфейс 204 снятия показаний преобразует световые импульсы в аналоговые электрические импульсы и пересылает их на мультиплексор аналоговых сигналов (AMUX) 208, где они поступают на аналогово-цифровой преобразователь (АЦП) 210. АЦП преобразует аналоговые электрические импульсы в цифровой сигнал, являющийся показателем числа оборотов, сосчитанных интерфейсом 204 снятия показаний, и направляет результирующий цифровой сигнал на микропроцессор 214. В ответ на этот цифровой сигнал микропроцессор 214 вычисляет и сохраняет общее потребление в киловатт-часах. В предпочтительном варианте осуществления изобретения время хранения может составлять от получаса до приблизительно одного месяца.
В соответствии с графиком выдачи отчетов, который может или составляться на месте, или загружаться по каналу 104 поискового вызова с центрального контроллера 116 (см. фиг.1), микропроцессор 214 формирует сообщение о потреблении услуги для пересылки на центральный контроллер 116. Сообщение о потреблении форматируется микропроцессором 214 и затем преобразуется с повышением частоты, модулируется, усиливается и пересылается на интерфейсное устройство ad-hoc сети или, альтернативно, пересылается передатчиком 216 через антенну 222. Следует отметить, что в последнем варианте осуществления микропроцессор 214 конфигурирует переключатель 220 для пересылки только в периоды времени, которые не совпадают с назначенным временным слотом поискового вызова, таким образом обеспечивая возможность полудуплексной работы для удаленного измерительного устройства 102 без пропуска входящих сообщений от центрального контроллера 116. Альтернативно, переключатель 220 может быть заменен обычным антенным переключателем (дуплексером), известным в данной области техники, если полудуплексная работа нежелательна.
Центральный контроллер 116, как это обсуждалось ранее, пересылает управляющие сообщения и сообщения обратной связи, предназначенные для удаленных измерительных устройств 102а-102n. Эти сообщения могут пересылаться через интерфейсное устройство 240 ad-hoc сети. Альтернативно, сообщения могут улавливаться антенной 222, преобразовываться с понижением частоты и демодулироваться приемником 218 и направляться на микропроцессор 214 для соответствующих действий. Следует отметить, что микропроцессор 214 конфигурирует переключатель 220 для приема, если не требуется исходящая передача. Управляющие сообщения, посылаемые центральным контроллером 116, могут включать в себя устанавливающие график сообщения и подтверждение приема различных отчетных сообщений, переданных удаленным измерительным устройством 102.
Кроме того, в иллюстративном варианте осуществления изобретения в соответствии с фиг.2, понижающие напряжение трансформаторы 206а и 206b подсоединены соответственно к фазам А и В линий электропередач в месте расположения потребителя. В обычном жилом доме в США уровень напряжения обеих фаз А и В составляет 120 вольт. Каждый из понижающих трансформаторов 206а и 206b дает на выходе аналоговый сигнал уровня напряжения, пропорциональный напряжению, считанному соответственно на фазах А и В. Аналоговые сигналы уровня напряжения направляются на АЦП посредством AMUX 208, где они затем преобразуются в цифровые сигналы уровня напряжения. Затем цифровые сигналы уровня напряжения направляются на микропроцессор 214 через последовательный интерфейс 212, где они соответственно сравниваются с максимальным и минимальным пределами уровня напряжения. В одном из вариантов осуществления изобретения максимальный и минимальный пределы уровня напряжения являются программируемыми и могут быть при необходимости включены или отключены посредством управляющих сообщений от центрального контроллера 116.
Если цифровой сигнал уровня напряжения, являющийся показателем напряжения на фазе А, и цифровой сигнал уровня напряжения, являющийся показателем напряжения на фазе В, находятся оба между минимальным и максимальным пределами уровня напряжения, регулировка уровня напряжения фазы А и фазы В является удовлетворительной и не требуется никаких действий. Однако если либо цифровой сигнал уровня напряжения, являющийся показателем напряжения на фазе А, либо цифровой сигнал уровня напряжения, являющийся показателем напряжения на фазе В, не находится между максимальным и минимальным пределами уровня напряжения, то регулировка уровня напряжения фазы А и фазы В является неудовлетворительной и микропроцессор 214 генерирует сообщение о нарушении для пересылки на центральный контроллер 116 (см. фиг.1). Такое нарушение может иметь место, если были чрезмерные «скачки» и «падения» уровня напряжения на фазе А или фазе В, включая случаи полного местного отключения или уменьшения освещения. Сообщение о нарушении может содержать закодированное представление действительного напряжения на фазе А и фазе В. Микропроцессор 214 может сгенерировать сообщение о нарушении для пересылки на центральный контроллер 116. Более того, центральный контроллер 116 может запросить удаленное измерительное устройство 102 и дать ему указание сообщать не только показания о текущем потреблении, но также о текущем уровне напряжения на обеих фазах А и В.
Кроме того, в одном из вариантов осуществления изобретения, как показано на фиг. 2, датчик 238 незаконного воздействия выдает аналоговый сигнал о незаконном воздействии при любой попытке переделки или отсоединения удаленного измерительного устройства 102. Датчик 238 незаконного воздействия может представлять сбой, например, ртутный выключатель или бесконтактный переключатель, известные из уровня техники. Это очень желательно при применении для измерения потребления услуги, поскольку незаконное воздействие на счетчик для того, чтобы «украсть» коммунальную услугу, очень типично. Поскольку никто регулярно не посещает удаленное измерительное устройство 102 для визуального осмотра, датчик 238 незаконного воздействия – это элемент безопасности, предоставляющий возможность дистанционного обнаружения воровства. Аналоговый сигнал о незаконном воздействии направляется на АЦП 210 через AMUX, где он затем преобразуется в цифровой сигнал о незаконном воздействии. Цифровой сигнал о незаконном воздействии направляется на микропроцессор 214 через последовательный интерфейс 212. Микропроцессор 214 может выдать сообщение о нарушении для пересылки на центральный контроллер 116 или он может обеспечить сохранение цифрового сигнала о незаконном воздействии в памяти для последующего отчета. В случае отключения удаленного измерительного устройства 102 цифровой сигнал о незаконном воздействии хранится в памяти для последующего извлечения.
В одном из вариантов осуществления изобретения, как показано на фиг.2, интерфейс 224 CEBus, приемопередатчик 226 линии электропередач и приемопередатчик 234 витой пары показаны как неотъемлемая часть удаленного измерительного устройства 102. Однако следует отметить, что эти «шлюзовые» устройства могут быть расположены в ДБУ 122 (см. фиг.1). Кроме того, следует отметить, что размещение приемопередатчика 234 витой пары или приемопередатчика 226 линии электропередач в виде неотъемлемой части удаленного измерительного устройства 102 и вообще их наличие могут зависеть от характера и конфигурации оборудования. Также следует отметить, что хотя интерфейс 224 CEBus, приемопередатчик 226 линии электропередач и приемопередатчик 234 витой пары показаны на фиг. 2 как отдельные блоки, они могут быть объединены в единую специализированную интегральную схему очень широкомасштабной интеграции (VLSI ASIC) или даже объединены с микропроцессором 214. Методики VLSI ASIC широко известны в данной области техники.
В одном из вариантов осуществления интерфейс 224 CEBus включает в себя стираемое программируемое постоянное запоминающее устройство (EPROM), программируемое специализированным кодом, необходимым для запуска различных усовершенствованных услуг, описанных здесь. Кроме того, интерфейс 224 CEBus включает в себя энергонезависимую память для хранения параметров конфигурации системы CEBus. Наконец, интерфейс 224 CEBus включает в себя необходимые схемы для сопряжения с микропроцессором 214 и приемопередатчиком 226 линии электропередач и приемопередатчиком 234 витой пары. Например, интерфейс 224 CEBus может дополнительно включать в себя встроенный универсальный асинхронный приемопередатчик UART (не показан) для пересылки при более высоких скоростях передачи данных через приемопередатчик 234 витой пары. Контроллеры и интерфейсы CEBus широко известны в данной области техники. Приемопередатчик 226 линии электропередач и приемопередатчик 234 витой пары включают в себя необходимые схемы для осуществления модуляции несущей. Эти схемы могут включать в себя усилители, приемники, преобразователи и различные пассивные элементы. Приемопередатчики линий электропередач и витой пары также широко известны в данной области техники.
В процессе работы управляющие или информационные сообщения, исходящие от центрального контроллера 116 или, альтернативно, от мобильного устройства 140, могут быть приняты либо через интерфейсное устройство 240 ad-hoc сети, либо через приемник 218 и направлены на микропроцессор 214, где они затем направляются на интерфейс 224 CEBus. В ответ на управляющее или информационное сообщение интерфейс 224 CEBus генерируют кодированные сообщения PLC для передачи либо приемопередатчиком 234 витой пары, либо приемопередатчиком 226 линии электропередач, либо ими обоими. Кодированные сообщения PLC передаются по линиям электропередач 228 и 230, соответственно, или по линии 232 витой пары. CEBus-совместимый электроприбор 136 принимает кодированные сообщения PLC, декодирует их и предпринимает соответствующие действия.
На фиг.3 показан один из вариантов осуществления изобретения для мобильного устройства 140, такого как сотовый телефон или персональное цифровое информационное устройство (PDA), работающего в системе 100 по фиг. 1. Мобильное устройство 140 включает в себя антенну 300 для передачи и приема речи и данных в сотовой системе связи. Антенна 300 соединена с дуплексером 302 для изоляции приемного тракта от передающего тракта. Дуплексер подсоединен к схеме 308 приемника, образуя приемный тракт, и подсоединен к усилителю 304 и схеме 306 передатчика, образуя передающий тракт. Усилитель 304 дополнительно соединен с устройством 310 регулирования мощности, обеспечивающим управление усилителем 304. Усилитель 304 принимает сигналы от схемы 306 передачи.
Принятые сигналы сотовой системы связи посредством антенны 300 направляются на устройство 314 управления мощностью, которое реализует схему управления мощностью замкнутого контура. Устройство 314 управления мощностью соединено с коммуникационной шиной 318. Коммуникационная шина 318 обеспечивает общее соединение между модулями внутри мобильного устройства 140. Коммуникационная шина 318 дополнительно подсоединена к памяти 322 и устройству 316 регулирования восстановления. Память 322 хранит машиночитаемые команды для разнообразных действий и функций, применяемых в отношении мобильного устройства 140. Процессор 320 выполняет команды, хранящиеся в памяти 322. При нормальных условиях работы устройство управления мощностью выдает сигнал управления мощностью на устройство 310 регулирования мощности через мультиплексор 312. Устройство 310 регулирования мощности затем пересылает сигнал управления мощностью в качестве уровня усиления на усилитель 304.
Мобильное устройство 140 может принимать/или передавать информацию посредством интерфейса 324 ad-hoc сети, когда мобильное устройство 140 входит в зону радиопокрытия другого устройства, оборудованного интерфейсом ad-hoc сети. Информация, принятая через интерфейс 324 ad-hoc сети, может храниться в памяти 322 и/или обрабатываться процессором 320, который может представлять собой цифровой процессор сигналов (ЦПС, DSP).
В соответствии с одним из вариантов осуществления изобретения передача информации от мобильного устройства может быть периодической, по запросу базовой станции или центрального контроллера, или в соответствии с запланированной схемой, управления которой может осуществляться беспроводной инфраструктурой или центральным контроллером. Беспроводная инфраструктура может отслеживать местоположение и/или перемещения мобильного устройства для управления доставкой данных с мобильного устройства на центральный контроллер. В одном из вариантов осуществления изобретения, когда информация о текущем положении мобильного устройства показывает, что мобильное устройство находится вблизи центрального контроллера или промежуточного беспроводного устройства, этому мобильному устройству может быть дана команда переслать информацию на центральный контроллер или промежуточное беспроводное устройство. Такой способ лучше управляет сетевыми ресурсами и продлевает срок службы батареи в мобильном устройстве по сравнению с тем, когда мобильное устройство пересылает информацию с дальнего расстояния на центральный контроллер. В другом варианте осуществления изобретения, когда профиль мобильного устройства показывает время в течение дня или недели, когда это мобильное устройство обычно приближается к центральному контроллеру или промежуточному беспроводному устройству, мобильное устройство может быть запрограммировано на пересылку информации на центральный контроллер или промежуточное беспроводное устройство в запланированное время. Такое интеллектуальное планирование пересылки информации помогает управлять сетевыми ресурсами и продлевает срок службы батареи в мобильном устройстве по сравнению с тем, когда мобильное устройство пересылает информацию с дальнего расстояния на центральный контроллер или когда имеет место интенсивный трафик в сети.
Таким образом, раскрытые варианты осуществления изобретения используют недорогие, низкомощностные, рассчитанные на работу в ad-hoc сетевой среде устройства беспроводной связи для обеспечения гибкого снятия показаний и управления удаленными телеметрическими устройствами с предоставлением усовершенствованных потребительских услуг потребителям. Устройства беспроводной связи принимают информацию об измерениях от измерительных устройств и пересылают такую информацию на центральный контроллер в соответствии с запланированной схемой отправки данных, таким образом избегая дорогостоящих и высокомощностных приемопередатчиков и тщательного сетевого планирования.
Предыдущее описание вариантов осуществления изобретения предназначено для того, чтобы предоставить возможность специалисту в данной области техники осуществить или использовать настоящее изобретение. Различные модификации этих вариантов осуществления очевидны для специалистов в данной области техники и определенные здесь общие принципы могут быть применены и в других вариантах осуществления изобретения. Таким образом, не подразумевается, что настоящее изобретение ограничено показанными здесь вариантами осуществления, но должно иметь самый широкий объем, согласующийся с принципами и новыми признаками, раскрытыми здесь.
Формула изобретения
1. Способ дистанционной телеметрии в системе беспроводной связи, включающий в себя телеметрическое устройство, мобильное устройство и центральный контроллер, при этом способ включает в себя этапы, на которых принимают информацию от телеметрического устройства посредством мобильного устройства через ad-hoc сеть (одноранговую сеть с произвольной структурой), передают принятую информацию на центральный контроллер посредством мобильного устройства, при этом при передаче принятой информации эту информацию передают в период неинтенсивной нагрузки, и переносят принятую информацию на центральный контроллер, по меньшей мере, одной ad-hoc сети.
2. Способ по п.1, в котором при передаче принятой информации передают информацию посредством домашнего базового устройства, когда мобильное устройство входит в зону радиопокрытия этого домашнего базового устройства.
3. Способ по п.1, в котором при передаче принятой информации передают информацию посредством домашнего компьютерного устройства через Интернет.
4. Способ по п.3, в котором при передаче принятой информации передают информацию, когда мобильное устройство входит в зону радиопокрытия домашнего компьютерного устройства.
РИСУНКИ
|
|