|
|
(21), (22) Заявка: 2004126430/09, 17.01.2003
(24) Дата начала отсчета срока действия патента:
17.01.2003
(30) Конвенционный приоритет:
01.02.2002 EP 02075462.8
(43) Дата публикации заявки: 27.01.2006
(46) Опубликовано: 10.11.2007
(56) Список документов, цитированных в отчете о поиске:
WO 00/28544 A1, 18.05.2000. RU 2095857 C1, 10.11.1997. WO 97/46008 A1, 04.12.1997. WO 97/06531 A1, 20.02.1997.
(85) Дата перевода заявки PCT на национальную фазу:
01.09.2004
(86) Заявка PCT:
IB 03/00126 (17.01.2003)
(87) Публикация PCT:
WO 03/065717 (07.08.2003)
Адрес для переписки:
129010, Москва, ул. Б. Спасская, 25, стр.3, ООО “Юридическая фирма Городисский и Партнеры”, пат.пов. Ю.Д.Кузнецову, рег.№ 595
|
(72) Автор(ы):
КЕЛЛИ Деклан П. (NL), ВАН ГЕСТЕЛ Вильхельмус Й. (NL)
(73) Патентообладатель(и):
КОНИНКЛЕЙКЕ ФИЛИПС ЭЛЕКТРОНИКС Н.В. (NL)
|
(54) СПОСОБ, УСТРОЙСТВО И НОСИТЕЛЬ ЗАПИСИ ДЛЯ ЗАПИСИ ПОСЛЕДОВАТЕЛЬНОСТИ СИГНАЛОВ ВИДЕОИНФОРМАЦИИ
(57) Реферат:
Изобретение относится к устройству для записи последовательности сигналов видеоинформации на носитель записи. Технический результат заключается в обеспечении собственно устройства для записи последовательности сигналов видеоинформации на носитель записи. Устройство содержит средство (1) ввода для приема сигналов видеоинформации, средство (100) формирования для формирования сигналов информации характеристической точки, средство (100) обработки для обработки сигналов информации характеристической точки для нескольких характеристических точек в последовательность сигналов информации характеристических точек (ИХТ) и средство (102) записи для записи последовательности сигналов видеоинформации и последовательности сигналов информации характеристических точек на носитель записи. Сигналы информации характеристической точки идентифицируют характеристическую точку в последовательности сигналов видеоинформации. 3 н. и 9 з.п. ф-лы, 10 ил.
Изобретение относится к устройству для записи последовательности сигналов видеоинформации на носитель записи, причем последовательность сигналов видеоинформации включает в себя изображения типа интра-изображения, кодированные независимо от других изображений, и изображения типа интер-изображения, кодированные относительно других изображений, при этом устройство содержит:
– средство ввода для приема сигналов видеоинформации и
– средство формирования сигналов информации характеристической точки, при этом сигналы информации характеристической точки идентифицируют характеристическую точку в последовательности сигналов видеоинформации, характеристическая точка относится к изображению, выбранному из изображений типа интра-изображения и изображений типа интер-изображения, сигналы информации характеристической точки включают в себя блок информации, содержащий:
– данные местоположения, определяющие местоположение характеристической точки в последовательности сигналов видеоинформации, и
– данные идентификации, идентифицирующие характеристическую точку,
– средство обработки для обработки сигналов информации характеристической точки для нескольких характеристических точек в последовательность сигналов информации характеристических точек, и
– средство записи для записи последовательности сигналов видеоинформации и последовательности сигналов информации характеристических точек на носитель записи.
Дополнительно изобретение относится к устройству для воспроизведения последовательности сигналов видеоинформации, включающей в себя изображения типа интра-изображения, кодированные независимо от других изображений, и изображения типа интер-изображения, кодированные относительно других изображений, с использованием для последовательности сигналов видеоинформации, соответствующей последовательности сигналов информации характеристических точек, включающей в себя сигналы информации характеристической точки для нескольких характеристических точек, причем сигналы информации характеристической точки идентифицируют характеристическую точку в последовательности сигналов видеоинформации, характеристическая точка относится к изображению, выбранному из изображений типа интра-изображения и изображений типа интер-изображения, сигналы информации характеристической точки включают в себя блок информации, содержащий:
– данные местоположения, определяющие местоположение характеристической точки в последовательности сигналов видеоинформации, и
– данные идентификации, идентифицирующие характеристическую точку,
при этом устройство содержит:
– средство ввода для приема последовательности сигналов видеоинформации и соответствующей последовательности сигналов информации характеристических точек,
– средство извлечения для извлечения блока информации из последовательности сигналов информации характеристических точек,
– средство обработки для обработки последовательности сигналов видеоинформации в сигналы видеоинформации с использованием блока информации.
Дополнительно, изобретение относится к способу формирования последовательности сигналов информации, относящихся к характеристическим точкам в последовательности сигналов видеоинформации, включающей в себя изображения типа интра-изображения, кодированные независимо от других изображений, и изображения типа интер-изображения, кодированные относительно других изображений, в котором для характеристической точки, относящейся к изображению, выбранному из изображений типа интра-изображения и изображений типа интер-изображения, формируют блок информации, включающий в себя:
– данные местоположения, определяющие местоположение характеристической точки в последовательности сигналов видеоинформации, и
– данные идентификации, идентифицирующие характеристическую точку.
Дополнительно, настоящее изобретение относится к носителю записи, содержащему последовательность сигналов видеоинформации, которая включает в себя изображения типа интра-изображения, кодированные независимо от других изображений, и изображения типа интер-изображения, кодированные относительно других изображений, при этом носитель записи дополнительно содержит для последовательности сигналов видеоинформации соответствующую последовательность сигналов информации характеристических точек, включающую в себя сигналы информации характеристической точки для нескольких характеристических точек, сигналы информации характеристической точки идентифицируют характеристическую точку в последовательности сигналов видеоинформации, характеристическая точка относится к изображению, выбранному из изображений типа интра-изображения и изображений типа интер-изображения, сигналы информации характеристической точки включают в себя блок информации, содержащий:
– данные местоположения, определяющие местоположение характеристической точки в последовательности сигналов видеоинформации, и
– данные идентификации, идентифицирующие характеристическую точку.
Разработка перезаписываемых носителей информации большой емкости, таких как оптические цифровые многофункциональные диски стандарта DVD+RW или DVD-RW, предоставляет уникальную технологию для хранения данных машинного фильма (движущейся видеоинформации) и для доступа к ним. Поскольку для хранения таких данных требуется большая емкость, то для уменьшения емкости, необходимой для хранения, используются различные виды алгоритмов сжатия видеоинформации. В основном, эти алгоритмы используют концепцию, определенную как сжатие интер-изображений, которая включает в себя хранение в файле данных только отличий между последовательными изображениями. При сжатии интер-изображений сохраняется полностью изображение ключевого изображения или опорного изображения, в основном в формате умеренной степени сжатия. Последующие изображения сравниваются с ключевым изображением, и сохраняются только отличия между ключевым изображением и последующими изображениями. Периодически, например, при отображении новых сцен, сохраняются новые ключевые изображения, и последующие сравнения начинаются с этой новой опорной точки.
Стандарт сжатия, называемый сжатие MPEG (стандарт сжатия изображения и звука, разработанный Экспертной группой по вопросам движущихся изображений) является набором способов для сжатия и восстановления сжатых данных изображений машинного фильма, который использует описанный выше способ сжатия интер-изображений. Ключевые или интра-изображения определены как I-изображения 23 (I-pictures 23). Интер-изображения делятся на две группы: интер-изображения, кодированные с использованием только прошедших опорных элементов, которые определены, как P-изображения 25 (P-pictures 25), и интер-изображения, кодированные с использованием прошедших и/или будущих опорных элементов, определенные, как B-изображения 24 (B-pictures 24).
Вариант осуществления способа, описанного в вступительном разделе, известен из опубликованной международной патентной заявки WO 00/28544, которая описывает, как извлекаются в последовательности видеоинформации указатели на I-изображения и P-изображения. Информация, относящаяся к этим указателям, образует последовательность информации характеристических точек, далее по тексту, обозначаемой ИХТ (CPI).
В основном, ИХТ используется для определения местоположения релевантных элементов данных в последовательности видеоинформации, без необходимости считывания и анализа самой последовательности. Это является существенным для управления несколькими различными операциями системы, например, операцией комбинированного воспроизведения, такой как ускоренная перемотка вперед и ускоренная перемотка назад, или воспроизведения с произвольным доступом, когда пользователю может потребоваться начать воспроизведение с некоторого конкретного момента времени в последовательности видеоинформации.
Способ, раскрытый в WO 00/28544, предназначен для самокодируемых последовательностей видеоинформации, т.е. последовательностей, кодированных тем же устройством, которое создает соответствующую ИХТ, с использованием ограниченного формата данных MPEG. Для записи вещания цифрового телевидения или других последовательностей видеоинформации, кодированных внешним образом, применяется менее ограниченный формат кодирования MPEG.
В частности, в MPEG-последовательности видеоинформации существует заголовок последовательности, который определяет параметры для последовательности, включая параметры кодирования, используемые при уплотнении (разуплотнении) видеоинформации, такие как матрицы квантования. Заголовок последовательности расположен в начале MPEG-последовательности и может повторяться на протяжении последовательности. Обычно заголовок последовательности повторяется перед каждым I-изображением. При повторении заголовка последовательности могут быть изменены только матрицы квантования. Однако в системе с редактированием в точках редактирования могут измениться другие параметры заголовка последовательности.
Известный способ идентифицирует в ИХТ начальную и конечную точку для конкретного I-изображения в MPEG-последовательности. Эти точки называются I_начальная (I_start) и I_конечная (I_end), соответственно. Так как последовательности являются самокодируемыми, то было принято, что всем I-изображениям будет предшествовать заголовок последовательности и, следовательно, все I-изображения являются точками входа, т.е. декодер может начать декодирование с любого I-изображения и, гарантированно, может осуществить корректное декодирование. Однако в случае записи цифрового телевидения не обязательно каждому I-изображению будет предшествовать заголовок последовательности. Если декодер попробует осуществить декодирование такого I-изображения, не обнаружив предшествующий заголовок последовательности, если параметры кодирования изменились, то он будет использовать неправильные параметры кодирования, например, неправильные матрицы квантования или, после точки редактирования, другие параметры. Следовательно, в записи цифрового телевидения точки ИХТ I_начальная/I_конечная могут указывать только на I-изображения с заголовком последовательности.
Для обеспечения возможности произвольного доступа в вещаниях цифрового телевидения требуется довольно частое повторение в последовательности заголовка последовательности, но может произойти так, что скорость повторения не будет достаточно высокой для обеспечения высокого качества комбинированного воспроизведения. Примером может быть запись вещания, в которой заголовок последовательности повторяется каждые 5 секунд. Если в ИХТ включены только указатели на I-изображения с заголовками последовательности и комбинированное воспроизведение I-изображения выполняется только с 5 изображениями в секунду, то минимальная скорость комбинированного воспроизведения ограничена 25 нормальными скоростями воспроизведения.
Первой задачей изобретения является обеспечение устройства для записи последовательности сигналов видеоинформации типа, описанного в вступительном разделе, которое выполнено с возможностью формирования и записи нового типа ИХТ, что обеспечивает возможность выполнения высококачественного комбинированного воспроизведения и воспроизведения с произвольным доступом.
Второй задачей изобретения является обеспечение устройства для воспроизведения последовательности сигналов видеоинформации типа, описанного в вступительном разделе, которое выполнено с возможностью приема и обработки нового вида ИХТ, для возможности выполнения высококачественного комбинированного воспроизведения и воспроизведения с произвольным доступом.
Третьей задачей изобретения является обеспечение способа типа, описанного в вступительном разделе, который может быть применен для формирования нового типа ИХТ, что обеспечивает возможность выполнения высококачественного комбинированного воспроизведения и воспроизведения с произвольным доступом.
Четвертой задачей изобретения является обеспечение носителя записи вида, описанного в вступительном разделе, который содержит новый тип ИХТ, в который включена управляющая информация, что обеспечивает высококачественное выполнение устройством воспроизведения комбинированного воспроизведения и воспроизведения с произвольным доступом.
Первая задача, согласно изобретению, выполняется устройством для записи, отличающимся тем, что средство формирования предназначено для формирования сигналов информации характеристической точки, в которых данные идентификации включают в себя информацию, относящуюся к наличию заголовка последовательности, содержащего информацию, определяющую параметры кодирования для последовательности сигналов видеоинформации.
Вариант осуществления изобретения обладает тем преимуществом, что сформированная ИХТ теперь может включать в себя все I-изображения 23 из MPEG-последовательности. Это обеспечивает постоянное, т.е. вне зависимости от того, является ли последовательность самокодируемой или нет, наличие в декодере информации о том, где обнаружить параметры кодирования при выполнении воспроизведения с произвольным доступом или комбинированного воспроизведения.
Вариант осуществления устройства для записи отличается тем, что средство формирования предназначено для формирования сигналов информации характеристической точки, в которых данные идентификации включают в себя информацию, относящуюся к одному из следующих условий:
– изображение является изображением типа интра-изображения 23, и ему предшествует заголовок последовательности,
– изображение является изображением типа интра-изображения 23 без заголовка последовательности,
– изображение является изображением типа интер-изображения 25, и ему предшествует заголовок последовательности.
Этот вариант осуществления обладает тем преимуществом, что сформированная ИХТ теперь может включать столько входов, соответствующих P-изображениям 25, сколько необходимо, что существенно повышает эффективность комбинированного воспроизведения.
Согласно изобретению, дополнительный вариант осуществления устройства для записи отличается тем, что средство формирования предназначено для формирования сигналов информации характеристической точки, в которых данные идентификации включают в себя информацию, относящуюся к изменению параметров кодирования.
Этот вариант осуществления обладает тем преимуществом, что сформированная ИХТ включает в себя информацию, значительно повышающую эффективность декодера. При комбинированном воспроизведении нет необходимости в считывании заголовка последовательности из конкретного I-изобрражения, если отсутствует изменение параметров кодирования, и еще могут быть включены последующие P-изображения. Для обратного комбинированного воспроизведения изменение в параметрах кодирования служит индикатором того, что предыдущие I-изображения используют другой заголовок последовательности. Следовательно, заголовок последовательности из предыдущего I-изображения должен быть считан до декодирования упомянутых P-изображений.
Вторая задача, согласно изобретению, выполняется устройством для воспроизведения, которое отличается тем, что средство извлечения предназначено для извлечения данных идентификации, включающих в себя информацию, относящуюся к наличию заголовка последовательности, причем заголовок последовательности включает в себя информацию, определяющую параметры кодирования для последовательности сигналов видеоинформации, и средство обработки предназначено для использования информации, относящейся к наличию заголовка последовательности.
Это устройство обладает тем преимуществом, что при операциях системы, таких как комбинированное воспроизведение, большее количество изображений доступно для представления. Дополнительно, изобретение увеличивает количество точек входа, используемых при воспроизведении с произвольным доступом. Дополнительно, изобретение обеспечивает возможность корректного декодирования всех изображений, относящихся к входам ИХТ, так как декодер имеет информацию о том, где обнаружить параметры кодирования.
Согласно изобретению, вариант осуществления устройства для воспроизведения отличается тем, что
– средство извлечения предназначено для извлечения данных идентификации, дополнительно включающих в себя информацию, относящуюся к одному из следующих условий:
– изображение является изображением типа интра-изображения 23, и ему предшествует заголовок последовательности,
– изображение является изображением типа интра-изображения 23 без заголовка последовательности,
– изображение является изображением типа интер-изображения 25, и ему предшествует заголовок последовательности.
– средство обработки предназначено для использования информации, относящейся к вышеупомянутым условиям.
Этот вариант осуществления обладает тем преимуществом, что он способствует сглаженному многоскоростному комбинированному воспроизведению посредством использования дополнительных входов в ИХТ, соответствующих P-изображениям.
Согласно изобретению, дополнительный вариант осуществления устройства для воспроизведения отличается тем, что
– средство извлечения предназначено для извлечения данных идентификации, включающих в себя информацию, относящуюся к изменению параметров кодирования, и
– средство обработки предназначено для использования информации, относящейся к изменению параметров кодирования.
Этот вариант осуществления обладает тем преимуществом, что он повышает эффективность декодера, уменьшая время, необходимое для декодирования изображений.
Третья задача, согласно изобретению, выполняется способом, отличающимся тем, что содержит этап, на котором формируют блок информации для включения в данные идентификации информации, относящейся к наличию заголовка последовательности, содержащего информацию, определяющую параметры кодирования для последовательности сигналов видеоинформации.
Четвертая задача, согласно изобретению, выполняется носителем информации, отличающимся тем, что данные идентификации включают в себя управляющую информацию, относящуюся к наличию заголовка последовательности, содержащего информацию, определяющую параметры кодирования для последовательности сигналов видеоинформации.
Вышеуказанные и другие аспекты изобретения будут далее описаны и пояснены со ссылкой на чертежи, на которых
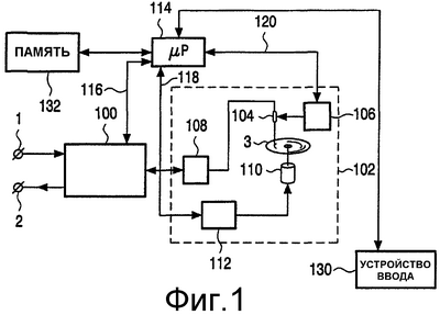
Фиг.1 – вариант осуществления устройства для записи последовательности сигналов видеоинформации, согласно изобретению.
Фиг.2 – возможный вариант структуры блока информации, который включает в себя информацию, относящуюся к наличию заголовка последовательности.
Фиг.3 – возможный вариант структуры блока информации, который включает в себя комбинированную информацию, относящуюся к виду изображения и наличию заголовка последовательности.
Фиг.4 – возможный вариант структуры блока информации, который включает в себя информацию, относящуюся к изменению кодирования параметров.
Фиг.5 – вариант осуществления устройства для воспроизведения последовательности сигналов видеоинформации, согласно изобретению.
Фиг.6 – вариант осуществления способа формирования ИХТ со структурой блока информации, изображенной на фиг.2.
Фиг.7 – вариант осуществления способа формирования ИХТ со структурой блока информации, изображенной на фиг.3.
Фиг.8 – вариант осуществления способа формирования ИХТ со структурой блока информации, изображенной на фиг.4.
Фиг.9 – фрагмент последовательности сигналов видеоинформации с изображениями, указатели на которые могут быть включены в ИХТ, в соответствии с известным способом.
Фиг.10 – фрагмент последовательности сигналов видеоинформации с изображениями, указатели на которые могут быть включены в ИХТ, согласно изобретению.
Фиг.1 изображает вариант осуществления устройства для записи последовательности сигналов видеоинформации, согласно изобретению. Устройство содержит вход 1 для приема сигналов видеоинформации и блок 100 обработки сигналов видеоинформации. Блок 100 обработки сигналов через вход 1 принимает сигналы видеоинформации и обрабатывает сигналы видеоинформации в последовательность сигналов видеоинформации для записи последовательности сигналов видеоинформации на носитель 3 записи. Дополнительно имеется в наличии блок 102 считывания/записи. Блок 102 считывания/записи содержит головку 104 считывания/записи, которая в рассматриваемом возможном варианте является оптической головкой считывания/записи для считывания/записи последовательности сигналов видеоинформации и соответствующей ИХТ с носителя 3 записи/на носитель 3 записи. Дополнительно, имеется в наличии средство 106 позиционирования для позиционирования головки 104 в радиальном направлении по носителю 3 записи. Имеется в наличии усилитель 108 считывания/записи для усиления сигнала, считанного с носителя 3 записи и для усиления сигнала, который должен быть записан на носитель 3 записи. Имеется в наличии двигатель 110 для вращения носителя 3 записи в ответ на сигнал управления двигателем, подаваемый блоком 112 генератора сигналов управления двигателем. Имеется в наличии микропроцессор 114 для управления всеми схемами через линии 116, 118 и 120 управления.
Блок 100 обработки сигналов дополнительно адаптирован для формирования соответствующей ИХТ для последовательности сигналов видеоинформации. Для этого блок 100 обработки сигналов 100, например, выполнен с возможностью идентификации местоположения I-изображения в последовательности сигналов видеоинформации. ОН также выполнен с возможностью обнаружения наличия заголовка последовательности в последовательности сигналов видеоинформации. Дополнительно, блок 100 обработки сигналов выполнен с возможностью формирования блока информации для характеристической точки, соответствующей данному I-изображению, изображенного возможным вариантом по фиг.2. В этом возможном варианте блок информации имеет 4 байта в длину и состоит из: 1-битного индикатора 41 наличия заголовка последовательности ИЗП (SHI), 13-битной временной метки 42 представления ВМП (PTS), определяющей время продолжительности представления последовательности видеоинформации, когда должно быть представлено конкретное изображение, и 18-битного номера 43 пакета источника НПИ (SPN), определяющего адрес местоположения характеристической точки в последовательности видеоинформации.
ИХТ может временно храниться в памяти 132, до завершения обработки сигналов видеоинформации в последовательность сигналов видеоинформации и, в конечном счете, последующей записи на носитель 3 записи. Затем хранящаяся в памяти 132 ИХТ может быть записана на носитель 3 записи.
Другой вариант осуществления устройства для записи последовательности сигналов видеоинформации, согласно изобретению, реализуется посредством адаптации блока 102 считывания/записи для выполнения считывания/записи последовательности сигналов видеоинформации и соответствующеЙ ИХТ с носителя записи/на носитель записи типа твердотельной памяти.
Дополнительный вариант осуществления устройства для записи последовательности сигналов видеоинформации, согласно изобретению, реализуется посредством адаптации блока 100 обработки сигналов 100 для облегчения идентификации I-изображений 23 и P-изображений 25, в комбинации с обнаружением заголовка последовательности в последовательности сигналов видеоинформации. Дополнительно, блок 100 обработки сигналов выполнен с возможностью формирования блока информации для характеристической точки, изображенного возможным вариантом по фиг.3. В этом возможном варианте блок информации имеет 4 байта в длину и состоит из: 2-битного индикатора 44 типа изображения ТИП (TYP), 12-битной ВМП 42 и 18-битного НПИ 43.
ИХТ, созданная согласно этому варианту осуществления, содержит три новых типа входа, называемые: Первичными Точками Входа, Вторичными Точками Входа и Зависимыми Точками Входа, соответственно. Первичные Точки Входа являются точками, в которых декодер может начинать декодирование независимо от любых предыдущих точек в последовательности видеоинформации. Вторичные Точки Входа являются точками, в которых декодер может начинать декодирование, как только декодировано изображение, соответствующее предыдущей Первичной Точке Входа. Зависимые Точки Входа являются точками, для которых соответствующие изображения могут декодироваться только в том случае, если было декодировано изображение, соответствующее предыдущему входу ИХТ, который может быть любым из трех видов.
Вышеупомянутые точки определены без ссылки на MPEG, чтобы подчеркнуть, что они могут быть применены в других способах кодирования видеоинформации с зависимыми частями.
Согласование с видеоинформацией MPEG осуществляется следующим образом: Первичными Точками Входа являются точки, соответствующие I-изображениям, которым предшествует заголовок последовательности, Вторичными Точками Входа являются точки, соответствующие любому из I-изображений (но обычно используются только для I-изображений без заголовка последовательности), Зависимыми точками являются точки, соответствующие P-изображениям.
Следующий вариант осуществления устройства для записи последовательности сигналов видеоинформации, согласно изобретению, реализуется посредством адаптации блока 100 обработки сигналов для обнаружения изменений в параметрах кодирования между последовательными заголовками последовательности. Дополнительно, блок 100 обработки сигналов выполнен с возможностью формирования блока информации для характеристической точки, изображенного возможным вариантом по фиг.4. В этом возможном варианте блок информации имеет 4 байта в длину и состоит из: 2-битного индикатора ТИП 44, 1-битного индикатора 45 изменения параметров кодирования ИПК (CPC), 12-битной ВМП 42 и 17-битного НПИ 43.
Еще один вариант осуществления устройства для записи последовательности сигналов видеоинформации может быть реализован посредством обеспечения устройства 130 ввода для приема команд от пользователя. Такие команды могут быть в виде команд записи, например, идентифицирующих характеристическую точку в последовательности сигналов видеоинформации.
Фиг.5 изображает вариант осуществления устройства для воспроизведения последовательности сигналов видеоинформации с носителя 3 записи, согласно изобретению. Устройство содержит блок 302 считывания, блок 300 обработки сигналов и выход 202 для вывода сигналов видеоинформации. Блок 302 считывания содержит головку 304 считывания, которая в рассматриваемом возможном варианте является оптической головкой считывания для считывания последовательности сигналов видеоинформации с носителя 3 записи. Блок 300 обработки сигналов принимает из блока 302 считывания последовательность сигналов видеоинформации и обрабатывает последовательность сигналов видеоинформации в сигналы видеоинформации. Дополнительно, имеется в наличии средство 306 позиционирования для позиционирования головки 304 в радиальном направлении по носителю 3 записи. Имеется в наличии усилитель 308 считывания для усиления сигнала, считанного с носителя 3 записи. Имеется в наличии двигатель 310 для вращения носителя 3 записи в ответ на сигнал управления двигателем, подаваемый блоком 312 генератора сигнала управления двигателем. Имеется в наличии микропроцессор 314 для управления всеми схемами через линии 316, 318 и 320 управления.
Блок 300 обработки сигналов адаптирован для преобразования последовательности сигналов видеоинформации в сигналы видеоинформации, которые могут выводиться на другое устройство (например, телевизор) или на другой блок обработки, который на рассматриваемом чертеже не изображен. Дополнительно, блок 302 считывания адаптирован для считывания ИХТ с носителя 3 записи. Блок 300 обработки сигналов дополнительно адаптирован для приема из блока 302 считывания ИХТ и извлечения блока информации, относящегося к характеристической точке в последовательности сигналов видеоинформации, изображенного на фиг.2.
Устройство дополнительно обеспечено устройством 330 ввода для приема команд от пользователя. Такие команды могут быть в виде различных команд воспроизведения, например, идентифицирующих конкретную точку в последовательности сигналов видеоинформации, в которой должно начаться воспроизведение. Для этого блок 300 обработки выполнен с возможностью, например, обнаружения местоположения I-изображения с заголовком последовательности.
ИХТ может храниться в памяти 332.
Дополнительный вариант осуществления устройства для воспроизведения последовательности сигналов видеоинформации реализуется посредством адаптации блока 300 обработки сигналов для обработки информации, включенной в блок информации типа, изображенного на фиг.3. Это способствует выполнению сглаженного многоскоростного комбинированного воспроизведения устройством посредством использования дополнительных входов в ИХТ, соответствующих P-изображениям.
Другой вариант осуществления устройства для воспроизведения последовательности сигналов видеоинформации, согласно изобретению, реализуется посредством адаптации блока 300 обработки сигналов для интерпретации информации, относящейся к изменению параметров кодирования между заголовками последовательности, из блока информации типа, изображенного на фиг.4.
Следующий вариант осуществления устройства для воспроизведения последовательности сигналов видеоинформации реализуется посредством адаптации блока 300 обработки сигналов любого из предыдущих вариантов осуществления для приема последовательности сигналов видеоинформации и/или соответствующей ИХТ через вход 201. Это расширяет функциональные возможности устройства, делая возможным обработку последовательности сигналов видеоинформации, принятых, например, из блока 302 считывания с использованием соответствующей ИХТ, полученной, например, из Интернета.
Еще один вариант осуществления устройства для воспроизведения последовательности сигналов видеоинформации реализуется посредством адаптации блока 302 считывания для выполнения считывания последовательности сигналов видеоинформации и соответствующей ИХТ с носителя записи типа твердотельной памяти.
Фиг.6 изображает вариант осуществления способа формирования ИХТ, согласно изобретению, и в соответствии с блоком информации, изображенным на фиг.2. На этапе 502 определяется вид изображения. Если изображение является I-изображением, то на этапе 504 проверяется наличие заголовка последовательности. Если I-изображению предшествует заголовок последовательности, то на этапе 505 значение индикатора 41 заголовка последовательности (ИЗП) устанавливается в двоичную ‘1’, иначе на этапе 506 ИЗП устанавливается в двоичный ‘0’. На этапе 507 определяется значение временной метки 42 представления (ВМП). На этапе 508 определяется значение номера 43 пакета источника (НПИ). На этапе 509 создается блок информации. На этапе 510 выполняется проверка в отношении того, имеются ли еще изображения в последовательности видеоинформации. Если имеются, то на этапе 511 берется следующее изображение для анализа.
Фиг.7 изображает другой вариант осуществления способа формирования ИХТ, согласно изобретению, и в соответствии с блоком информации, изображенным на фиг.3. На этапе 602 определяется вид изображения. Если изображение является I-изображением, то на этапе 604 проверяется наличие заголовка последовательности. Если I-изображению предшествует заголовок последовательности, то на этапе 605 значение индикатора 44 типа изображения (ТИП) устанавливается в двоичную ‘3’, иначе на этапе 606 ТИП устанавливается в двоичную ‘2’. Если изображение является P-изображением, то на этапе 611 проверяется наличие заголовка последовательности. Если P-изображению предшествует заголовок последовательности, то на этапе 612 значение индикатора 44 вида изображения (ТИП) устанавливается в двоичную ‘1’. На этапе 607 определяется значение временной метки 42 представления (ВМП). На этапе 608 определяется значение номера 43 пакета источника (НПИ). На этапе 609 создается блок информации. На этапе 613 выполняется проверка в отношении того, имеются ли еще изображения в последовательности видеоинформации. Если имеются, то на этапе 614 берется следующее изображение для анализа.
Фиг.8 изображает следующий вариант осуществления способа формирования ИХТ, согласно изобретению, и в соответствии с блоком информации, изображенным на фиг.4. На этапе 702 определяется вид изображения. Если изображение является I-изображением, то на этапе 704 проверяется наличие заголовка последовательности. Если I-изображению предшествует заголовок последовательности, то на этапе 705 значение индикатора 44 типа изображения (ТИП) устанавливается в двоичную ‘3’, иначе на этапе 711 ТИП устанавливается в двоичную ‘2’. Если изображение является P-изображением, то на этапе 714 проверяется наличие заголовка последовательности. Если P-изображению предшествует заголовок последовательности, то на этапе 715 значение индикатора 44 типа изображения (ТИП) устанавливается в двоичную ‘1’. На этапе 706 выполняется проверка в отношении того, имеется ли изменение параметров кодирования между последовательными заголовками последовательности. В случае наличия изменений в параметрах кодирования, значение индикатора 45 изменения параметров кодирования (ИПК) устанавливается в двоичную ‘1’, иначе его значение устанавливается в двоичный ‘0’. На этапе 708 определяется значение временной метки 42 представления (ВМП). На этапе 709 определяется значение номера 43 пакета источника (НПИ). На этапе 710 создается блок информации. На этапе 716 выполняется проверка в отношении того, имеются ли еще изображения в последовательности видеоинформации. Если имеются, то на этапе 717 берется следующее изображение для анализа.
Фиг.9 изображает фрагмент последовательности сигналов видеоинформации с изображениями, указатели на которые могут быть включены в ИХТ, в соответствии с известным способом. Последовательность сигналов видеоинформации включает в себя группу изображений 22 ГИ (GOP), состоящую из информации нескольких изображений. Каждая ГИ начинается с I-изображения 23 (I) и может содержать P-изображения 25 (P) и B-изображения 24 (B). Заголовки 21 последовательности обозначены как ЗП (SHQ). Ссылочная позиция 20 на фиг.9 обозначает изображения, указатели на которые могут быть включены в ИХТ.
Фиг.10 изображает фрагмент последовательности сигналов видеоинформации с изображениями, указатели на которые могут быть включены в ИХТ, согласно изобретению. Эти изображения обозначены ссылкой 30.
Хотя изобретение было описано в отношении предпочтительных вариантов осуществления, они не должны восприниматься в качестве ограничивающих возможных вариантов. Следовательно, для специалистов в данной области техники очевидны различные возможные модификации, которые не выводят за рамки объема изобретения, определяемого формулой изобретения. Дополнительно, изобретение заключается в каждом новом признаке или комбинации признаков, описанных выше. Следует отметить, что изобретение может быть реализовано посредством процессора общего назначения, выполняющего компьютерную программу, или специализированными аппаратными средствами, или их комбинацией, и что в этом документе слово “включающее” не исключает наличие других элементов, или этапов, кроме перечисленных, а употребление элемента в единственном числе не исключает наличия нескольких таких элементов, что любая ссылка не ограничивает объем, определяемый формулой изобретения, что “средство” может быть представлено одним элементом или несколькими элементами, и что несколько “средств” может быть представлено одним аппаратным элементом.
Формула изобретения
1. Устройство для записи последовательности сигналов видеоинформации на носитель записи, при этом последовательность сигналов видеоинформации включает в себя изображения типа интра-изображения (23), кодированные независимо от других изображений, и изображения типа интер-изображения (24, 25), кодированные относительно других изображений, причем устройство содержит
средство (1) ввода для приема сигналов видеоинформации и
средство формирования (100) для формирования сигналов информации характеристической точки, причем сигналы информации характеристической точки идентифицируют характеристическую точку в последовательности сигналов видеоинформации, характеристическая точка относится к изображению, выбранному из изображений типа интра-изображения и изображений типа интер-изображения, сигналы информации характеристической точки включают в себя блок информации, содержащий
данные местоположения, определяющие местоположение характеристической точки в последовательности сигналов видеоинформации, и
данные идентификации, идентифицирующие характеристическую точку,
средство (100) обработки для обработки сигналов информации характеристической точки для нескольких характеристических точек в последовательность сигналов информации характеристических точек, и
средство (102) записи для записи последовательности сигналов видеоинформации и последовательности сигналов информации характеристических точек на носитель записи,
отличающееся тем, что средство формирования выполнено с возможностью формирования сигналов информации характеристической точки, в которых данные идентификации содержат информацию, относящуюся к наличию заголовка (21) последовательности, который включает в себя информацию, определяющую параметры кодирования для последовательности сигналов видеоинформации.
2. Устройство по п.1, отличающееся тем, что средство формирования выполнено с возможностью формирования сигналов информации характеристической точки, в которых данные идентификации включают в себя информацию, относящуюся к одному из следующих условий
изображение является изображением типа интра-изображения (23), и ему предшествует заголовок последовательности,
изображение является изображением типа интра-изображения (23) без заголовка последовательности,
изображение является изображением типа интер-изображения (25), и ему предшествует заголовок последовательности.
3. Устройство по любому из п.1 или 2, отличающееся тем, что средство формирования выполнено с возможностью формирования сигналов информации характеристической точки, в которых данные идентификации включают в себя информацию, относящуюся к изменению параметров кодирования.
4. Устройство по п.1, отличающееся тем, что носитель записи является оптическим носителем (3) записи, имеющим форму диска, и
средство записи содержит оптическую головку (104) считывания/записи, средство (106) позиционирования для позиционирования оптической головки считывания/записи и двигающее средство (110) для вращения носителя записи.
5. Устройство для воспроизведения последовательности сигналов видеоинформации, включающей в себя изображения типа интра-изображения (23), кодированные независимо от других изображений, и изображения типа интер-изображения (24, 25), кодированные относительно других изображений, при этом устройство выполнено с возможностью использовать для последовательности сигналов видеоинформации соответствующую последовательность сигналов информации характеристических точек, включающую в себя сигналы информации характеристической точки для нескольких характеристических точек, причем сигналы информации характеристической точки идентифицируют характеристическую точку в последовательности сигналов видеоинформации, характеристическая точка относится к изображению, выбранному из изображений типа интра-изображения и изображений типа интер-изображения, сигналы информации характеристической точки включают в себя блок информации, содержащий
данные местоположения, определяющие местоположение характеристической точки в последовательности сигналов видеоинформации, и
данные идентификации, идентифицирующие характеристическую точку,
при этом устройство содержит
средство (201, 302) ввода для приема последовательности сигналов видеоинформации и соответствующей последовательности сигналов информации характеристических точек,
средство (300) извлечения для извлечения блока информации из последовательности сигналов информации характеристических точек,
средство (300) обработки для обработки последовательности сигналов видеоинформации в сигналы видеоинформации, с использованием блока информации,
и отличается тем, что средство извлечения предназначено для извлечения данных идентификации, включающих в себя информацию, определяющую относящуюся к наличию заголовка (21) последовательности, содержащего информацию, параметры кодирования для последовательности сигналов видеоинформации, и
средство обработки предназначено для использования информации, относящейся к наличию заголовка последовательности.
6. Устройство по п.5, отличающееся тем, что
средство извлечения выполнено с возможностью извлечения данных идентификации, дополнительно включающих в себя информацию, относящуюся к одному из следующих условий
изображение является изображением типа интра-изображения (23), и ему предшествует заголовок последовательности,
изображение является изображением типа интра-изображения (23) без заголовка последовательности,
изображение является изображением типа интер-изображения (25), и ему предшествует заголовок последовательности, и
средство обработки выполнено с возможностью использования информации, относящейся к этим условиям.
7. Устройство по любому из пп.5 или 6, отличающееся тем, что
средство извлечения выполнено с возможностью извлечения данных идентификации, включающих в себя информацию, относящуюся к изменению параметров кодирования, и
средство обработки выполнено с возможностью использования информации, относящейся к изменению параметров кодирования.
8. Устройство по п.5, отличающееся тем, что средство ввода выполнено с возможностью приема последовательности сигналов видеоинформации и соответствующей последовательности сигналов информации характеристических точек с носителя записи.
9. Устройство по п.8, отличающееся тем, что средство ввода выполнено с возможностью приема последовательности сигналов видеоинформации и соответствующей последовательности сигналов информации характеристических точек с оптического носителя (3) записи, имеющего форму диска.
10. Способ формирования последовательности сигналов информации, относящихся к характеристическим точкам в последовательности сигналов видеоинформации, включающей в себя изображения типа интра-изображения (23), кодированные независимо от других изображений, и изображения типа интер-изображения (24, 25), кодированные относительно других изображений, в котором для характеристической точки, относящейся к изображению, выбранному из изображений типа интра-изображения и изображений типа интер-изображения, формируют блок информации, содержащий
данные местоположения, определяющие местоположение характеристической точки в последовательности сигналов видеоинформации, и
данные идентификации, идентифицирующие характеристическую точку,
при этом способ отличается тем, что содержит этап, на котором формируют блок информации для включения в данные идентификации информации, относящейся к наличию заголовка последовательности, содержащего информацию, определяющую параметры кодирования для последовательности сигналов видеоинформации.
11. Способ по п.10, отличающийся тем, что блок информации формируют для включения в данные идентификации информации, относящейся к одному из следующих условий:
изображение является изображением типа интра-изображения (23), и ему предшествует заголовок последовательности,
изображение является изображением типа интра-изображения (23) без заголовка последовательности,
изображение является изображением типа интер-изображения (25), и ему предшествует заголовок последовательности.
12. Способ по любому из пп.10 или 11, отличающийся тем, что блок информации формируют для включения в данные идентификации информации, относящейся к изменению параметров кодирования.
РИСУНКИ
|
|