|
|
(21), (22) Заявка: 2006106235/09, 08.04.2004
(24) Дата начала отсчета срока действия патента:
08.04.2004
(30) Конвенционный приоритет:
31.07.2003 CN 03149955.4
(43) Дата публикации заявки: 27.06.2006
(46) Опубликовано: 10.11.2007
(56) Список документов, цитированных в отчете о поиске:
CN 1384618, 11.12.2002. RU 2101867 C1, 10.01.1998. JP 2003204351, 18.07.2003. JP 2003204351, 18.07.2003.
(85) Дата перевода заявки PCT на национальную фазу:
28.02.2006
(86) Заявка PCT:
CN 2004/000325 (08.04.2004)
(87) Публикация PCT:
WO 2005/011302 (03.02.2005)
Адрес для переписки:
129010, Москва, ул. Б. Спасская, 25, стр.3, ООО “Юридическая фирма Городисский и Партнеры”, пат.пов. Ю.Д.Кузнецову, рег.№ 595
|
(72) Автор(ы):
СЮЙ Юнлян (CN)
(73) Патентообладатель(и):
ХУАВЭЙ ТЕКНОЛОДЖИЗ КО., ЛТД. (CN)
|
(54) СПОСОБ ПЕРЕХОДА МЕЖДУ ПОСТОЯННЫМ СОЕДИНЕНИЕМ И КОММУТИРУЕМЫМ СОЕДИНЕНИЕМ В ОПТИЧЕСКОЙ СЕТИ
(57) Реферат:
Изобретение раскрывает способ перехода между постоянным соединением и коммутируемым соединением в оптической сети. Способ содержит этапы, на которых входной узел текущего соединения, после приема сообщения запроса на смену соединения, пересылает сообщение запроса на смену соединения от узла к узлу в направлении передачи сигнала графика текущего соединения, начиная с входного узла вплоть до выходного узла текущего соединения. В узлах текущего соединения после приема сообщения запроса на смену соединения выполняют переход между постоянным соединением и коммутируемым соединением. Посредством осуществления последовательного перехода между режимами соединения от узла к узлу в оптической сети обеспечивается плавный переход между постоянным соединением и коммутируемым соединением, эффективно не допуская прерывания обслуживания. Реализация сетевых услуг делается более гибкой. 21 з.п. ф-лы, 3 ил.
Область техники, к которой относится изобретение
Изобретение относится к переходу между постоянным соединением и коммутируемым соединением в оптической сети, более конкретно к способу реализации перехода между постоянным соединением и коммутируемым соединением в оптической сети без прерывания обслуживания.
Предшествующий уровень техники
Оптические сети включают в себя сети с синхронной цифровой иерархией (SDH)/Синхронные оптические сети (Sonet), коммутируемые сети с разделением по длине волны и т.д. Традиционная оптическая сеть – это система, основанная на централизованном управлении, и услуги соединения между узлами реализованы посредством постоянного соединения. Путь соединения предварительно вычисляется посредством плоскости управления на основе требований к соединению и доступности сетевых ресурсов, затем команды перекрестного соединения отправляются узлам по пути соединения посредством транспортного протокола интерфейса управления сетью (NMI-T), чтобы выполнять единообразное обозначение и назначение и, в итоге, осуществлять установление канала связи. Подход постоянного соединения приводил к хорошим результатам в начале развития оптических сетей, поскольку его структура проста, а стоимость небольшая. Тем не менее, настройка, поддержание и разрыв оптического соединения посредством подхода постоянного соединения требует участия человека или системы управления сетью. С учетом непрерывного роста трафика такой подход к соединению больше не может удовлетворять динамическим и гибким требованиям оптической сетевой системы.
Ключ, чтобы решить эту проблему, – реализация динамической оптической коммутации. Вот почему ITU-T предложил архитектуру оптической сети с автоматической коммутацией (ASON), которая добавляет контрольную плоскость к традиционной оптической сети и предлагает концепцию коммутируемого соединения. Согласно этой идее, узел в оптической сети сначала получает отношения соединения линии связи этого узла с другими узлами посредством методики обнаружения линии связи, затем публикует состояния узла и линий связи через контрольную плоскость и принимает публикацию состояния других узлов в сети. В итоге каждый оптический узел имеет “карту сети”, предоставляющую описание точной топологии сети и включающую в себя различную информацию об узлах, линиях связи и ресурсах. Когда узел запрашивается клиентом или системой управления, чтобы установить соединение, узел сначала вычисляет путь с помощью информации “карты сети”, объединенной с определенным алгоритмом маршрутизации, и затем управляет узлами на этом пути посредством протоколов сигнализации, чтобы установить перекрестное соединение. Когда сетевое соединение динамически создается или разрывается либо ошибка вызывает изменение в ресурсах линий связи, соответствующие узлы своевременно публикуют обновленные состояния узла и линий связи, чтобы достичь ресинхронизации “карты сети”. В ASON, если запрос на соединение, принятый узлом, исходит от клиентского устройства или посреднического узла (прокси), созданное соединение упоминается как коммутируемое соединение; если запрос исходит от системы управления сетью, созданное соединение упоминается как гибкое постоянное соединение. В этом описании коммутируемое соединение и гибкое постоянное соединение оба упоминаются как коммутируемое соединение, если не указано иное. Если коммутируемое соединение или гибкое постоянное соединение разрывается, когда возникает ошибка в сети, к примеру разрывается линия связи или сбоит узел, контрольная плоскость может динамически заново создавать маршрутизацию соединения и восстанавливать трафик. Оптическая сеть с таким подходом коммутируемого соединения имеет динамические и гибкие характеристики и допускает удовлетворение требования растущего информационного трафика.
Хотя подход коммутируемого соединения имеет много преимуществ, предстоит длинный процесс эволюции, чтобы обновить традиционную основанную на снабжении оптическую сеть в ASON, для этого требуется комплексный проект системного проектирования, влекущий за собой обновление сетевого оборудования, системы управления сетью, операционных систем и систем программирования, а также других аспектов сети. В текущем процессе перехода контрольная плоскость реализована только в некоторых узлах. Даже для этих “интеллектуальных” узлов, где реализована контрольная плоскость, вручную предоставляемые соединения не исчезают сразу, и постоянные соединения и коммутируемые соединения существуют совместно в сети. Когда постоянные соединения и коммутируемые соединения совместно существуют в сети, сетевые ресурсы соединениям обычно выделяются посредством плоскости управления, соответственно, и не так легко изменить это выделение в дальнейшем. Тем не менее, часто невозможно, чтобы статическое выделение ресурсов удовлетворяло изменению трафика оптической сети. Часто оператору необходимо выполнять переход между постоянным соединением и коммутируемым соединением, чтобы заново выделять ресурсы, задействуемые, соответственно, двумя режимами соединения, и использовать их различные характеристики.
Тем не менее, в предшествующем уровне техники не предусмотрено способа перехода между постоянным соединением и коммутируемым соединением. Когда требуется выполнить такой переход, сменяемое соединение должно быть сначала разорвано, а затем соединение требуемого режима может быть создано с помощью ресурсов разорванного соединения. Такой подход перехода может приводить к прерыванию трафика, повреждениям данных при передаче по сети, проблемам в работе служб, а также неудобству для оператора и может дополнительно влиять на эволюцию сети к ASON.
Сущность изобретения
В свете вышесказанного, настоящее изобретение предоставляет способ перехода между постоянным соединением и коммутируемым соединением в оптической сети, так чтобы реализовать переход между постоянным соединением и коммутируемым соединением без прерывания трафика, сделать процесс перехода безопасным и удобным и содействовать в продвижении технологии ASON.
Согласно данному изобретению, способ перехода между постоянным соединением и коммутируемым соединением в оптической сети содержит этапы, на которых:
a) входной узел текущего соединения пересылает сообщение запроса на смену соединения от узла к узлу в направлении передачи сигнала трафика текущего соединения, начиная с входного узла вплоть до выходного узла текущего соединения после приема сообщения запроса на смену соединения; и
b) выполняют переход между постоянным соединением и коммутируемым соединением от узла к узлу после приема сообщения запроса на смену соединения.
Упомянутый этап пересылки сообщения запроса на смену соединения и процесс смены соединения в данном способе выполняется посредством контрольной плоскости узла, и сообщение запроса на смену соединения передается посредством контрольных линий связи.
Переход с постоянного соединения на коммутируемое соединение при упомянутом переходе между постоянным соединением и коммутируемым соединением с помощью этого способа содержит создание состояния коммутируемого соединения на контрольной плоскости узла и передачу обслуживания перекрестных соединений постоянного соединения в узле на контрольную плоскость.
Переход с коммутируемого соединения на постоянное соединение при упомянутом переходе между постоянным соединением и коммутируемым соединением с помощью этого способа содержит удаление текущего состояния коммутируемого соединения с контрольной плоскости упомянутого узла и передачу обслуживания перекрестных соединений упомянутого коммутируемого соединения в узле на плоскость управления.
Упомянутая контрольная плоскость в данном способе основана на протоколе TCP/IP; упомянутый переход между постоянным соединением и коммутируемым соединением реализуется посредством использования протокола сигнализации протокола резервирования ресурсов с расширением регулирования трафика (RSVP-TE) или протокола сигнализации основанного на ограничениях протокола распространения меток маршрутизации (CR-LDP).
Упомянутый переход между постоянным соединением и коммутируемым соединением от узла к узлу на этапе b) способа содержит этап, на котором выполняют переход между постоянным соединением и коммутируемым соединением от узла к узлу, начиная с выходного узла вплоть до входного узла в обратном направлении пути пересылки сообщения запроса на смену соединения после того, как сообщение запроса на смену соединения достигло выходного узла.
Способ дополнительно содержит этап, на котором каждый упомянутый узел после завершения перехода отправляет сообщение уведомления о завершении перехода следующему узлу, в отношении которого затребовано выполнение перехода, вплоть до выходного узла, который отправляет упомянутое сообщение уведомления о завершении перехода инициатору запроса на смену соединения.
Упомянутый переход между постоянным соединением и коммутируемым соединением от узла к узлу на этапе b) способа содержит этап, на котором каждый узел выполняет переход между постоянным соединением и коммутируемым соединением сразу после того, как сообщение запроса на смену соединения принято.
Способ дополнительно содержит этап, на котором после того, как все упомянутые узлы завершат переход, пересылают сообщение уведомления о завершении перехода от узла к узлу, начиная с выходного узла вплоть до входного узла в обратном направлении пути пересылки упомянутого сообщения запроса, и входной узел отправляет упомянутое сообщение уведомления о завершении перехода инициатору запроса на смену соединения.
Упомянутое сообщение уведомления о завершении перехода содержит информацию о маршрутизации линий связи соединения.
Упомянутое сообщение уведомления о завершении перехода содержит идентификатор текущего коммутируемого соединения, если упомянутый переход между постоянным соединением и коммутируемым соединением – это переход от коммутируемого соединения к постоянному соединению.
Упомянутое сообщение запроса на смену соединения, принимаемое входным узлом, содержит идентификатор входного узла и информацию о входящем порте или идентификатор входного узла и информацию об исходящем порте соединения, смена которого запрошена в текущий момент, и каждый узел добавляет собственную информацию об исходящем порте в сообщение запроса на смену соединения перед пересылкой сообщения.
В процессе пересылки упомянутого сообщения запроса на смену соединения каждым узлом информация об исходящем порте от текущего узла к следующему узлу добавляется в сообщение запроса на смену соединения, если сообщение включает в себя информацию о входящем порте; и информация о входящем порте от текущего узла к следующему узлу добавляется в сообщение запроса на смену соединения, если сообщение включает в себя информацию об исходящем порте.
Упомянутая информация о входящем порте содержит идентификатор входящего порта или идентификатор входящего канала либо их сочетание; и упомянутая информация об исходящем порте содержит идентификатор исходящего порта или идентификатор исходящего канала либо их сочетание.
Упомянутую информацию о собственном исходящем порте узла получают посредством запроса информации о перекрестном соединении, сохраненной в самом узле, на основе информации о входящем порте текущего узла.
Способ дополнительно содержит, перед тем как упомянутый входной узел выполняет переход между постоянным соединением и коммутируемым соединением, этап, на котором принимают решение о том, являются ли или нет идентификатор входного узла и информация о входящем порте или идентификатор входного узла и информация об исходящем порте, содержащиеся в принятом сообщении запроса на смену соединения, верными, и если это так, выполняют переход, в противном случае возвращают сообщение об ошибке и завершают этот процесс.
Упомянутое сообщение запроса на смену соединения, принимаемое входящим узлом, дополнительно содержит идентификатор выходного узла или идентификатор выходного узла и информацию об исходящем порте в выходном узле текущего соединения, в отношении которого запрошена смена.
Способ дополнительно содержит, перед тем как упомянутый выходной узел выполняет переход между постоянным соединением и коммутируемым соединением, этап, на котором принимают решение о том, являются ли или нет идентификатор выходного узла или идентификатор выходного узла и информация об исходящем порте, содержащиеся в принятом сообщении запроса на смену соединения, верными, и если это так, создают или удаляют коммутируемое соединение в узле, в противном случае возвращают сообщение об ошибке и завершают этот процесс.
Если упомянутый переход между постоянным соединением и коммутируемым соединением – это переход от коммутируемого соединения к постоянному соединению, сообщение запроса на смену соединения, принятое упомянутым входным узлом, содержит идентификатор текущего коммутируемого соединения.
Упомянутое соединение в способе является однонаправленным соединением или двунаправленным соединением.
Упомянутое коммутируемое соединение в способе – это гибкое постоянное соединение, инициированное системой управления сетью, или коммутируемое соединение, инициированное клиентским устройством или его посредником.
Упомянутая оптическая сеть – это сеть с синхронной цифровой иерархией, или синхронная оптическая сеть, или коммутируемая сеть с разделением по длине волны, или оптическая транспортная сеть (OTN).
Из вышеприведенного решения можно сделать вывод о том, что согласно этому изобретению плавный переход между постоянным соединением и коммутируемым соединением реализуется посредством выполнения перехода от узла к узлу в каждом значимом узле в оптической сети, эффективного недопущения повреждений при передаче в обслуживающих терминалах и данных трафика, при этом делая реализацию сетевых услуг более гибкой.
Перечень фигур чертежей
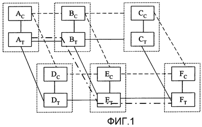
Фиг.1 – схема, иллюстрирующая оптическую сеть с контрольными плоскостями и сетевыми соединениями в примерном варианте осуществления данного изобретения;
Фиг.2 – блок-схема последовательности операций способа, иллюстрирующая переход от постоянного соединения к коммутируемому соединению;
Фиг.3 – блок-схема последовательности операций способа, иллюстрирующая переход от коммутируемого соединения к постоянному соединению.
Варианты осуществления изобретения
Далее подробно описано изобретение со ссылкой на прилагаемые чертежи.
Данное изобретение применимо к оптическим сетям, таким как коммутируемые сети с разделением по длине волны SDH/Sonet и оптическая транспортная сеть (OTN), в которых существует множество узлов и линий связи, соединяющих узлы. Сетевые узлы, от которых требуется выполнить смену режима соединения, имеют три плоскости: плоскость передачи, контрольную плоскость и плоскость управления. Контрольная плоскость управляет плоскостью передачи и поддерживает создание коммутируемого соединения. Плоскость управления управляет контрольной плоскостью и плоскостью передачи и поддерживает создание постоянного соединения.
Решение согласно данному изобретению описано далее со ссылкой на пример, показанный на фиг.1. Оптическая сеть, показанная на фиг.1, содержит шесть узлов: узел А – узел F, и каждый из узлов имеет плоскость передачи AT-FT и контрольную плоскость AC-FC соответственно, при этом плоскость передачи и контрольная плоскость могут быть физически разделены или физически объединены, но логически разделены. Каждый узел также содержит плоскость управления, что делает плоскость передачи и контрольную плоскость управляемой системой управления сетью. Для упрощения плоскости управления не показаны на фиг.1. Узлы соединены оптическими линиями связи, которые показаны на фиг.1 прямыми линиями. Фактические контрольные плоскости узлов сообщаются друг с другом посредством контрольных линий связи, которые показаны на фиг.1 пунктирными линиями. Каналы контрольных линий связи являются логическими и могут быть конкретно реализованы различными способами, например, с помощью дополнительных служебных байтов в SDH/Sonet. Здесь нормальные соединения оптических линий связи установлены между каждым узлом оптической сети, и контрольные плоскости установили нормальный сеанс с соседними узлами через контрольные каналы. Посредством протокола управления линией связи каждый узел получает свои соединения оптических линий связи с соседними узлами, и соединения соседних узлов с оптическими линиями связи распространяются посредством основанного на состоянии линии связи протокола маршрутизации, создавая в итоге в каждом узле согласованную “карту сети”, которая включает в себя все сетевые узлы, соединение линий связи между ними и информацию о ресурсах линий связи. Помимо этого, предусмотрена таблица перекрестных соединений в каждом узле, которая записывает соединения каждого порта и канала в этом узле. Более того, в сети имеется созданное соединение A-B-E-F, которое показано на фиг.1 штрихпунктирной линией. В этой сети упомянутая контрольная плоскость обычно основана на протоколе TCP/IP, и переход между постоянным соединением и коммутируемым соединением реализован посредством использования протокола передачи сигналов RSVP-TE или протокола передачи сигналов CR-LDP.
Когда созданным соединением A-B-E-F на фиг.1 является постоянное соединение и оно должно быть сменено на коммутируемое соединение, процесс перехода показан на фиг.2, при этом процесс содержит следующие этапы.
Этап 201. Система управления сетью в случае гибкого постоянного соединения или клиентское устройство в случае коммутируемого соединения отправляет входному узлу А сообщение запроса на смену соединения для смены постоянного соединения А-B-E-F на коммутируемое соединение.
Сообщение, упоминаемое в данной спецификации, обычно является командой, если отправляется из системы управления сетью, или обычно является сообщением сигнализации, если отправляется от клиентского устройства.
Упомянутое сообщение запроса на смену соединения содержит список записей маршрутизации. Если текущее постоянное соединение A-B-E-F, которое должно быть сменено, начинается от входящего порта или входящего канала входного узла А и завершается на исходящем порте или исходящем канале выходного узла F, список записей маршрутизации в сообщении запроса на смену соединения должен содержать, по меньшей мере, идентификатор входного узла и информацию о его входящем порте; если текущее постоянное соединение A-B-E-F, которое должно быть сменено, начинается с входного узла А и завершается на выходном узле F, список записей маршрутизации в сообщении запроса на смену соединения должен содержать, по меньшей мере, идентификатор входного узла и информацию о его исходящем порте. Информацией о входящем порте, упомянутой здесь, является идентификатор входящего порта узла, и если имеет место постоянное соединение, которое должно быть сменено, включает в себя конкретный канал, где находится порт, информация о входящем порте также должна включать в себя идентификатор входящего канала, где находится входящий порт. Информацией об исходящем порте является идентификатор исходящего порта, и если имеет место постоянное соединение, которое должно быть сменено, включает в себя конкретный канал порта, информация об исходящем порте также должна включать в себя идентификатор канала исходящего порта. Идентификатор всех сетевых устройств в этом примерном варианте осуществления представляется идентификатором сетевых устройств. Помимо этого, упомянутый список может также содержать информацию о направлении текущего соединения, т.е. однонаправленное или двунаправленное, тип полезной нагрузки соединения и т.п. Более того, чтобы сделать удобной для выходного узла верификацию сообщения запроса на смену соединения на последующем этапе 205, идентификатор выходного узла может быть добавлен в сообщение запроса; и если текущее постоянное соединение, которое должно быть сменено, начинается с входящего порта или входящего канала входного узла А и завершается на исходящем порте или исходящем канале выходного узла F, информация об исходящем порте выходного узла также должна быть включена в сообщение.
Этап 202. После того как входной узел А принимает от своего входящего порта сообщение запроса на смену соединения, отправленное на этапе 201, если сообщение запроса содержит идентификатор входящего порта входного узла и информацию о входящем порте входного узла, получают информацию об исходящем порте в узле А текущего постоянного соединения, в отношении которого запрошена смена, посредством вышеуказанной информации вместе с информацией о перекрестных соединениях, сохраненной в собственной таблице перекрестных соединений узла А, и добавляют информацию об исходящем порте в сообщение запроса; если сообщение запроса на смену соединения содержит информацию об исходящем порте, добавляют информацию об исходящем порте непосредственно в список записей маршрутизации сообщения запроса. Затем получают идентификатор следующего узла, т.е. узла В, согласно отношению соединения линий связи, т.е. “карты сети”, сохраненной в контрольной плоскости для управления и обслуживания соседних линий связи, и отправляют узлу В сообщение запроса на смену соединения посредством основывающегося на IP контрольного канала.
Предпочтительный метод выполнения этого этапа также может содержать верификацию информации в сообщении заранее после того, как узел А принимает сообщение запроса на смену соединения, что конкретно содержит проверку того, существует ли идентификатор узла входящего порта, включенного в сигнализацию, и проверку того, существует ли информация о входящем порте и есть ли постоянное соединение в данном канале, если сообщение включает в себя информацию о входящем порте; если это так, переходят к последующим подэтапам на этапе 202, в противном случае возвращают сообщение об ошибке инициатору запроса на смену и завершают процесс. Таким образом, помехи со стороны ошибочных сообщений могут быть исключены.
Этап 203. Узел В после приема сообщения запроса на смену соединения, отправленного от узла А, может получить из этого сообщения информацию об исходящем порте предыдущего узла, т.е. узла А. Затем релевантная информация о входящем порте в узле В постоянного соединения, которое должно быть сменено, может быть получена согласно упомянутой информации об исходящем порте, объединенной с отношением соединения линий связи, сохраненным в таблице перекрестных соединений узла В для управления и обслуживания линии связи. После этого проходят через аналогичные этапы, как и для узла А, т.е. находят информацию об исходящем порте посредством информации о входящем порте и добавляют информацию об исходящем порте в конец списка записей маршрутизации в сообщении запроса на смену соединения, затем получают идентификатор следующего узла Е и отправляют сообщение запроса на смену соединения узлу Е через контрольный канал.
Этап 204. Узел Е после приема сообщения запроса на смену соединения, отправленного от узла В, пересылает сообщение выходному узлу F тем же способом, что и для узла В.
Этап 205. После того как узел F принимает сообщение запроса на смену соединения, отправленное от узла Е, устанавливают запрошенное состояние коммутируемого соединения на контрольной плоскости узла F, выполняют передачу обслуживания портов, каналов и перекрестных ресурсов, задействуемых соединениями, контрольной плоскости и генерируют сообщение уведомления о завершении перехода, которое сохраняет всю информацию списка записей маршрутизации в сообщении запроса на смену соединения и в которое добавлен идентификатор этого узла. Если сообщение запроса на смену соединения включает в себя информацию о входящем порте входного узла, то информация об исходящем порте выходного узла, т.е. идентификатор исходящего порта или идентификатор исходящего канала, должна быть добавлена в сообщение уведомления о завершении перехода. Таким образом, полная маршрутизация линий связи постоянного соединения, которое должно быть сменено, включается в сообщение уведомления о завершении перехода. Затем сообщение уведомления о завершении перехода передается в обратном направлении пути передачи сообщения запроса на смену соединения, т.е. передается по пути F-E-B-A.
Предпочтительно на этом этапе, после того как узел F принимает сообщение запроса на смену соединения, отправленное от узла Е, дополнительно верифицируют, является ли сообщение корректным, что конкретно содержит выполнение анализа идентификатора выходного узла, содержащегося в сообщении, и одновременное выполнение анализа информации об исходящем порте, если информация об исходящем порте выходного узла также содержится в сообщении, сравнение упомянутой информации с идентификатором и информацией об исходящем порте данного узла, чтобы определить, согласуются ли они. Если согласуются, принимают запрос на смену соединения и продолжают выполнением последующих подэтапов этапа 205, в противном случае возвращают сообщение об ошибке по пути F-E-B-A инициатору, предоставляют причину ошибки и завершают процесс. При выполнении этого этапа информация об исходящем порте узла F, т.е. идентификатор исходящего порта или идентификатор исходящего канала в узле F, также может быть получена аналогичным способом, как и для узлов В и Е.
Этап 206. После того как узел Е принимает сообщение уведомления о завершении перехода, отправленное от узла F, аналогично, как для узла F, устанавливают запрошенное состояние коммутируемого соединения на его контрольной плоскости, выполняют передачу обслуживания перекрестных соединений этого узла, а также ресурсов, задействуемых соединением, контрольной плоскости, и пересылают сообщение уведомления о завершении перехода узлу В.
Этап 207. После того как узел В принимает сообщение уведомления о завершении перехода от узла Е, устанавливают коммутируемое соединение таким же способом, как и для узла Е, перед возвратом сообщения уведомления о завершении перехода узлу А.
Этап 208. После того как узел А принимает сообщение уведомления о завершении перехода, отправленное от узла В, устанавливают в узле А коммутируемое соединение таким же способом, что и для узла Е и узла В. Если переход выполняется успешно, возвращают сообщение уведомления о завершении перехода инициатору сообщения. В это время постоянное соединение A-B-E-F сменилось на коммутируемое соединение, которое имеет такие же функции, что и другие коммутируемые соединения, например динамическое восстановление и т.д. Если переход завершается ошибкой, возвращают сообщение об ошибке инициатору сообщения и завершают процесс.
Из вышесказанного можно увидеть, что в данном варианте осуществления сообщение запроса на смену соединения пересылается от узла к узлу последовательно в нисходящем направлении постоянного соединения, которое должно быть сменено, т.е. в направлении следования сигналов трафика соединения, тогда как окончательное создание коммутируемого соединения выполняется от узла к узлу от выходного узла в восходящем направлении. Для двунаправленного соединения любое направление прохождения сигнала трафика может быть выбрано для выполнения перехода.
Если соединение A-B-E-F на фиг.1 является коммутируемым соединением, и требуется преобразовать коммутируемое соединение A-B-E-F в постоянное соединение, процесс перехода показан на фиг.3, при этом процесс содержит следующие этапы.
Этап 301. Система управления сетью в случае гибкого постоянного соединения или клиентское устройство в случае коммутируемого соединения отправляет входному узлу А сообщение запроса на смену соединения для смены коммутируемого соединения на постоянное соединение. Чтобы отличать от вышеописанного процесса, это сообщение упоминается как сообщение запроса на обратную смену.
В процессе обратного перехода от коммутируемого соединения к постоянному соединению, поскольку обычно сохранена на локальной контрольной плоскости каждого узла информация о маршрутизации других узлов в коммутируемом соединении, предпочтительное решение заключается в том, чтобы включать только идентификатор текущего коммутируемого соединения в сообщение запроса на обратную смену. Обычно идентификатор коммутируемого соединения содержит идентификаторы начальных и конечных узлов коммутируемого соединения, идентификатор сеанса, идентификатор группы соединения и идентификатор примерных соединений, посредством которых каждый узел текущего коммутируемого соединения может находить соответствующую информацию о маршрутизации локально и отправлять сообщение запроса на обратную смену.
Очевидно, список записей маршрутизации также может содержаться в сообщении запроса на обратную смену, как и в сообщении запроса на смену соединения. Т.е., если текущее коммутируемое соединение A-B-E-F, которое должно быть сменено, начинается с входящего порта или входящего канала входного узла А и завершается на исходящем порте или исходящем канале выходного узла F, список записей маршрутизации в сообщении запроса на смену соединения должен включать в себя, по меньшей мере, идентификатор входного узла и информацию о его входящем порте; если текущее коммутируемое соединение A-B-E-F, которое должно быть сменено, начинается с входного узла А и завершается на выходном узле F, список записей маршрутизации в сообщении запроса на смену соединения должен включать в себя, по меньшей мере, идентификатор входного узла и информацию о его исходящем порте. Информация о входящем порте, упоминаемая в данном документе, содержит идентификатор входящего порта узла и должна дополнительно содержать идентификатор входящего канала входящего порта, если коммутируемое соединение, которое должно быть сменено, содержит канал порта; информация об исходящем порте содержит идентификатор исходящего порта и должна дополнительно содержать идентификатор канала исходящего порта, если коммутируемое соединение, которое должно быть сменено, содержит канал порта. В этом варианте осуществления идентификатор каждого сетевого устройства представлен идентификатором сетевого устройства. Помимо этого, упомянутый список может дополнительно содержать: направление текущего соединения, т.е. однонаправленное или двунаправленное, тип нагрузки соединения и т.п. Более того, чтобы сделать удобной для выходного узла верификацию сообщения запроса на смену соединения на последующем этапе 305, идентификатор выходного узла может быть добавлен в сообщение запроса; и если коммутируемое соединение, которое должно быть сменено, начинается с входящего порта или входящего канала входного узла А и завершается на исходящем порте или исходящем канале выходного узла F, информация об исходящем порте выходного узла также должна быть включена в сообщение.
Этап 302. Входной узел А, после приема от своего входящего порта сообщения запроса на обратную смену на этапе 301, идентифицирует соединение как находящееся в состоянии удаления с контрольной плоскости, но не удаляет перекрестные соединения, и если идентификатор текущего коммутируемого соединения содержится в сообщении запроса на обратную смену, находит соответствующую информацию о маршрутизации к следующему узлу В локально, согласно идентификатору, чтобы отправить сообщение запроса на обратную смену.
Если сообщение запроса на обратную смену содержит идентификатор входящего порта входного узла и информацию о входящем порте входного узла, получают информацию об исходящем порте в узле А текущего коммутируемого соединения, в отношении которого запрошена смена, посредством вышеуказанной информации вместе с информацией о перекрестных соединениях, сохраненной в собственной таблице перекрестных соединений узла А, и добавляют информацию об исходящем порте в сообщение запроса на обратную смену; если сообщение запроса на обратную смену содержит информацию об исходящем порте, добавляют информацию об исходящем порте непосредственно в список записей маршрутизации сообщения запроса на обратную смену. Затем получают идентификатор следующего узла, т.е. узла В, согласно отношению соединения линий связи, сохраненному в контрольной плоскости для управления и обслуживания соседних линий связи, т.е. “карте сети”, и отправляют узлу В сообщение запроса на обратную смену посредством контрольного канала, основывающегося на IP.
Помимо этого, также можно верифицировать информацию в сообщении заранее после того, как узел А принимает сообщение запроса на смену соединения, что конкретно содержит: проверку того, существует ли идентификатор узла входящего порта, включенного в передачу сигналов, и проверку того, существует ли информация о входящем порте и есть ли коммутируемое соединение в канале, если сообщение включает в себя информацию о входящем порте; если результаты проверки положительны, переходят к последующим подэтапам на этапе 302, в противном случае возвращают сообщение об ошибке инициатору запроса на смену и завершают процесс. Таким образом, помехи со стороны ошибочных сообщений могут быть исключены.
Этап 303. Узел В, после приема сообщения запроса на обратную смену, отправленного от узла А, помечает соединение как находящееся в состоянии удаления с контрольной плоскости, но не удаляет перекрестные соединения, и если идентификатор текущего коммутируемого соединения содержится в сообщении запроса на обратную смену, находит соответствующую информацию о маршрутизации к следующему узлу Е локально, согласно идентификатору, и отправляет сообщение запроса на обратную смену.
Если список маршрутизации содержится в сообщении запроса на обратную смену, информация об исходящем порте узла А может быть получена. Затем на основе отношения соединения линий связи, сохраненного в его собственной таблице перекрестных соединений для управления и обслуживания, релевантная информация о входящем порте в узле В коммутируемого соединения, которое должно быть сменено, может быть получена. После этого проходят аналогичные этапы, как и для узла А, т.е. находят информацию об исходящем порте посредством информации о входящем порте и добавляют информацию об исходящем порте в конец списка записей маршрутизации в сообщении запроса на смену соединения, затем получают идентификатор следующего узла Е согласно “карте сети” и отправляют сообщение запроса на обратную смену узлу Е через контрольный канал.
Этап 304. Узел Е после приема сообщения запроса на обратную смену, отправленного от узла В, выполняет ту же последовательность действий, что и узел В, и пересылает сообщение запроса на обратную смену выходному узлу F.
Этап 305. После приема сообщения запроса на обратную смену, отправленного от узла Е, узел F удаляет состояние коммутируемого соединения на контрольной плоскости, но не удаляет перекрестные соединения этого соединения, выполняет передачу обслуживания ресурсов, задействуемых соединением, плоскости управления, и генерирует сообщение уведомления о завершении перехода. Если идентификатор текущего коммутируемого соединения содержится в сообщении запроса на обратную смену, то этот идентификатор извлекается и помещается в сообщение уведомления о завершении перехода. Сообщение уведомления о завершении перехода передается в обратном направлении пути пересылки сообщения запроса на смену соединения, т.е. передается по пути F-E-B-A.
Если сообщение запроса на обратную смену содержит список маршрутизации, вся информация списка записей маршрутизации в сообщении запроса на смену соединения сохраняется в сообщении уведомления о завершении перехода, причем идентификатор данного узла добавляется к нему. Если сообщение запроса на смену соединения включает в себя информацию о входящем порте входного узла, то информация об исходящем порте выходного узла, т.е. идентификатор исходящего порта или исходящего канала, должна быть добавлена в сообщение уведомления о завершении перехода. Таким образом, полная маршрутизация линий связи сменяемого соединения включается в сообщение уведомления о завершении перехода. Затем сообщение уведомления о завершении перехода передается в обратном направлении пути передачи сообщения запроса на смену соединения, т.е. передается по пути F-E-B-A.
Предпочтительно на этом этапе, после того как узел F принимает сообщение запроса на обратную смену, отправленное от Е, дополнительно проверяет, является ли информация, содержащаяся в этом сообщении, корректной, что конкретно содержит: выполнение анализа идентификатора выходного узла, содержащегося в сообщении, и одновременное выполнение анализа информации об исходящем порте, если информация об исходящем порте выходного узла также содержится в сообщении, сравнение упомянутой информации с идентификатором и информацией об исходящем порте данного узла, чтобы определить, согласуются ли они. Если согласуются, принимают запрос на обратную смену и продолжают выполнение последующих подэтапов этапа 305, в противном случае возвращают сообщение об ошибке по пути F-E-B-A инициатору с причиной ошибки и завершают процесс. При выполнении этого этапа информация об исходящем порте узла F, т.е. идентификатор исходящего порта или идентификатор исходящего канала в узле F, может быть получена аналогичным способом, как и при обработке для узлов В и Е.
Этап 306. Узел Е, после приема сообщения уведомления о завершении перехода, пересланного узлом F, аналогично узлу F удаляет информацию коммутируемого соединения на контрольной плоскости, но не удаляет его перекрестные соединения, выполняет передачу обслуживания ресурсов, задействуемых соединением, плоскости управления, и затем пересылает сообщение уведомления о завершении перехода узлу В.
Этап 307. После приема сообщения уведомления о завершении обратного перехода, пересланного узлом Е, узел В удаляет коммутируемое соединение таким же способом, как и для узла Е, перед пересылкой сообщения уведомления о завершении перехода узлу А.
Этап 308. После приема сообщения уведомления о завершении перехода, пересланного узлом В, узел А удаляет коммутируемое соединение таким же способом, как узел Е и узел В, но не удаляет перекрестные соединения этого соединения, и осуществляет передачу обслуживания ресурсов, задействуемых соединением, плоскости управления. Если обратный переход выполняется успешно, узел А пересылает сообщение уведомления о завершении перехода инициатору запроса. К этому времени коммутируемое соединение А-B-E-F сменено на постоянное соединение, и контрольная плоскость больше не управляет ресурсами, задействуемыми соединением. Если переход завершается ошибкой, возвращают сообщение об ошибке инициатору запроса и завершают процесс.
Как и в процессе смены постоянного соединения на коммутируемое соединение, сообщение запроса на обратную смену в данном варианте осуществления пересылается от узла к узлу последовательно в нисходящем направлении коммутируемого соединения, которое должно быть сменено, т.е. в направлении следования сигналов трафика соединения, тогда как удаление коммутируемого соединения выполняется от узла к узлу от выходного узла в восходящем направлении. Для двунаправленного соединения любое направление прохождения сигнала трафика может быть выбрано для выполнения перехода.
В описанных выше предпочтительных вариантах осуществления переход между постоянным соединением и коммутируемым соединением в сети передачи данных выполняется от узла к узлу последовательно, начиная с выходного узла вплоть до входного узла в обратном направлении пути пересылки сообщения запроса на смену соединения после того, как упомянутое сообщение запроса на смену соединения достигло выходного узла. С другой стороны, процесс перехода между постоянным соединением и коммутируемым соединением согласно этому изобретению также может продолжаться по пути сообщения запроса на смену соединения, т.е. A-B-E-F, что конкретно содержит: выполнение перехода между постоянным соединением и коммутируемым соединением сразу после того, как каждый узел принимает сообщение запроса на смену соединения, пересылку сообщения запроса на смену соединения следующему узлу, на котором должна быть выполнена смена, после того, как узел завершил смену соединения, и отправку сообщения уведомления о завершении перехода в направлении, противоположном основному трафику, т.е. в направлении F-E-B-A в оптической сети фиг.1, вплоть до инициатора запроса на смену, после того, как последний узел (или выходной узел) завершил переход, причем содержимое сообщения запроса на смену соединения и сообщения уведомления о завершении перехода, а также обработка сообщения узлами полностью идентична той, как в случае вышеупомянутых вариантов осуществления.
В вышеприведенном решении, если сообщение запроса на смену соединения, отправленное инициатором, включает в себя полностью или частично маршрутизацию линий связи, которые должны быть сменены, узел может выполнить анализ маршрутизации, содержащейся в сообщении запроса, после того как упомянутое сообщение пришло в узел, и принять решение о том, является ли маршрутизация, содержащаяся в сообщении, касающемся следующего узла, согласованной с маршрутизацией, касающейся следующего узла, найденной автоматически в его таблице перекрестных соединений узла и “карте сети”. При согласованности продолжают выполнение последующих этапов, в противном случае возвращают инициатору запроса на смену сообщение об ошибке, содержащее идентификатор узла, где обнаружена ошибка, и завершают процесс.
Следует понимать, что предшествующее описание предоставляет предпочтительные варианты осуществления этого изобретения, а не ограничивает его. Любая модификация, эквивалентная замена или усовершенствование без отступления от духа и принципов этого изобретения также должны входить в объем охраны этого изобретения.
Формула изобретения
1. Способ перехода между постоянным соединением и коммутируемым соединением в оптической сети, содержащий этапы, на которых
a) входной узел текущего соединения, после приема сообщения запроса на смену соединения, пересылает сообщение запроса на смену соединения от узла к узлу в направлении передачи сигнала трафика текущего соединения, начиная с входного узла вплоть до выходного узла текущего соединения; и
b) в узлах текущего соединения после приема сообщения запроса на смену соединения выполняют переход между постоянным соединением и коммутируемым соединением.
2. Способ по п.1, в котором упомянутый этап пересылки сообщения запроса на смену соединения и процесс смены соединения согласно данному способу выполняют посредством контрольной плоскости узла, и сообщение запроса на смену соединения передают посредством контрольных линий связи.
3. Способ по п.2, в котором переход с постоянного соединения на коммутируемое соединение при упомянутом процессе перехода между постоянным соединением и коммутируемым соединением содержит этап, на котором создают состояние коммутируемого соединения на контрольной плоскости узла и передают обслуживание перекрестных соединений, соответствующих постоянному соединению, в этом узле на контрольную плоскость.
4. Способ по п.2, в котором переход с коммутируемого соединения на постоянное соединение при упомянутом процессе перехода между постоянным соединением и коммутируемым соединением содержит этап, на котором удаляют состояние текущего коммутируемого соединения с контрольной плоскости узла и передают обслуживание перекрестных соединений, соответствующих коммутируемому соединению, в этом узле на плоскость управления.
5. Способ по любому из пп.2, 3 или 4, в котором упомянутая контрольная плоскость основана на протоколе TCP/IP, а упомянутый переход между постоянным соединением и коммутируемым соединением реализован посредством использования протокола сигнализации RSVP-TE или протокола сигнализации CR-LDP.
6. Способ по п.1, в котором упомянутый переход между постоянным соединением и коммутируемым соединением от узла к узлу на этапе b) способа содержит этап, на котором выполняют переход между постоянным соединением и коммутируемым соединением от узла к узлу, начиная с выходного узла вплоть до входного узла в обратном направлении пути пересылки сообщения запроса на смену соединения после того, как сообщение запроса на смену соединения достигло выходного узла.
7. Способ по п.6, дополнительно содержащий этапы, на которых каждый упомянутый узел после завершения перехода отправляет сообщение уведомления о завершении перехода следующему узлу, от которого затребовано выполнение перехода, вплоть до выходного узла, который отправляет упомянутое сообщение уведомления о завершении перехода инициатору запроса на смену соединения.
8. Способ по п.1, в котором упомянутый переход между постоянным соединением и коммутируемым соединением от узла к узлу на этапе b) способа содержит этап, на котором каждый узел выполняет переход между постоянным соединением и коммутируемым соединением сразу после того, как сообщение запроса на смену соединения принято.
9. Способ по п.8, дополнительно содержащий этапы, на которых после того, как все упомянутые узлы завершат переход, пересылают сообщение уведомления о завершении перехода от узла к узлу, начиная с входного узла вплоть до выходного узла в обратном направлении пути пересылки упомянутого сообщения запроса, и входной узел отправляет упомянутое сообщение уведомления о завершении перехода инициатору запроса на смену соединения.
10. Способ по п.7 или 9, в котором упомянутое сообщение уведомления о завершении перехода содержит информацию о маршрутизации линий связи соединения.
11. Способ по п.7 или 9, в котором упомянутое сообщение уведомления о завершении перехода содержит идентификатор текущего коммутируемого соединения, если упомянутый переход между постоянным соединением и коммутируемым соединением – это переход от коммутируемого соединения к постоянному соединению.
12. Способ по п.1, в котором упомянутое сообщение запроса на смену соединения, принятое входным узлом, содержит идентификатор входного узла и информацию о входящем порте или идентификатор входного узла и информацию об исходящем порте соединения, в отношении которого в текущий момент запрошена смена, и каждый узел добавляет собственную информацию об исходящем порте в сообщение запроса на смену соединения перед пересылкой сообщения.
13. Способ по п.12, в котором в процессе пересылки упомянутого сообщения запроса на смену соединения каждым узлом информация об исходящем порте от текущего узла к следующему узлу добавляется в сообщение запроса на смену соединения, если сообщение включает в себя информацию о входящем порте; и информация о входящем порте от текущего узла к следующему узлу добавляется в сообщение запроса на смену соединения, если сообщение включает в себя информацию об исходящем порте.
14. Способ по п.12, в котором упомянутая информация о входящем порте содержит идентификатор входящего порта или идентификатор входящего канала, либо их сочетание; и упомянутая информация об исходящем порте содержит идентификатор исходящего порта или идентификатор исходящего канала, либо их сочетание.
15. Способ по п.12, в котором упомянутую информацию о собственном исходящем порте узла получают посредством запроса информации о перекрестных соединениях, сохраненной в самом узле, на основе информации о входящем порте текущего узла.
16. Способ по п.12, дополнительно содержащий, перед тем, как упомянутый входной узел выполняет переход между постоянным соединением и коммутируемым соединением, этап, на котором принимают решение о том, являются ли или нет идентификатор входного узла и информация о входящем порте или идентификатор входного узла и информация об исходящем порте, содержащиеся в принятом сообщении запроса на смену соединения, верными, и если это так, выполняют переход, в противном случае возвращают сообщение об ошибке и завершают этот процесс.
17. Способ по п.12, в котором сообщение запроса на смену соединения, принятое упомянутым входящим узлом, дополнительно содержит идентификатор выходного узла или идентификатор выходного узла и информацию об исходящем порте в выходном узле текущего соединения, в отношении которого запрошена смена.
18. Способ по п.17, дополнительно содержащий, перед тем, как упомянутый выходной узел выполняет переход между постоянным соединением и коммутируемым соединением, этап, на котором принимают решение о том, являются ли или нет идентификатор выходного узла или идентификатор выходного узла и информация об исходящем порте, содержащиеся в принятом сообщении запроса на смену соединения, верными, и если это так, создают или удаляют коммутируемое соединение в узле, в противном случае возвращают сообщение об ошибке и завершают этот процесс.
19. Способ по п.1, в котором, если упомянутый переход между постоянным соединением и коммутируемым соединением – это переход от коммутируемого соединения к постоянному соединению, сообщение запроса на смену соединения, принятое упомянутым входным узлом, содержит идентификатор текущего коммутируемого соединения.
20. Способ по п.1, в котором упомянутое соединение является однонаправленным соединением или двунаправленным соединением.
21. Способ по п.1, в котором упомянутое коммутируемое соединение в данном способе – это гибкое постоянное соединение, инициированное системой управления сетью, или коммутируемое соединение, инициированное клиентским устройством или его посредником.
22. Способ по п.1, в котором упомянутая оптическая сеть – это сеть с синхронной цифровой иерархией, или синхронная оптическая сеть, или коммутируемая сеть с разделением по длине волны, или оптическая транспортная сеть (OTN).
РИСУНКИ
|
|