|
|
(21), (22) Заявка: 2003105160/09, 23.07.2001
(24) Дата начала отсчета срока действия патента:
23.07.2001
(30) Конвенционный приоритет:
21.07.2000 (пп.1-34) US 60/220,241
(43) Дата публикации заявки: 10.06.2004
(46) Опубликовано: 10.11.2007
(56) Список документов, цитированных в отчете о поиске:
RU 2116008 C1, 20.07.1998. RU 2144271 C1, 10.01.2000. US 5956653 A, 21.09.1999. US 5774533 A, 30.06.1998. US 5428666 A, 27.06.1995.
(85) Дата перевода заявки PCT на национальную фазу:
21.02.2003
(86) Заявка PCT:
US 01/23226 (23.07.2001)
(87) Публикация PCT:
WO 02/08863 (31.01.2002)
Адрес для переписки:
129010, Москва, ул. Б. Спасская, 25, стр.3, ООО “Юридическая фирма Городисский и Партнеры”, пат.пов. Ю.Д.Кузнецову, рег.№ 595
|
(72) Автор(ы):
УОТЛЕР Теодор В. (US), ХЭНЛИ Джерри (US)
(73) Патентообладатель(и):
ТЕЛЕМЭК КОРПОРЕЙШН (US)
|
(54) МНОГОЧИСЛЕННЫЕ ВИРТУАЛЬНЫЕ БУМАЖНИКИ В БЕСПРОВОДНЫХ УСТРОЙСТВАХ
(57) Реферат:
Изобретение относится к системам, имеющим беспроводное устройство, способное контролировать и отслеживать свое собственное использование и активность по счету. Техническим результатом является повышение гибкости управления расходами в отношении каждого счета. Беспроводное устройство включает в себя приложение ведения счетов и приложения для расчета за услуги. Приложение ведения счетов ведет множество счетов совместно с приложениями для расчета за услуги и используется абонентом для определения того, каким образом должен быть оплачен каждый вызов/транзакция. Абонент беспроводного устройства может оплатить деловые вызовы, используя первый счет, и персональные вызовы, используя второй счет. 5 н. и 29 з.п. ф-лы, 4 ил.
По настоящей заявке испрашивается приоритет, согласно §119 Раздела 35 Кодекса законов США, по предварительной заявке на патент в США с порядковым номером 60/220241, зарегистрированной в патентном ведомстве США 21 июля 2000 г., описание которой включено здесь в качестве ссылки для всех целей во всей полноте.
Настоящее изобретение относится, в основном, к системе с протоколом ведения счетов для беспроводных устройств и, в частности, к системе с протоколом ведения счетов, которая применяется для контроля и отслеживания использования и активности по счету беспроводного устройства.
Более конкретно, система ведения счетов предназначена для мобильного телефона, с тем чтобы иметь возможность на индивидуальной основе контролировать и отслеживать использование и активность по счету мобильного телефона. Ряд систем расчета за услуги описаны в патентах США №5325418 (патент ‘418), 5625669 (патент ‘669), 5577100 (патент ‘100) и 6198915 B1 (патент ‘915), которые включены здесь в качестве ссылки. В патентах ‘418 и ‘669 описываются системы расчета за услуги, в которых раскрывается конкретное применение для услуг мобильных телефонов с отсроченной оплатой, таких как услуга аренды мобильных телефонов или управляемые услуги мобильных телефонов. При управляемой услуге мобильных телефонов сбор данных телефонного вызова и вычисление платы за пользование телефоном для каждого вызова позволяет поставщикам услуг (или корпорациям во внутрикорпоративной системе) ограничивать, или по меньшей мере контролировать, использование мобильных телефонов до периодического выставления счета за услуги. Например, если использование мобильного телефона превышает заранее установленный предел, мобильный телефон может быть временно отключен или его работа ограничена, пока не будет получена промежуточная оплата или дополнительные источники кредита. Во внутрикорпоративной системе предупреждающее сообщение может быть послано корпоративному органу управления, который затем может либо разрешить дальнейшее использование, либо временно отключить мобильный телефон. В таких системах данные телефонного вызова хранятся в мобильном телефоне и затем передаются на главный процессор, который вычисляет плату. Главный процессор обычно располагается в сети, которая отделена от мобильного телефона.
При появлении патентов ‘418 и ‘669 уровень техники продвинулся так, что приложение для расчета за услуги в мобильном телефоне может внутренне вычислять плату за вызов. Как описано в патентах ‘100 и ‘915, такие системы минимизируют трафик связи, необходимый между главным процессором поставщика услуг и мобильным телефоном, и таким образом увеличивают общую пропускную способность по прохождению трафика системы мобильного телефона. В патентах ‘100 и ‘915 описываются системы расчета за услуги, в которых раскрывается конкретное применение для предоплаченных услуг мобильных телефонов.
Вследствие все более легкого использования и меньших расходов будет продолжаться быстрое распространение и использование мобильных телефонов. Теперь многие компании снабжают своих работников мобильными телефонами для обеспечения того, чтобы такие работники оставались на связи. Так как совершенно нереально носить два мобильных телефона, то эти работники неизбежно стремятся использовать предоставленные их компанией мобильные телефоны как для деловых, так и для персональных вызовов. Следовательно, для того, чтобы предотвратить неправильную эксплуатацию и/или обеспечить безошибочный расчет за услуги, было бы желательно иметь возможность контролировать надлежащее использование и активность по счету предоставленных компанией мобильных телефонов.
Кроме того, некоторые мобильные телефоны на рынке в настоящее время обеспечивают двухканальные или многоканальные возможности. С двухканальным телефоном две телефонные линии могут быть выделены для обработки вызовов соответственно первого вида и второго вида. В результате может потребоваться раздельный контроль активности по счету для вызовов различного вида. Поэтому, было бы желательным создать систему мобильных телефонов, которая способна обрабатывать и контролировать использование и активность по счету различного вида для беспроводных устройств.
Система, в соответствии с настоящим изобретением, относится к системам беспроводной связи, имеющим беспроводные устройства, в частности мобильные телефоны, которые являются частью сети беспроводной связи. Настоящее изобретение, в частности, относится к беспроводному устройству, такому как мобильный телефон, который включает в себя приложение внутреннего ведения счетов для внутреннего ведения множества счетов. В представленном варианте выполнения приложение ведения счетов взаимодействует с приложением для расчета за услуги для вычисления «на лету» платы за связь. Такими мобильными телефонами обычно являются сотовые телефоны в сотовой телефонной сети, радиотелефоны в сети системы персональной связи или другой системы связи, где мобильный телефон может перемещаться с места на место.
Система, в соответствии с настоящим изобретением, предназначена для использования в мобильных телефонах, где желательно вычисление в реальном времени платы за вызов для ограничения использования телефона или немедленного выставления счета за использование телефона, где еще недоступно выставление счетов поставщиками коммутируемых услуг общего пользования и принимающими участие поставщиками беспроводных услуг.
Система ведения счетов включает в себя приложение ведения счетов, содержащееся внутри беспроводного устройства, которое ведет множество счетов. Приложение ведения счетов взаимодействует с одним или несколькими приложениями для расчета за услуги, такими как комплексный алгоритм выставления счета с протоколом расчета за услуги с многочисленными факторами для вычисления платы за местные вызовы, платы за роуминг, когда беспроводное устройство перемещается из одной зоны в другую, платы за междугороднюю связь, платы за международную связь, включающей независимую от страны плату за местные вызовы, и дополнительной платы, которые могут основываться на вызове или тарифе. Комплексный алгоритм выставления счета может быть расширен, чтобы включать специальные платы поставщиков услуг или вызываемых станций или специальные скидки или надбавки за вызовы с передачей данных.
Приложения для расчета за услуги, связанные с использованием мобильного телефона, могут включать в себя тарифную сетку. Тарифная сетка в беспроводном устройстве может периодически обновляться посредством беспроводной связи с главным процессором поставщика услуг или представителем службы поддержки абонентов. Приложения для расчета за услуги, связанные с транзакциями мобильной коммерции, получают подлежащую удержанию сумму из предварительно определенного протокола связи с устройством транзакции продавца или представителем службы поддержки абонентов.
Необходимо понять, что приложения для расчета за услуги могут постоянно находиться либо в беспроводном устройстве, либо в сети, которая доступна для беспроводного устройства. В зависимости от технических требований или ограничений на проектирование функциональное назначение приложения ведения счетов может быть встроено в приложение для расчета за услуги.
Необходимо также понять, что беспроводное устройство с системой ведения счетов может быть реализовано в существующих сетях беспроводной связи без значительной модификации сети и может быть реализовано в большинстве существующих беспроводных устройств с минимальной модификацией, главным образом посредством внутреннего перепрограммирования беспроводного устройства. Модификация большинства существующих беспроводных устройств еще более минимальна тогда, когда существующие приложения для расчета за услуги, постоянно находящиеся в сети, используются беспроводным устройством.
Беспроводное устройство, такое как мобильный телефон, в настоящее время включает в себя внутренний процессор и внутреннюю память достаточного объема для хранения программного обеспечения и данных, необходимых для выполнения расчета за услуги в реальном времени. Приложение ведения счетов и комплексные алгоритмы, обеспечивающие возможности по расчету за услуги с многочисленными факторами, достаточно компактные, так что хранение и обработка данных вызова осуществляются в реальном времени с достаточной точностью для вычисления многочисленных плат от многочисленных поставщиков услуг даже для телефона-роумера. Приложения для расчета за услуги и ведения счетов должны использовать систему шифрования для обеспечения безопасного программирования и транзакций по эфиру.
Описанная здесь система расчета за услуги и ведения счетов обеспечивает абонентам и торгово-промышленным предприятиям большую гибкость при управлении расходами с использованием мобильного телефона и при транзакциях мобильной коммерции особенно тогда, когда расходы должны быть разделены на различные счета по многочисленным критериям, таким как деловой – персональный, или по различным центрам прибыли в пределах одного торгово-промышленного предприятия. Повышенная гибкость также включает в себя различные способы управления расходами в отношении каждого счета, такого как предоплаченная услуга или услуга с отсроченной оплатой с пределами использования. В настоящем изобретении описывается система, в которой индивидуальное беспроводное устройство может быть использовано в режиме управляемой услуги для определенных целей, таких как деловые вызовы, в режиме предоплаченной услуги для других целей, таких как частные вызовы, и иметь дополнительные безопасные электронные счета для других транзакций мобильной коммерции.
Система, в соответствии с настоящим изобретением, предназначена для аналоговых или цифровых сотовых телефонов, радиотелефонов в сетях системы персональной связи и в других системах беспроводной связи. Система также предназначена для других беспроводных устройств, таких как персональные цифровые секретари, которые используются для транзакций мобильной коммерции по протоколам радиочастотной связи ближнего действия или услуг связи по доставке данных, таких как служба коротких сообщений.
Остальные части описания изобретения, включающие чертежи и формулу изобретения, конкретизируют существенные признаки и преимущества настоящего изобретения. Существенные признаки и преимущества настоящего изобретения, а также конструкция и принцип осуществления различных вариантов выполнения настоящего изобретения подробно описываются ниже со ссылкой на прилагаемые чертежи, при этом одинаковые позиции обозначают идентичные или функционально аналогичные элементы.
На фиг.1 изображено упрощенное схематическое представление, иллюстрирующее типичную установку беспроводной связи.
На фиг.2 изображено упрощенное схематическое представление, иллюстрирующее типичную установку для передачи сообщений доставки данных, таких как в службе коротких сообщений, на беспроводное устройство.
На фиг.3 изображено упрощенное схематическое представление, иллюстрирующее типичную установку для выполнения беспроводных транзакций.
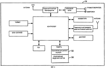
На фиг.4 изображено упрощенное схематическое представление, показывающее примерный вариант выполнения беспроводного устройства в соответствии с настоящим изобретением.
На фиг.1 изображена типичная установка беспроводной связи. Сеть 10 взаимодействует с беспроводным устройством 14, таким как мобильный телефон, через передающую станцию 12. Передающая станция 12 использует связь по эфиру для того, чтобы быть на связи с беспроводным устройством 14. Протоколы связи по эфиру, которые могут быть использованы для осуществления беспроводной связи между беспроводным устройством 14 и сетью 10, включают в себя, например, глобальную систему подвижной связи (ГСПС), множественный доступ с кодовым разделением каналов (МДКР), множественный доступ с временным разделением каналов (МДВР), универсальную систему подвижной связи (УСПС) и т.д. Специалисту в этой области техники известны другие методы и способы осуществления связи по эфиру.
На фиг.2 представлена типичная установка для передачи сообщений доставки данных, таких как в службе коротких сообщений, на беспроводное устройство 14. Программа 16 приложения, постоянно находящаяся в главном процессоре 18, использует канал 20 связи, такой как канал, работающий по протоколу управления передачей/межсетевому протоколу, через Интернет, для связи с контроллером 22 сообщений доставки данных в сети 10 для передачи сообщения доставки данных, такого как сообщения службы коротких сообщений, на беспроводное устройство 14, такое как мобильный телефон, через передающую станцию 12.
На фиг.3 представлена типичная установка для выполнения беспроводных транзакций. Торговый автомат 24 с приемопередатчиком радиосвязи ближнего действия и беспроводное устройство 14, такое как мобильный телефон с приемопередатчиком радиосвязи ближнего действия, сообщаются друг с другом с использованием канала 26 радиосвязи ближнего действия. Каналы радиосвязи ближнего действия, которые могут быть использованы для осуществления беспроводной связи между беспроводным устройством 14 и торговым автоматом 24, включают в себя, например, каналы беспроводной связи BluetoothTM. Специалисту в этой области техники известны другие методы и способы передачи данных транзакций между двумя устройствами. В качестве другого примера, торговый автомат 24 и беспроводное устройство 14 – каждое с соответствующим приемопередатчиком – могут передавать друг другу данные транзакций с использованием службы сообщений доставки данных, такой как службы коротких сообщений.
На фиг.4 изображен примерный вариант выполнения беспроводного устройства 14 в соответствии с настоящим изобретением. В соответствии с примерным вариантом выполнения беспроводное устройство 14 включает в себя приложение 30 ведения счетов, которое позволяет производить отслеживание и контроль на индивидуальной основе использования и активности по счету беспроводного устройства 14. Приложение 30 ведения счетов функционирует как многочисленные виртуальные бумажники и способно вести несколько различных счетов, на которые начисляется плата за вызовы или транзакции, обрабатываемые беспроводным устройством 14. Различные счета включают в себя, например, традиционный счет с отсроченной оплатой, счет контролируемого или управляемого использования с отсроченной оплатой и предоплаченный счет.
Приложение 30 ведения счетов может постоянно находиться в исполняемой памяти внутри беспроводного устройства 14. Такая память может быть любого вида, такая как постоянное запоминающее устройство (ПЗУ), стираемое программируемое постоянное запоминающее устройство (СППЗУ) или флэш-память. Приложение 30 ведения счетов может хранить динамические данные в оперативном запоминающем устройстве (ОЗУ) и использовать энергонезависимую память, такую как электрически стираемое программируемое ПЗУ (ЭСППЗУ) или флэш-память, для хранения управляющих данных. Альтернативно, приложение 30 ведения счетов может постоянно находиться на смарт-карте, такой как универсальный модуль идентификации абонента (УМИА) или универсальный модуль идентификации (УМИ), которая подключается к беспроводному устройству 14.
В соответствии с одним вариантом выполнения приложение 30 ведения счетов дополнительно взаимодействует с другими приложениями, такими как приложение 32 для расчета за услуги, описанное ниже, с тем чтобы надлежащим образом управлять и обрабатывать различные счета. Приложение 32 для расчета за услуги способно вычислять плату за вызовы в реальном времени или «на лету». Примером приложения 32 для расчета за услуги является комплексный алгоритм выставления счета, описанный в патенте ‘100. Комплексный алгоритм выставления счета разлагает на множители многочисленные переменные телефонного вызова от мобильного телефона на уравнение выставления счета, которое фактически отражает множители, рассматриваемые поставщиками коммутируемой сети общего пользования и принимающими участие поставщиками беспроводных услуг (из которых в одном вызове может быть более одного). Результирующая плата за вызов точно аппроксимирует суммирование реальной платы, которая будет рассчитана принимающими участие поставщиками услуг, тем самым выполняя мгновенное вычисление и отображение платы за вызов. Комплексный алгоритм выставления счета может быть расширен, чтобы включать специальные платы поставщиков услуг или вызываемых станций или специальные скидки или надбавки за вызовы с передачей данных. Приложение 32 для расчета за услуги может постоянно находиться в исполняемой памяти внутри беспроводного устройства 14. Такая память может быть любого вида, такого как ПЗУ, СППЗУ или флэш-память. Приложение 32 для расчета за услуги может хранить динамические данные в ОЗУ и использовать энергонезависимую память, такую как ЭСППЗУ или флэш-память, для хранения управляющих данных. Альтернативно, приложение 32 для расчета за услуги может постоянно находиться на смарт-карте, такой как универсальный модуль идентификации абонента (УМИА) или универсальный модуль идентификации (УМИ), которая подключается к беспроводному устройству 14. В альтернативном варианте также необходимо понять, что приложение 32 для расчета за услуги может постоянно находиться в сети 10. Специалисту в этой области техники известны методы и способы получения и выведения информации о плате за вызовы из приложения 32 для расчета за услуги, постоянно находящегося в сети 10.
Также необходимо понять, что приложения 32 для расчета за услуги могут постоянно находиться либо в беспроводном устройстве 14, либо в сети 10, которая доступна для беспроводного устройства 14. В зависимости от технических требований или ограничений на проектирование функциональное назначение приложения 30 ведения счетов может быть встроено в приложение 32 для расчета за услуги или объединено с ним.
Беспроводное устройство 14 может программироваться с использованием систем, таких как системы, описанные в патенте США №6243574 В1. В дополнение к установке приложения 30 ведения счетов и приложений 32 для расчета за услуги программное обеспечение может включать в себя предоставление данных, таких как исходные денежные величины для предоплаченных счетов или кредитные лимиты, беспроводному устройству 14. Альтернативно, беспроводное устройство 14 может программироваться через эфир, используя двухтональные многочастотные сигналы или службу связи по доставке данных, такую как служба коротких сообщений, запускаемую из программы 16 приложения, постоянно находящейся в главном процессоре 18, таком как описанный в патенте ‘100.
Беспроводное устройство 14 предпочтительно представляет собой современный блок с жидкокристаллическим экраном для отображения цифровых или буквенно-цифровых данных, таких как меню абонента и предупреждающие сообщения; клавиатурой для ввода данных, таких как выбор пункта меню; и таймером для определения длительности вызовов, тем самым позволяя вычислять плату за вызов. Альтернативно, специалисту в этой области техники известно, что информация таймера может быть получена из сети 10.
В одном варианте выполнения приложение 30 ведения счетов начисляет плату за вызов или транзакцию на счет, выбранный абонентом. Выбор счета осуществляется через интерфейс абонента. Интерфейс абонента позволяет абоненту взаимодействовать с приложением 30 ведения счетов и выбирать, какой один из счетов необходимо использовать для каждого вызова или транзакции. Кроме того, интерфейс абонента также позволяет абоненту выполнять некоторые функции ведения счетов. Например, абонент посредством интерфейса абонента может переносить сальдо между счетами или выполнять другие типичные учетные функции. В качестве другого примера, абонент посредством интерфейса абонента может изменить счет, на который была начислена плата за определенный вызов. Интерфейс абонента, предпочтительно, выполняется в виде меню доступных счетов, представляемых на жидкокристаллическом экране беспроводного устройства 14.
В предлагаемом режиме работы использование и активность по счету беспроводного устройства 14 контролируются и отслеживаются следующим образом. В том случае, если исходящий вызов должен быть выполнен посредством беспроводного устройства 14, до того как будет выполнен такой вызов, используя интерфейс абонента, абонент выбирает, на какой счет должна быть начислена плата за этот вызов. Если счет выбран, то абонент затем продолжает исполнение нормальных процедур для выполнения вызова. Если, например, выбран предоплаченный счет, то приложение 32 для расчета за услуги затем вычисляет плату, которая должна быть отнесена на дебет счета, и приложение 30 ведения счетов соответствующим образом вносит на дебет выбранного предоплаченного счета.
Аналогично, в той ситуации, когда беспроводным устройством 14 должен быть принят входящий вызов, до того как будет выполнен ответ на такой вызов, используя интерфейс абонента, абонент выбирает, на какой счет должна быть начислена плата за этот вызов. Если счет выбран, то абонент затем продолжает исполнение нормальных процедур для приема этого вызова. Если, например, выбран счет с отсроченной оплатой, вычисляется плата за вызов и приложение 30 ведения счетов соответствующим образом обновляет счет с отсроченной оплатой.
Как описано выше, на выбранный счет начисляется плата за вызов, обрабатываемый беспроводным устройством 14. Однако необходимо понять, что на счет также может быть начислена плата за любую транзакцию, обрабатываемую беспроводным устройством 14. Т. е. приложение 30 ведения счетов также может контролировать и отслеживать транзакции, обрабатываемые беспроводным устройством 14. Например, как показано на фиг.3, если беспроводное устройство 14 используется для связи с торговым автоматом 24 для выполнения покупки, на соответствующий счет беспроводного устройства 14 аналогичным образом может быть начислена плата за выполнение этой покупки.
Альтернативно, приложение 30 ведения счетов может автоматически выбрать счет, на который должна быть начислена плата, из многофакторного алгоритма. Например, там, где беспроводное устройство 14 представляет собой многоканальный мобильный телефон, приложение 30 ведения счетов определяет, какая линия многоканального мобильного телефона используется и начисляет плату на счет, связанный с этой линией. Плата за вызов, которая должна быть начислена на этот счет, определяется приложением 32 для расчета за услуги. Например, приложение 30 ведения счетов может выбрать и использовать счет с отсроченной оплатой для вызовов, выполняемых или принимаемых по одной линии, и выбрать и использовать предоплаченный счет для вызовов, выполняемых или принимаемых по другой линии.
В другом варианте выполнения приложение 30 ведения счетов может определить телефонный номер устройства, которое инициировало вызов, используя функции автоматического определения номера в сети 10, и начислить плату на счет, связанный с этим телефонным номером, в таблице, хранимой в ЭСППЗУ или флэш-памяти в беспроводном устройстве 14. В случае, если инициирующий телефонный номер не был найден в таблице, на счет по умолчанию затем начисляется плата или абоненту выводится подсказка, чтобы он выбрал счет, на который должна быть начислена плата за вызов. Время выдачи подсказки может изменяться в зависимости от конструкции. Например, подсказка может происходить после завершения вызова, если были достаточными доступные предоплаченные денежные средства и/или кредитный лимит всех потенциально оплачиваемых счетов. Альтернативно, время появления подсказки также может происходить в предварительно запрограммированное время для предупреждения об исчерпании доступных предоплаченных денежных средств и/или кредитного лимита, основываясь на счете из всех потенциально оплачиваемых счетов, который первым достигает момента времени для такого предупреждения. Понятно, что многофакторный алгоритм может включать в себя один или несколько из вышеупомянутых факторов, а также другие факторы, подходящие для выбора счета, на который необходимо начислить плату.
В предлагаемом варианте выполнения приложение 30 ведения счетов ведет каждый счет в соответствии с алгоритмом, запрограммированным поставщиком услуг или уполномоченным персоналом корпорации. Например, программа 16 приложения, постоянно находящаяся в главном процессоре 18, может предоставлять безопасный доступ уполномоченному персоналу корпорации, позволяя такому персоналу вводить управляющие данные в отношении каждого счета. Программа 16 приложения может инициировать передачу сообщения доставки данных, такого как сообщение службы коротких сообщений, которое, когда оно принимается беспроводным устройством 14, соответствующим образом перепрограммирует беспроводное устройство 14 такими управляющими данными. Например, один счет может быть открыт как традиционный счет с отсроченной оплатой с ограничением на использование, а второй счет может быть открыт как предоплаченный счет. Корпоративные правила могут потребовать от абонента использование первого счета только для легальных деловых вызовов. Соблюдение абонентом таких правил может контролироваться посредством записей параметров вызовов, хранимых на беспроводном устройстве 14 и передаваемых на главный процессор, как раскрыто в патентах ‘418 и ‘669.
Понятно, что записи параметров вызовов могут храниться в ОЗУ или в другой памяти в беспроводном устройстве 14, или, альтернативно, записи параметров вызовов могут храниться на смарт-карте, такой как универсальный модуль идентификации абонента (УМИА), которая подключается к беспроводному устройству 14.
Управляющие данные, передаваемые на беспроводное устройство 14, также могут быть применены для определения последствия достижения абонентом предела использования. Например, одно такое последствие используется для того, чтобы приложение 30 ведения счетов создало и передало сообщение службы коротких сообщений или другое сообщение доставки данных на соответствующее предупреждение органа управления корпорации, что абонент превысил предел использования и что подтверждается оценка записей параметров вызовов. Другое такое последствие используется для того, чтобы приложение 30 ведения счетов временно ограничило работу беспроводного устройства 14, разрешая только экстренные вызовы и вызовы к представителям службы поддержки абонентов до тех пор, пока не будет снято ограничение. Корпоративные правила могут разрешать персональные вызовы по этому же беспроводному устройству 14, если абонент использует второй счет, предоплаченный счет. Уполномоченный персонал корпорации может принимать приемлемые формы оплаты от абонента и, используя программу 16 приложения, передавать управляющие данные на беспроводное устройство 14, добавляя соответствующим образом денежные средства на предоплаченный счет, аналогично описанию в патенте ‘100.
В другом варианте выполнения программа 16 приложения на главном процессоре 18 может обеспечивать безопасный доступ уполномоченному персоналу поставщика услуг или, во внутрикорпоративной системе, корпорации для изменения управляющих данных в отношении каждого счета. Программа 16 приложения может инициировать передачу сообщения доставки данных, такого как сообщение службы коротких сообщений, которое, когда оно принимается беспроводным устройством 14, соответствующим образом перепрограммирует беспроводное устройство 14 такими управляющими данными. Примеры таких изменений включают в себя изменения в таблицах тарифов, используемых приложением 32 для расчета за услуги, изменения кредитных лимитов для управляемых счетов с отсроченной оплатой и изменения в оплаченных денежных средствах на предоплаченных счетах и т.д. Альтернативно, абонентам может быть предоставлен доступ по эфиру к программе 16 приложения на главном процессоре 18 для выполнения ограниченных изменений, таких как использование кредитных карт или предоплаченных телефонных карт для добавления денежных средств на предоплаченные счета, аналогично описанию в патенте ‘100. Кроме того, обновленная таблица тарифов может быть передана на беспроводное устройство 14, когда абонент запрашивает увеличение внутреннего счета телефона.
В предлагаемом варианте выполнения приложение 30 ведения счетов может создавать звуковые предупреждающие сигналы через громкоговоритель беспроводного устройства 14 и/или предупреждающие сообщения, отображаемые на жидкокристаллическом экране беспроводного устройства 14, с тем чтобы информировать абонента, что у него скоро исчерпается кредитный лимит или предоплаченные денежные средства. Предупреждающие сообщения могут включать в себя информацию, идентифицирующую соответствующий счет и количество оставшихся денежных средств или кредита.
Система, в соответствии с настоящим изобретением, обеспечивает существенную гибкость посредством описанных выше вариантов. Например, абоненту беспроводного устройства 14 предоставляется гибкость в оплате каждого вызова отдельно на специализированной основе. Абонент может пожелать разделить и оплачивать вызовы, основываясь на сущности каждого вызова. Деловые и персональные вызовы, обрабатываемые одним и тем же беспроводным устройством 14, могут оплачиваться с различных счетов. Деловой вызов должен оплачиваться с одного счета, а персональный вызов – с другого счета. Абонент также может пожелать использовать различные счета для оплаты различных вызовов; один вызов может оплачиваться с предоплаченного счета, тогда как плата за другой вызов может начисляться на счет с отсроченной оплатой.
Понятно, что описанные здесь примеры и варианты выполнения приведены только в качестве иллюстрации и что специалисты в этой области техники могут предложить различные их модификации или изменения, которые определены сущностью и содержанием настоящей заявки и включены в объем прилагаемой формулы изобретения. Все упомянутые публикации, патенты и заявки на патенты включены в настоящее описание в качестве ссылки.
Формула изобретения
1. Система для обработки множества активностей по счету, содержащая
беспроводное устройство, имеющее приложение ведения счетов и приложение для расчета за услуги,
при этом приложение ведения счетов хранится внутри и ведет расчет множества счетов, каждый из которых имеет внутренний баланс счета,
при этом приложение для расчета за услуги вычисляет соответствующие расходы за связь,
при этом приложение ведения счетов и приложение для расчета за услуги взаимодействуют для выборочного расходования одного из хранящихся счетов за указанную связь.
2. Система по п.1, которая также содержит пользовательский интерфейс, позволяющий пользователю определять какой из хранящихся в памяти счетов следует расходовать за указанную связь.
3. Система по п.1, в которой приложение ведения счетов использует алгоритм для автоматического выбора одного из множества хранящихся внутри счетов, который следует расходовать за указанную связь.
4. Система по п.3, в которой алгоритм выбора одного из хранящихся внутри счета основан на источнике или пункте связи.
5. Система по п.1, в которой беспроводное устройство выполнено с возможностью передачи или приема данных.
6. Система по п.1, в которой беспроводное устройство представляет собой мобильный телефон.
7. Система по п.1, в которой приложение ведения счетов и приложение для расчета за услуги постоянно находятся на смарт-карте, подключаемой к беспроводному устройству.
8. Система по п.1, в которой приложение ведения счетов и приложение для расчета за услуги постоянно находятся во внутренней памяти беспроводного устройства.
9. Система по п.1, в которой приложение ведения счетов сконфигурировано так, что позволяет пользователю переносить сальдо среди множества хранящихся внутри счетов.
10. Система по п.1, в которой множество счетов включает в себя счет с отсроченной оплатой и предоплаченный счет.
11. Система по п.1, в которой по меньшей мере один из множества счетов имеет предел использования; и
в которой возможность пользователя использовать беспроводное устройство ограничивается, когда превышен предел использования.
12. Беспроводное устройство, выполненное с возможностью осуществления связи в сети, содержащее
приложение ведения счетов, постоянно находящееся в беспроводном устройстве для хранения множества счетов, каждый из которых имеет внутренний баланс счета,
приложение для расчета за услуги постоянно находящееся в беспроводном устройстве для вычисления соответствующих расходов за связь, и
пользовательский интерфейс, обеспечивающий пользователю выборочно определять какой один из множества хранящихся внутри счетов будет расходоваться за указанную связь;
при этом приложение ведения счетов и приложение для расчета за услуги функционируют совместно друг с другом для расходования выбранного хранящегося внутри счета за указанную связь.
13. Беспроводное устройство по п.12, в котором беспроводное устройство выполнено с возможностью передачи или приема данных.
14. Беспроводное устройство по п.12, в котором беспроводное устройство представляет собой мобильный телефон.
15. Беспроводное устройство по п.12, в котором приложение ведения счетов и приложение для расчета за услуги постоянно находятся на смарт-карте, подключаемой к беспроводному устройству.
16. Беспроводное устройство по п.12, в котором приложение ведения счетов и приложение для расчета за услуги постоянно находится во внутренней памяти беспроводного устройства.
17. Беспроводное устройство по п.12, в котором приложение ведения счетов позволяет пользователю переносить сальдо среди множества хранящихся внутри счетов.
18. Беспроводное устройство по п.12, в котором множество счетов включает в себя счет с отсроченной оплатой и предоплаченный счет.
19. Беспроводное устройство по п.12, в котором по меньшей мере один из множества счетов имеет предел использования; и
в котором возможность пользователя использовать беспроводное устройство ограничивается, когда превышен предел использования.
20. Мобильный телефон, содержащий
первую линию и вторую линию, обе выполнены с возможностью выполнять и принимать вызовы; и
приложение ведения счетов, постоянно находящееся в мобильном телефоне и сконфигурированное для хранения и ведения хранящегося внутри множества счетов, каждый из которых имеет внутренний баланс счета;
приложение для расчета за услуги, постоянно находящееся в мобильном телефоне и сконфигурированное для вычисления расходов за все выполненные и принятые вызовы, сделанные мобильным телефоном;
при этом приложение ведения счетов и приложение для расчета за услуги взаимодействуют друг с другом для выборочного расходования одного из множества хранящихся внутри счетов за указанный вызов;
при этом за вызовы, выполняемые или принимаемые по первой линии, расходуется один из множества счетов, и за вызовы, выполняемые или принимаемые по второй линии, расходуется другой один из множества счетов.
21. Мобильный телефон по п.20, который также содержит
пользовательский интерфейс, позволяющий пользователю выборочно определять, каким образом должен расходоваться один из множества счетов за каждый вызов, выполняемый или принимаемый мобильным телефоном.
22. Мобильный телефон по п.20, в котором приложение ведения счетов и приложение для расчета за услуги постоянно находятся на смарт-карте, подключаемой к мобильному устройству.
23. Мобильный телефон по п.20, в котором приложение ведения счетов и приложение для расчета за услуги постоянно находятся во внутренней памяти мобильного телефона.
24. Мобильный телефон по п.20, в котором множество счетов включает в себя счет с отсроченной оплатой и предоплаченный счет.
25. Мобильный телефон по п.20, в котором вызовы, выполняемые или принимаемые по первой линии, включают в себя деловые вызовы, и вызовы, выполняемые или принимаемые по второй линии, включают в себя персональные вызовы.
26. Мобильный телефон по п.20, в котором приложение ведения счетов сконфигурировано так, что позволяет пользователю переносить сальдо среди множества счетов.
27. Способ отслеживания активности по счету, относящейся к использованию беспроводного устройства, содержащий этапы на которых
выбирают один из множества счетов, подлежащих расчету за связь, при этом множество счетов хранится внутри беспроводного устройства и каждый из которых имеет внутренний баланс счета;
используют беспроводное устройство для связи;
вычисляют расходы за связь, которые должны быть сделаны с выбранного счета, с использованием процессора беспроводного устройства; и
корректируют выбранный хранящийся внутри счет, используя вычисленные расходы.
28. Способ по п.27, в котором этап выбора одного из множества счетов также содержит
возможность выбора пользователем одного из множества счетов посредством пользовательского интерфейса.
29. Способ по п.27, в котором беспроводное устройство представляет собой мобильный телефон.
30. Способ по п.27, в котором беспроводное устройство обеспечивает передачу или прием данных.
31. Способ по п.27, в котором этап выбора одного из множества счетов также содержит
идентификацию источника или пункта назначения связи;
выбор одного из множества хранящихся внутри счетов, который должен быть рассчитан, основываясь на идентифицированном источнике или пункте связи.
32. Способ по п.27, в котором один из указанных внутренних счетов имеет предел использования и использование беспроводного устройства ограничено, когда превышен предел использования.
33. Способ по п.27, по которому один из упомянутых внутренних счетов имеет предоплаченный счет и возможность использования беспроводного устройства ограничивается, когда предоплаченный счет израсходован.
34. Способ отслеживания активности по счету, выполняемой мобильным телефоном, имеющим первую линию и вторую линию, обе выполнены с возможностью выполнять и принимать вызовы, содержащий этапы на которых
назначают первый, хранящийся внутри счет со своим внутренним балансом, для вызовов, выполняемых или принимаемых по первой линии;
назначают второй, хранящийся внутри счет со своим внутренним балансом, для вызовов, выполняемых или принимаемых по второй линии;
выполняют или принимают вызов либо по первой линии, либо по второй линии;
вычисляют расходы за вызов, подлежащий оплате, используя процессор мобильного телефона; и
корректируют либо первый счет, либо второй счет, основываясь на вычисленных расходах, в зависимости от того, по какой одной из первой и второй линиям выполнялся или принимался вызов.
РИСУНКИ
|
|