|
|
(21), (22) Заявка: 2006108208/12, 15.03.2006
(24) Дата начала отсчета срока действия патента:
15.03.2006
(46) Опубликовано: 10.11.2007
(56) Список документов, цитированных в отчете о поиске:
SU 480898 A1, 22.10,1975. SU 996842 A1, 15.02. 1983. RU 2206854 C1, 20.06.2003.
Адрес для переписки:
350044, г.Краснодар, Калинина, 13, КГАУ, Патентно-информационный отдел
|
(72) Автор(ы):
Потапенко Иосиф Андреевич (RU), Богдан Александр Владимирович (RU), Амерханов Роберт Александрович (RU), Ададуров Евгений Анатольевич (RU), Харченко Павел Михайлович (RU), Гарькавый Константин Алексеевич (RU)
(73) Патентообладатель(и):
Федеральное государственное образовательное учреждение высшего профессионального образования Кубанский государственный аграрный университет (RU)
|
(54) УСТРОЙСТВО ДЛЯ ПРЕДОТВРАЩЕНИЯ ОБРАЗОВАНИЯ НАКИПИ
(57) Реферат:
Изобретение относится к области теплотехники и предназначено для предупреждения солевых отложений (накипи) на рабочих поверхностях нагрева теплообменного оборудования. Устройство содержит закрепленную на конце волновода, закрытую с двух сторон фланцами обойму, внутренняя полость которой имеет кольцевую беговую дорожку, обкатываемую шариком, и сопла для подачи сжатого воздуха, размещенные на установленном внутри обоймы патрубке, при этом фланцы выполнены сплошными и плотно прилегают к обойме. Один из фланцев установлен с возможностью перемещения вдоль патрубка со стороны подачи воздуха. Устройство обеспечивает повышение эффективности очистки за счет расширения верхней границы частоты и амплитуды возбуждаемых колебаний. 2 ил.
Изобретение относится к области теплотехники и предназначено для предупреждения солевых отложений (накипи) на рабочих поверхностях нагрева теплообменного оборудования.
Известен широкий класс пневматических вибраторов, применяемых в качестве устройств для предотвращения солевых отложений, имеющих как серьезные достоинства, так и недостатки, см. авт. свид. СССР №989305, 1983 г., бюл. №2, в котором для достижения более широкого спектра частот и амплитуд колебаний, возбуждаемых в волноводе (а, следовательно, и в теплообменных аппаратах), применяется две и более обоймы с целью более эффективного использования энергии сжатого воздуха. Однако в этом случае требуется значительный расход сжатого воздуха при более высоких давлениях, что экономически нецелесообразно.
Известно устройство для предотвращения образования накипи, см. авт. свид. №705244, 1979 г., бюл. №47, в котором для повышения эффективности работы устройства, т.е. для повышения верхней границы частоты и амплитуды возбуждаемых колебаний, устройство снабжается нагревателем сжатого воздуха, встроенного в подводящий патрубок. Серьезным недостатком известного изобретения является повышенный расход энергии и сжатого воздуха, что в настоящее время (во всяком случае, в последнее десятилетие) имеет важное значение с точки зрения экономических затрат, учитывая тенденцию к непрерывному росту цен на энергоносители во всем мире.
В качестве прототипа нами выбрано авт. свид. СССР №480898 «Устройство для предотвращения образования накипи» (разработанное с нашим участием), 1975 г., бюл. №30, содержащее закрепленную на конце волновода обойму, внутренняя полость которой имеет кольцевую беговую дорожку, обкатываемую шариком, и сопла для подачи сжатого воздуха, отличающееся тем, что сопла размещены на установленном внутри обоймы подводящем патрубке, а оси сопл расположены в плоскости волновода. Известное изобретение показало высокую эффективность при практическом применении для решения различных технологических процессов, в частности для предупреждения слеживания мелкодисперсных материалов. Однако возможности, заложенные в прототипе, далеко не исчерпаны. Серьезный недостаток данного изобретения связан с невысокой эффективностью использования воздушного потока, выходящего из сопл, т.к. стальной шарик получает импульс воздушного потока только непосредственно вблизи сопла, а далее движется по инерции. Проведенными опытно-экспериментальными работами было установлено, что при обойме подшипника 208 с диаметром 0,08 м, температуре сжатого воздуха 300K, давлении сжатого воздуха 5·105 Н/м2 (5 атм), скорости истечения воздушного потока из сопл диаметром 2 мм, равной 310 м/с, скорость движения шарика составляет 100 м/с.
Центробежная сила Fц, определяющая частоту и амплитуду возбуждаемых колебаний в волноводе, а следовательно, и в металлоконструкции того или иного теплообменного аппарата, к которому прикреплено устройство, составляет
,
где Fц – центробежная сила, Н;
m – масса шарика, кг;
R – радиус обоймы, м.

Техническим решением задачи является устранение недостатков известной конструкции и повышение эффективности работы устройства за счет расширения верхней границы частоты и амплитуды возбуждаемых колебаний.
Поставленная задача достигается тем, что устройство для предотвращения образования накипи, например в теплообменных аппаратах, содержащее закрепленную на конце волновода, закрытую с двух сторон фланцами обойму, внутренняя полость которой имеет кольцевую беговую дорожку, обкатываемую шариком, и сопла для подачи сжатого воздуха, размещенные на установленном внутри обоймы патрубке, отличается тем, что фланцы выполнены сплошными и плотно прилегают к обойме, причем один из фланцев установлен с возможностью перемещения вдоль патрубка со стороны подачи воздуха, а другой плотно прилегает к обойме.
По данным патентной и научно-технической литературы не обнаружена аналогичная совокупность признаков для решения поставленной задачи, что позволяет судить об изобретательском уровне предложения.
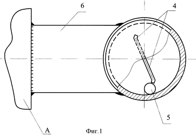
Устройство состоит (см. фиг.1 и 2) из обоймы 1, закрытой с двух сторон сплошными (без отверстий) фланцами 2, которые скреплены между собой патрубком 3, имеющим канал для подачи сжатого воздуха, в который в радиальном направлении впаяны два изогнутых сопла 4. Верхний фланец 2 имеет возможность перемещаться вдоль патрубка 3 со стороны подачи сжатого воздуха с помощью резьбового соединения. Сжатый воздух подается непосредственно к шарику 5 и приводит его в движение по кольцевой беговой дорожке обоймы 1, что обеспечивает получение упругих колебаний (за счет возникающих центробежных сил Fц), которые передаются с обоймы к очищаемой поверхности А парового котла или другого теплообменного аппарата при помощи скрепленного с ней волновода 6. Патрубок 3 закреплен при помощи шайбы 7 и гайки 8.
Устройство работает следующим образом. Сжатый воздух под давлением (4…5)·105 Н/м2 подается по каналу в патрубок 3 через сопла 4 и приводит стальной шарик 5 в движение по внутренней беговой дорожке обоймы 1. Скорость движения шарика регулируется перемещением верхнего фланца 2 по патрубку 3 от 0 до max в зависимости от правильно выбранного расстояния между верхним фланцем 2 и обоймой 1. Проведенными экспериментами установлено, что при выше приведенными исходными данными устройства (фактически это воздушный вибратор) скорость движения шарика достигает 220…240 м/с, а центробежная сила составляет 14400 Н, что значительно больше по сравнению с 2500 Н в прототипе (авт. свид. №480898).
Центробежная сила при скорости движения шарика 240 м/с составляет

что на порядок выше, чем в известных конструкциях, и значительно расширяет частоту и амплитуду возбуждаемых колебаний в обойме, а следовательно, и в теплотехнических аппаратах.
Это достигается за счет сохранения ламинарного потока движения сжатого воздуха, а в прототипе возникали турбулентные движения воздушного потока (за счет отверстий во фланцах), не позволяющие достигнуть скорости движения шарика более 100 м/с. – См. Г.Шлихтинг. Теория пограничного слоя. М.: Наука, 1975 г., С.86, 124.
Предложенное техническое решение, несмотря на предельную простоту конструктивного исполнения, позволяет с высокой эффективностью предупреждать солевые отложения на рабочих поверхностях нагрева пароводяных котлов низкого и среднего давления, кормозапарниках и т.д. при использовании исходной воды с общей жесткостью до 28…30 мг·экв/кг. Важным обстоятельством, по нашему мнению, является и то, что достижение более высоких технических характеристик устройства достигается без дополнительных финансовых и энергетических затрат.
Формула изобретения
Устройство для предотвращения образования накипи, например, в теплообменных аппаратах, содержащее закрепленную на конце волновода, закрытую с двух сторон фланцами обойму, внутренняя полость которой имеет кольцевую беговую дорожку, обкатываемую шариком, и сопла для подачи сжатого воздуха, размещенные на установленном внутри обоймы патрубке, отличающееся тем, что фланцы выполнены сплошными и плотно прилегают к обойме, причем один из фланцев установлен с возможностью перемещения вдоль патрубка со стороны подачи воздуха.
РИСУНКИ
MM4A – Досрочное прекращение действия патента СССР или патента Российской Федерации на изобретение из-за неуплаты в установленный срок пошлины за поддержание патента в силе
Дата прекращения действия патента: 16.03.2008
Извещение опубликовано: 20.11.2009 БИ: 32/2009
|
|