|
|
(21), (22) Заявка: 2006104358/12, 15.02.2006
(24) Дата начала отсчета срока действия патента:
15.02.2006
(46) Опубликовано: 10.11.2007
(56) Список документов, цитированных в отчете о поиске:
RU 2224191 C1, 20.02.2004. SU 615336 A, 06.06.1978. SU 8577663 A, 23.08.1981. DE 3927237 A1, 08.03.1990. GB 2235579 A, 06.03.1991. US 47993358 A, 24.01.1989. US 4587810 A, 13.05.1986.
Адрес для переписки:
141077, Московская обл., г. Королев-7, а/я 205, ООО “Стромакс 2000”
|
(72) Автор(ы):
Огнев Геннадий Леонидович (RU), Хвастунов Владимир Михайлович (RU)
(73) Патентообладатель(и):
ООО “Стромакс 2000” (RU)
|
(54) БЫСТРОЗАМОРАЖИВАТЕЛЬ И СПОСОБ ЕГО ЭКСПЛУАТАЦИИ
(57) Реферат:
Быстрозамораживатель полимерных пакетов, заполненных биологическими медицинскими субстанциями, например плазмой крови, или пищевыми продуктами, например фруктами, содержит холодильный агрегат с замкнутой гидравлической магистралью, которая заполнена охлаждающей жидкостью, к этой магистрали параллельно присоединены гидравлические тракты и полимерные пакеты, которые контактируют с пластинами, которые выполнены из материала с высокой теплопроводностью; в него введены термоэлектрические модули, которые одной стороной контактируют с гидравлическими трактами, а другой стороной с пластинами, которые в свою очередь контактируют с полимерными пакетами, насос, который прокачивает охлаждающую жидкость в замкнутом гидравлическом контуре, при этом термоэлектрические модули, которые охлаждают каждый полимерный пакет, снабжены собственным блоком питания, а на пластинах установлены датчики температуры, которые подключены к устройству измерения и контроля, которое, в свою очередь, подключено к коммутатору полярности тока, соединенным с блоком питания термоэлектрического модуля. Способ эксплуатации быстрозамораживателя полимерных пакетов, заполненных биологическими медицинскими субстанциями, например плазмой крови, или пищевыми продуктами, например фруктами, снабженного термоэлектрическими модулями, включающий загрузку полимерных пакетов, подачу электроэнергии на термоэлектрические модули, охлаждение полимерных пакетов до заданной минусовой температуры и выгрузку полимерных пакетов из быстрозамораживателя, отличающийся тем, что перед выгрузкой полимерных пакетов из быстрозамораживателя на термоэлектрические модули подают электроэнергию на время 10-30 секунд с обратной полярностью. Использование данной группы изобретений позволяет обеспечить быстрое замораживание полимерных пакетов и сохранение их целостности при разгрузке. 2 н.п. ф-лы, 1 ил.
Изобретение относится к области холодильной или морозильной техники и предназначено для быстрого замораживания различных продуктов, например микробиологической массы перед лиофилизацией, биологических медицинских субстанций, например плазмы крови, а также пищевых продуктов, помещенных в полимерные пакеты.
Известно, что при быстром замораживании различных продуктов в них сохраняется больше полезных веществ (витаминов), а в соответствии с требованиями Руководства Совета Европы по приготовлению, использованию и обеспечению качества компонентов крови температурный режим замораживания свежеприготовленной плазмы крови должен быть таким, чтобы обеспечивалось достижение температуры минус 30°С в центре пакета за час или меньше (см. Совет Европы, Руководство по приготовлению, использованию и обеспечению качества компонентов крови. Новое издание, СИ-ЛАБ Фертрибсгез. М.б.Х., Москва, 1996, с.102).
Для достижения высоких скоростей замораживания применяются каскадные холодильные установки. Наиболее близким аналогом является устройство аналогичного назначения известное из а.с. SU 1174694, F25D 13/06, 1985, содержащее корпус, камеру, испарители, вентиляторы.
Недостатки известного устройства состоят в его низкой надежности, необходимости применения дефицитных видов хладагентов и запасных частей, сложности ремонта таких устройств, при этом замораживание пакетов осуществляется с помощью воздуха, охлажденного до более низких температур.
Наиболее близким по технической сущности и достигаемому результату является быстрозамораживатель, известный из патента RU 2224191 C1, F25D 11/0, 20.02.2004, содержащий корпус, в котором установлены компрессорно-конденсаторные агрегаты, рабочую камеру с дверцей и теплоизолирующим ограждением. В верхней части камеры установлены два испарителя, объединенных с соответствующими компрессорами и конденсаторами с вентиляторами в холодильные агрегаты. Внутри рабочей камеры на нижних сторонах неподвижных пластин установлены секции третьего испарителя, гидравлические тракты которых соединены между собой параллельно и объединены в единую гидравлическую цепь с третьим компрессором и конденсатором.
Недостатки известного устройства, принятого за прототип, состоят в следующем.
Отвод тепла непосредственно на кипящий хладагент осуществляется с одной стороны пакетов, а со второй стороны пакетов отвод тепла осуществляется воздухом через пластину с дополнительной радиаторной системой. Тепло, выделяемое при работе вентилятора, обдувающего испарители, остается в рабочей камере, ухудшая режим. Размещение пакетов на пластинах, расположенных по высоте рабочей камеры при подаче холодного воздуха от испарителей, расположенных в верхней части камеры, исключает равномерное распределение воздуха между пластинами, расположенными одна под другой по высоте рабочей камеры, ухудшая тепловой режим. В гидравлических трактах секций испарителя, расположенного на неподвижных пластинах по высоте камеры, кипение хладагента происходит при отличающихся друг от друга температурах и, следовательно, существует разброс температур на нижних сторонах пакетов.
Измерение температуры в рабочей камере осуществляется по единственному датчику, что исключает возможность контроля за готовностью конкретного замораживаемого пакета, находящегося в самых неблагоприятных условиях, причем время готовности должно быть определено заранее для каждого вида продуктов.
Охлаждение верхней стороны пакетов воздухом препятствует достижению высоких скоростей охлаждения.
Серьезным недостатком прототипа является также то, что после охлаждения полимерного пакета до минус 50°С отделение полимерного пакета от неподвижной пластины производится механическим способом, за счет силового разделения поверхности от неподвижной пластины. Этот способ разделения поверхностей может привести к нарушению герметичности полимерного пакета либо к полному его разрыву. Это связано с тем, что при такой температуре поверхность полимерного пакета просто примерзнет к неподвижной поверхности пластины.
Задачей изобретения является обеспечение возможности быстрого замораживания продуктов и растворов, в частности плазмы крови, помещенных в полимерные пакеты любых типоразмеров и вместимостей, а также сохранение целостности полимерных пакетов при разгрузке.
Задача быстрого замораживания решается за счет того, что отвод тепла осуществляется одновременно с верхней и нижней поверхности полимерного пакета более эффективным и надежным способом, исключающим применение в качестве холодильных устройств многокаскадных компрессионных систем. Это позволяет использовать высоконадежные однокаскадные холодильные агрегаты на эффективных экологически чистых дешевых хладагентах с температурой охлаждения до минус 5°С, и в тоже время достигать высоких скоростей замораживания полимерных пакетов до минус 50°С. При этом при эксплуатации предлагаемого быстрозамораживателя после охлаждения полимерного пакета до минус 50°С сохраняется целостность полимерного пакета при разгрузке.
Указанный технический результат достигается за счет того, что в быстрозамораживатель полимерных пакетов, заполненных биологическими медицинскими субстанциями, например плазмой крови, или пищевыми продуктами, например фруктами, содержащий холодильный агрегат с замкнутой гидравлической магистралью, заполненной охлаждающей жидкостью, параллельно присоединенные к этой магистрали гидравлические тракты и полимерные пакеты, контактирующие с пластинами, выполненными из материала с высокой теплопроводностью; в него введены термоэлектрические модули, одной стороной контактирующие с гидравлическими трактами, а другой стороной – с пластинами, контактирующими с полимерными пакетами, насос, прокачивающий охлажденный теплоноситель в замкнутом гидравлическом контуре, при этом термоэлектрические модули, охлаждающие каждый полимерный пакет, снабжены собственным блоком питания, который соединен с коммутатором полярности тока, а на пластинах установлены датчики температуры, подключенные к устройству измерения и контроля, которое, в свою очередь, подключено к коммутатору полярности тока.
Способ эксплуатации быстрозамораживателя полимерных пакетов, заполненных биологическими медицинскими субстанциями, например плазмой крови, или пищевыми продуктами, например фруктами, снабженного термоэлектрическими модулями, включающий загрузку полимерных пакетов, подачу электроэнергии на термоэлектрические модули, охлаждение полимерных пакетов до заданной минусовой температуры и выгрузку полимерных пакетов из быстрозамораживателя, отличающийся тем, что перед выгрузкой полимерных пакетов из быстрозамораживателя на термоэлектрические модули подают электроэнергию на время 10-30 секунд с обратной полярностью.
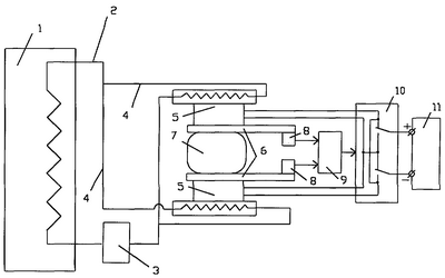
Сущность изобретения поясняется чертежом, где схематично представлен быстрозамораживатель, обеспечивающий охлаждение одного пакета. Охлаждение любого необходимого количества пакетов осуществляется стыковкой предлагаемого устройства к замкнутой гидравлической магистрали любым способом любыми разъемами дополнительного количества гидравлических трактов, обеспечивающих охлаждение необходимого количества полимерных пакетов. Это позволяет размещать либо все полимерные пакеты для быстрого замораживания в отдельном корпусе морозильника, либо по частям в отдельных термостатах, через которые прокачивается по трактам охлажденный теплоноситель, объединенных замкнутой гидравлической магистралью, с небольшим количеством полимерных пакетов, например по 5-6 штук.
Предложенный быстрозамораживатель содержит: холодильную машину 1 с замкнутой гидравлической магистралью 2, заполненной охлаждающей жидкостью, которая прокачивается насосом 3. Гидравлические тракты 4, параллельно подсоединенные к гидравлической магистрали 2, контактируют с одной из сторон термоэлектрических модулей 5. Другая сторона термоэлектрических модулей 5 контактирует с пластинами 6, выполненными из материала с высокой теплопроводностью, между которыми находится полимерный пакет 7, заполненный, например, плазмой крови. На каждой пластине 6 установлены датчики температуры 8, подключенные к устройству измерения и контроля 9, которое, в свою очередь, подключено к коммутатору полярности тока 10. Коммутатор полярности тока 10 соединен с блоком питания термоэлектрических модулей 11.
Быстрозамораживатель полимерных пакетов, заполненных биологическими медицинскими субстанциями, например плазмой крови, или пищевыми продуктами, например фруктами, содержащий холодильный агрегат с замкнутой гидравлической магистралью, заполненной охлаждающей жидкостью, параллельно присоединенные к этой магистрали гидравлические тракты и полимерные пакеты, контактирующие с пластинами, выполненными из материала с высокой теплопроводностью, отличающийся тем, что в него введены термоэлектрические модули, одной стороной контактирующие с гидравлическими трактами, а другой стороной с пластинами, контактирующими с полимерными пакетами, насос, прокачивающий охлажденный теплоноситель в замкнутом гидравлическом контуре, при этом термоэлектрические модули, охлаждающие каждый полимерный пакет, снабжены собственным блоком питания, который соединен с коммутатором полярности тока, а на пластинах установлены датчики температуры, подключенные к устройству измерения и контроля, которое, в свою очередь, подключено к коммутатору полярности тока.
Способ эксплуатации быстрозамораживателя полимерных пакетов, заполненных биологическими медицинскими субстанциями, например плазмой крови, или пищевыми продуктами, например фруктами, снабженного термоэлектрическими модулями, включающий загрузку полимерных пакетов, подачу электроэнергии на термоэлектрические модули, охлаждение полимерных пакетов до заданной минусовой температуры и выгрузку полимерных пакетов из быстрозамораживателя, отличающийся тем, что перед выгрузкой полимерных пакетов из быстрозамораживателя на термоэлектрические модули подают электроэнергию на время 10-30 секунд с обратной полярностью.
Сущность изобретения поясняется чертежом, где схематично представлен быстрозамораживатель, обеспечивающий охлаждение одного пакета. Охлаждение любого необходимого количества пакетов осуществляется стыковкой предлагаемого устройства к замкнутой гидравлической магистрали любым способом любыми разъемами дополнительного количества гидравлических трактов, обеспечивающих охлаждение необходимого количества полимерных пакетов. Это позволяет размещать либо все полимерные пакеты для быстрого замораживания в отдельном корпусе морозильника, либо по частям в отдельных термостатах, через которые прокачивается по трактам охлажденный теплоноситель, объединенных замкнутой гидравлической магистралью, с небольшим количеством полимерных пакетов, например по 5-6 штук.
Предложенный быстрозамораживатель содержит: холодильную машину 1 с замкнутой гидравлической магистралью 2, заполненной охлаждающей жидкостью, которая прокачивается насосом 3. Гидравлические тракты 4, параллельно подсоединенные к гидравлической магистрали 2, контактируют с одной из сторон термоэлектрических модулей 5. Другая сторона термоэлектрических модулей 5 контактирует с пластинами 6, выполненными из материала с высокой теплопроводностью, между которыми находится полимерный пакет 7, заполненный, например, плазмой крови. На каждой пластине 6 установлены датчики температуры 8, подключенные к устройству измерения и контроля 9, которое, в свою очередь, подключено к коммутатору полярности тока 10. Коммутатор полярности тока 10 соединен с блоком питания термоэлектрических модулей 11.
Предложенное устройство работает следующим образом. Запускают в работу холодильную машину 1. Включают насос 3, обеспечивающий циркуляцию теплоносителя в замкнутом гидравлическом контуре 2, охлажденного в холодильной машине 1 до необходимой минусовой температуры, например до минус 5°С. Подключают к сети электропитания блок питания термоэлектрических модулей 11, благодаря чему электроэнергия через коммутатор полярности 10 поступает в термоэлектрические модули 5, и устройство измерения и контроля температуры 9. Поверхности термоэлектрических модулей 5, контактирующие с гидравлическими трактами 4, начинают выделять тепло, которое сбрасывается через теплоноситель замкнутой гидравлической магистрали 2 в холодильный агрегат 1. Поверхности термоэлектрических модулей 5, контактирующие с пластинами 6, выполненными из материала с высокой теплопроводностью, начинают охлаждать верхнюю и нижнюю поверхности полимерного пакета 7, что приводит к ускоренному охлаждению, так как охлаждение происходит одновременно двумя термоэлектрическими модулями 5. Охлажденный теплоноситель проходит по трактам 4 и отводит тепло от горячих поверхностей термоэлектрических модулей 5, поддерживая температуру этих поверхностей стабильной и более низкой, чем температура окружающей среды. При прохождении тока от блока питания 11 через термоэлектрические модули 5 с охлаждаемыми тепловыделяющими поверхностями температура понижается до необходимой наперед заданной температуры, например до минус 50°С. Так как охлаждение пакета 7 происходит по двум поверхностям равномерно, замораживание до заданной температуры происходит за время, не превышающее 30 мин. По истечении этого времени устройство измерения и контроля температуры 9 выдает сигнал о конце процесса замораживания, по которому происходит отключение термоэлектрических модулей 5 от блока питания 11. Быстрозамораживатель переходит в режим хранения полимерного пакета 7 при заданной температуре. Режим хранения, зависящий от теплоизоляции морозильника или термостата, представляет собой процесс периодического включения (подачи питания) термоэлектрических модулей 5 по сигналам, поступающим из устройства измерения и контроля температуры 9 при снижении минусовой температуры, например на один градус. Это значит, что в режиме хранения при температуре минус 49°С происходит подключение термоэлектрических модулей 5 к блоку питания 11, при температуре минус 50°С происходит отключение термоэлектрических модулей 5 от блока питания 11. Перед выгрузкой полимерных пакетов 7 из быстрозамораживателя с пульта управления (на схеме не показано) подается сигнал на коммутатор полярности 10, по которому происходит изменение направления тока, проходящего через термоэлектрические модули 5. Это приводит к плавлению пленки льда на поверхностях пакета 7, исключая его примерзание к пластинам 6.
Экспериментально доказано, что минимальное время прохождения тока с обратной полярностью для обеспечения надежного плавления пленки льда равно 10 секундам, максимальное время, связанное с теплопроводностью поверхности полимерного пакета, за которое содержимое пакета не может нагреться на один градус, равно 30 секундам.
Предлагаемый быстрозамораживатель полимерных пакетов, заполненных биологическими медицинскими субстанциями, например плазмой крови, или пищевыми продуктами, например фруктами, отличается большой скоростью замораживания, простотой эксплуатации и большой надежностью в работе.
Формула изобретения
1. Быстрозамораживатель полимерных пакетов, заполненных биологическими медицинскими субстанциями, например плазмой крови, или пищевыми продуктами, например фруктами, содержащий холодильный агрегат с замкнутой гидравлической магистралью, заполненной охлаждающей жидкостью, параллельно присоединенные к этой магистрали гидравлические тракты и полимерные пакеты, контактирующие с пластинами, выполненными из материала с высокой теплопроводностью, отличающийся тем, что в него введены термоэлектрические модули, одной стороной контактирующие с гидравлическими трактами, а другой стороной контактирующие с пластинами, которые, в свою очередь, контактируют с полимерными пакетами, насос, прокачивающий охлаждающую жидкость в замкнутом гидравлическом контуре, при этом термоэлектрические модули, охлаждающие каждый полимерный пакет, снабжены собственным блоком питания, а на пластинах установлены датчики температуры, подключенные к устройству измерения и контроля, которое, в свою очередь, подключено к коммутатору полярности тока, соединенным с блоком питания термоэлектрического модуля.
2. Способ эксплуатации быстрозамораживателя полимерных пакетов, заполненных биологическими медицинскими субстанциями, например плазмой крови, или пищевыми продуктами, например фруктами, снабженного термоэлектрическими модулями, включающий загрузку полимерных пакетов, подачу электроэнергии на термоэлектрические модули, охлаждение полимерных пакетов до заданной минусовой температуры и выгрузку полимерных пакетов из быстрозамораживателя, отличающийся тем, что перед выгрузкой полимерных пакетов из быстрозамораживателя на термоэлектрические модули подают электроэнергию на время 10-30 с с обратной полярностью.
РИСУНКИ
PC4A – Регистрация договора об уступке патента СССР или патента Российской Федерации на изобретение
Прежний патентообладатель:
Общество с ограниченной ответственностью “Стромакс 2000”
(73) Патентообладатель:
Хвастунов Владимир Михайлович
Договор № РД0041416 зарегистрирован 26.09.2008
Извещение опубликовано: 10.11.2008 БИ: 31/2008
|
|