|
|
(21), (22) Заявка: 2006111129/06, 05.04.2006
(24) Дата начала отсчета срока действия патента:
05.04.2006
(46) Опубликовано: 10.11.2007
(56) Список документов, цитированных в отчете о поиске:
RU 2188366 C1, 27.08.2002. RU 2270965 C1, 27.02.2006. RU 2262644 С1, 20.10.2005. RU 2192587 C2, 10.11.2002. US 5188090 A, 23.02.1993.
Адрес для переписки:
601900, Владимирская обл., г. Ковров, ул. Труда, 4, ОАО “Завод им. В.А. Дегтярева”, ОПЛИР
|
(72) Автор(ы):
Мосалёв Сергей Михайлович (RU), Наумов Виктор Иванович (RU), Сыса Виктор Павлович (RU)
(73) Патентообладатель(и):
Открытое акционерное общество “Завод им. В.А. Дегтярева” (RU)
|
(54) ТЕПЛОГЕНЕРАТОР ДЛЯ НАГРЕВА ЖИДКОСТИ
(57) Реферат:
Изобретение относится к теплотехнике и может быть использовано в качестве источника тепловой энергии в системах отопления и горячего водоснабжения. Технический результат – повышение коэффициента полезного действия, упрощение конструкции. Теплогенератор для нагрева жидкости состоит из емкости, содержащей подводящий патрубок для подачи холодной воды и выходной патрубок для отвода подогретой жидкости. Теплообменник выполнен в виде герметичного цилиндрического корпуса с чередующимися сквозными и несквозными пазами на внутренних торцевых поверхностях и радиальными ребрами теплоотдачи на наружных торцевых поверхностях. Ребра выполнены в форме плоских пластин или в иной более сложной форме. Внутри теплообменника на валу жестко закреплен водонагреватель в форме диска с аналогичными пазами и сквозными отверстиями, размещенными в непосредственной близости к валу, который установлен в подшипниковой опоре с уплотнением и через муфту связан с электродвигателем. Подводящий патрубок герметично связан с нагнетающим патрубком, размещенным по центру торцевой поверхности теплообменника. На цилиндрической поверхности теплообменника размещен отводной патрубок с дроссельной шайбой. Наружная поверхность емкости покрыта теплозвукоизолятором, а сама емкость установлена на виброопорах. 1 з.п. ф-лы, 3 ил.
Изобретение относится к теплотехнике и может быть использовано в качестве источника тепловой энергии в системах отопления и горячего водоснабжения.
Известно устройство для нагрева жидкости (см. заявку RU № 2002113432, F24J 3/00, 20.11.03 г.). Устройство содержит статор, имеющий цилиндрическую полость, входные каналы для подвода жидкости и выходной канал для отвода жидкости, а также установленный с зазором в эту полость ротор, выполненный в виде закрепленных на валу дисков со сквозными и несквозными отверстиями, расположенными по окружности вдоль периферии его торцев.
Недостатками данного устройства являются сложность конструкции из-за наличия нескольких дисков, низкая теплопроизводительность.
Известен теплогенератор механический, принятый за прототип (см. патент RU № 2188366, F24J 3/00, 27.08.2002 г.). Теплогенератор содержит емкость, подводящий и выходной патрубки, теплообменник в виде перфорированного кожуха, водонагреватель, состоящий из дисков и установленных между ними диафрагм, верхней крышки с нагнетающим патрубком, нижней крышки, фланца, переходящего в вал, стягивающих стержней. Диски состоят из каплевидных сегментов, отделенных друг от друга каналами, а между наружными и внутренними частями сегментов образована полость, имеющая выходы на наружную сторону диска и в канал между сегментами.
Недостатками прототипа являются низкая теплопроизводительность из-за наличия большого количества неуплотненных поверхностей между кожухом и водонагревателем и выполнения кожуха перфорированным, что не позволяет создать высокое давление в рабочей зоне; сложность конструкции из-за наличия на дисках сложных для механической обработки геометрических поверхностей; сложность обеспечения балансировки вращающихся деталей из-за неравномерного распределения рабочих элементов диска по его поверхности и наличия большого количества собранных в единый комплект вращающихся деталей.
Предлагаемым изобретением решается задача: снижение энергозатрат.
Предлагаемое изобретение направлено на достижение технического результата, заключающегося в повышении коэффициента полезного действия, упрощении конструкции.
Указанный технический результат достигается тем, что в теплогенераторе для нагрева жидкости, содержащем емкость, подводящий и выходной патрубки, теплообменник и водонагреватель в форме диска, новым является то, что теплообменник выполнен в виде герметичного цилиндрического корпуса, который связан с емкостью посредством отводного патрубка и снабжен ребрами, кроме того, торцевые поверхности диска водонагревателя и внутренние торцевые поверхности корпуса теплообменника выполнены с чередующимися глухими и сквозными пазами, в отводном патрубке установлена дроссельная шайба, а емкость покрыта термозвукоизолирующим материалом.
Теплогенератор выполнен с ребрами на корпусе в виде плоских радиально расположенных пластин.
Выполнение теплообменника в виде цилиндрического корпуса герметичным обусловлено необходимостью создания и поддержания в области, расположенной ближе к цилиндрической поверхности корпуса, повышенного давления, возникающего за счет действия центробежных сил, действующих на прокачиваемую через теплогенератор жидкость, при вращении диска. Эта зона является зоной с наивысшей теплопроизводительностью, так как при пониженном давлении процесс тепловыделения между вращающимся диском с чередующимися сквозными и несквозными пазами и неподвижным корпусом с аналогичными пазами происходит с меньшей интенсивностью.
Установка в отводном патрубке дроссельной шайбы обусловлена той же необходимостью поддержания высокого давления внутри теплообменника. Одновременно с этим дроссельная шайба гасит вихревые потоки истекающей из отводного патрубка жидкости. Размер проходного отверстия дроссельной шайбы подбирается исходя из величины диаметра отверстия отводного патрубка, которая, в свою очередь, зависит от мощности теплогенератора и массы прокачиваемой жидкости.
Выполнение торцевых поверхностей диска и внутренних торцевых поверхностей теплообменника с чередующимися радиальными сквозными и несквозными пазами обусловлено тем, что те и другие являются областями возникновения повышенной теплоотдачи за счет действия сил трения и кавитации при повышенном давлении, а сквозные пазы позволяют с ускорением, созданным действием центробежных сил, перемещать жидкость к цилиндрической поверхности теплообменника и резко затормозить ее, что приведет к дополнительному выделению тепловой энергии.
Выполнение теплообменника с радиальными ребрами или в форме плоских пластин, или в иной более сложной форме, обеспечивающей высокую степень теплоотдачи разогретого жидкостью корпуса, обусловлено необходимостью интенсификации перераспределения повышенной температуры жидкости внутри емкости.
Покрытие емкости термозвукоизолирующим материалом позволяет снизить уровень шума, создаваемый теплогенератором, сократить тепловые потери в процессе работы теплогенератора, тем самым увеличить теплопроизводительность.
Установка емкости на виброопорах обеспечивает гашение вибрационных колебаний всего устройства в целом и позволяет при пониженном шумоизлучении расширить диапазон применения теплогенератора за счет возможности его установки в любом специально необорудованном помещении.
Технические решения с признаками, отличающими заявляемое решение от прототипа, не известны и явным образом из уровня техники не следуют. Это позволяет считать, что заявляемое решение является новым и обладает изобретательским уровнем.
Сущность изобретения поясняется чертежами:
на фиг.1 изображен теплогенератор, общий вид;
на фиг.2 – ребра теплоотдачи на корпусе теплообменника;
на фиг.3 показана форма чередующихся сквозных и несквозных пазов на торцевых поверхностях диска и теплообменника.
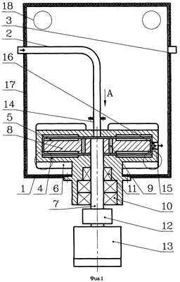
Теплогенератор для нагрева жидкости состоит из емкости 1, содержащей подводящий патрубок 2 для подачи холодной воды и выходной патрубок 3 для отвода подогретой жидкости. Теплообменник 4 выполнен в виде герметичного цилиндрического корпуса с чередующимися сквозными и несквозными пазами 5 на внутренних торцевых поверхностях и радиальными ребрами теплоотдачи 6 на наружных торцевых поверхностях. Ребра выполнены в форме плоских пластин или в иной более сложной форме. Внутри теплообменника на валу 7 жестко закреплен водонагреватель 8 в форме диска с аналогичными пазами 5 и сквозными отверстиями 9, размещенными в непосредственной близости к валу 7, который установлен в подшипниковой опоре 10 с уплотнением 11 и через муфту 12 связан с электродвигателем 13. Подводящий патрубок 2 герметично связан с нагнетающим патрубком 14, размещенным по центру торцевой поверхности теплообменника 4. На цилиндрической поверхности теплообменника размещен отводной патрубок 15 с дроссельной шайбой 16. Наружная поверхность емкости 1 покрыта теплозвукоизолятором 17, а сама емкость 1 установлена на виброопорах 18.
Теплогенератор работает следующим образом.
При вращении диска 8 через муфту 12 электродвигателем 13 холодная жидкость под давлением через подводящий патрубок 2 и нагнетающий патрубок 14 подается во внутреннюю полость теплообменника 4 в виде герметичного цилиндрического корпуса, где частично перемещается между торцевыми поверхностями корпуса и водонагревателя 8 в форме диска, а частично – через сквозные отверстия 9 попадает в аналогичный зазор между противоположными торцевыми поверхностями теплообменника 4 и диска и далее устремляется к отводному патрубку 15. Здесь при столкновении двух встречных потоков жидкости при повышенном давлении происходит истечение ее через дроссельную шайбу в отводной патрубок 15 и далее в емкость 1. При прохождении жидкостью областей размещения чередующихся сквозных и несквозных пазов 5 происходит повышенное выделение тепловой энергии. Часть жидкости перемещается с ускорением от действия центробежных сил по сквозным пазам 5 и резко тормозится с выделением тепловой энергии о цилиндрическую поверхность корпуса теплообменника 4. Через отводящий патрубок 3 жидкость раздается потребителю тепловой энергии. Излучающая поверхность ребер 6 способствует повышенной теплоотдаче корпуса 4 и быстрому перемешиванию подогретых и холодных слоев жидкости, а термозвукоизолятор 17 поддерживает температуру жидкости внутри емкости 1, сокращая потери тепловой энергии, и позволяет снизить уровень шума при работе теплогенератора. Виброопоры 18 снижают уровень вибрации всего устройства в целом. Уплотнение вала 7 относительно теплообменника 4 осуществляется уплотнением 11.
Формула изобретения
1. Теплогенератор для нагрева жидкости, содержащий емкость, подводящий и выходной патрубки, теплообменник и водонагреватель в форме диска, отличающийся тем, что теплообменник выполнен в виде герметичного цилиндрического корпуса, который связан с емкостью посредством отводного патрубка и снабжен ребрами, кроме того, торцевые поверхности диска водонагревателя и внутренние торцевые поверхности корпуса теплообменника выполнены с чередующимися глухими и сквозными пазами, в отводном патрубке установлена дроссельная шайба, а емкость покрыта термозвукоизолирующим материалом.
2. Теплогенератор по п.1, отличающийся тем, что ребра на корпусе выполнены в виде плоских радиально расположенных пластин.
РИСУНКИ
|
|