|
|
(21), (22) Заявка: 2006135184/06, 05.10.2006
(24) Дата начала отсчета срока действия патента:
05.10.2006
(46) Опубликовано: 10.11.2007
(56) Список документов, цитированных в отчете о поиске:
RU 2131087 C1, 27.05.1999. RU 2105930 C1, 27.02.1998. SU 1643067 A1, 23.04.1991. GB 2285227 A, 05.07.1995. EP 0487741 A1, 03.06.1992. FR 2366513 A1, 28.04.1978. DT 2632403 A1, 27.01.1977.
Адрес для переписки:
119991, Москва, ГСП-1, ул. Бардина, 4, корп.3, НЦ НВМТ РАН, Л.Е. Украинскому
|
(72) Автор(ы):
Ганиев Ривнер Фазылович (RU), Андреев Олег Петрович (RU), Фролов Андрей Андреевич (RU), Нечепуренко Алексей Ефимович (RU), Будько Андрей Васильевич (RU), Кормилицын Владимир Ильич (RU), Кузнецов Юрий Степанович (RU), Украинский Леонид Ефимович (RU), Ганиев Станислав Ривнерович (RU), Ганиев Олег Ривнерович (RU)
(73) Патентообладатель(и):
Закрытое Акционерное Общество “Новые технологии” /НОВОТЕХ+/ (RU)
|
(54) ЭНЕРГЕТИЧЕСКАЯ УСТАНОВКА ДЛЯ СЖИГАНИЯ ЖИДКОГО ТОПЛИВА
(57) Реферат:
Изобретение относится к энергетическим установкам, предназначенным для сжигания жидкого углеводородного топлива с повышенной экономичностью, надежностью (в частности, благодаря отказу от насосов с электроприводами) и экологическими показателями, а также с расширенными функциональными возможностями. Указанный технический результат достигается тем, что топливная емкость дополнительно снабжена калибровочным заборным устройством топлива из зоны отстоявшейся воды и зоны сухого топлива, которые поступают в коллектор, на выходе из которого в топливопроводе перед горелочным(и) устройством(ами) топливо обрабатывают в дополнительно установленном узле струйного аппарата, совмещенного с волновым генератором, на выходе из которого топливо подается на форсунку(и), причем топливопровод на выходе из волнового генератора соединен линией рециркуляции к входной топливной камере струйного аппарата, а входное устройство волнового генератора и рабочее сопло струйного аппарата соединены трубопроводами с паровой магистралью котла и паропроводом собственных нужд котельной 8 з.п. ф-лы,3 ил.
Изобретение относится к энергетическим установкам для сжигания жидкого топлива, а именно к установкам, обеспечивающим подготовку, подачу и сжигание жидкого углеводородного топлива из ряда газовый конденсат, мазут, дизельное топливо и т.д. в топках котлов, и предназначено для использования в теплоэнергетике.
Известна энергетическая установка для сжигания жидкого топлива, содержащая топливную емкость, форсунку, камеру сгорания, насосы и трубопроводы [1]. Эта установка выбрана в качестве аналога. Здесь подача топлива к форсунке камеры сгорания осуществляется по трубопроводам с помощью насоса.
Такая установка отличается компактностью и простотой управления.
К недостаткам этой энергетической установки следует отнести необходимость для обеспечения экономичной и надежной работы содержания в топливной емкости сухого (обезвоженного) топлива, так как в противном случае при его обводнении вода, находящаяся в топливе в условиях экстремальных климатических условий Крайнего Севера, попадая в трубопроводы и замерзая при низких температурах, образует в нем шугу, вследствие чего возникают перебои в подаче топлива и в изменении его качества, соответственно ухудшается работа котлов и надежность их работы вплоть до аварийного останова. В теплое время года попадание воды в форсунки также приводит к существенным недостаткам, так как происходит нарушение процесса сжигания топлива и, как следствие, нарушение температурного режима в топке, недожог топлива, повышенный выброс вредных веществ с продуктами сгорания топлива в атмосферу, повышенное загрязнение природной среды и снижение надежности с преждевременным выходом из строя энергетического оборудования.
Известна энергетическая установка, в которой при топливоподготовке жидкого топлива к сжиганию применяется обезвоживание топлива. Для этого в топливных емкостях производят отстой воды и слив ее [2] – аналог. Недостатком здесь является прямая потеря топлива, достигающая 10-30% при сливах воды, загрязненной топливом и потери топлива на границах слива воды, а также загрязнение почвы и водоемов. В условиях же с суровыми климатическими условиями (низкие температуры наружного воздуха), наличие воды в топливных емкостях и слив отстоявшейся воды из топливных емкостей является либо невозможным, либо представляет собой весьма трудоемкую операцию с применением ручного труда и неизбежными дополнительными потерями топлива, приводящими к снижению экономичности по капитальным и эксплуатационным составляющим, надежности работы оборудования. Установка подогревателей топлива и насосов с электродвигателями для подачи жидких топлив по трубопроводам к форсункам топливосжигающих энергетических установок существенно усложняет топливоподготовку и топливоподачу, дополнительно увеличивает стоимость, а также повышает пожаро- и взрывоопасность.
Известна энергетическая установка, содержащая емкости хранения мазута, насосы, гидродинамические кавитационные аппараты для обработки грубодисперсных водомазутных смесей и получения водомазутной эмульсии, соединенные трубопроводами между собой и с форсунками котлов [3].
Данное решение по технической сущности и достигаемому результату наиболее близко к изобретению и принято за прототип.
Недостатками прототипа являются низкая экономичность и надежность, неприменимость его использования для энергетической установки, работающей на обводненном, особенно легковоспламеняющемся топливе (типа газового конденсата), а также наличие насосов с электродвигателями для подачи топлива к энергетической установке и неполное использование кинетической и тепловой энергии потока пара, идущего на вторичный распыл топлива (не используется энергия потока пара на преодоление гидравлического сопротивления топливного тракта и снижение вязкости топлива для лучшего его распыла), нарушение процесса сжигания топлива при наличии крупных вкраплений воды в низковязком жидком топливе (газовом конденсате), повышение загрязнения окружающей природной среды.
Задачей изобретения является повышение экономичности, надежности и экологических показателей энергетической установки и расширение ее функциональных возможностей. Технический результат состоит в подготовке и подаче на сжигание легковоспламеняющегося углеводородного топлива без его осушения и предотвращении прямых потерь топлива вследствие снижения или исключения слива отстоявшейся воды из топливной емкости. Данный технический результат достигается тем, что в энергетической установке для сжигания жидкого топлива, содержащей топливную емкость с донной зоной для отстаивания воды и зону обезвоженного топлива, камеру сгорания, паропроводы, соответственно, котла и собственных нужд котельной, горелочные устройства с паромеханическими форсунками, согласно изобретению, установка дополнительно снабжена заборным устройством топлива и отстоявшейся воды, состоящим из калиброванных по расходу трубопроводов с отношением сечений, обеспечивающим соотношение расходов топлива и воды от 10:1 до полностью обезвоженного топлива, причем трубопровод большего диаметра подключен к зоне обезвоженного топлива, а трубопровод меньшего диаметра подключен к нижней точке донной поверхности топливной емкости с объединением потоков топлива и воды в коллектор заборного устройства, в топливопровод перед форсунками горелочных устройств дополнительно включен топливоприготовительный и топливоподающий узел, образованный струйным аппаратом с рабочим, подвижным вдоль оси паровым соплом, конусным рабочим участком и смесительной камерой, рабочее сопло соединено с паропроводом котла и с паропроводом собственных нужд с возможностью отключения одного их них, а смесительная камера соединена топливопроводом с коллектором заборного устройства. Кроме того, технический результат достигается тем, что в топливоприготовительном и топливоподающем узле смесительная камера струйного аппарата совмещена с прямоточным входом водотопливной смеси в волновой генератор и соединена на выходе топливопроводом тонкодисперсной водотопливной эмульсии (ТДВТЭ) с входом на форсунку(и), топливные емкости установлены на эстакаде, высота которой обеспечивает самотечную подачу топлива до струйного аппарата и форсунок парового котла, коллектор заборного устройства дополнительно соединен топливопроводами, соответственно, со входом на струйный аппарат и форсунку(и),
– топливопровод на выходе из волнового генератора прямоточным входом соединен линией рециркуляции с топливопроводом,
– в проточной части струйного аппарата топливоприготовительного устройства установлены кавитаторы с последущими их рядами, размещенными в диффузоре,
– система калиброванных по расходу трубопроводов снабжена датчиками влагосодержания топлива, которые подключены к компьютеру, управляющему топливоподготовкой, топливоподачей и накоплением обезвоженного топлива,
– вход волнового генератора имеет тангенциальные каналы, соединенные трубопроводом с паропроводом котла, паропроводом собственных нужд котельной и форсункой(ами),
– примыкающие к топливоприготовительному и топливоподающему узлу паропроводы снабжены обратными клапанами.
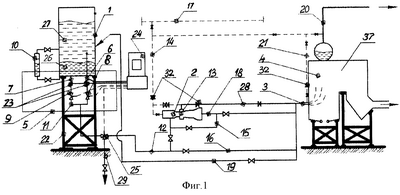
Принципиальная схема энергетической установки для сжигания жидкого легковоспламеняющегося топлива типа газового конденсата приведена на фиг.1.
На фиг.2 показан топливоприготовительный и подающий узел, состоящий из струйного аппарата с встроенным в проточную часть волновым генератором и неудобообтекаемыми телами (кавитаторами), с подвижным по оси паровым соплом с возможностью его захода в конфузор струйного аппарата.
Фиг.3 представляет собой разрез А-А фиг.2.
Энергетическая установка для сжигания жидкого топлива содержит топливную емкость 1 с донной зоной 26 для отстаивания воды и зону 27 обезвоженного топлива, камеру сгорания4, паропроводы 20, 17, соответственно, котла и собственных нужд котельной, горелочные устройства с паромеханическими форсунками 3, кроме того, установка дополнительно снабжена заборным устройством 5 топлива и отстоявшейся воды, состоящим из калиброванных по расходу трубопроводов 6 и 7 с отношением сечений, обеспечивающим соотношение расходов топлива и воды от 10:1 до полностью обезвоженного топлива, причем трубопровод 6 большего диаметра подключен к зоне 27 обезвоженного топлива, а трубопровод 7 меньшего диаметра подключен к нижней точке донной поверхности топливной емкости 1 с объединением потоков топлива и воды в коллектор 11 заборного устройства 5, в топливопровод 12 перед форсунками 3 горелочных устройств дополнительно включен топливоприготовительный и топливоподающий узел, образованный струйным аппаратом 2 с рабочим, подвижным вдоль оси паровым соплом 33, конусным рабочим участком 34 и смесительной камерой 35, рабочее сопло 33 соединено с паропроводом 20 котла и с паропроводом 17 собственных нужд с возможностью отключения одного их них, а смесительная камера 35 соединена топливопроводом 12 с коллектором 11 заборного устройства 5,
в топливоприготовительном и топливоподающем узле смесительная камера 35 струйного аппарата 1 совмещена с прямоточным входом водотопливной смеси в волновой генератор 13 и соединена на выходе топливопроводом 18 тонкодисперсной водотопливной эмульсии (ТДВТЭ) с входом на форсунку (и). 3,
топливные емкости 1 установлены на эстакаде 22, высота которой обеспечивает самотечную подачу топлива до струйного аппарата 2 и форсунок 3 парового котла 37,
коллектор 11 заборного устройства 5 дополнительно соединен топливопроводами 12 и 16, соответственно, со входом на струйный аппарат 2 и форсунку(и) 3,
топливопровод 18 на выходе из волнового генератора 13 прямоточным входом соединен линией 15 рециркуляции с топливопроводом 12,
в проточной части струйного аппарата 2 топливоприготовительного устройства установлены кавитаторы 30 с последущими их рядами, размещенными в диффузоре 36,
система калиброванных по расходу трубопроводов 6 и 7 снабжена датчиками 23 влагосодержания топлива, которые подключены к компьютеру 24, управляющему топливоподготовкой, топливоподачей и накоплением обезвоженного топлива,
вход волнового генератора 13 имеет тангенциальные каналы 31, соединенные трубопроводом 28 с паропроводом 20 котла, паропроводом 17 собственных нужд котельной и форсункой(ами) 3,
примыкающие к топливоприготовительному и топливоподающему узлу паропроводы 14, 17, 20 и 21 снабжены обратными клапанами 32. Энергетическая установка работает следующим образом.
Из топливной емкости 1 при наличии в его нижней части донной зоны 26 слоя отстоявшейся воды с помощью заборного устройства 5 отбирается в дозированном соотношении вода и топливо. Топливо по трубопроводу 6, а вода по трубопроводу 7 через регулировочные вентили 8 и 9, соответственно, поступают в коллектор 11 и из него по топливопроводу 12 – в струйный аппарат 2. Входы трубопроводов 7 и 6 устанавливаются в зонах 26 воды (нижняя донная часть топливной емкости 1) и в зону 27 обезвоженного топлива, расположенной над уровнем воды. Уровень воды в топливной емкости 1 определяют уровнемером 10. Регулировочные вентили 8, 9 и калиброванные трубопроводы 6, 7 заборного устройства 5 топлива обеспечивают отбор топлива и воды в соотношении масс от 10:1 до полностью обезвоженного топлива. Топливо и вода в дозированном соотношении инжектируются в рабочую зону струйного аппарата 2, в котором рабочим телом является пар котла 37
или пар из паропровода 17 собственных нужд, подаваемые паропроводом 14 через сопло 33 (см. фиг.2). Затем эта смесь, пройдя через кавитаторы 30 предвключенного ряда, поступает в волновой генератор 13 колебаний, в котором смесь дополнительно гомогенизируется под действием волн и в виде тонкодисперсной водотопливной эмульсии подается через топливопровод 18 на форсунку(ки) 3 камеры 4 сгорания. Здесь даже при сжигании полностью обезвоженного топлива за счет смешения топлива с потоком пара и дополнительной обработки водотопливной смеси в волновом генераторе 13 и кавитаторами 30 последующих рядов создается тонкодисперсная водотопливная эмульсия, которая при подаче в топку лучше сгорает по сравнению с исходным неэмульгированным топливом. Здесь реализуются преимущества сжигания альтернативного вновь приготовленного топлива в виде водотопливной эмульсии в сравнении с исходным топливом в обезвоженном или обводненном состоянии, где происходит образование «шуги» как в топливных емкостях 1, так и в топливопроводах при низких температурах наружного воздуха вследствие его обезвоживания. В процессе работы энергетической установки происходит непрерывный расход (изъятие) отстоявшейся воды из топлива топливной емкости 1, т.е. осуществляется осушение топлива (обезвоживание его при непрерывной работе энергетической установки) и энергетическая установка в состоянии накопить запас обезвоженного топлива.
Таким образом происходит, в условиях промышленной эксплуатации энергетической установки, подготовка (запас) обезвоженного топлива на зимний период с низкими температурами наружного воздуха с перекачкой его через линию 29 подачи обезвоженного топлива в другие топливные емкости и тем самым расширяются функциональные возможности энергетической установки по обезвоживанию топлива без сбросов отстоявшейся воды в окружающую среду с исключением потерь топлива со сливом отстоявшейся воды и загрязнения ею водоемов и почвы.
В качестве генератора 13 колебаний может использоваться обычный волновой смеситель, описанный, например, в [4], или другие устройства, например, показанные здесь ниже на фиг.2-3. При отсутствии воды в топливе, когда нет необходимости в накоплении сухого топлива, энергетическая установка работает аналогичным образом при открытых вентилях 8 и 9 с забором топлива из придонной зоны 26 и зоны 27 топлива емкости 1, что имеет дополнительный положительный эффект, заключающийся в самоочищении донной поверхности расходной емкости от осадочных загрязнений в условиях промышленной эксплуатации оборудования, то есть энергетическая установка при данном решении имеет еще дополнительные расширенные функциональные возможности.
Топливо из емкости 1 в струйный аппарат 2 подается самотеком за счет разности уровней их расположения за счет установки топливной емкости 1 на эстакаде 22. Установка струйного аппарата 2 со встроенным в него волновым генератором 13 и кавитаторами 30 позволяет не только получить тонкодисперсную водотопливную эмульсию и улучшить качество гомогенизации топлива, но также обеспечить надежную безнасосную подачу топлива в топку, повысить экономичность за счет более полного использования энергии пара и улучшить чистоту окружающей природной среды.
Энергетическая установка с единичными заборными трубопроводами топлива 6 и воды 7 или их системой дополнительно снабжена установленными в них датчиками 23 влагосодержания топлива, подключенными к компьютеру 24, управляющему вентилями 8 и 9, клапаном 25 и подготовкой (запасом) обезвоженного топлива с перекачкой его через линию 29 в накопительные емкости(на чертеже не показаны).
Конструкция топливоприготовительного узла и подачи топлива под повышенным давлением на форсунки котла, сочетающего в себе функции струйного аппарата и волнового генератора, приведена на фиг.2, 3.
На фиг.2 показан узел подготовки водотопливной эмульсии и подачи ее под давлением на форсунки, содержащий подвижное по оси сопло 33 подачи пара, вихревой генератор 13 и кавитаторы 30, обеспечивающие возникновение кавитации и кавитационную обработку водотопливной смеси или исходного обезвоженного топлива, но в смеси с водяным паром из паропроводов 17, 20, подающихся в устройство через сопло 33 и трубопровод 28 (фиг.3). Поперечное сечение проточной части устройства профилировано таким образом, что достигается максимальная скорость смеси в локальных местах проточной части топливоприготовительного устройства, в которых устанавливаются кавитаторы 30. Кавитаторы 30 устанавливаются и в диффузоре 36. Расход и давление пара устанавливаются таким образом, чтобы обеспечить инжекцию водотопливной смеси в устройство в безнасосном варианте и создать давление на выходе из устройства достаточным для подачи в форсунку(и) 3 и организации первичного распыла водотопливной эмульсии в камере 4 сгорания топки котла 37. По топливопроводу 16 подается исходное топливо непосредственно на форсунки 3 из емкости 1 через топливопровод 12, а водотопливную эмульсию подают через рециркуляционный трубопровод 19 в емкость 1 и линию 29 подачи обезвоженного топлива через клапан 25 в накопительную емкость(на чертеже не показана).
На фиг.3 показан разрез А-А фиг.2 встроенного волнового генератора 13. Водотопливная смесь (водотопливная эмульсия) подается трубопроводом 28 в тангенциальные каналы 31 волнового генератора 13, что обеспечивает более качественное перемешивание компонентов водотопливной эмульсии. Для недопущения попадания топлива в паропроводы 14, 17, 20 и 21 в них устанавливаются обратные клапаны 32.
Использование предлагаемой энергетической установки, содержащей топливную емкость 1, струйный аппарат 2, форсунки 3 и камеру 4 сгорания, дополнительный топливоприготовительный узел, соединенный трубопроводами с форсунками 3, линиями паропроводов, топливной емкости 1 с заборными устройствами 5, обеспечивающими отбор из нее топлива и воды в соотношении масс от 10:1 до образования обезвоженного топлива с исключением застойных зон в расходной емкости, позволяет создать новую энергетическую установку с лучшими технико-экономическим и экологическими показателями и расширенными функциональными возможностями. Это достигается за счет подготовки и подачи на сжигание легковоспламеняющегося жидкого углеводородного топлива без его осушения, реализации подачи топлива к форсункам без применения насосов с электродвигателями и подогревателя топлива, и получить сухое топливо в топливной емкости 1, которое можно накапливать при бесперебойной работе энергетической установки для зимних условий работы котлов и безаварийно эксплуатировать энергетическое оборудование при низких температурах, использовать энергию пара для снижения затрат на распыление топлива и на дополнительное снижение сопротивления топливного тракта за счет нагрева и снижения вязкости подготовленного к сжиганию топлива. Достигается также предотвращение прямых потерь топлива вследствие снижения или предотвращения слива отстоявшейся воды из топливного бака; повышается экономичность и надежность эксплуатации топливного хозяйства и энергетической установки в целом (даже при низких температурах наружного воздуха), уменьшается загрязнение окружающей природной среды, расширяются функциональные возможности энергетической установки.
Предлагаемая энергетическая установка опробована в промышленных условиях сжигания газового конденсата, подготовленного к сжиганию в виде водогазоконденсатной эмульсии в ООО «Бургаз» в паровом котле ПКН-2М котельной УЭТВС г.Уренгой. Опыт положительный. При сжигании водогазоконденсатной эмульсии достигнуто экономичное, надежное сжигание газового конденсата при его обводнении до 8-10%. Снижены концентрации оксидов азота в дымовых газах и химический недожог топлива, предотвращен сброс в окружающую природную среду отстоявшейся воды, которому практически всегда сопутствуют потери топлива со сбросной водой.
Источники информации
1. Камера сгорания газотурбинных двигателей. – М.: «Машиностроением, 1984. С.197.
4. Р.Ф.Ганиев и др. Устройство для приготовления эмульсий. А.С. №1832050, зарегистрировано в Государственном реестре изобретений СССР 13 октября 1992 г.
Формула изобретения
1. Энергетическая установка для сжигания жидкого топлива, содержащая топливную емкость 1 с донной зоной 26 для отстаивания воды и зону 27 обезвоженного топлива, камеру сгорания 4, паропроводы 20, 17 соответственно котла 37 и собственных нужд котельной, горелочные устройства с паромеханическими форсунками 3, кроме того, установка дополнительно снабжена заборным устройством 5 топлива и отстоявшейся воды, состоящим из калиброванных по расходу трубопроводов 6 и 7 с отношением сечений, обеспечивающим соотношение расходов топлива и воды от 10:1 до полностью обезвоженного топлива, причем, трубопровод 6 большего диаметра подключен к зоне 27 обезвоженного топлива, а трубопровод 7 меньшего диаметра подключен к нижней точке донной поверхности топливной емкости 1 с объединением потоков топлива и воды в коллектор 11 заборного устройства 5, в топливопровод 12 перед форсунками 3 горелочных устройств дополнительно включен топливоприготовительный и топливоподающий узел, образованный струйным аппаратом 2 с рабочим, подвижным вдоль оси паровым соплом 33, конусным рабочим участком 34 и смесительной камерой 35, рабочее сопло 33 соединено с паропроводом 20 котла 37 и с паропроводом 17 собственных нужд с возможностью отключения одного их них, а смесительная камера 35 соединена топливопроводом 12 с коллектором 11 заборного устройства 5.
2. Энергетическая установка по п.1, отличающаяся тем, что в топливоприготовительном и топливоподающем узле смесительная камера 35 струйного аппарата 2 совмещена с прямоточным входом водотопливной смеси в волновой генератор 13 и соединена на выходе топливопроводом 18 тонкодисперсной водотопливной эмульсии (ТДВТЭ) с входом на форсунку(и) 3.
3. Энергетическая установка по п.1, отличающаяся тем, что топливные емкости 1 установлены на эстакаде 22, высота которой обеспечивает самотечную подачу топлива до струйного аппарата 2 и форсунок 3 парового котла 37.
4. Энергетическая установка по п.1, отличающаяся тем, что коллектор 11 заборного устройства 5 дополнительно соединен топливопроводами 12 и 16 соответственно со входом на струйный аппарат 2 и форсунку (и) 3.
5. Энергетическая установка по п.2, отличающаяся тем, что топливопровод 18 на выходе из волнового генератора 13 прямоточным входом соединен линией 15 рециркуляции с топливопроводом 12.
6. Энергетическая установка по п.2, отличающаяся тем, что в проточной части струйного аппарата 2 топливоприготовительного устройства установлены кавитаторы 30 с последущими их рядами, размещенными в диффузоре 36.
7. Энергетическая установка по п.1, отличающаяся тем, что система калиброванных по расходу трубопроводов 6 и 7 снабжена датчиками 23 влагосодержания топлива, которые подключены к компьютеру 24, управляющему топливоподготовкой, топливоподачей и накоплением обезвоженного топлива.
8. Энергетическая установка по п.2, отличающаяся тем, что вход волнового генератора 13 имеет тангенциальные каналы 31, соединенные трубопроводом 28 с паропроводом 20 котла 37, паропроводом 17 собственных нужд котельной и форсункой(ами) 3.
9. Энергетическая установка по п.1, отличающаяся тем, что примыкающие к топливоприготовительному и топливоподающему узлу паропроводы 14, 17, 20 и 21 снабжены обратными клапанами 32.
РИСУНКИ
|
|