|
|
(21), (22) Заявка: 2006113845/06, 24.04.2006
(24) Дата начала отсчета срока действия патента:
24.04.2006
(46) Опубликовано: 10.11.2007
(56) Список документов, цитированных в отчете о поиске:
RU 2248501 C1, 20.03.2005. RU 2191950 C2, 27.10.2002. RU 2064126 C1, 20.07.1996. FR 2415264 A1, 17.08.1979. GB 1292606 A, 11.10.1972. RU 2206824 С1, 20.06.2003.
Адрес для переписки:
660074, г.Красноярск, ул. Киренского, 26, КГТУ, ПИО
|
(72) Автор(ы):
Дубровский Виталий Алексеевич (RU), Евтихов Жорж Леонидович (RU), Видин Юрий Владимирович (RU), Федченко Михаил Петрович (RU), Жуйков Андрей Владимирович (RU), Зубова Марина Витальевна (RU)
(73) Патентообладатель(и):
Государственное образовательное учреждение высшего профессионального образования Красноярский государственный технический университет (КГТУ) (RU)
|
(54) ТОПКА
(57) Реферат:
Изобретение может быть использовано на тепловых электростанциях для растопки котлов. Топка содержит центральную и периферийные камеры сгорания, разделенные экраном и сообщающиеся перепускным окном, горелочное устройство, выходной участок которого заведен в объем периферийной камеры сгорания, с циркуляционной трубой, перед входным торцом которой размещены сопла подачи инжектирующего агента и воздуха, а на выходном торце установлен горелочный насадок, причем циркуляционная труба размещена внутри горелочного насадка с образованием кольцевого зазора между ними, и источники пыли, соединенные с горелочным устройством основным и байпасным пылепроводами с шиберами, причем байпасный пылепровод соединен с циркуляционной трубой, заведенной внутрь основного пылепровода, подключенного к горелочному насадку, при этом горелочный насадок и циркуляционная труба выполнены в виде конфузоров, а байпасный пылепровод подсоединен к источнику тонкодисперсной пыли. Между горелочным устройством и перепускным окном в периферийной камере сгорания размещены дополнительные термоэмиссионные поверхности в виде обтекателей, снабженные дополнительными нагревателями, причем в качестве обтекателей 18 и 19 используются пластины, установленные вертикально в виде раструба с конфузорным входом соосно с горелочным устройством 5, а в качестве нагревателей 20 и 21 – дополнительные горелки, установленные по обе стороны от горелочного устройства 5 на той же стенке, что и последние, и направленные так же, как и горелочное устройство 5, настильно на обтекатели 18 и 19, при этом угол раскрытия факела горелочного устройства больше угла раскрытия раструба. Изобретение позволяет повысить эффективность воспламенения пыли за счет дополнительных термоэммисионных поверхностей, исключая проскок невоспламенившейся пыли в топку. 2 ил.
Изобретение относится к теплоэнергетике и может быть использовано в топках котлов, работающих на углях.
Известна топка, содержащая центральную и периферийные камеры сгорания, разделенные экраном и сообщающиеся перепускными окнами, и горелочные устройства, выходные участки которых заведены в объем периферийных камер сгорания и окружены циркуляционными трубами, перед входными торцами которых размещены сопла подачи инжектирующего агента, а на выходных торцах установлены горелочные насадки с образованием кольцевого зазора между ними, причем каждая циркуляционная труба размещена внутри горелочного насадка, и источники пыли, соединенные с горелочными устройствами основным и байпасным пылепроводами с шиберами (патент РФ №2095684, МПК F23C 5/08, 1997).
Недостатком известной топки является малое время пребывания пыли внутри растопочных горелочных устройств, что снижает эффективность воспламенения.
Известна топка, содержащая центральную и периферийные камеры сгорания, разделенные экраном и сообщающиеся перепускным окном, горелочное устройство, выходной участок которого заведен в объем периферийной камеры сгорания и окружен циркуляционной трубой, перед входным торцом которой размещены сопла подачи инжектирующего агента, а на выходном торце установлен горелочный насадок, причем циркуляционная труба размещена внутри горелочного насадка с образованием кольцевого зазора между ними, и источник пыли, соединенный с горелочным устройством основным и байпасным пылепроводами с шибером, при этом байпасный пылепровод соединен с циркуляционной трубой, заведенной вовнутрь основного пылепровода, подключенного к горелочному насадку (патент РФ №2206824, МПК F23С 5/08, 6/04, 2003).
Недостатком известной топки является малое время пребывания пыли в зоне высоких температур перед растопкой, что снижает эффективность воспламенения, а так же удаленность стенок периферийной камеры сгорания от факела, что не способствует воспламенению пыли из-за воздушной прослойки между стенками и факелом.
Известна топка, содержащая центральную и периферийную камеры сгорания, разделенные экраном и сообщающиеся перепускным окном, горелочное устройство, выходной участок которого заведен в объем периферийной камеры сгорания и окружен циркуляционной трубой, перед входным торцом которой размещены сопла инжектирующего агента и воздуха, а на выходном торце установлен горелочный насадок, причем циркуляционная труба размещена внутри горелочного насадка с образованием кольцевого зазора между ними, и источники пыли, соединенные с горелочным устройством основным и байпасным пылероводами с шиберами, при этом байпасный пылепровод соединен с циркуляционной трубой, заведенной вовнутрь основного пылепровода, подключенного к горелочному насадку, причем горелочный насадок и циркуляционная труба выполнены в виде конфузоров, а байпасный пылепровод подсоединен к источнику тонкодисперсной пыли (патент РФ №2248501, МПК F23С 5/08, 6/04, 2005).
Недостатком известной топки является малое время пребывания пыли в зоне высоких температур горелочного устройства, что снижает эффективность воспламенения, и быстрое падение температуры ниже точки воспламенения в периферийной камере сгорания из за ее низкой термоэмиссии, а так же удаленность стенок периферийной камеры сгорания от факела, что не способствует воспламенению пыли из-за воздушной прослойки между стенками и факелом.
Задача изобретения – повышение эффективности воспламенения.
Задача решается тем, чем в топке, содержащей центральную и по меньшей мере одну периферийную камеры сгорания, разделенные экраном и сообщающиеся перепускным окном, горелочное устройство, выходной участок которого заведен в объем периферийной камеры сгорания, с циркуляционной трубой, перед входным торцом которой размещены сопла подачи инжектирующего агента и воздуха, а со стороны выходного торца установлен горелочный насадок так, что циркуляционная труба размещена внутри горелочного насадка с образованием кольцевого зазора между ними, источники пыли, соединенные с горелочным устройством основным и байпасным пылепроводами с шиберами, при этом байпасный пылепровод соединен с циркуляционной трубой, заведенной вовнутрь основного пылепровода, подключенного к горелочному насадку, причем горелочный насадок и циркуляционная труба выполнены в виде конфузоров, а байпасный пылепровод подсоединен к источнику тонкодисперсной пыли, согласно изобретению, в периферийной камере сгорания в зоне распространения факела между горелочным устройством и перепускным окном установлены термоэмиссионные обтекатели с нагревателями, при этом в качестве обтекателей использованы пластины, установленные вертикально в виде раструба с конфузорным входом соосно с горелочным устройством и с зазорами со стенками периферийной камеры сгорания, а в качестве нагревателей использованы горелки, установленные по обе стороны от горелочного устройства и направленные также как и горелочное устройство настильно на обтекатели, причем угол раскрытия факела горелочного устройства больше угла раскрытия раструба.
Установка между горелочным устройством и перепускным окном в периферийной камере сгорания в зоне распространения факела дополнительных термоэмиссионных поверхностей в виде обтекателей, снабженных дополнительными нагревателями, причем в качестве обтекателей используются пластины, установленные вертикально в виде раструба с конфузорным входом соосно с горелочным устройством, а в качестве нагревателей – дополнительные горелки, установленные по обе стороны от горелочного устройства на той же стенке, что и последние, и направленные так же как и горелочное устройство настильно на обтекатели, при этом угол раскрытия факела горелочного устройства больше угла раскрытия раструба, позволяет повысить эффективность воспламенения за счет контакта невоспламенившейся пыли с раскаленными термоэмиссионными поверхностями, что исключает проскок не воспламенившейся пыли в топку.
Факел, подаваемый настильно на обтекатели, чему способствует угол раскрытия факела горелочного устройства, превышающий угол раскрытия раструба, максимально соприкасается с раскаленной поверхностью обтекателей. Температуру поверхности обтекателей выше температуры самовоспламенения пыли обеспечивают дополнительные горелки, установленные по обе стороны от горелочного устройства на той же стенке, что и последнее, что способствует воспламенению невоспламенившейся пыли в горелочном устройстве. Установка дополнительных горелок на той же стенке, что и горелочное устройство упрощает обслуживание всего горелочного блока и обеспечивает компактность установки за счет уменьшения длины разводки труб от источников пыли, воздуха и легковоспламеняющегося топлива.
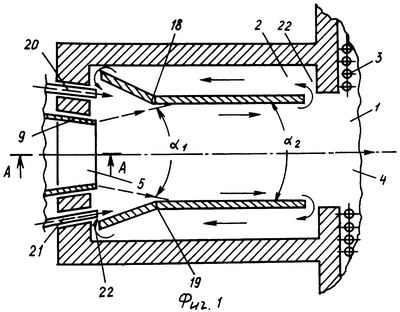
На фиг.1 изображен горизонтальный разрез предлагаемого устройства, на фиг.2 – сечение А-А.
Топка содержит центральную и периферийные камеры 1 и 2 сгорания, разделенные экраном 3 и сообщающиеся перепускным окном 4, горелочное устройство 5, выходной участок которого заведен в объем периферийной камеры 2 сгорания и окружен циркуляционной трубой 6, перед входным торцом которой размещены сопло 7 подачи инжектирующего агента и воздушное сопло 8, а на выходном торце установлен горелочный насадок 9, причем циркуляционная труба 6 размещена внутри горелочного насадка 9 с образованием кольцевого зазора 10 между ними. Циркуляционная труба 6 образует также кольцевой зазор 11 с соплом 8 подачи воздуха. Топка содержит также источники 12 и 13 соответственно основной и тонкодисперстной пыли, соединенные с горелочными устройством 5 соответственно основным и байпасным пылепроводами 14 и 15 с шиберами 16 и 17 для регулировки подачи пыли в пылепроводы 14 и 15. Байпасный пылепровод 15 соединен с циркуляционной трубой 6, заведенной вовнутрь основного пылепровода 14, подключенного к горелочному насадку 9, причем горелочный насадок 9 и циркуляционная труба 6 выполнены в виде конфузоров.
Между горелочным устройством 5 и перепускным окном 4 в периферийной камере 2 сгорания в зоне факела установлены дополнительные термоэмиссионные поверхности в виде обтекателей 18 и 19, выполненные в виде раструба с конфузорным входом из вертикальных, установленных соосно с горелочным устройством пластин, снабженных дополнительными нагревателями 20 и 21, в виде горелок, установленных по обе стороны от горелочного устройства 5 на той же стенке, что и горелочное устройство 5, и направленные также, как и горелочное устройство 5, настильно на обтекатели 18 и 19. При этом угол раскрытия факела горелочного устройства больше угла раскрытия раструба. Пластины могут быть выполнены из термостойкого металла или керамики и установлены с вертикальными щелевыми зазорами 22 со стенками периферийной камеры 2 сгорания для рециркуляции и усреднения температуры горячих топочных газов внутри камеры 2 сгорания.
Топка работает следующим образом.
При включении дополнительных нагревателей 20 и 21 термоэмиссионные поверхности обтекателей 18 и 19 прогреваются до температуры самовоспламенения пыли. С помощью запальника (не обозначен) воспламеняется легковоспламеняющееся топливо (газ, мазут, соляровое масло или термоуголь), подаваемое в сопло 7, с одновременной подачей воздуха в сопло 8, прогревая все горелочное устройство 5. После прогрева подается тонкодисперсная пыль в растопочном режиме в циркуляционную трубу 6 с помощью шибера 17 по пылепроводу 15 от источника 13 пыли. Пыль воспламеняется в факеле сопла 7 и поступает далее в горелочный насадок 9, который также прогревается горящей пылью. Затем открывается шибер 16 на основном пылепроводе 14, и подается пыль в растопочном режиме в горелочный насадок 9 от источника 12 основной пыли. Проходя по кольцевому зазору 10 пыль прогревается и выделяет горючие летучие, которые воспламеняются от факела, выходящего из циркуляционной трубы 6. Выходя из горелочного устройства 5 пыль соприкасается с термоэмиссионными поверхностями обтекателей 18 и 19. Пыль, невоспламенившаяся в горелочном устройстве 5, воспламеняется при контакте с раскаленными обтекателями 18 и 19, предотвращая проскок невоспламенившейся пыли в топку. После выхода на рабочий режим нагреватели 20 и 21 и сопло 7 отключаются, а воздух продолжает поступать в сопло 8 одновременно с пылью через пылепроводы 14 и 15. При работе горелочного устройства 5 и нагревателей 20 и 21 за счет эжекции факела через вертикальные щелевые зазоры 22 происходит рециркуляция горячих топочных газов и усреднение температуры по всему сечению периферийной камеры 2 сгорания. Это приводит к увеличению тепловой инерцию и повышает термоэмиссию обтекателей, так как горячие топочные газы постоянно рециркулируют внутри периферийной камеры 2 сгорания.
Таким образом достигается решение задачи изобретения – повышение эффективности воспламенения за счет установки дополнительных термоэмиссионных поверхностей в зоне распространения факела горелочного устройства.
Формула изобретения
Топка, содержащая центральную и, по меньшей мере, одну периферийную камеры сгорания, разделенные экраном и сообщающиеся перепускным окном, горелочное устройство, выходной участок которого заведен в объем периферийной камеры сгорания, с циркуляционной трубой, перед входным торцом которой размещены сопла подачи инжектирующего агента и воздуха, а со стороны выходного торца установлен горелочный насадок так, что циркуляционная труба размещена внутри горелочного насадка с образованием кольцевого зазора между ними, источники пыли, соединенные с горелочным устройством основным и байпасным пылепроводами с шиберами, при этом байпасный пылепровод соединен с циркуляционной трубой, заведенной внутрь основного пылепровода, подключенного к горелочному насадку, причем горелочный насадок и циркуляционная труба выполнены в виде конфузоров, а байпасный пылепровод подсоединен к источнику тонкодисперсной пыли, отличающаяся тем, что в периферийной камере сгорания в зоне распространения факела между горелочным устройством и перепускным окном установлены термоэмиссионные обтекатели с нагревателями, при этом в качестве обтекателей использованы пластины, установленные вертикально в виде раструба с конфузорным входом соосно с горелочным устройством и с зазорами со стенками периферийной камеры сгорания, а в качестве нагревателей использованы горелки, установленные по обе стороны от горелочного устройства и направленные так же, как и горелочное устройство, настильно на обтекатели, причем угол раскрытия факела горелочного устройства больше угла раскрытия раструба.
РИСУНКИ
|
|