|
|
(21), (22) Заявка: 2006111904/06, 10.04.2006
(24) Дата начала отсчета срока действия патента:
10.04.2006
(46) Опубликовано: 10.11.2007
(56) Список документов, цитированных в отчете о поиске:
RU 2248501 C1, 20.03.2005. RU 2191950 C2, 27.10.2002. RU 2064126 C1, 20.07.1996. FR 2415264 A1, 17.08.1979. GB 1292606 A, 11.10.1972.
Адрес для переписки:
660074, г.Красноярск, ул. Киренского, 26, КГТУ, ПИО
|
(72) Автор(ы):
Дубровский Виталий Алексеевич (RU), Зубова Марина Витальевна (RU), Федченко Михаил Петрович (RU), Видин Юрий Владимирович (RU), Евтихов Жорж Леонидович (RU), Глинчиков Вячеслав Александрович (RU), Жуйков Андрей Владимирович (RU)
(73) Патентообладатель(и):
Государственное образовательное учреждение высшего профессионального образования Красноярский государственный технический университет (КГТУ) (RU)
|
(54) ТОПКА
(57) Реферат:
Изобретение может быть использовано на тепловых электростанциях для растопки котлов. Топка содержит центральную и периферийные камеры сгорания, разделенные экраном и сообщающиеся перепускным окном, горелочное устройство, выходной участок которого заведен в объем периферийной камеры сгорания и окружен циркуляционной трубой, перед входным торцом которой размещены сопла подачи инжектирующего агента и воздуха, а на выходном торце установлен горелочный насадок, причем циркуляционная труба размещена внутри горелочного насадка с образованием кольцевого зазора между ними, и источники пыли, соединенные с горелочным устройством основным и байпасным пылепроводами с шиберами, причем байпасный пылепровод соединен с циркуляционной трубой, заведенной внутрь основного пылепровода, подключенного к горелочному насадку, при этом горелочный насадок и циркуляционная труба выполнены в виде конфузоров, а байпасный пылепровод подсоединен к источнику тонкодисперсной пыли. Горелочное устройство 5 установлено в полом горизонтальном цилиндре 18 перпендикулярно оси цилиндра, имеющего возможность осевого поворота, под 19 периферийной камеры 2 снабжен дополнительным источником 20 обогрева с помощью электрического тока или горелки, работающей на легковоспламеняющемся топливе, а горелочный насадок 9 заведен внутрь воздушного сопла 22, выполненного в виде конфузора, проходящего сквозь обе стенки указанного цилиндра 18 и подключенного к воздушному коробу 23. Изобретение обеспечивает надежную и безотказную растопку за счет обогрева периферийной камеры сгорания. 1 ил.
Изобретение относится к теплоэнергетике и может быть использовано в топках котлов, работающих на углях.
Известна топка, содержащая центральную и периферийные камеры сгорания, разделенные экраном и сообщающиеся перепускными окнами, и горелочные устройства, выходные участки которых заведены в объем периферийных камер сгорания и окружены циркуляционными трубами, перед входными торцами которых размещены сопла подачи инжектирующего агента, а на выходных торцах установлены горелочные насадки с образованием кольцевого зазора между ними, причем каждая циркуляционная труба размещена внутри горелочного насадка, и источники пыли, соединенные с горелочными устройствами основным и байпасным пылепроводами с шиберами (патент РФ №2095684, МПК F23С 5/08, 1997 г.).
Недостатком известной топки является малое время пребывания пыли внутри растопочных горелочных устройств, что снижает эффективность воспламенения.
Известна топка, содержащая центральную и периферийные камеры сгорания, разделенные экраном и сообщающиеся перепускным окном, горелочное устройство, выходной участок которого заведен в объем периферийной камеры сгорания и окружен циркуляционной трубой, перед входным торцом которой размещены сопла подачи инжектирующего агента, а на выходном торце установлен горелочный насадок, причем циркуляционная труба размещена внутри горелочного насадка с образованием кольцевого зазора между ними, и источник пыли, соединенный с горелочным устройством основным и байпасным пылепроводами с шиберами, при этом байпасный пылепровод соединен с циркуляционной трубой, заведенной вовнутрь основного пылепровода, подключенного к горелочному насадку (патент РФ №2206824, МПК F23С 5/08, 6/04, 2003 г).
Недостатком известной топки является малое время пребывания пыли в зоне высоких температур перед растопкой, что снижает эффективность воспламенения.
Известна топка, содержащая центральную и периферийную камеры сгорания, разделенные экраном и сообщающиеся перепускным окном, горелочное устройство, выходной участок которого заведен в объем периферийной камеры сгорания и окружен циркуляционной трубой, перед входным торцом которой размещены сопла инжектирующего агента и воздуха, а на выходном торце установлен горелочный насадок, причем циркуляционная труба размещена внутри горелочного насадка с образованием кольцевого зазора между ними, и источники пыли, соединенные с горелочным устройством основным и байпасным пылероводами с шиберами, при этом байпасный пылепровод соединен с циркуляционной трубой, заведенной вовнутрь основного пылепровода, подключенного к горелочному насадку, причем горелочный насадок и циркуляционная труба выполнены в виде конфузоров, а байпасный пылепровод подсоединен к источнику тонкодисперсной пыли (патент РФ №2248501, МПК F23C 5/08, 6/04, 2005 г.).
Недостатком известной топки является низкая эффективность воспламенения пыли ввиду быстрого охлаждения ниже температуры самовоспламенения пыли стенок и пода муфеля периферийной камеры сгорания при подаче холодной пыли и воздуха с большой скоростью.
В основу изобретения положена задача создания топки с повышенной эффективностью воспламенения.
Поставленная задача решается тем, что в топке, содержащей центральную и по меньшей мере одну периферийную камеры сгорания, разделенные экраном и сообщающиеся перепускным окном, горелочное устройство, выходной участок которого заведен в объем периферийной камеры сгорания, с циркуляционной трубой, перед входным торцом которой размещены сопла подачи инжектирующего агента и воздуха, а со стороны выходного торца установлен горелочный насадок так, что циркуляционная труба размещена внутри горелочного насадка с образованием кольцевого зазора между ними, источники пыли, соединенные с горелочным устройством основным и байпасным пылепроводами с шиберами, при этом байпасный пылепровод соединен с циркуляционной трубой, заведенной вовнутрь основного пылепровода, подключенного к горелочному насадку, причем горелочный насадок и циркуляционная труба выполнены в виде конфузоров, а байпасный пылепровод подсоединен к источнику тонкодисперсной пыли, воздушное сопло и воздушный короб, согласно изобретению горелочное устройство установлено в полом горизонтальном цилиндре, имеющем возможность поворота, перпендикулярно оси цилиндра, под периферийной камеры сгорания снабжен дополнительным источником обогрева, а горелочный насадок заведен вовнутрь воздушного сопла, выполненного в виде конфузора, проходящего сквозь стенки указанного цилиндра, подключенного к воздушному коробу.
Снабжение пода периферийной камеры сгорания дополнительным источником обогрева не позволяет остывать поверхности пода ниже температуры самовоспламенения пыли при подаче холодной пыли и воздуха, что исключает проскок невоспламенившейся пыли в топку при подаче ее настильно поду, для чего горелочное устройство установлено в полом горизонтальном цилиндре перпендикулярно оси цилиндра, имеющего возможность поворота, обеспечивающего настильность подачи. Заведение горелочного насадка вовнутрь воздушного сопла, выполненного в виде конфузора и проходящего сквозь обе стенки указанного цилиндра, при этом сопло подключено к воздушному коробу, позволяет обеспечить воспламеняющуюся пыль в периферийной камере сгорания достаточным количеством кислорода, что способствует воспламенению.
Таким образом, предлагаемое техническое решение позволяет решить поставленную задачу изобретения.
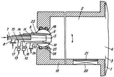
На чертеже изображен продольный разрез предлагаемого устройства.
Топка содержит центральную 1 и периферийные 2 камеры сгорания, разделенные экраном 3 и сообщающиеся перепускным окном 4, горелочное устройство 5, выходной участок которого заведен в объем периферийной камеры 2 сгорания и окружен циркуляционной трубой 6, перед входным торцом которой размещены сопло 7 подачи инжектирующего агента и воздушное сопло 8, а на выходном торце установлен горелочный насадок 9, причем циркуляционная труба 6 размещена внутри горелочного насадка 9 с образованием кольцевого зазора 10 между ними. Циркуляционная труба 6 образует также кольцевой зазор 11 с соплом 8 подачи воздуха. Топка содержит также источники 12 и 13 соответственно основной и тонкодисперстной пыли, соединенные с горелочными устройством 5 соответственно основным 14 и байпасным 15 пылепроводами с шиберами 16 и 17 для регулировки подачи пыли в пылепроводы 14 и 15. Байпасный пылепровод 15 соединен с циркуляционной трубой 6, заведенной вовнутрь основного пылепровода 14, подключенного к горелочному насадку 9, причем горелочный насадок 9 и циркуляционная труба 6 выполнены в виде конфузоров.
Горелочное устройство 5 своим выходным торцом установлено в полом горизонтальном цилиндре 18, перпендикулярно оси цилиндра, имеющего возможность поворота вокруг оси. Под 19 периферийной камеры 2 сгорания снабжен дополнительным источником 20 обогрева с помощью электрического тока или газовой горелки, при этом над источником обогрева может быть положена заподлицо с подом 19 металлическая плита 21 для усиления термоэмиссии. Плита выполнена из термостойкой стали. Горелочный насадок 9 заведен вовнутрь воздушного сопла 22, выполненного в виде конфузора, проходящего сквозь обе стенки указанного цилиндра 18. Воздушное сопло 22 подключено к воздушному коробу 23, соединенному с источником горячего воздуха 24. Для облегчения поворота цилиндра 18 на его образующей могут быть установлены роликовые подшипники 25 в обоймах 26. Полость цилиндра 18 может быть заглушена с торцов и выполнена воздухо- или водоохлаждаемой для исключения термической деформации, затрудняющей возможность поворота цилиндра 18, который осуществляется в момент пусконаладочных работ, а также для более точной коррекции настильной подачи пыли во время изменения режима работы.
Топка работает следующим образом.
Включается дополнительный источник 20 обогрева пода 19, и прогревается термоэмиссионная поверхность металлической плиты 21 до температуры самовоспламенения пыли при ее подаче настильно на эту плиту из горелочного устройства 5. С помощью запальника (не обозначен) воспламеняется легковоспламеняющееся топливо (газ, мазут, солярное масло), подаваемое в сопло 7, с одновременной подачей воздуха в сопло 8, прогревая все горелочное устройство 5. После прогрева подается тонкодисперсная пыль в расточном режиме в циркуляционную трубу 6 с помощью шибера 17 по пылепроводу 15 от источника 13 пыли. Пыль воспламеняется в факеле сопла 7 и поступает далее в горелочный насадок 9, который также прогревается горящей пылью. Затем открывается шибер 16 на основном пылепроводе 14, и подается пыль в растопочном режиме в горелочный насадок 9 от источника 12 основной пыли. Проходя по кольцевому зазору 10, пыль прогревается, выделяет горючие летучие и воспламеняется от факела, выходящего из циркуляционной трубы 6. Включается также воздушное сопло 22 от источника горячего воздуха 24. Выходя из горелочного устройства 5 настильно к раскаленной плите 21 на поде 19, пыль, соприкасаясь с плитой 21, воспламеняется, исключая проскок не воспламенившейся пыли в топку. После выхода на рабочий режим дополнительный источник 20 обогрева пода 19 и сопло 7 отключаются. Подача воздуха и пыли не прекращаются. Дополнительное тепло, затраченное на источник 20, не теряется, а уходит в центральную камеру сгорания 1.
Таким образом, установка дополнительного источника 20 обогрева пода 19 периферийной камеры 2 сгорания и настильная подача пыли на раскаленную плиту 21 от источника обогрева 20, которая обеспечивается поворотом цилиндра 18 с одновременной подачей горячего воздуха через сопло 22, обеспечивают безотказное воспламенение пыли перед подачей ее в центральную камеру 1, т.е. повышается эффективность воспламенения.
Формула изобретения
Топка, содержащая центральную и, по меньшей мере, одну периферийную камеры сгорания, разделенные экраном и сообщающиеся перепускным окном, горелочное устройство, выходной участок которого заведен в объем периферийной камеры сгорания, с циркуляционной трубой, перед входным торцом которой размещены сопла подачи инжектирующего агента и воздуха, а со стороны выходного торца установлен горелочный насадок так, что циркуляционная труба размещена внутри горелочного насадка с образованием кольцевого зазора между ними, источники пыли, соединенные с горелочным устройством основным и байпасным пылепроводами с шиберами, при этом байпасный пылепровод соединен с циркуляционной трубой, заведенной внутрь основного пылепровода, подключенного к горелочному насадку, причем горелочный насадок и циркуляционная труба выполнены в виде конфузоров, а байпасный пылепровод подсоединен к источнику тонкодисперсной пыли, отличающаяся тем, что горелочное устройство установлено в полом горизонтальном цилиндре, имеющем возможность поворота перпендикулярно его оси, под периферийной камерой сгорания снабжен дополнительным источником обогрева, а горелочный насадок заведен внутрь воздушного сопла, выполненного в виде конфузора, проходящего сквозь стенки указанного цилиндра и подключенного к воздушному коробу.
РИСУНКИ
|
|