|
|
(21), (22) Заявка: 2005123066/06, 21.07.2005
(24) Дата начала отсчета срока действия патента:
21.07.2005
(43) Дата публикации заявки: 27.01.2007
(46) Опубликовано: 10.11.2007
(56) Список документов, цитированных в отчете о поиске:
RU 42287 U1, 27.11.2004. RU 2044217 C1, 20.09.1995. RU 2168110 C1, 27.05.2001. RU 30929 U1, 10.07.2003. RU 4803 U1, 16.08.1997. US 4393814 A, 19.07.1983. DE 2550410 A1, 12.05.1977.
Адрес для переписки:
157300, Костромская обл., г. Мантурово, ул.Советская, 38а, кв.6, С.П. Барболину
|
(72) Автор(ы):
Барболин Сергей Павлович (RU)
(73) Патентообладатель(и):
Барболин Сергей Павлович (RU)
|
(54) ТОПКА ПАРОВОДОГРЕЙНОГО КОТЛА ДЛЯ СЖИГАНИЯ ОТХОДОВ ДЕРЕВОПЕРЕРАБАТЫВАЮЩЕЙ ПРОМЫШЛЕННОСТИ
(57) Реферат:
Изобретение относится к устройствам для сжигания отходов деревоперерабатывающей промышленности различной влажности в условиях поступления необходимого для горения количества воздуха в топках пароводогрейных котлов. Топка пароводогрейныого котла с рабочим объемом, ограниченным объемом нагревательного элемента котла, содержит бункер подачи топлива, аккумуляторы высокой температуры для обеспечения стабильного режима горения топлива с различной степенью влажности, заполняющего весь объем топки, зольную камеру с дверкой, колосники с отверстиями, являющиеся также аккумуляторами высокой температуры, при этом котел размещен в топке, а между обмуровкой топки и котлом выполнены зазоры для подачи воздуха из зольной камеры через отверстия в колосниках и каналы, выполненные в конструкции котла, к поверхности соприкосновения топлива с котлом и аккумуляторами высокой температуры, причем отвод дымовых газов осуществляется через вышеуказанные каналы и зазоры и далее через каналы, выполненные в бункере подачи топлива. Изобретение позволяет повысить эффективность работы топки и уменьшить ее габариты. 6 ил.
Изобретение относится к устройствам для сжигания отходов деревоперерабатывающей промышленности в топке пароводогрейного котла, получающего тепловую энергию при высокоэффективном использовании топлива и минимальных размерах топки. Практическое применение находит в котельных небольших объектов с отапливаемым объемом до 10000 м3.
Известна топка пароводогрейного котла с аккумулятором высокой температуры для стабильного эффективного сжигания отходов деревоперерабатывающей промышленности различной влажности при заполнении всего объема топки рабочим топливом (см. патент Российской Федерации на полезную модель №42287, МПК F23В 1/08, 2004).
Недостатком указанной топки является ее большие габариты, не всегда позволяющие ее применение в зданиях существующих котельных. При применении топлива влажностью свыше 35% она требует подогрева основного топлива или продува топки. Это приводит к понижению ее эффективности работы.
Техническим результатом данного изобретения является следующее.
1. Получение тепловой энергии с низкой себестоимостью.
2. Утилизация отходов.
3. Использование в качестве топлива отходов деревоперерабатывающей промышленности различной влажности без дополнительного подогрева другим топливом.
4. Эффективное использование поверхности котла, находящегося в «кипящем слое» сжигаемого топлива.
5. Требуемый нагрев ограниченного нагревательным элементом котла рабочего объема топки достигается при низкой теплотворной способности топлива.
6. Стабильный режим горения топлива с различной влажностью.
7. Регулирование поступления только необходимого для горения количества воздуха является одним из факторов достижения и поддержания требуемого уровня температуры в топке позволяет избежать потерь тепловой энергии при излишнем продуве топки.
8. Схема расположения элементов устройства обеспечивает возможность механизированной загрузки топлива сверху, его нагрев, газогенерацию, горение до полного сгорания топлива, золоудаление в режиме конвейера постоянного действия.
9. Принятой компоновкой элементов устройства достигаются малые габаритные размеры топки по отношению к вырабатываемой мощности, что дает возможность его применения в существующих зданиях квартальных котельных и расширяет арсенал топок водогрейных котлов, использующих в качестве топлива отходы деревоперерабатывающей промышленности.
Технический результат достигается посредством топки пароводогрейного котла с рабочим объемом, ограниченным объемом нагревательного элемента котла, содержащей бункер подачи топлива, аккумуляторы высокой температуры для обеспечения стабильного режима горения топлива с различной степенью влажности, заполняющего весь объем топки, зольную камеру с дверкой, колосники с отверстиями, являющиеся также аккумуляторами высокой температуры, при этом котел размещен в топке, а между обмуровкой топки и котлом выполнены зазоры для подачи воздуха из зольной камеры через отверстия в колосниках и каналы, выполненные в конструкции котла, к поверхности соприкосновения топлива с котлом и аккумуляторами высокой температуры, причем отвод дымовых газов осуществляется через вышеуказанные каналы и зазоры и далее через каналы, выполненные в бункере подачи топлива.
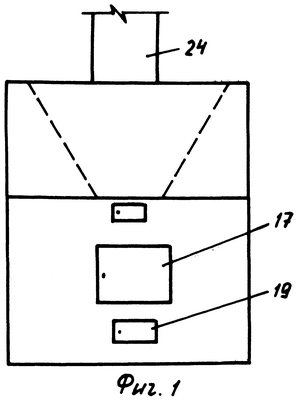
На фиг.1 изображена топка пароводогрейного котла, габаритные размеры которого составляют 1500×1200×1200 мм при мощности 40 кВт, вид спереди;
на фиг.2 – вид сбоку;
на фиг.3 – вид сверху;
на фиг.4 изображен продольный разрез топки пароводогрейного котла;
на фиг.5 изображен поперечный разрез топки пароводогрейного котла;
на фиг.6 изображен вид топки пароводогрейного котла сверху.
Топка 15 пароводогрейного котла содержит люк 1 для механизированной загрузки рабочего топлива 2, водогрейный котел 3, трубу 4 отвода теплоносителя, каналы 5, выполненные в начальной части котла 3 для подвода воздуха к поверхности соприкосновения котла 3 и топлива в необходимом для горения количестве, зазоры 6 между обмуровкой 8 и котлом 3 для подачи воздуха дополнительно к воздуху, содержащемуся в структуре топлива 2, поверхность соприкосновения 7 котла 3 и топлива 2, обмуровку 8 котла 3, колосники-аккумуляторы 9 высокой температуры (колосники), установленные на поддувочной зольной камере 10, люк выгрузки золы 11, каналы 12 в загрузочном бункере 14, который расположен в верхней части топки и через который осуществляется непрерывная подача топлива 2, конус 13 бункера 14, зону горения 16, герметичную дверку 17 для контроля процесса горения, аккумуляторы 18 высокой температуры для стабилизации процесса горения, герметичную регулированную дверку 19 зольной камеры 10 для регулирования подачи воздуха из зольной камеры 10, механизм 20 поворота колосников 9 для чистки топки, трубу 21 подвода теплоносителя, отверстия 22 в колосниках 9 для поступления необходимого количества воздуха к топливу 2 из зольной камеры 10, экран 23 для направления тепловых потоков через нагревательные элементы пароводогрейного котла 3, дымовую трубу 24. Каналы 12 выполнены в конусе 13 загрузочного бункера 14 и предназначены для отвода дымовых газов из зазоров 6 между обмуровкой 8 и котлом 3 в дымовую трубу 24.
Работа топки пароводогрейного котла для сжигания отходов деревоперерабатывающей промышленности различной степени влажности, требующих утилизации и имеющих невысокую денежную стоимость, без дополнительного подогрева другими видами топлива осуществляется следующим образом.
Топливо 2, имеющее сравнительно большой объем и требующее больших трудозатрат при подаче в топку вручную, при принятой схеме расположения элементов устройства загружается механизированным способом через люк 1 загрузки рабочего топлива 2 в бункер 14 топлива. Под воздействием силы тяжести топливо 2 через конус 13 бункера 14 опускается в топку 15, где подвергается розжигу сухим топливом. После нагрева и воспламенения топлива 2 происходит накаливание до требуемой температуры всех элементов топки 15, в том числе аккумуляторов высокой температуры 18 и колосников-аккумуляторов 9 высокой температуры. Далее горение топлива 2 происходит без «подсветки» – подогрева другим видом топлива при регулируемой подаче воздуха. Сравнительно невысокая теплотворная способность отходов с повышенной влажностью требует экономичного режима использования вырабатываемой тепловой энергии, что обеспечивается особенностями конструкции изобретения и его эксплуатацией в требуемом режиме.
Уменьшенный загруженным топливом 2 рабочий объем топки 15 быстро нагревается при сжигании небольшого количества низкокалорийного топлива. При этом эффективно используется поверхность пароводогрейного котла 3, так как она находится в «кипящем слое» сжигаемого топлива 2. Стабильное эффективное горение в топке 15 при конвейерном поступлении топлива 2 после прекращения подогрева сухим топливом обеспечивается следующими факторами.
Для достижения и поддержания в топке 15 требуемой температуры не допускается излишний продув объема теплопередачи. При наличии достаточного количества воздуха для горения топлива 2 в топке 15 герметичные дверки 17 и 19, соответственно топки 15 и зольной камеры 10 могут быть полностью закрыты. Поступление необходимого для горения количества воздуха осуществляется через герметичную дверку 19 в зольную камеру 10. Через отверстия 22 в колосниках 9 воздух поступает в зазоры 6 между обмуровкой 8 и котлом 3 и через каналы 5 в конструкции котла 3, к поверхности соприкосновения 7 котла 3 и топлива к структуре топлива 2 через аккумуляторы 18 высокой температуры. Соприкасаясь с аккумуляторами 18 высокой температуры, воздух поступает к структуре топлива раскаленным, что поддерживает температуру горения топлива 2. На распределение воздуха по внутренней структуре топлива 2 оказывает влияние экран 23, препятствуя сквозному проходу воздуха в газоходы. Для начала нагрева топлива 2 в конусе 13 загрузочного бункера 14 используются отводимые по каналам 12 дымовые газы, что приводит к возникновению зоны горения 16 в верхней части топки 15, возникающей при нагреве топлива 2 до температуры воспламенения. При разнице атмосферного давления с верхней точкой дымовой трубы 24 направление тепловых потоков идет от зоны горения 16 через структуру топлива 2 в каналы 5 в конструкции котла 3, далее по зазорам 6 между обмуровкой 8 и котлом 3 по направлению к дымовой трубе 24, по которой выводятся в атмосферу отработанные дымовые газы. Зола проваливается в поддувочную зольную камеру 10 и удаляется через люк 11 выгрузки золы. Теплоноситель подается в пароводогрейный котел 3 по трубе 21 и после нагрева отводится по трубе 4.
Принятой компоновкой элементов достигаются малые габаритные размеры устройства по отношению к вырабатываемой мощности, что дает возможность его применения в существующих зданиях квартальных котельных и расширяет арсенал топок пароводогрейных котлов, использующих в качестве топлива отходы деревоперерабатывающей промышленности.
Формула изобретения
Топка пароводогрейного котла с рабочим объемом, ограниченным объемом нагревательного элемента котла, содержащая бункер подачи топлива, аккумуляторы высокой температуры для обеспечения стабильного режима горения топлива с различной степенью влажности, заполняющего весь объем топки, зольную камеру с дверкой, колосники с отверстиями, являющиеся также аккумуляторами высокой температуры, при этом котел размещен в топке, а между обмуровкой топки и котлом выполнены зазоры для подачи воздуха из зольной камеры через отверстия в колосниках и каналы, выполненные в конструкции котла, к поверхности соприкосновения топлива с котлом и аккумуляторами высокой температуры, причем отвод дымовых газов осуществляется через вышеуказанные каналы и зазоры и далее через каналы, выполненные в бункере подачи топлива.
РИСУНКИ
|
|