|
|
(21), (22) Заявка: 2006113752/11, 21.04.2006
(24) Дата начала отсчета срока действия патента:
21.04.2006
(46) Опубликовано: 10.11.2007
(56) Список документов, цитированных в отчете о поиске:
RU 23477 U1, 20.06.2002. SU 1453104 А1, 23.01.1989. SU 991091, 23.01.1983.
Адрес для переписки:
424004, Республика Марий Эл, г.Йошкар-Ола, а/я 2, ООО “АВВИ”
|
(72) Автор(ы):
Кудрявцев Игорь Аркадьевич (RU)
(73) Патентообладатель(и):
Общество с ограниченной ответственностью “АВВИ” (RU)
|
(54) ПЛАНЕТАРНО-ЦЕВОЧНЫЙ РЕДУКТОР
(57) Реферат:
Изобретение относится к приводной технике, в частности к планетарно-цевочным редукторам. В планетарно-цевочном редукторе корпус (1), сателлиты (7) и эксцентрики (11) выполнены наборными в виде пакета пластин различной формы, которые имеют повышенную упругую податливость в радиальном направлении, что обеспечивает компенсацию погрешностей в зацеплении, вызванных неточностью изготовления и сборки, при этом происходит выравнивание нагрузок между сателлитами, снижаются контактные напряжения, динамические нагрузки и уровень шума, повышаются плавность работы, надежность и долговечность передачи, компенсируются тепловые деформации. 4 з.п. ф-лы, 6 ил.
Изобретение относится к приводной технике, в частности к планетарно-цевочным редукторам.
Известен планетарный зубчатый вариатор (А.с. СССР №991091), содержащий корпус, установленные в нем ведущий и ведомые валы, неподвижное центральное колесо, состоящее из пластин, водило с сателлитом, состоящим из пакета плоских колес, и регулирующее устройство в виде клинового механизма.
Недостатком известной передачи является сложность конструкции. Известен планетарно-цевочный редуктор (Пат. RU №23477), содержащий корпус с опорными подшипниками, в которых установлено выходное поворотное звено, центральный входной вал, установленные в выемках корпуса зубья-ролики и находящиеся в постоянном взаимодействии с эпициклоидальными зубьями сателлитов, установленных с возможностью вращения на эксцентриках входного вала, при этом выходное поворотное звено содержит пальцы, взаимодействующие с цилиндрическими поверхностями отверстий в сателлитах.
Недостатком известной конструкции является ее нетехнологичность, обусловленная высокими требованиями к точности изготовления деталей.
Техническим результатом, который обеспечивается изобретением, является повышение технологичности конструкции путем снижения требований к точности изготовления деталей.
Указанный технический результат достигается тем, что планетарно-цевочный редуктор содержит корпус с опорными подшипниками, в которых установлено выходное поворотное звено, центральный входной вал, установленные в выемках корпуса зубья-ролики и находящиеся в постоянном взаимодействии с эпициклоидальными зубьями сателлитов, установленных с возможностью вращения на эксцентриках входного вала, при этом выходное поворотное звено содержит пальцы, взаимодействующие с цилиндрическими поверхностями отверстий в сателлитах, причем корпус, сателлиты и эксцентрики выполнены наборными в виде пакета пластин, которые могут иметь коническую форму, волнистую форму, прорези, а также в пакет могут быть собраны пластины с разными механическими свойствами.
Отличительными признаками изобретения в сравнении с прототипом является то, что корпус, сателлиты и эксцентрики выполнены наборными в виде пакета пластин, которые могут иметь коническую форму, волнистую форму, прорези, а также в пакет могут быть собраны пластины с разными механическими свойствами.
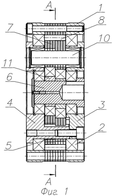
На фиг.1 изображен редуктор в разрезе,
на фиг.2 – сечение А-А на фиг.1,
на фиг.3 – сателлит из пластин конической формы,
на фиг.4 – сателлит из пластин волнистой формы,
на фиг.5 – вариант исполнения пластины с прорезями,
на фиг.6 – сателлит из пластин с разными механическими свойствами.
Планетарно-цевочный редуктор содержит корпус 1 с опорными подшипниками 2, в которых установлены объединенные в единое выходное поворотное звено, фланцы 3 и 4 посредством перемычек 5, центральный входной эксцентриковый вал 6, несущий оппозитно расположенные сателлиты 7, взаимодействующие своими эпициклоидальными зубьями с зубьями-роликами 8, расположенными в выемках 9 корпуса 1. Сателлиты 7 также взаимодействуют цилиндрическими поверхностями своих радиально расположенных отверстий с пальцами 10, обеспечивающими передачу крутящего момента от сателлитов фланцам 3 и 4. Сателлиты 7 выполнены с числом зубьев на единицу меньше числа зубьев-роликов 8. Передаточное число редуктора равно числу зубьев сателлитов 7. Эксцентриковый вал 6 содержит эксцентрики 11. Корпус 1, сателлиты 7 и эксцентрики 11 выполнены наборными в виде пакета пластин различной формы. Пластины могут иметь коническую форму 12, волнистую форму 13, пластины могут иметь прорези 14, а также в пакете пластин могут быть дополнительные пластины 15 с механическими свойствами, отличными от основных. Пластины могут быть изготовлены на точных вырубных прессах.
Планетарно-цевочный редуктор работает следующим образом.
Вращение входного эксцентрикового вала 6 преобразуется в плоскопараллельное движение сателлитов 7, которые, обкатываясь по зубьям-роликам 8 корпуса 1, сообщают вращательное движение через пальцы 10 выходному поворотному звену – объединенным фланцам 3 и 4.
При работе цевочной передачи погрешности в зацеплении, вызванные неточностью изготовления и сборки, компенсируются упругой податливостью в радиальном направлении пластин корпуса 1 сателлитов 7 и эксцентриков 11, при этом происходит выравнивание нагрузок между сателлитами, снижаются контактные напряжения, динамические нагрузки и уровень шума, повышаются плавность работы, надежность и долговечность передачи, компенсируются тепловые деформации. Изменяя толщину и форму пластин, можно регулировать податливость передачи. В зависимости от задаваемой нагрузки на редуктор можно изменять количество рабочих пластин. Собирая в пакеты пластины с разными упругими свойствами, можно регулировать жесткость передачи, так как пластины из более податливого материала работают в диапазоне допустимых упругих люфтов передачи, а в близких зонах к предельным значениям вступают в работу пластины из менее податливого материала. Данный редуктор может стабильно работать в большом диапазоне температур. Пластины, имеющие малую толщину и со сниженными требованиями к точности изготовления, технологичны в изготовлении.
Формула изобретения
1. Планетарно-цевочный редуктор, содержащий корпус с опорными подшипниками, в которых установлено выходное поворотное звено, центральный входной вал, установленные в выемках корпуса зубья-ролики и находящиеся в постоянном взаимодействии с эпициклоидальными зубьями сателлитов, установленных с возможностью вращения на эксцентриках входного вала, при этом выходное поворотное звено содержит пальцы, взаимодействующие с цилиндрическими поверхностями отверстий в сателлитах, отличающийся тем, что корпус, сателлиты и эксцентрики выполнены наборными в виде пакета пластин.
2. Планетарно-цевочный редуктор по п.1, отличающийся тем, что пластины имеют коническую форму.
3. Планетарно-цевочный редуктор по п.1, отличающийся тем, что пластины имеют волнистую форму.
4. Планетарно-цевочный редуктор по п.1, отличающийся тем, что пластины имеют прорези.
5. Планетарно-цевочный редуктор по п.1, отличающийся тем, что в пакет собраны пластины с разными механическими свойствами.
РИСУНКИ
|
|