|
|
(21), (22) Заявка: 2003117416/11, 16.06.2003
(24) Дата начала отсчета срока действия патента:
16.06.2003
(30) Конвенционный приоритет:
20.06.2002 (пп.1-13) FR 0207613
(43) Дата публикации заявки: 20.12.2004
(46) Опубликовано: 10.11.2007
(56) Список документов, цитированных в отчете о поиске:
ЕР 0769631 A1, 23.04.1997. WO 9421932 А, 29.09.1994. SU 1784777 A1, 30.12.1992. US 5971107 A, 26.10.1999. SU 969178 A3, 23.10.1982.
Адрес для переписки:
191186, Санкт-Петербург, а/я 230, “АРС-ПАТЕНТ”, пат.пов. В.М.Рыбакову
|
(72) Автор(ы):
ДЮССЕРЕ-ТЕЛЬМОН Ги (FR), ПЛОНА Даниэль (FR)
(73) Патентообладатель(и):
СНЕКМА МОТОРС (FR)
|
(54) УПЛОТНЕННЫЙ ПОДШИПНИК КАЧЕНИЯ С МАСЛЯНЫМ ДЕМПФИРОВАНИЕМ
(57) Реферат:
Изобретение относится к области машиностроения, а именно к шариковым или роликовым подшипникам качения, снабженным уплотнением и смазывающей масляной пленкой. Подшипник качения содержит множество элементов качения, установленных между внутренней обоймой и наружной обоймой, по меньшей мере, один кольцевой вкладыш, механически связанный с наружной обоймой, масляную пленку и уплотнительные средства. Кольцевой вкладыш механически связан с наружной обоймой и имеет кольцевую поверхность контакта с элементом корпуса. Масляная пленка расположена на уровне кольцевой поверхности контакта между элементом корпуса и вкладышем и ограничена с боковых сторон уплотнительными кольцами. Уплотнительные средства закрывают, по меньшей мере, часть первого бокового окна на стороне воздушной полости. Подшипник качения дополнительно содержит первые средства циркуляции масла для питания маслом масляной пленки и для питания маслом от этой масляной пленки элементов качения со стороны масляной полости для обеспечения их смазки. Подшипник качения дополнительно содержит вторые средства циркуляции масла, независимые от первых средств, для рекуперации масла после смазывания элементов качения, причем указанные вторые средства циркуляции масла выполнены таким образом, что предотвращают поступление масла к воздушной полости. Достигается улучшенное уплотнение на стороне воздушной полости и упрощение выполнения масляных полостей. 12 з.п. ф-лы, 4 ил.
Область техники, к которой относится изобретение
Настоящее изобретение относится к шариковому или роликовому подшипнику качения, снабженному уплотнением и смазывающей масляной пленкой, которая подается под давлением по типу “выдавливаемой пленки”, и предназначенному для использования преимущественно в авиации.
Уровень техники
Подшипники качения широко используются в авиации. В таких авиационных турбомашинах, как газотурбинные двигатели, подшипники качения используются в качестве опор валов, устанавливаемых внутри соответствующих элементов конструкции корпуса. Подшипники качения образованы в основном шариками или роликами, которые удерживаются в дорожках качения, выполненных в наружных и внутренних обоймах. В авиационной турбомашине обычно используют шариковые подшипники качения для восприятия осевых нагрузок и роликовые подшипники качения для восприятия радиальных нагрузок.
Известно использование масла для смазки и охлаждения подшипников качения турбомашины. С учетом нагрева турбомашины и повышенных скоростей вращения ее валов простая смазка посредством впрыска масла только во время технического ухода является недостаточной. Поэтому прибегают к так называемой динамической смазке подшипников качения. Смазка этого типа заключается в организации непрерывной циркуляции масла в контуре подачи смазки. При этом масло впрыскивается между обоймами подшипников, а затем отводится и уносит тепло, генерируемое подшипниками качения. Далее масло фильтруют и деаэрируют для отделения воздуха от масла. Масляная полость и воздушная полость системы обеспечения подшипников качения позволяют создать замкнутую среду, не допуская утечки смазочного масла в собственно двигатель.
Описанная динамическая смазка подшипников качения связана с серьезным неудобством: она требует создания контура циркуляции, содержащего сборники для рекуперации, питающие трубопроводы и насос, что ведет к утяжелению турбомашины. Организация масляной и воздушной полостей также способствует утяжелению турбомашины. Для снижения пространства, занимаемого этими полостями, в патентном документе ЕР 0769631 предложен шариковый или роликовый подшипник, в котором динамическая энергия, создаваемая вращением вала, опирающегося на шарики или ролики, используется для слива или дренажа смазочного масла. Контур слива обеспечивается с помощью сливных отверстий для масла, выполненных в одной из обойм подшипника. Этот тип подшипника качения с системой слива масла позволяет собирать большую часть смазочного масла.
Известно также оснащение подшипников качения масляной пленкой типа “выдавливаемой пленки” для снижения вибрации, которая вызывается высокоскоростным вращением валов турбомашины, опирающихся на подшипники качения. В типовом случае масло под давлением находится в ограниченном пространстве между наружной обоймой и элементом корпуса подшипниковой опоры. При этом масло под давлением, находящееся на поверхности контакта между обоймой и элементом корпуса, играет также роль демпфера. В общем случае такие подшипники с масляным демпфированием герметизируют или уплотняют посредством двух уплотнительных колец, помещенных между наружной обоймой и элементом корпуса. Таким образом, масляная пленка ограничена указанными двумя уплотнительными кольцами.
В таких подшипниках качения с масляным демпфированием существует проблема уплотнения. На практике установлено, что масло, заключенное между двумя уплотнительными кольцами, имеет тенденцию утечки за пределы масляной пленки. Наличие уплотнительных колец не позволяет избежать этих утечек. Утечки происходят как на стороне масляной полости, что приемлемо, так и на стороне воздушной полости. Такие утечки на стороне воздушной полости особенно негативно влияют на функционирование турбомашины.
Сущность изобретения
Задача, на решение которой направлено настоящее изобретение, заключается в устранении указанного недостатка и в создании подшипника качения с уплотнением и с масляным демпфированием, который содержит специальные контуры питания маслом и рекуперации масла, позволяющие обеспечить улучшенное уплотнение на стороне воздушной полости. Задачей изобретения является также упрощение выполнения масляных полостей с целью снижения стоимости и массы всего агрегата.
В соответствии с изобретением решение поставленной задачи достигается за счет подшипника качения для формирования опоры вала внутри кольцевого элемента корпуса, образующего преграду между масляной полостью и воздушной полостью и содержащего:
множество элементов качения, установленных между внутренней обоймой и наружной обоймой и определяющих первое боковое окно на стороне воздушной полости и второе боковое окно на стороне масляной полости;
по меньшей мере, один кольцевой вкладыш, механически связанный с наружной обоймой и имеющий кольцевую поверхность контакта с указанным элементом корпуса;
масляную пленку, расположенную на уровне кольцевой поверхности контакта между элементом корпуса и вкладышем и ограниченную с боковых сторон уплотнительными кольцами; и
уплотнительные средства, закрывающие, по меньшей мере, часть первого бокового окна на стороне воздушной полости.
Подшипник по изобретению характеризуется тем, что дополнительно содержит: первые средства циркуляции масла для питания маслом масляной пленки и для питания маслом от этой масляной пленки элементов качения со стороны масляной полости для обеспечения их смазки; и вторые средства циркуляции масла, независимые от первых средств, для рекуперации отработанного масла после смазывания элементов качения. Вторые средства циркуляции масла выполнены таким образом, что предотвращают поступление масла к воздушной полости.
Таким образом, первые и вторые независимые средства циркуляции масла позволяют обеспечить одновременно отвод масла, смазывающего элементы качения, и на стороне воздушной полости отвод утечек из масляной пленки. Уплотнение подшипника качения на стороне воздушной полости обеспечивается, с одной стороны, уплотнительными средствами и, с другой стороны, средствами циркуляции масла, которые позволяют рекуперировать большую часть отработанного масла после смазывания элементов качения. Такое уплотнение подшипника качения позволяет упростить выполнение воздушной и масляной полостей.
Первые средства циркуляции масла предпочтительно содержат, по меньшей мере, один первый питающий канал, проходящий насквозь через элемент корпуса и выходящий на уровне кольцевой поверхности контакта для питания маслом масляной пленки между уплотнительными кольцами, и, по меньшей мере, один второй питающий канал, проходящий насквозь через вкладыш и открывающийся на уровне кольцевой поверхности контакта между уплотнительными кольцами.
Второй питающий канал выходит предпочтительно через, по меньшей мере, одну связанную с ним кольцевую канавку к средствам питания маслом элементов качения, обеспечивая смазку элементов качения. Эти средства могут содержать сопловой диск, расположенный на уровне второго бокового окна на стороне масляной полости.
В оптимальном примере выполнения вторые средства циркуляции масла содержат, по меньшей мере, один первый рекуперативный канал, проходящий насквозь через наружную обойму и открывающийся на уровне элементов качения,
по меньшей мере, один второй рекуперативный канал, выполненный во вкладыше, причем этот второй канал сообщается с первым рекуперативным каналом и выходит на уровень кольцевой поверхности контакта за пределами масляной пленки на стороне воздушной полости, и,
по меньшей мере, один третий рекуперативный канал, проходящий насквозь через элемент корпуса, причем этот третий рекуперативный канал открывается на уровне кольцевой поверхности контакта за пределами масляной пленки на стороне воздушной полости и выходит к средствам перекачивания масла. Средства перекачивания позволяют рекуперировать отработанное масло после смазки элементов качения с тем, чтобы отфильтровать его перед повторной подачей в подшипник качения с помощью первых средств циркуляции масла.
Может быть предусмотрено также дополнительное уплотнительное кольцо, расположенное на уровне кольцевой поверхности контакта за пределами второго и третьего рекуперативных каналов на стороне воздушной полости. Это дополнительное уплотнительное кольцо не является обязательным, если средства перекачивания имеют достаточно высокую мощность.
Уплотнительные средства могут содержать уплотнительный диск, прикрепленный к наружной обойме и выступающий своим свободным концом в сторону внутренней обоймы, или же уплотнительный диск, выполненный заодно с наружной обоймой и выступающий в сторону внутренней обоймы посредством, по меньшей мере, одного щеточного уплотнения.
Элементы качения могут быть образованы шариками или роликами.
Перечень Фигур чертежей
Примеры осуществления настоящего изобретения, его дополнительные особенности и преимущества будут подробнее описаны ниже со ссылками на прилагаемые чертежи, на которых:
фиг.1 схематично изображает в продольном разрезе турбореактивный двигатель, показывая размещение различных подшипников качения,
фиг.2 детально изображает шарикоподшипник качения в соответствии с изобретением,
фиг.3 изображает роликоподшипник качения в соответствии с изобретением,
фиг.4 изображает роликоподшипник качения в соответствии с другим вариантом осуществления изобретения.
Сведения, подтверждающие возможность осуществления изобретения.
На фиг.1 представлен турбореактивный двигатель в продольном разрезе. Турбореактивный двигатель содержит соосные передний вал 10 и задний вал 12, соединенные редуктором 14. Валы 10 и 12 несут компрессорные и турбинные лопатки 16 и обеспечивают благодаря наличию редуктора 14 их вращение с различными скоростями. Для восприятия радиальных и осевых нагрузок валы 10 и 12 установлены в подшипниках качения. Так, передний вал 10 снабжен шарикоподшипником 18 (для восприятия осевых нагрузок) и роликоподшипником 20 (для восприятия радиальных нагрузок), расположенным на уровне редуктора 14. Таким же образом задний вал 12 поддерживается на переднем конце шарикоподшипниками 22, 24 и на другом конце – роликоподшипниками 26, 28.
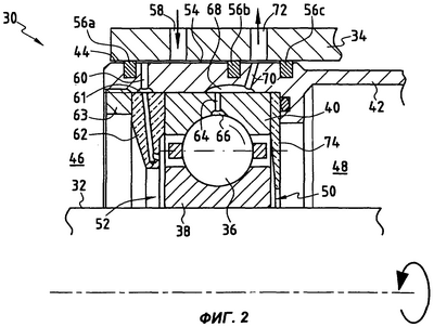
На фиг.2 более подробно показан пример выполнения шарикоподшипника 30 в соответствии с изобретением. Этот подшипник может быть установлен взамен вышеупомянутых шарикоподшипников 18, 22 и 24.
Шарикоподшипник 30 установлен между валом 32 и кольцевым конструктивным элементом 34 корпуса. В типовом исполнении шарикоподшипник 30 содержит множество шариков 36, установленных между внутренними поверхностями внутренней обоймы 38 и наружной обоймы 40, которые образуют беговые дорожки (дорожки качения) для шариков. Между наружной обоймой 40 и элементом 34 корпуса помещен соединительный элемент, или вкладыш 42, также кольцевой формы.
Этот кольцевой вкладыш 42 механически связан с наружной поверхностью наружной обоймы 40 и имеет кольцевую поверхность 44 контакта с кольцевым элементом 34 корпуса. Таким образом, подшипник образует преграду между так называемой “масляной” полостью 46 и так называемой “воздушной” полостью 48. Кроме того, шарики 36, установленные между обоймами 38 и 40, определяют первое боковое окно 50 на стороне воздушной полости 48 и второе боковое окно 52 на стороне масляной полости 46.
Для демпфирования усилий, передаваемых валом 32 на элемент 34 корпуса, подшипник качения снабжен масляной пленкой 54. Эта образующая демпфер масляная пленка 54 расположена на уровне кольцевой поверхности 44 контакта между элементом 34 корпуса и вкладышем 42 и ограничена с боковых сторон уплотнительными кольцами 56а, 56b. Эти уплотнительные кольца 56а, 56b установлены в двух кольцевых канавках (не показаны), проточенных во вкладыше 42 на поверхности 44 контакта с элементом 34 корпуса. Таким образом, масляная пленка 54 заключена между этими уплотнительными кольцами 56а, 56b.
Согласно изобретению первые средства циркуляции масла позволяют питать маслом масляную пленку 54. Для этого, по меньшей мере, один первый питающий канал 58 проходит насквозь через элемент 34 корпуса и заканчивается на уровне поверхности 44 контакта между элементом 34 корпуса и вкладышем 42 между двумя уплотнительными кольцами 56а, 56b. Выше масляной пленки 54 по направлению потока этот первый питающий канал 58 связан с системой каналов и трубопроводов (на чертежах не показана), ведущей к обычной смазочной системе, оснащенной насосом и масляным баком для обеспечения циркуляции масла.
По меньшей мере, один второй питающий канал 60 проходит насквозь через вкладыш 42 и выходит на уровень масляной пленки 54 между двумя уплотнительными кольцами 56а, 56b. Этот второй питающий канал 60 связан, предпочтительно посредством, по меньшей мере, одной кольцевой канавки 61, выполненной во вкладыше 42, со средствами питания маслом шариков 36 для того, чтобы обеспечить смазку шариков с отбором масла от масляной пленки 54. Средства питания маслом шариков 36 могут содержать, например, сопловой диск 62, расположенный на уровне второго бокового окна 52 на стороне масляной полости 46. Как показано на фиг.2, сопловой диск 62 удерживается прижатым к наружной обойме 40 резьбовой стопорной шайбой 63 и продолжается радиально в сторону внутренней обоймы 38. Таким образом, он позволяет впрыскивать масло непосредственно на уровень шариков 36.
Вторые средства циркуляции масла, независимые от первых средств, обеспечивают рекуперацию отработанного масла после смазки шариков 36. По меньшей мере, один первый рекуперативный канал 64 проходит насквозь через наружную обойму 40 и открывается на уровне шариков 36, предпочтительно через, по меньшей мере, одну кольцевую канавку 66, выполненную в наружной обойме. Кроме того, этот первый рекуперативный канал 64 в оптимальном примере выполнения выходит на уровень коллекторной кольцевой канавки 68, выполненной во вкладыше 42. По меньшей мере, один второй рекуперативный канал 70, выполненный во вкладыше 42, открыт в коллекторную кольцевую канавку 68 и выходит на уровень поверхности 44 контакта между элементом 34 корпуса и вкладышем 42 за пределами масляной пленки 54 на стороне воздушной полости 48.
Кроме того, по меньшей мере, один третий рекуперативный канал 72 выполнен в элементе 34 корпуса. Этот третий рекуперативный канал 72 проходит насквозь через указанный элемент и открывается на уровне поверхности 44 контакта между элементом 34 корпуса и вкладышем 42 за пределами масляной пленки 54 на стороне воздушной полости 48. Этот третий рекуперативный канал 72, который связан с системой каналов и трубопроводов, ведущей к средствам перекачивания масла обычной смазочной системы, позволяет собирать и отводить с помощью насоса отработанное масло после смазки шариков 36.
Возможно также, чтобы воздух, поступающий из воздушной полости 48, всасывался и отводился насосом смазочной системы. В этом случае в смазочной системе должно быть предусмотрено устройство деаэрации масла (на чертежах не показано) для отделения воздуха от рекуперированного масла.
Для обеспечения уплотнения шарикоподшипника 30 на стороне воздушной полости 48 уплотнительные средства закрывают, по меньшей мере, часть первого бокового окна 50. Как показано на фиг.2, эти уплотнительные средства могут быть выполнены в виде диска 74, который одним концом прикреплен к наружной обойме 40, а своим противоположным свободным концом выступает в сторону внутренней обоймы 38.
Может быть предусмотрено дополнительное уплотнительное кольцо 56с, расположенное на уровне поверхности 44 контакта между элементом 34 корпуса и вкладышем 42 за пределами второго и третьего рекуперативных каналов 70, 72 на стороне воздушной полости 48. Это дополнительное уплотнительное кольцо 56с позволяет предотвратить поступление масла к воздушной полости 48. Впрочем наличие дополнительного уплотнительного кольца 56с не является обязательным, если насос смазочной системы имеет достаточно высокую мощность для предотвращения течения масла к воздушной полости 48.
На фиг.3 представлен подшипник, выполненный в соответствии с изобретением и использующий ролики 76. Этот подшипник может заменять, например, упомянутые выше роликоподшипники 20, 26 и 28. Роликоподшипник содержит такие же средства циркуляции масла, как те, что были описаны для шарикоподшипника. В показанном примере выполнения представленные вторые средства циркуляции масла содержат, по меньшей мере, два первых рекуперативных канала 64а, 64b, выполненных в наружной обойме 40 и выходящих в кольцевую канавку 68, выполненную во вкладыше 42. Уплотнительные средства на стороне воздушной полости представлены также диском 74, прикрепленным к наружной обойме 40.
На фиг.4 также представлен роликоподшипник 76, выполненный в соответствии с изобретением. В этом примере выполнения уплотнительные средства на стороне воздушной полости образованы уплотнительным диском 74, который выполнен заодно с наружной обоймой 40 и выступает в сторону внутренней обоймы 38 посредством, по меньшей мере, одного щеточного уплотнения 80. Средства циркуляции масла идентичны средствам в примере выполнения по фиг.3.
Формула изобретения
1. Подшипник качения для формирования опоры вала (32) внутри кольцевого элемента (34) корпуса, образующий преграду между масляной полостью (46) и воздушной полостью (48) и содержащий
множество элементов (36, 76) качения, установленных между внутренней обоймой (38) и наружной обоймой (40) и определяющих первое боковое окно (50) на стороне воздушной полости и второе боковое окно (52) на стороне масляной полости,
по меньшей мере, один кольцевой вкладыш (42), механически связанный с наружной обоймой и имеющий кольцевую поверхность (44) контакта с указанным элементом корпуса,
масляную пленку (54), расположенную на уровне кольцевой поверхности контакта между указанным элементом корпуса и указанным вкладышем и ограниченную с боковых сторон уплотнительными кольцами (56а, 56b), и
уплотнительные средства (74, 80), закрывающие, по меньшей мере, часть указанного первого бокового окна на стороне указанной воздушной полости, отличающийся тем, что дополнительно содержит:
первые средства циркуляции масла для питания маслом масляной пленки (54) и для питания маслом от этой масляной пленки элементов (36, 76) качения со стороны масляной полости (46) для обеспечения их смазки, и
вторые средства циркуляции масла, независимые от первых средств, для рекуперации масла после смазывания элементов качения, причем указанные вторые средства циркуляции масла выполнены таким образом, что предотвращают поступление масла к воздушной полости (48).
2. Подшипник по п.1, отличающийся тем, что первые средства циркуляции масла содержат,
по меньшей мере, один первый питающий канал (58), проходящий насквозь через элемент (34) корпуса и выходящий на уровне указанной кольцевой поверхности (44) контакта между указанными уплотнительными кольцами (56а, 56b) для питания маслом указанной масляной пленки (54), и,
по меньшей мере, один второй питающий канал (60), проходящий насквозь через вкладыш (42) и открывающийся на уровне указанной кольцевой поверхности контакта между указанными уплотнительными кольцами.
3. Подшипник по п.2, отличающийся тем, что указанный второй питающий канал (60) выходит к средствам питания маслом элементов (36, 76) качения, обеспечивая смазку указанных элементов качения.
4. Подшипник по п.3, отличающийся тем, что средства питания содержат сопловой диск (62), расположенный на уровне второго бокового окна (52) на стороне указанной масляной полости.
5. Подшипник по любому из пп.2-4, отличающийся тем, что второй питающий канал (60) связан с, по меньшей мере, одной кольцевой канавкой (61), выполненной в указанном вкладыше (42).
6. Подшипник по любому из пп.1-5, отличающийся тем, что указанные вторые средства циркуляции масла содержат,
по меньшей мере, один первый рекуперативный канал (64), проходящий насквозь через наружную обойму (40) и открывающийся на уровне элементов (36, 76) качения,
по меньшей мере, один второй рекуперативный канал (70), выполненный во вкладыше (42), причем этот второй канал сообщается с первым рекуперативным каналом и выходит на уровень кольцевой поверхности (44) контакта за пределами масляной пленки (54) на стороне указанной воздушной полости (48), и,
по меньшей мере, один третий рекуперативный канал (72), проходящий насквозь через указанный элемент (34) корпуса, причем этот третий рекуперативный канал открывается на уровне кольцевой поверхности (44) контакта за пределами указанной масляной пленки на стороне воздушной полости и выходит к средствам перекачивания масла.
7. Подшипник по п.6, отличающийся тем, что содержит дополнительное уплотнительное кольцо (56с), расположенное на уровне кольцевой поверхности (44) контакта за пределами второго и третьего рекуперативных каналов (70, 72) на стороне воздушной полости (48).
8. Подшипник по п.6 или 7, отличающийся тем, что первый рекуперативный канал (64) открыт на уровне элементов (36, 76) качения через, по меньшей мере, одну кольцевую канавку (66), выполненную в наружной обойме (40).
9. Подшипник по любому из пп.6-8, отличающийся тем, что первый и второй рекуперативные каналы (64, 70) сообщаются между собой посредством, по меньшей мере, одной кольцевой канавки (68), выполненной во вкладыше (42).
10. Подшипник по любому из пп.1-9, отличающийся тем, что уплотнительные средства содержат уплотнительный диск (74), прикрепленный к наружной обойме (40) и выступающий своим противоположным свободным концом в сторону внутренней обоймы (38).
11. Подшипник по любому из пп.1-9, отличающийся тем, что указанные средства содержат уплотнительный диск (74), выполненный заодно с наружной обоймой (40) и выступающий в сторону внутренней обоймы (38) посредством, по меньшей мере, одного щеточного уплотнения (80).
12. Подшипник по любому из пп.1-11, отличающийся тем, что элементы качения представляют собой шарики (36).
13. Подшипник по любому из пп.1-11, отличающийся тем, что элементы качения представляют собой ролики (76).
РИСУНКИ
PD4A – Изменение наименования обладателя патента СССР или патента Российской Федерации на изобретение
(73) Новое наименование патентообладателя:
СНЕКМА (FR)
Адрес для переписки:
191186, Санкт-Петербург, а/я 230, АРС-ПАТЕНТ
Извещение опубликовано: 20.02.2009 БИ: 05/2009
|
|