|
(21), (22) Заявка: 2005123138/03, 20.07.2005
(24) Дата начала отсчета срока действия патента:
20.07.2005
(30) Конвенционный приоритет:
21.07.2004 (пп.1-20) US 10/710,564
(43) Дата публикации заявки: 10.02.2007
(46) Опубликовано: 10.11.2007
(56) Список документов, цитированных в отчете о поиске:
SU 1771508 A3, 23.10.1992. RU 2162514 C1, 27.01.2001. RU 2114984 С1, 10.07.1998. RU 2211313 C1, 27.08.2003. RU 2131512 С1, 10.06.1999. RU 2225940 C1, 20.03.2004. RU 2179629 C1, 20.02.2002. US 4253523 A, 03.03.1981. US 5355802 A, 18.10.1994. US 5775426 A, 07.07.1998.
Адрес для переписки:
129010, Москва, ул. Б.Спасская, 25, стр.3, ООО “Юридическая фирма Городисский и Партнеры”, пат.пов. С.А.Дорофееву
|
(72) Автор(ы):
РАТАНАСИРИГУЛЧАИ Ванчаи (CN), БЕРМАНН Лоуренс А. (US), МАРТИН Эндрю Дж. (GB), ГУДМЭН Кеннет Р. (US)
(73) Патентообладатель(и):
ШЛЮМБЕРГЕР ТЕКНОЛОДЖИ Б.В. (NL)
|
(54) СПОСОБ И УСТРОЙСТВА ДЛЯ СОЗДАНИЯ В СТВОЛЕ СКВАЖИНЫ СОСТОЯНИЯ ПЕРЕХОДНОГО ДАВЛЕНИЯ
(57) Реферат:
Изобретение относится к улучшению сообщения пласта со стволом скважины. Обеспечивает повышение эффективности способа и устройств. По способу приводят в действие первый компонент в инструментальной колонне для создания состояния переходного депрессионного давления на интервале ствола скважины. Приводят в действие второй компонент в инструментальной колонне для создания состояния переходного репрессионного давления на интервале ствола скважины до создания переходного депрессионного давления приведением в действие первого компонента. Устройство по первому варианту содержит твердое топливо, имеющее множество полостей, и взрывные устройства, установленные в полостях. Устройство по второму варианту содержит ленту, взрывные устройства, закрепленные на ленте, вставки твердого топлива, расположенные между взрывными устройствами, и детонирующий шнур баллистическим способом соединенный со взрывными устройствами и вставками твердого топлива. Инструментальная колонна содержит несущий элемент с размещенными в нем взрывными устройствами, приводимыми в действие для создания отверстий в несущем элементе для создания переходного депрессионного давления, и второй компонент, включающий твердое топливо для создания состояния переходного репрессионного давления до создания переходного депрессионного давления. 4 н. и 16 з.п. ф-лы, 10 ил.
Настоящее изобретение относится к улучшению сообщения пласта со стволом скважины.
Для закачивания скважины одну или несколько пластовых зон, прилегающих к стволу скважины, перфорируют для обеспечения возможности протекания текучей среды из пластовых зон в скважину с целью выпуска на поверхность или для обеспечения возможности закачивания подаваемых текучих сред в пластовые зоны. Колонна стреляющих перфораторов может быть спущена в скважину, а перфораторы подорваны для создания отверстий в обсадной колонне и для распространения перфорационных отверстий в окружающий пласт.
Вследствие взрывного происхождения перфорационных каналов в пласте песчаные зерна пласта дробятся. Слой «поврежденного ударом участка», имеющий меньшую проницаемость по сравнению с проницаемостью невскрытой основной массой породы пласта, может образоваться вокруг каждого перфорационного канала. Кроме того, в результате этого процесса может образоваться канал, заполненный обломками горных пород, смешанными с продуктами взрыва перфоратора. Распространение повреждения и количество сыпучей горной породы в канале могут определяться различными факторами, в том числе свойствами пласта, свойствами заряда взрывчатого вещества, состояниями давления, свойствами текучей среды и т.д. Поврежденный ударом участок и сыпучая горная порода в перфорационных каналах могут ухудшать продуктивность эксплуатационных скважин или приемистость нагнетательных скважин.
Один популярный способ получения чистых перфорационных отверстий заключается в перфорировании на депрессии. Перфорирование осуществляют при меньшем давлении в стволе скважины по сравнению с пластовым давлением. Выравнивание давлений достигается протеканием текучей среды из пласта в ствол скважины. Потоком текучей среды переносится некоторая часть частиц поврежденной породы. Однако перфорирование на депрессии не всегда может быть эффективным, а в определенных скважинных условиях может быть дорогостоящим и небезопасным в осуществлении.
Гидравлический разрыв пласта для обхода поврежденных и закупоренных перфорационных отверстий может быть другим факультативным способом. Однако гидравлический разрыв представляет собой относительно дорогостоящую операцию. Кроме того, в случае низкого исходного давления гидравлического разрыва (одного из непременных условий качественной операции по гидравлическому разрыву) требуются неповрежденные перфорационные отверстия. Кислотная обработка, другой способ, широко используемый для устранения повреждения перфорационных отверстий, является менее эффективной при устранении повреждения перфорационных отверстий или для удаления песка и сыпучей горной породы, оставшихся в перфорационном канале. Кроме того, наличие неповрежденных перфорационных отверстий предполагает более качественную основную массу породы или более качественную операцию по гидравлическому разрыву кислотой в карбонатном пласте.
Известен способ создания в стволе скважины состояния переходного давления, при котором спускают инструментальную колонну на интервал ствола скважины, приводят в действие первый компонент в инструментальной колонне, которым является имплозионная камера, в которую проходит текучая пластовая среда при открытии клапана для создания состояния переходного депрессионного давления на интервале ствола скважины, приводят в действие второй компонент в инструментальной колонне, которым является пороховой заряд, сгорающий с образованием газа, для создания состояния переходного репрессионного давления на интервале ствола скважины до создания переходного депрессионного давления приведением в действие первого компонента (см. патент России 2162514).
Известна инструментальная колонна, состоящая из вышеуказанных первого и второго компонентов (см. патент России 2162514).
Известно устройство для создания в стволе скважины состояния переходного давления, содержащее взрывные устройства, вставки твердого топлива, расположенные между взрывными устройствами, и детонирующий шнур (см. патент США 5355802, 1994).
Целью настоящего изобретения является создание способа и устройства для улучшения сообщения ствола скважины с коллекторами в пластах.
Согласно изобретению создан способ создания в стволе скважины состояния переходного давления, при котором спускают инструментальную колонну на интервал ствола скважины, приводят в действие первый компонент в инструментальной колонне, содержащий корпус с размещенным в нем по меньшей мере одним зарядом взрывчатого вещества, посредством инициирования по меньшей мере одного заряда взрывчатого вещества для создания отверстий в корпусе, чтобы открыть камеру в корпусе для скважинных текучих сред для создания состояния переходного депрессионного давления на интервале ствола скважины, приводят в действие второй компонент в инструментальной колонне, содержащий несущий корпус с твердым топливом, для создания состояния переходного репрессионного давления на интервале ствола скважины до создания переходного депрессионного давления приведением в действие первого компонента.
Приведение в действие второго компонента может инициировать твердое топливо во втором компоненте.
Инициирование твердого топлива во втором компоненте можно осуществлять вместе с подрывом взрывных устройств во втором компоненте.
В качестве взрывных устройств можно использовать кумулятивные заряды. Подрыв кумулятивных зарядов может приводить к перфорированию отверстий в несущем корпусе.
При инициировании по меньшей мере одного заряда взрывчатого вещества можно приводить в действие детонирующий шнур.
В способе можно дополнительно использовать капсульный стреляющий перфоратор, соединенный с несущим корпусом и приводимый в действие детонирующим шнуром.
В способе можно дополнительно обеспечивать, используя реле времени, один интервал из миллисекунд, секунд и минут между состояниями переходного депрессионного и репрессионного давления.
В способе можно дополнительно обеспечивать интервал из микросекунд между состояниями переходного депрессионного и репрессионного давления.
Согласно изобретению создано устройство для создания в стволе скважины состояния переходного давления, содержащее твердое топливо, имеющее множество полостей, и взрывные устройства, установленные в полостях, при этом сгорание топлива приводит к образованию газа высокого давления в интервале ствола скважины.
Взрывные устройства могут содержать кумулятивные заряды.
Устройство может дополнительно содержать детонирующий шнур, баллистическим способом соединенный со взрывными устройствами и приводимый в действие для детонации взрывных устройств и инициирования твердого топлива.
В другом варианте устройство для создания в стволе скважины состояния переходного давления содержит ленту, взрывные устройства, закрепленные на ленте, вставки твердого топлива, расположенные между взрывными устройствами, и детонирующий шнур, баллистическим способом соединенный с взрывными устройствами и вставками твердого топлива.
Взрывные устройства могут содержать кумулятивные заряды.
Взрывные устройства могут быть размещены по спирали.
Согласно изобретению создана инструментальная колонна, содержащая первый компонент, имеющий несущий элемент с размещенными в нем взрывными устройствами, приводимыми в действие для создания отверстий в несущем элементе для прохождения скважинного давления в камеру низкого давления несущего элемента и создания переходного депрессионного давления на интервале ствола скважины, ближайшем к инструментальной колонне, и второй компонент, включающий твердое топливо, инициируемое для образования газа высокого давления на интервале ствола скважины для создания состояния переходного репрессионного давления на участке ствола скважины до создания переходного депрессионного давления.
Твердое топливо может иметь полости, и второй компонент может содержать взрывные устройства, установленные в полостях.
Взрывные устройства могут содержать кумулятивные заряды.
Второй компонент может дополнительно содержать камеру давления для газа высокого давления, образованного при инициировании твердого топлива, и разрывной элемент, выполненный с возможностью его разрывания давлением в камере давления.
Второй компонент может дополнительно содержать вентиляционный узел, имеющий по меньшей мере одно отверстие для выпуска газа высокого давления из камеры давления.
Другие или альтернативные признаки станут очевидными из нижеследующего описания со ссылками на чертежи, на которых показано следующее:
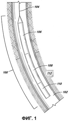
фиг.1 изображает вид инструментальной колонны согласно нескольким вариантам осуществления изобретения, предназначенной для создания состояний переходных депрессионных и/или репрессионных давлений на интервале ствола скважины;
фиг.2 – вид с пространственным разделением деталей части инструментальной колонны из фиг.1;
фиг.3 – вид стреляющего перфоратора согласно варианту осуществления изобретения;
фиг.4 – вид скважинного инструмента согласно другому варианту осуществления изобретения;
фиг.5-7 – временные диаграммы для иллюстрации создания состояний переходных депрессионных и репрессионных давлений в стволе скважины;
фиг.8 и 9 – виды скважинных инструментов согласно другим вариантам осуществления для создания состояния переходной депрессии; и
фиг.10 – вид скважинного инструмента согласно варианту осуществления, предназначенного для создания управляемого состояния переходной репрессии.
Подробное описание
В нижеследующем описании многочисленные подробности изложены для обеспечения понимания настоящего изобретения. Однако специалистам в данной области техники должно быть понятно, что настоящее изобретение может быть использовано без этих подробностей и что возможны многочисленные варианты или модификации описанных осуществлений.
Для целей настоящей заявки термины «вверх» и «вниз»; «верхний» и «нижний»; «наверху» и «внизу»; «выше по потоку» и «ниже по потоку»; «выше» и «ниже» и тому подобные термины, указывающие на относительные положения выше или ниже определенного места или элемента, использованы в этом описании для большей ясности описанных нескольких вариантов осуществления изобретения. Однако применительно к оборудованию и к способам, предназначенным для использования в скважинах, которые являются искривленными или горизонтальными, такие термины в зависимости от ситуации могут означать «слева направо», «справа налево» или другое взаимоотношение.
Согласно нескольким вариантам осуществления изобретения для улучшения сообщения пластовых текучих сред со стволом скважины создают состояния переходных репрессионных и депрессионных давлений в стволе скважины. Оператор скважины может управлять последовательностью состояний депрессии и репрессии, чтобы осуществлять необходимую очистку и/или выполнять задачи возбуждения скважины на одном или нескольких интервалах ствола скважины.
Существуют несколько потенциальных механизмов повреждения продуктивного пласта вследствие перфорирования, влияющего на продуктивность пласта и приемистость скважины. Одним может быть наличие после перфорирования слоя песчаных зерен с низкой проницаемостью (зерен, которые раздроблены кумулятивным зарядом взрывчатого вещества). Поскольку добываемая текучая среда из пласта может пройти через эту зону с низкой проницаемостью, то может произойти более значительное, чем ожидаемое, падение давления, приводящее к более низкой продуктивности. Второе повреждение основного вида может возникать из-за образованной перфорированием сыпучей породы и продуктов взрыва перфоратора, которые заполняют перфорационные каналы. Из-за наличия обломков породы в перфорационных каналах может понизиться продуктивность и приемистость (например, в процессе гравийной набивки, нагнетания и т.д.). Повреждение еще одного вида обусловлено частичным раскрытием перфорационных отверстий. Распределение неодинаковых по размерам зерен может быть причиной закупоривания некоторых из этих перфорационных отверстий (вследствие образования перемычки на участке обсадная колонна/цемент перфорационного канала), что может привести к снижению продуктивности и приемистости.
Для решения этих проблем давлением на интервале ствола скважины управляют по отношению к пластовому давлению для достижения удаления обломков породы из перфорационных каналов. Управление давлением включает создание состояния переходной депрессии (скважинное давление ниже пластового давления) или создание состояния репрессионного давления (когда скважинное давление выше пластового давления) до детонирования кумулятивных зарядов стреляющего перфоратора или твердого топлива. Состояние депрессии можно создать несколькими различными способами, например путем использования камеры низкого давления, которую открывают для создания состоянии переходной депрессии, путем использования откачанного пространства в стреляющем перфораторе для втягивания давления в перфоратор сразу после подрыва кумулятивных зарядов и другими способами (рассмотренными дополнительно ниже).
Состояние репрессии можно создать путем использования твердого топлива (при инициировании которого происходит накопление газа высокого давления), камеры под высоким давлением или других средств.
Управление состояниями скважинного давления обуславливает осуществление по меньшей мере одного из следующих факторов: (1) улучшение перемещения обломков породы (таких как песок, частицы породы и т.д.) из перфорационных каналов; (2) воздействие на пласт вблизи ствола скважины; и (3) выполнение разрыва окружающего пласта.
В соответствии с несколькими вариантами осуществления изобретения последовательностью создаваемых состояний депрессионных и репрессионных давлений может управлять оператор скважины. Например, оператор скважины может осуществить создание переходной депрессии с последующим состоянием переходной репрессии. В качестве альтернативы оператор скважины может начать с состояния переходной репрессии, за которым следует состояние переходной депрессии. В еще одной последовательности действий оператор скважины может создать состояние первой переходной депрессии с последующим состоянием большей переходной депрессии, за которым следует состояние переходной репрессии и т.д. В соответствии с потребностями оператора скважины пользователем может быть задана любая последовательность состояний переходных депрессионных и репрессионных давлений.
На фиг.1 показана инструментальная колонна 100, которая спущена на интервал ствола 102 скважины. Инструментальную колонну 100 спускают в ствол 102 скважины с помощью несущего устройства 104, такого как каротажный кабель, тонкий кабель-трос, гибкая труба малого диаметра или другое несущее устройство. Инструментальная колонна 100 включает несколько компонентов, в том числе первый компонент 106 (называемый «создающим депрессионное давление компонентом») для создания в стволе 102 скважины состояния переходного депрессионного давления, второй компонент 108 (называемый «создающим репрессионное давление компонентом») для создания состояния переходного репрессионного давления и стреляющий перфоратор 110 для образования перфорационных отверстий в окружающем пласте 112. Отметим, что стреляющий перфоратор 110 может быть объединен с создающим депрессионное давление компонентом 106 или с создающим репрессионное давление компонентом 108. В других вариантах осуществления стреляющий перфоратор 110 может быть исключен или заменен другим скважинным инструментом.
Сначала для создания состояния депрессионного давления в действие может быть приведен первый компонент 106 с последующим приведением в действие второго компонента 108 для создания состояния репрессионного давления. В некоторых ситуациях второй компонент 108 может быть приведен в действие в то время, когда еще существует состояние депрессионного давления. В противоположность указанному сначала может быть приведен в действие второй компонент 108 для создания состояния репрессионного давления с последующим приведением в действие первого компонента 106 для создания состояния депрессионного давления. В некоторых ситуациях первый компонент 106 может быть приведен в действие в то время, когда еще существует состояние репрессионного давления.
Использованный в настоящей заявке «компонент» может обозначать единственный модуль или сборку модулей. Поэтому, например, создающий депрессионное давление компонент может включать модуль низкого давления (такой как откачанная камера), второй модуль, содержащий взрывные устройства, и другие модули (такие как соединительные модули для соединения с другими частями инструментальной колонны). Модули могут быть самостоятельными изделиями или встроенными в единственный скважинный инструмент.
Для создания состояния депрессионного давления на интервале ствола скважины оператор скважины посылает управляющий сигнал (который может быть электрическим сигналом, оптическим сигналом, сигналом в виде импульса давления, механическим сигналом, гидравлическим сигналом и т.д.), чтобы привести в действие создающий депрессионное давление компонент 106. После того как на интервале ствола скважины состояние депрессии создано, выполняют скважинную задачу (такую как задача перфорирования). Далее оператор скважины может побудить создающий репрессионное давление компонент 108 создать состояние репрессии на интервале ствола скважины. Состояние репрессии может привести к возникновению достаточного давления для того, чтобы вызвать разрыв окружающего пласта или иным образом воздействовать на него (например, после того как перфорационные каналы распространены в пласт 112 посредством стреляющего перфоратора 110).
Хотя ниже описано несколько конкретных вариантов осуществления компонентов, для достижения желаемого результата в настоящем изобретении можно использовать другие компоненты и способы. На фиг.2 показан компонент 200, который пригоден к использованию совместно с инструментальной колонной 100, изображенной на фиг.1. Компонент 200 может любым одним, выбранным из компонентов 106, 108 или 110 в инструментальной колонне 100, показанной на фиг.1. Компонент 200 включает узел 202 верхней головки для прикрепления к другой части инструментальной колонны выше компонента 200 и узел 204 нижней головки для прикрепления компонента 200 к части инструментальной колонны ниже компонента 200. Между верхним и нижним узлами 202 и 204 закреплен несущий элемент 206.
Несущий элемент 206 представляет собой полый корпус, в котором может размещаться либо твердотопливная зарядная трубка 208, либо обычная зарядная трубка 210. Обычная зарядная трубка 210 может содержать кумулятивные заряды, которые расположены на местах, соответствующих отверстиям 212 в зарядной трубке 210. При инициировании кумулятивные заряды создают перфорирующие струи, выстреливающиеся через соответствующие отверстия 212. В показанном варианте осуществления зарядная трубка 210 имеет в целом цилиндрическую форму. В других вариантах осуществления зарядная трубка 210 может иметь другие формы, в том числе нецилиндрические формы.
Твердотопливная зарядная трубка 208 представляет собой кусок твердого химического топлива, которому предварительно придана цилиндрическая форма (в соответствии с одним примером осуществления) или иная форма. Твердое топливо имеет полости для размещения кумулятивных зарядов 214. Поэтому фактически твердое топливо представляет собой зарядную трубку, которая имеет полости для размещения кумулятивных зарядов 214. В такой конструкции зарядная трубка образована твердым топливом вместо более привычного металлического корпуса. Если в несущем элементе 206 предусмотрена твердотопливная зарядная трубка 208, то подрыв кумулятивных зарядов 214 также вызовет воспламенение твердого топлива. Горение твердого топлива обуславливает накопление газа высокого давления.
В рабочем состоянии детонирующий шнур (или детонатор другого типа) баллистическим способом соединен с кумулятивными зарядами 214 твердотопливной зарядной трубки 208. Детонирующий шнур или другой детонатор также баллистическим способом соединен с твердым топливом. Поджигание верхней части вызывает инициирование детонирующего шнура (или другого детонатора), который, в свою очередь, вызывает инициирование твердого топлива и кумулятивных зарядов 214. После подрыва кумулятивных зарядов 214 выбрасываются перфорирующие струи, которые пробивают соответствующие отверстия в несущем элементе 206. Перфорирующие струи проходят через любую обсадную колонну или хвостовик, который установлен в стволе 102 скважины, и распространяют перфорационные отверстия дальше в окружающий пласт 112. В это время, после подрыва кумулятивных зарядов 214, твердое топливо продолжает гореть, что вызывает накопление газа высокого давления на интервале ствола скважины. Накопление газа высокого давления приводит к возникновению состояния репрессии на интервале ствола скважины.
Горение твердого топлива может вызвать повышение давления до уровня, достаточного высокого для разрыва пласта. Разрыв пласта обеспечивает возможность лучшего движения пластовых текучих сред из пласта в ствол скважины или нагнетания скважинных текучих сред в окружающий пласт.
В альтернативном варианте осуществления вместо кумулятивных зарядов 214, перфорирующие струи которых могут проходить через окружающую обсадную колонну/хвостовик, могут быть использованы меньшие кумулятивные заряды, которые имеют достаточную энергию для перфорирования отверстий в несущем элементе 206 (но не приводят к перфорации окружающей обсадной колонны/хвостовика в пласте). В этом случае перфорационные отверстия не создаются в пласте 112, а вместо этого отверстия создаются в несущем элементе 206, чтобы при горении твердого топлива обеспечивалась возможность нарастания давления для достижения состояния репрессии. В этом альтернативном варианте осуществления кумулятивные заряды называются «пробойниками» или «пробойными зарядами», поскольку заряды могут пробивать несущий элемент 206 без просечки окружающего хвостовика или обсадной колонны.
Кумулятивные заряды в обычной зарядной трубке 210 инициируют аналогичным образом с помощью детонирующего шнура или другого детонатора, чтобы вызвать образование перфорирующих струй, которые проходят через отверстия 212 зарядной трубки 210. Перфорирующие струи также создают отверстия в несущем элементе 206. Различие заключается в том, что в обычной зарядной трубке 210 твердое топливо не сжигается, так что при инициировании кумулятивных зарядов в зарядной трубке 210 нарастания давления газа не происходит.
На фиг.3 показана конструкция другого стреляющего перфоратора 300, который может быть использован в качестве стреляющего перфоратора 110 из фиг.1. Стреляющий перфоратор 300 включает несущую ленту 302, на которой закреплены кумулятивные заряды 304. Как показано, кумулятивные заряды 304 размещены по спирали. Детонирующий шнур 306 проходит по длине стреляющего перфоратора 300 в основном по спиральной траектории для обеспечения возможности баллистического соединения детонирующего шнура 306 с каждым из кумулятивных зарядов 304.
В варианте осуществления, показанном на фиг.3, кумулятивные заряды 304 представляют собой капсульные кумулятивные заряды, которые включают герметичные капсулы для размещения кумулятивного заряда внутри каждой герметичной капсулы. Капсульные кумулятивные заряды 304 не содержатся внутри герметичного несущего корпуса перфоратора (такого как несущий элемент 206), а точнее капсульные кумулятивные заряды могут подвергаться воздействию скважинных текучих сред.
В дополнение к этому элементы 308 твердого топлива в виде вставок расположены в промежутках, имеющихся между капсульными кумулятивными зарядами 304 и около капсульных зарядов 304. Элементы 308 твердого топлива инициируются в ответ на детонационную волну, проходящую по детонирующему шнуру 306. И в данном случае опять инициирование кумулятивных зарядов 304 также вызывает инициирование вставок 308 твердого топлива с накоплением газа высокого давления и созданием состояния репрессии на интервале ствола скважины.
На фиг.4 показана инструментальная колонна согласно другому варианту осуществления изобретения. Инструментальная колонна 400 включает несколько секций 402А, 402В, 402С, 402D и 402Е. Секция 402А включает модуль 404 управления и модуль 406 перфоратора и твердого топлива. Модуль 406 перфоратора и твердого топлива включает кумулятивные заряды и элементы твердого топлива. Например, модуль 406 перфоратора и твердого топлива может быть стреляющим перфоратором 300 (фиг.3) или твердотопливной зарядной трубкой 208, установленной в несущем элементе 206 (фиг.2).
Вторая секция 402В включает модуль 408 управления и стреляющий перфоратор 410. Во второй секции 402В твердое топливо не размещено. Однако стреляющий перфоратор 410 может иметь откачанное пространство относительно большой величины. Откачанное пространство (пространство помимо кумулятивных зарядов, основной внутренней части и других деталей стреляющего перфоратора 410) исходно герметизировано от скважинного давления. После подрыва кумулятивных зарядов в герметичном корпусе стреляющего перфоратора 410 образуются отверстия. После детонации кумулятивных зарядов горячий детонационный газ заполняет внутреннюю камеру перфоратора 410. Если результирующее давление детонационного газа ниже скважинного давления, то более холодные скважинные текучие среды втягиваются в корпус перфоратора. Вследствие большого ускорения при протекании через перфорационные отверстия в корпусе перфоратора текучая среда разбивается на капли, и это приводит к быстрому охлаждению газа. Поэтому быстрая потеря давления в перфораторе, которая приводит к быстрому отводу скважинной текучей среды, вызывает падение скважинного давления. Падение скважинного давления создает состояние депрессии на нужном интервале ствола скважины.
Следующая секция 402С в инструментальной колонне 400 включает модуль 412 управления и модуль 414 перфоратора и твердого топлива. Модуль 414 перфоратора и твердого топлива может быть аналогичен модулю 406 перфоратора и твердого топлива (содержащему кумулятивные заряды, которые могут распространять перфорационные отверстия в окружающий пласт), или модуль 414 перфоратора и твердого топлива может включать меньшие кумулятивные заряды, которые рассчитаны на перфорирование отверстий в корпусе модуля 414, но не обладают достаточной энергией для распространения перфорационных отверстий в окружающий пласт.
Следующая секция 402D инструментальной колонны 400 включает модуль 416 управления и модуль 418 перфоратора. Модуль 418 перфоратора может быть аналогичен модулю 410 перфоратора. Еще одна секция 402Е включает модуль 420 управления и модуль 422 перфоратора и твердого топлива, который также включает кумулятивные заряды и элементы твердого топлива. Отметим, что секции 402А, 402С и 402Е при приведении в действие вызывают состояния репрессии на интервалах ствола скважины, близких к соответствующим секциям 402А, 402В и 402С. Каждая из секций 402В и 402D способна создать состояния депрессии на интервалах ствола скважины, близких к этим секциям.
Последовательность модулей, показанных на фиг.4, является одним из примеров последовательности. В других вариантах осуществления может быть использована другая последовательность модулей. Кроме того, порядок, в котором модули приводятся в действие, также может задаваться оператором скважины. Приведением в действие каждой секции 402 управляет соответствующий модуль управления. В нескольких вариантах осуществления каждый из модулей управления может включать в себя реле времени, которое при приведении в действие создает задержку на некоторый заданный момент времени до приведения в действие секции.
На фиг.5 представлена временная диаграмма, иллюстрирующая последовательность состояний переходных давлений, создаваемых на интервале ствола скважины путем приведения в действие различных модулей инструментальной колонны, например инструментальной колонны 400 (фиг.4) или инструментальной колонны 100 (фиг.1). Согласно фиг.5 сначала подрывают стреляющий перфоратор (что вначале вызывает состояние 450 относительно небольшой переходной репрессии, создаваемой на интервале ствола скважины). Далее давление падает обратно до нормального давления в стволе скважины, которое вследствие наличия перфорационных отверстий в окружающем пласте равно пластовому давлению.
Затем, в случае если инициируют твердое топливо, создается состояние 452 большей репрессии (с более высоким давлением, чем состояние 450 репрессии). После сжигания твердого топлива давление падает обратно вниз до нормального скважинного давления. Затем приводят в действие стреляющий перфоратор, который включает в себя модуль для создания состояния переходной депрессии, создающий состояние 454 переходной депрессии. Модулем может быть полый несущий элемент, содержащий газ низкого давления, при открывании которого (например, при подрыве кумулятивных зарядов) происходит (как описано выше) падение окружающего давления. По окончании действия этого модуля скважинное давление возвращается почти к нормальному скважинному давлению. Затем в ответ на инициирование другого твердого топлива на интервале ствола скважины создается состояние 456 переходной репрессии. Следовательно, на фиг.5 последовательность состояний репрессии и депрессии следующая: первая репрессия, вторая репрессия, депрессия и третья репрессия.
На фиг.6 показана другая последовательность состояний репрессии и депрессии. После первоначального инициирования стреляющего перфоратора, который объединен с создающим депрессионное давление модулем, создается состояние 460 переходной депрессии. Затем после возврата интервала ствола скважины к нормальному скважинному давлению инициируют твердое топливо для создания состояния 462 репрессии. В дальнейшем создают дополнительные состояния 464 и 468 депрессии и состояния 466 и 470 репрессии.
На фиг.7 показана еще одна последовательность состояний депрессии и состояний репрессии. Отметим, что на фиг.5-7 показано несколько примерных последовательностей. Возможны многие другие последовательности состояний депрессии и репрессии.
Если в скважинных инструментах согласно нескольким вариантам осуществления предусмотрены реле времени, то интервалы между различными состояниями давления, показанными на фиг.5-7, могут быть порядка миллисекунд, секунд или даже минут. Если реле времени не предусмотрены, то интервалы между различными состояниями давления на фиг.5-7 могут быть порядка микросекунд.
На фиг.8 показан скважинный инструмент для создания состояния депрессии согласно одному варианту осуществления. Отметим, что скважинный инструмент из фиг.8 может быть использован как часть инструментальной колонны, показанной на фиг.1. Скважинный инструмент из фиг.8 включает атмосферный контейнер 510А, используемый вместе со стреляющим перфоратором 530. В осуществлении из фиг.8 контейнер 510А (который в одном варианте осуществления может быть одноразового применения) разделен на две части, первая часть находится выше стреляющего перфоратора 530, а вторая часть находится ниже стреляющего перфоратора 530. Контейнер 510А содержит газ низкого давления (например, воздух, азот и т.д.) или другую сжимаемую текучую среду.
Контейнер 510А имеет несколько окон 516А, которые выполнены с возможностью открывания взрывной силой, например взрывной силой, обусловленной инициированием детонирующего шнура 520А или детонацией зарядов взрывчатого вещества, соединенных с детонирующим шнуром 520А. Кроме того, детонирующий шнур соединен с кумулятивными зарядами 532 в стреляющем перфораторе 530. Как показано в одном варианте осуществления стреляющий перфоратор 530 может быть ленточным перфоратором, в котором капсульные кумулятивные заряды закреплены на несущем элементе 534. Такой стреляющий перфоратор 530 также называется капсульным стреляющим перфоратором. В альтернативных вариантах осуществления кумулятивные заряды 532 могут быть бескапсульными кумулятивными зарядами, которые заключены в герметичный контейнер.
В альтернативных вариантах осуществления отверстия 516А могут включать клапан или другой элемент, который может быть открыт для обеспечения возможности сообщения с внутренней частью контейнера 510А. После открывания отверстий 516А создается выброс текучей среды во внутреннюю камеру атмосферного контейнера 510А.
Выброс текучей среды может производиться относительно быстро после перфорирования. Например, выброс текучей среды может быть произведен не позднее примерно одной минуты после перфорирования. В других вариантах осуществления скачок давления может быть произведен не позднее (раньше или точно) примерно 10 с, одной секунды или, например, 100 мс или 10 мс после перфорирования. При использовании реле времени в скважинном приборе временная задержка может быть задана.
На фиг.9 показан еще один вариант осуществления, предназначенный для создания состояния депрессии по время выполнения операции перфорирования. Стреляющий перфоратор 700 включает корпус 702 перфоратора и несущий канат 704, который может быть тонким кабелем-тросом, каротажным кабелем или гибкой трубой малого диаметра. В одном варианте осуществления стреляющий перфоратор 700 представляет собой полый несущий перфоратор, имеющий кумулятивные заряды 714 внутри камеры 718 герметичного корпуса 716. При использовании конструкции из фиг.9 стреляющий перфоратор 702 спускают через насосно-компрессорную трубу 706. Пакер (непоказанный) может быть расположен вокруг насосно-компрессорной трубы 706 для изоляции интервала 712 (называемого «интервалом 712 перфорирования»), на котором должен подрываться стреляющий перфоратор 700. На интервале 712 перфорирования действует давление РW.
Во время детонации кумулятивных зарядов 714 в результате действия перфорирующих струй, создаваемых кумулятивными зарядами 714, в корпусе 702 образуются перфорационные отверстия 720. Во время детонации кумулятивных зарядов 714 горячий газ заполняет внутреннюю камеру 718 перфоратора 716. Если результирующее давление PG детонационного газа меньше по сравнению со скважинным давлением РW на заданную величину, то более холодные скважинные текучие среды будут втягиваться в камеру 718 перфоратора 702. При быстром ускорении скважинные текучие среды, проходящие через перфорационные отверстия 720, будут разбиваться на капли, приводя в результате к быстрому охлаждению газа внутри камеры 718. Получающееся в результате быстрое падение давления в перфораторе и еще более быстрый отвод скважинной текучей среды в камеру 718 вызывают падение скважинного давления PW. В зависимости от абсолютных давлений это падение давления может быть достаточным для создания состояния относительно большой депрессии (например, больше чем 2000 фунтов/дюйм2) даже в скважине с исходной значительной репрессией (например, около 500 фунтов/дюйм2). Состояние депрессии зависит от значения давления PG детонационного газа в сопоставлении со скважинным давлением PW.
При подрыве стреляющего перфоратора детонационный газ значительно горячее, чем скважинная текучая среда. Если холодные скважинные текучие среды, которые втягиваются в перфоратор, вызывают быстрое охлаждение горячего газа, то объем газа будет относительно быстро сокращаться, в результате чего снижается давление, что способствует втягиванию еще большего количества скважинных текучих сред в перфоратор. Например, охлаждение газа может происходить в течение периода времени, составляющего несколько миллисекунд. При отводе скважинных жидкостей (которые имеют небольшую сжимаемость) из интервала 712 перфорирования скважинное давление PW может упасть на относительно большую величину (составляющую несколько тысяч фунтов/дюйм2).
В соответствии с несколькими вариантами осуществления для получения желаемой разности между значениями двух давлений PW и PG регулируют различные параметры. Например, значение давления PG детонационного газа можно скорректировать зарядом взрывчатого вещества или путем изменения объема камеры 718, или путем изменения площади отверстия (отверстий) в камере 718. Значение скважинного давления PW можно скорректировать путем нагнетания во всю скважину или в изолированную секцию скважины, или путем динамического повышения скважинного давления на локальном уровне.
На фиг.10 показан вариант осуществления скважинного инструмента 600 (пригодного к использованию в инструментальной колонне из фиг.1), который может быть использован для создания состояния репрессионного давления с целью возбуждения интервала ствола скважины. Скважинный инструмент 600 включает в себя твердое топливо 602 и камеру 604 давления. Камера 604 давления используется для сбора газообразных побочных продуктов, образующихся при инициировании твердого топлива 602. Скважинный инструмент 600 также включает разрывной элемент 606 (например, разрывной диск) на одном конце камеры 604 давления. Скважинный инструмент 600 также включает в себя вентиляционный узел 608, прикрепленный к камере 604 давления. Вентиляционный узел 608 снабжен многочисленными отверстиями 610.
В процессе работы при инициировании твердого топлива 602 газ высокого давления собирается в камере 604 давления. Когда давление в камере 604 давления достигает достаточно высокого уровня, разрывной элемент 606 разрывается. При разрывании разрывного элемента 606 давление газа в камере 604 давления уменьшается посредством отверстий 610 вентиляционного узла 608.
Разрывной элемент 606 рассчитывают на разрывание при заданном давлении, таком, когда расход твердого топлива составит 1/2, 3/4 или некоторую другую часть. Давление разрывания можно изменять путем изменения числа разрывных дисков, используемых в разрывном элементе 606. Согласно нескольким вариантам осуществления при использовании скважинного инструмента 600 можно регулировать импульс давления, который прикладывается к окружающему пласту. Такое регулирование также можно получить путем изменения объема камеры 604 давления и/или путем изменения площади отверстий 610 в вентиляционном узле 608. Поэтому в камере 604 давления предусматривают газ высокого давления и выпускают его регулируемым образом в окружающий пласт через вентиляционный узел 608. Таким образом, путем регулирования выпуска газа высокого давления, можно исключить повреждение окружающего пласта вследствие приложения непредсказуемого высокого давления к пласту.
Хотя изобретение было раскрыто применительно к ограниченному числу вариантов осуществления, специалистам в области техники, к которой относится изобретение, должны быть понятны его многочисленные модификации и варианты. Подразумевается, что приложенная формула изобретения охватывает такие модификации и варианты, как попадающие в рамки истинной сущности и объема изобретения.
Формула изобретения
1. Способ создания в стволе скважины состояния переходного давления, при котором спускают инструментальную колонну на интервал ствола скважины, приводят в действие первый компонент в инструментальной колонне, содержащий корпус с размещенным в нем, по меньшей мере, одним зарядом взрывчатого вещества, посредством инициирования, по меньшей мере, одного заряда взрывчатого вещества для создания отверстий в корпусе, чтобы открыть камеру в корпусе для скважинных текучих сред для создания состояния переходного депрессионного давления на интервале ствола скважины, приводят в действие второй компонент в инструментальной колонне, содержащий несущий корпус с твердым топливом, для создания состояния переходного репрессионного давления на интервале ствола скважины до создания переходного депрессионного давления приведением в действие первого компонента.
2. Способ по п.1, в котором при приведении в действие второго компонента инициируют твердое топливо во втором компоненте.
3. Способ по п.2, в котором инициирование твердого топлива во втором компоненте осуществляют вместе с подрывом взрывных устройств во втором компоненте.
4. Способ по п.3, в котором в качестве взрывных устройств используют кумулятивные заряды.
5. Способ по п.4, в котором подрыв кумулятивных зарядов приводит к перфорированию отверстий в несущем корпусе.
6. Способ по п.1, в котором при инициировании по меньшей мере одного заряда взрывчатого вещества приводят в действие детонирующий шнур.
7. Способ по п.1, в котором дополнительно используют капсульный стреляющий перфоратор, соединенный с несущим корпусом и приводимый в действие детонирующим шнуром.
8. Способ по п.1, в котором дополнительно обеспечивают, используя реле времени, один интервал из миллисекунд, секунд и минут между состояниями переходного депрессионного и репрессионного давления.
9. Способ по п.1, в котором дополнительно обеспечивают интервал из микросекунд между состояниями переходного депрессионного и репрессионного давления.
10. Устройство для создания в стволе скважины состояния переходного давления, содержащее твердое топливо, имеющее множество полостей, и взрывные устройства, установленные в полостях, при этом сгорание топлива приводит к образованию газа высокого давления в интервале ствола скважины.
11. Устройство по п.10, в котором взрывные устройства содержат кумулятивные заряды.
12. Устройство по п.10, дополнительно содержащее детонирующий шнур, баллистическим способом соединенный со взрывными устройствами и приводимый в действие для детонации взрывных устройств и инициирования твердого топлива.
13. Устройство для создания в стволе скважины состояния переходного давления, содержащее ленту, взрывные устройства, закрепленные на ленте, вставки твердого топлива, расположенные между взрывными устройствами, и детонирующий шнур, баллистическим способом соединенный со взрывными устройствами, и вставками твердого топлива.
14. Устройство по п.13, в котором взрывные устройства содержат кумулятивные заряды.
15. Устройство по п.13, в котором взрывные устройства размещены по спирали.
16. Инструментальная колонна, содержащая первый компонент, имеющий несущий элемент с размещенными в нем взрывными устройствами, приводимыми в действие для создания отверстий в несущем элементе для прохождения скважинного давления в камеру низкого давления несущего элемента и создания переходного депрессионного давления на интервале ствола скважины, ближайшем к инструментальной колонне, и второй компонент, включающий твердое топливо, инициируемое для образования газа высокого давления на интервале ствола скважины для создания состояния переходного репрессионного давления на участке ствола скважины до создания переходного депрессионного давления.
17. Инструментальная колонна по п.16, в которой твердое топливо имеет полости и второй компонент содержит взрывные устройства, установленные в полостях.
18. Инструментальная колонна по п.17, в которой взрывные устройства содержат кумулятивные заряды.
19. Инструментальная колонна по п.16, в которой второй компонент дополнительно содержит камеру давления для газа высокого давления, образованного при инициировании твердого топлива, и разрывной элемент, выполненный с возможностью его разрывания давлением в камере давления.
20. Инструментальная колонна по п.19, в которой второй компонент дополнительно содержит вентиляционный узел, имеющий по меньшей мере одно отверстие для выпуска газа высокого давления из камеры давления.
РИСУНКИ
|