|
|
(21), (22) Заявка: 2006110715/15, 03.04.2006
(24) Дата начала отсчета срока действия патента:
03.04.2006
(46) Опубликовано: 10.11.2007
(56) Список документов, цитированных в отчете о поиске:
RU 2260562 C1, 20.09.2005. SU 784386 A1, 30.07.1985. SU 972205 A1, 07.11.1982. EP 0759887 A1, 05.03.1997. GB 152401 A, 11.10.1920. US 4563339 A, 07.01.1986.
Адрес для переписки:
618421, Пермская обл., г.Березники, ул.Загородная, 29, “АВИСМА” филиал, И.А.Сизикову
|
(72) Автор(ы):
Михайлов Эдуард Федорович (RU), Тетерин Валерий Владимирович (RU), Потеха Сергей Иванович (RU), Батенев Борис Ефимович (RU), Шундиков Николай Александрович (RU), Рымкевич Анатолий Аркадьевич (RU)
(73) Патентообладатель(и):
Открытое акционерное общество “Корпорация ВСМПО-АВИСМА” (RU)
|
(54) СПОСОБ ОБЕЗВОЖИВАНИЯ ХЛОРМАГНИЕВОГО СЫРЬЯ И УСТРОЙСТВО ДЛЯ ЕГО ОСУЩЕСТВЛЕНИЯ
(57) Реферат:
Изобретение относится к цветной металлургии, в частности к подготовке хлормагниевого сырья к процессу электролитического получения магния из расплавленных солей. Способ обезвоживания хлормагниевого сырья в многокамерных печах кипящего слоя включает подачу сырья в печь, передвижение сырья из камеры в камеру при обработке его топочными газами, получаемыми при сжигании природного газа, воздуха и хлора в топке и подаваемыми через уголок в слой, охлаждение воздухом верхней части уголка над горизонтальной перегородкой, улавливание отходящих газов. Направление движения воздуха в верхней части уголка над горизонтальной перегородкой осуществляют зигзагообразно путем перехода воздуха из секции в секцию, при этом воздух подают в верхнюю часть уголка со скоростью 20-30 м/сек. Устройство выполнено в виде многокамерной печи кипящего слоя, включающее корпус с патрубками для ввода сырья и вывода готового продукта, перегородки печи, газораспределительную решетку с отверстиями, над которыми размещен газораспределительный уголок, жестко присоединенный к решетке ребрами и разделенный горизонтальной перегородкой на верхнюю и нижнюю части, окна для выхода топочных газов, размещенные на одной оси к отверстиям и смещенные относительно друг друга, циклоны для улавливания газов. Устройство дополнительно снабжено направляющими уголками, размещенными в верхней части уголка над горизонтальной перегородкой и образующими секции, при этом направляющие уголки установлены между отверстиями колпачка на равном расстоянии от оси колпачка и выполнены в виде прямоугольного треугольника, жестко присоединенного попеременно к каждой из стенок уголка, при этом гипотенуза присоединена к внутренней стенке уголка, а один из катетов к перегородке уголка. Изобретение позволяет повысить срок службы печи кипящего слоя, улучшить качество обезвоженного карналлита. 2 н.з. и 1 з.п. ф-лы, 2 ил.
Изобретение относится к цветной металлургии, в частности к подготовке хлормагниевого сырья к процессу электролитического получения магния из расплавленных солей.
Известны способ и устройство для обезвоживания хлормагниевого сырья (А.с. СССР 784386, опубл. 30.07.1985 г., Бюл.28). Способ включает подачу сырья в печь кипящего слоя и его последовательное обезвоживание топочными газами, получаемыми при сжигании смеси природного газа, воздуха и хлора в выносной топке печи. Топочные газы подают через колпачки газораспределительной решетки в кипящий слой. В газораспределительной решетке выполнен кессон для охлаждения ее воздухом до разности температур греющих газов и поверхности, соприкасающейся со слоем, в пределах 170-500°С при поддержании разности температур этой поверхности и слоя не выше 100°С. На охлаждение газораспределительной решетки подают 35-100% всего воздуха, расходуемого на приготовление греющих газов. Греющие газы подают в слой через горизонтальные зазоры между краями уголка и поверхностью газораспределительной решетки. Полость уголка охлаждается воздухом, подаваемым от магистрального трубопровода. Отходящие газы улавливают в циклонах.
Устройство для обезвоживания хлормагниевого сырья выполнено из многокамерной печи кипящего слоя, включающей корпус печи с патрубками для ввода сырья и вывода готового продукта, перегородки, образующие камеры в печи кипящего слоя, газораспределительную решетку с кессоном, охлаждаемым воздухом, и газораспределительные колпачки, выполненные в виде полого уголка с горизонтальными зазорами между краями уголка и поверхностью газораспределительной решетки. Уголки размещены над группой отверстий в решетке, расположенных по одной прямой. Печь снабжена устройством для приготовления греющих газов в виде выносной топки. Отходящие газы улавливают в циклонах.
Недостатком данных способа и устройства для обезвоживания хлормагниевого сырья является то, что при охлаждении полости колпачка в виде уголка происходит смешивание холодного воздуха с топочными газами и за счет этого снижается температура топочных газов, что нежелательно сказывается на процессе обезвоживания сырья (происходит недообезвоживание сырья и увеличиваются его потери, т.к. температура процесса снижается). Кроме того, при низких температурах процесса хлормагниевое сырье плавится и оседает на поверхности уголка и в зазорах уголка, это приводит к снижению производительности устройства и к увеличению затрат на ремонты и замену колпачков, к повышенным потерям сырья при обезвоживании.
Известны способ и устройство для обезвоживания хлормагниевого сырья (пат. РФ №2260562, опубл. 20.09.2005, Бюл.26), по количеству общих признаков принятые за ближайшие аналоги-прототипы. Способ включает последовательное обезвоживание хлормагниевого сырья в многокамерных печах кипящего слоя топочными газами, получаемыми при сжигании природного газа, воздуха и хлора в топке печи. Топочные газы подают через уголок в слой, при этом топочные газы и воздух подают на охлаждение в уголок раздельно. Воздухом непрерывно охлаждают верхнюю часть уголка над перегородкой, а нагретый в уголке воздух направляют на смешивание с топочными газами. Отходящие газы улавливают в циклонах.
Устройство для обезвоживания хлормагниевого сырья выполнено в виде многокамерной печи кипящего слоя, состоящей из корпуса печи с патрубками для ввода сырья и вывода готового продукта, из перегородок, образующих камеры в печи кипящего слоя, из газораспределительной решетки с газораспределительными колпачками в виде полого уголка, в котором выполнена горизонтальная перегородка, разделяющая уголок на верхнюю и нижнюю части. Уголок размещен над горизонтальным рядом отверстий подины и жестко присоединен к подине газораспределительной решетки ребрами, в нижней части уголка выполнены окна для выхода топочных газов, которые размещены на одной оси к отверстиям, при этом каждый ряд окон смещен относительно друг друга.
Недостатком данного изобретения является то, что при прохождении воздуха внутри полости уголка над перегородкой времени для охлаждения подины недостаточно (скорость подачи воздуха составляет 30-40 м/сек, уголок быстро нагревается топочными газами и происходит расплавление сырья и забивание отверстий решетки и уголка хлормагниевым сырьем. Это приводит к снижению срока службы и производительности и к ухудшению качества обезвоженного карналлита.
Технический результат направлен на устранение недостатков прототипа и позволяет за счет увеличения времени прохождения холодного воздуха и тем самым снижения скорости подачи в уголке снизить температуру боковых поверхностей уголков и тем самым уменьшить перегрев уголка, что позволит повысить срок службы и производительность колпачков и тем самым печи кипящего слоя, улучшить качество обезвоженного карналлита.
Технический результат достигается тем, что в способе обезвоживания хлормагниевого сырья в многокамерных печах кипящего слоя, включающем подачу сырья в печь, передвижение сырья из камеры в камеру при обработке его топочными газами, получаемыми при сжигании природного газа, воздуха и хлора в топке и подаваемыми через уголок в слой, охлаждение воздухом верхней части уголка над горизонтальной перегородкой, улавливание отходящих газов, согласно изобретению направление движения воздуха в верхней части уголка над горизонтальной перегородкой осуществляют зигзагообразно путем перехода воздуха из секции в секцию, при этом воздух подают в верхнюю часть уголка со скоростью 20-30 м/сек.
Для осуществления способа предложено устройство для обезвоживания хлормагниевого сырья, выполненное в виде многокамерной печи кипящего слоя, включающее корпус с патрубками для ввода сырья и вывода готового продукта, перегородки печи, газораспределительную решетку с отверстиями, над которыми размещен газораспределительный уголок, жестко присоединенный к решетке ребрами и разделенный горизонтальной перегородкой на верхнюю и нижнюю части, окна для выхода топочных газов, размещенные на одной оси к отверстиям и смещенные относительно друг друга, циклоны для улавливания газов, которое согласно изобретению дополнительно снабжено направляющими уголками, размещенными в верхней части уголка над горизонтальной перегородкой и образующими секции, при этом направляющие уголки установлены между отверстиями колпачка на равном расстоянии от оси колпачка и выполнены в виде прямоугольного треугольника, жестко присоединенного попеременно к каждой из стенок уголка, при этом гипотенуза присоединена к внутренней стенке уголка, а один из катетов к перегородке уголка.
Подача воздуха зигзагообразно в верхнюю часть уголка из секции в секцию со скоростью 20-30 м/сек позволяет увеличить время прохождения воздуха в уголке и тем самым уменьшить перегрев уголка, что позволит повысить срок его службы и производительность колпачков и тем самым печи кипящего слоя, улучшить качество обезвоженного карналлита.
Заявленная группа изобретений соответствует требованию единства изобретения, поскольку заявленные способ обезвоживания хлормагниевого сырья и устройство для его осуществления образуют единый изобретательский замысел.
Проведенный заявителем анализ уровня техники, включающий поиск по патентным и научно-техническим источникам информации и выявление источников, содержащих сведения об аналогах заявленного изобретения, позволил установить, что заявитель не обнаружил источник, характеризующийся признаками, тождественными (идентичными) всем существенным признакам изобретения. Определение из перечня выявленных аналогов прототипа как наиболее близкого по совокупности признаков аналога позволило установить совокупность существенных по отношению к усматриваемому заявителем техническому результату отличительных признаков в заявленном способе обезвоживания хлормагниевого сырья и устройстве для его осуществления, изложенных в пунктах формулы изобретения.
Следовательно, заявленное изобретение соответствует условию “новизна”.
Для проверки соответствия заявленного изобретения условию “изобретательский уровень” заявитель провел дополнительный поиск известных решений, чтобы выявить признаки, совпадающие с отличительными от прототипа признаками заявленного устройства и способа его монтажа. В результате поиска не было обнаружено новых источников и заявленные объекты не вытекают явным образом для специалиста, поскольку из уровня техники, определенного заявителем, не выявлено влияние предусматриваемых существенными признаками заявленного изобретения преобразований для достижения технического результата. Следовательно, заявленное изобретение соответствует условию “изобретательский уровень”.
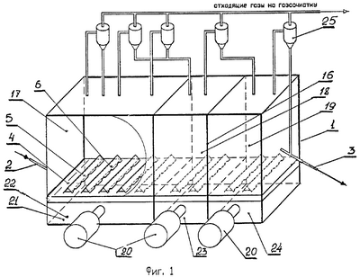
На фиг.1 показан общий вид печи кипящего слоя, на фиг.2 – вид колпачков в форме уголка.
Устройство для обезвоживания хлормагниевого сырья выполнено в виде печи кипящего слоя и представляет собой корпус 1 в виде усеченной пирамиды из стального листа, футерованного шамотным кирпичом с патрубком 2 для загрузки хлормагниевого сырья и патрубком 3 для выгрузки готового продукта. В нижней части шахты печи расположена газораспределительная решетка 4. В решетке выполнены отверстия 5 для прохождения топочных газов, над отверстиями жестко установлены уголки 6. Уголок выполнен с одинаковым размером сторон и разделен горизонтальной перегородкой 7 на две части – верхнюю 8 и нижнюю 9. В нижней части 9 поверхности уголка размещены окна 10 и ребра 11. На горизонтальной перегородке между отверстиями поочередно с одной, затем с другой стороны жестко прикреплены (приварены) направляющие уголки 12, образующие секции 13 в верхней части уголка и выполненные в виде прямоугольного треугольника, который гипотенузой 14 приварен к внутренней стенке уголка, а меньшим катетом 15 – к горизонтальной перегородке. Пространство под газораспределительной решеткой разделено перегородками 16 на три самостоятельные камеры 17, 18, 19 с топками 20, подрешеточным пространством 21 с камерами 22, 23, 24, циклонами 25.
Пример осуществления способа и работы устройства
Шестиводный кристаллогидрат хлормагниевого сырья – карналлита состава, мас.%: MgCl2 – не менее 31, 8; Н2O – не более 3, CaSO4 – не более 0,05 (обогащенный карналлита по ТУ 1714-0622-00209527-94) загружают с помощью забрасывателя через патрубок 2 на газораспределительную решетку 4. Печь кипящего слоя 1 разделена перегородками 16 на камеры 17, 18, 19. Обогащенный карналлит поступает в первую камеру 17 трехкамерной печи 1 кипящего слоя, куда подают через отверстие 5 и через окна 10 нижней части 9 уголка 6 смесь продуктов сгорания природного газа и вторичного воздуха, приводя материал в псевдоожиженное состояние. В каждой камере установлены топки 20, куда подают природный газ по ГОСТ 5542-87 в общем количестве 1030-2560 нм3/час. По мере продвижения карналлита по камерам 17, 18, 19 печи 1 происходит его постепенное обезвоживание за счет тепла топочных газов. Процесс обезвоживания идет в три стадии: в первой камере 17 происходит удаление гигроскопичной влаги и нагревание материала при температуре 120-150°С, во второй камере 18 – при температуре 130-240°С шестиводный карналлит обезвоживается до двухводного, а в третьей камере 19 при температуре 190-350°С двуводный карналлит обезвоживается до содержания воды 2-5%. Температуру поверхности газораспределительной решетки 4 в камерах 17 и 18 поддерживают не более 200°С, в третьей камере 19 – не более 300°С. Уголок 6 приварен с подине ребрами 11 и разделен горизонтальной перегородкой 7 на две части – верхнюю 8 и нижнюю 9. В верхней части 8 уголка 6 над горизонтальной перегородкой 7 установлены направляющие уголки 12, выполненные в виде прямоугольного треугольника, жестко присоединенного гипотенузой 14 к внутренней стенке уголка, а катетом 15 – к горизонтальной перегородке 7. Холодный воздух подают в верхнюю часть уголка со скоростью 25 м/сек, который, проходя зигзагообразно из секции 13 в другую секцию 13 через всю длину уголка 6, нагревается до температуры не более 300°С в первой и во второй камере и не более 350°С – в третьей камере.
Таким образом, предложенные способ и устройство для обезвоживания хлормагниевого сырья позволяют за счет увеличения времени прохождения холодного воздуха в уголке снизить температуру боковых поверхностей уголков и тем самым уменьшить перегрев уголка, что позволит повысить срок службы и производительность колпачков и тем самым печи кипящего слоя, улучшить качество обезвоженного карналлита.
Формула изобретения
1. Способ обезвоживания хлормагниевого сырья в многокамерных печах кипящего слоя, включающий подачу сырья в печь, передвижение сырья из камеры в камеру при обработке его топочными газами, получаемыми при сжигании природного газа, воздуха и хлора в топке и подаваемыми через уголок в слой, охлаждение воздухом верхней части уголка над горизонтальной перегородкой, улавливание отходящих газов, отличающийся тем, что направление движения воздуха в верхней части уголка над горизонтальной перегородкой осуществляют зигзагообразно путем перехода воздуха из секции в секцию.
2. Способ по п.1, отличающийся тем, воздух подают в верхнюю часть уголка со скоростью 20-30 м/с.
3. Устройство для обезвоживания хлормагниевого сырья, выполненное в виде многокамерной печи кипящего слоя, включающее корпус с патрубками для ввода сырья и вывода готового продукта, перегородки печи, газораспределительную решетку с отверстиями, над которыми размещен газораспределительный уголок, жестко присоединенный к решетке ребрами и разделенный горизонтальной перегородкой на верхнюю и нижнюю части, окна для выхода топочных газов, размещенные на одной оси к отверстиям и смещенные относительно друг друга, циклоны для улавливания газов, отличающееся тем, что оно дополнительно снабжено направляющими уголками, размещенными в верхней части уголка над горизонтальной перегородкой и образующими секции, при этом направляющие уголки установлены между отверстиями колпачка на равном расстоянии от оси колпачка и выполнены в виде прямоугольного треугольника, жестко присоединенного попеременно к каждой из стенок уголка, при этом гипотенуза присоединена к внутренней стенке уголка, а один из катетов к перегородке уголка.
РИСУНКИ
|
|