|
|
(21), (22) Заявка: 2005127122/11, 29.08.2005
(24) Дата начала отсчета срока действия патента:
29.08.2005
(43) Дата публикации заявки: 10.03.2007
(46) Опубликовано: 10.11.2007
(56) Список документов, цитированных в отчете о поиске:
RU 2046052 С1, 20.10.1995. SU 556079 A, 30.04.1977. US 5602801 А, 11.02.1997. US 5363343 А, 08.11.1994.
Адрес для переписки:
197376, Санкт-Петербург, Чкаловский пр., 46, ОАО “Концерн “Океанприбор”
|
(72) Автор(ы):
Андреев Михаил Яковлевич (RU), Воронин Леонид Иванович (RU), Кулаков Антон Хакимович (RU), Охрименко Сергей Николаевич (RU), Сидоров Александр Олегович (RU)
(73) Патентообладатель(и):
Открытое акционерное общество “Концерн “Океанприбор” (ОАО “Концерн “Океанприбор”) (RU)
|
(54) УСТРОЙСТВО АВТОМАТИЧЕСКОГО РАЗДВИЖЕНИЯ И СКЛАДЫВАНИЯ ВЫДВИЖНЫХ ПАНЕЛЕЙ ДВИЖУЩЕГОСЯ ПОДВОДНОГО АППАРАТА
(57) Реферат:
Изобретение относится к области подводной техники, а более конкретно к подводным необитаемым самоходным или буксируемым аппаратам. Устройство автоматического раздвижения и складывания выдвижных горизонтальных и вертикальных панелей движущегося подводного аппарата содержит силовой механизм, обеспечивающий двухстороннее силовое воздействие на выдвижной механизм, приводящий в движение соединенные с ним панели, закрепленные осями к корпусу аппарата с возможностью поворота панелей вокруг своих осей. Выдвижной и силовой механизмы обеспечивают возможность автоматического разворачивания сложенных панелей при скоростях буксировки подводного аппарата больше порогового значения и обратного складывания раздвинутых панелей при скоростях буксировки меньше порогового значения. Силовой механизм может использовать энергию набегающего скоростного напора воды, а также быть выполнен с электроприводом и червячной парой. Такое выполнение устройства обеспечивает малогабаритность и компактность конструкции подводного аппарата. 2 з.п. ф-лы, 6 ил.
Изобретение относится к области подводной техники, а более конкретно – к подводным необитаемым самоходным или буксируемым аппаратам.
Для обеспечения исследований и проведения практических работ по освоению и использованию недр Мирового океана создано целое направление интенсивно развивающейся подводной техники, в состав которой входят и подводные самоходные необитаемые аппараты, а также буксируемые надводным кораблем подводные аппараты. Подводные аппараты являются носителями самой разнообразной электронной аппаратуры, гидроакустической техники, датчиков и измерительных устройств, многие из которых должны находиться в рабочем положении на требуемом отстоянии от корпуса аппарата, что требует их расположения на специальных панелях и пилонах, которые обычно жестко закреплены на корпусе подводного аппарата. Однако выступающие панели, а также необходимые для стабилизации движения аппарата в воде гидродинамические вертикальные и горизонтальные крылья-стабилизаторы создают технические и эксплуатационные проблемы при постановке и выборке подводного аппарата и требуют создания громоздких и сложных спуско-подьемных устройств на надводном корабле-носителе даже для малогабаритного подводного аппарата. С целью исключения указанного недостатка в конструкциях подводных аппаратов, а также в авиакосмической и ракетной технике, которой присущи аналогичные недостатки, используют идею выдвижных устройств-панелей, которые выдвигаются автоматическим способом из ниш корпуса на заданном участке движения, или по временной программе, или при достижении какого-либо другого критериального параметра. При этом используются различные принципы построения устройств выдвижения панелей и стабилизаторов аппаратов (к примеру устройства по патентам США №4,323,208 от 04.1982 г.; 4,334,657 от 06.1982 г.; 4,471,923 от 09.1984 г.). Наиболее близким к предлагаемому изобретению является устройство по патенту США №5,602,801 от 11.02. 1997 г. на гидроакустическую систему для самоходного подводного аппарата, содержащего подвижные панели с акустическими датчиками. Панели могут находиться в сложенном состоянии или в развернутом положении перпендикулярно к оси подводного аппарата. Принцип конструкции устройства выдвижения в изобретении не заявлен и в виде аналога дается ссылка на US Patent 4,667,899 от 26.05.1987 г. на самоустанавливающееся двойное крыло изменяемой стреловидности.
Самоустанавливающееся строение крыла для улучшения характеристик ракеты и ее маневренности без существенного сокращения полезного объема включает в себя поворотное крыло, прикрепленное к корпусу аппарата во втянутом состоянии, в котором крыло вращается вокруг «расположенной по размаху крыла» оси относительно раскрытой позиции, и поворачиваемое вперед рядом с корпусом ракеты. Поворачиваемые компоненты позволяют воздушному потоку поворачивать крыло в раскрытое положение, когда оно выпущено из втянутого состояния во время полета. В данном устройстве используется энергия набегающего потока воздуха. Окружающей средой для подводного аппарата является вода и кроме этого, ввиду специфики назначения воздушной ракеты, в данном устройстве не решается вопрос многоразового использования ракеты с автоматическим обратным сворачиванием крыльев (панелей) в среде после окончания ее работы.
Задачей настоящего изобретения является разработка устройства автоматического раздвижения и складывания выдвижных панелей движущегося подводного аппарата, обеспечивающего малогабаритность и компактность его конструкции как в транспортном состоянии, так и в процессе постановки и выборки подводного аппарата, за счет наличия автоматически раздвижных и складываемых панелей.
Эта задача обеспечивается тем, что устройство автоматического раздвижения и складывания выдвижных горизонтальных и вертикальных панелей движущегося подводного аппарата содержит силовой механизм, обеспечивающий двухстороннее силовое воздействие на выдвижной механизм, приводящий в движение соединенные с ним панели, закрепленные осями к корпусу аппарата с возможностью поворота панелей вокруг своих осей, а выдвижной механизм содержит центральную трубку на оси с возможностью перемещения вдоль оси двух рычагов, каждый из которых шарнирно соединен с одной стороны с центральной трубкой и с другой стороны с внутренней поверхностью одной из горизонтальных панелей, а также с возможностью перемещения вдоль оси закрепленного к центральной трубке вертикального кронштейна с упорами, постоянно соприкасающимися с торцами вертикальных панелей и создающими вращающий момент разворота вертикальных панелей вокруг их осей до приведения их в вертикальное положение.
Силовой механизм может быть выполнен и в виде электропривода с червяком и навернутой на ось червяка центральной трубкой с возможностью при работе электропривода передвижения центральной трубки в сторону раздвижения панелей, обратного передвижения центральной трубки в сторону складывания панелей при работе электропривода в реверсном режиме, а также содержит систему управления, состоящую из программного устройства, датчика скорости движения аппарата, концевых отключателей электропривода и источника питания.
Силовой механизм для устройства автоматического раздвижения и складывания выдвижных панелей движущегося подводного аппарата выполнен в виде гидродинамического диска, соединенного с центральной трубкой и возвратной цилиндрической пружиной, насаженной на центральную трубку. При этом гидродинамический диск расположен с возможностью взаимодействия с набегающим потоком воды и обеспечивает передвижение центральной трубки вдоль своей оси и приведение в действие выдвижного механизма при скоростях буксировки подводного аппарата, при которых действие набегающего напора воды на гидродинамический диск преодолевает сопротивление возвратной пружины, а возвратная пружина установлена с возможностью обеспечения обратного автоматического складывания раздвинутых панелей при скоростях буксировки, при которых набегающий напор воды не обеспечивает силы для преодоления силы поджатой возвратной пружины.
Для реализации устройства предлагается конструкция, в которой силовой механизм выполнен в виде гидродинамического диска с втулкой и возвратной цилиндрической пружиной, насаженной на втулку, обладающий возможностью обеспечивать под действием набегающего напора воды на гидродинамический диск при скоростях буксировки подводного аппарата, когда действие набегающего напора воды на гидродинамический диск преодолевает сопротивление возвратной пружины, передвижение втулки вдоль оси силового механизма и приводить в действие выдвижной механизм, представляющий собой исполнительные устройства. Первое устройство состоит из двух рычагов, соединенных шарнирными соединениями с втулкой силового механизма и внутренними поверхностями горизонтальных панелей, с возможностью при движении втулки и пространственного движения рычагов обеспечивать силовое воздействие на горизонтальные панели и разворачивать последние вокруг осей вращения панелей до приведения их в горизонтальное положение и соприкосновения с упором подводного аппарата. Второе – в виде закрепленного на втулке силового механизма вертикального кронштейна с упорами, соприкасающимися с торцами сложенных в горизонтальном положении вертикальных панелей, с возможностью при движении втулки обеспечения силового воздействия на торцы вертикальных панелей и разворачивания последних вокруг осей вращения панелей до приведения их в вертикальное положение и соприкосновения с упором подводного аппарата. Возвратная пружина установлена с возможностью обеспечения обратного автоматического складывания раздвинутых панелей при скоростях буксировки подводного аппарата, когда набегающий напор воды не обеспечивает силы для преодоления силы поджатой возвратной пружины.
Отличительными признаками предлагаемого устройства являются наличие рычагов с шарнирами и вертикального кронштейна с упорами, закрепленных к центральной трубке, а также наличие силового устройства с использованием энергии набегающего скоростного напора воды, обеспечивающего возможность автоматического разворачивания и обратного складывания раздвинутых панелей. Предлагаемое устройство иллюстрируется чертежами, представленными на фигурах 1-6.
Фиг.1 иллюстрирует общую конструкцию устройства автоматического раздвижения и складывания выдвижных панелей движущегося подводного аппарата с гидродинамическим силовым устройством.
Фиг.2 иллюстрирует конструкцию устройства автоматического раздвижения и складывания вертикальных панелей.
Фиг.3 иллюстрирует конструкцию устройства автоматического раздвижения и складывания горизонтальных панелей.
Фиг.4 иллюстрирует конструкцию устройства в составе подводного аппарата со сложенными панелями.
Фиг.5 иллюстрирует конструкцию устройства в составе подводного аппарата с раздвинутыми панелями.
Фиг.6 иллюстрирует конструкцию устройства автоматического раздвижения и складывания выдвижных панелей движущегося подводного аппарата с силовым реверсивным электроприводом.
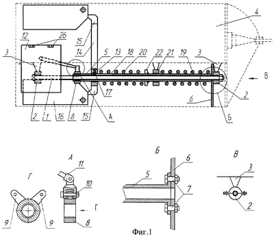
Фиг.1 иллюстрирует предложенную конструкцию устройства автоматического раздвижения и складывания выдвижных панелей, которое располагается на оси 1, установленной во втулке 2 с кронштейнами 3, жестко закрепленными по центру на нижней части корпуса подводного аппарата 4. Устройство состоит из центральной трубки 5, к переднему торцу которой крепится съемный гидродинамический диск 6 с помощью болтовых соединений 7, а на заднем конце прикреплена на резьбовом соединении втулка 8. При этом центральная трубка 5 с гидродинамическим диском 6 имеют центральное сквозное отверстие, обеспечивающее их свободное движение вдоль оси 1. В состав первого исполнительного устройства выдвижного механизма входит втулка 8, имеющая два кронштейна 9, расположенных под определенным углом в верхней полуплоскости, на которые крепятся кронштейны 10, обеспечивающие шарнирные соединения с рычагами 11, закрепленными другими своими концами аналогичными шарнирными соединениями с горизонтальными панелями 12 (в конкретной приведенной конструкции являются горизонтальными гидродинамическими стабилизаторами подводного аппарата). Второе исполнительное устройство выдвижного механизма представляет собой закрепленный на втулке 13 вертикальный кронштейн 14 с упорами 15, соприкасающимися с торцами сложенных в горизонтальном положении вертикальных панелей 16. Втулка 13 свободно насажена на центральную трубку 5 с возможностью свободного передвижения вдоль нее. При этом во внутренней стороне втулки 13 имеется фиксатор 17, входящий в продольную прорезь 18 центральной трубки 5, которая определяет ход фиксатора 17. На центральную трубку 5 насажены возвратная пружина 19 и пружина 20. Возвратная пружина 19 одним концом упирается в гидродинамический диск 6, а другим – в упор 21, жестко закрепленный на корпусе подводного аппарата 4 и обеспечивающий свободный ход центральной трубки 5 внутри него. Упор 21 отстоит от поджатого гидродинамического диска 6 на расстоянии, обеспечивающем рабочий ход возвратной пружины 19. Пружина 20 одним концом упирается во втулку 13 с вертикальным кронштейном 14, а другим – в упор 22, жестко закрепленный на центральной трубке 5. Упор 22 отстоит от втулки 13 на расстоянии, обеспечивающем ход фиксатора 17 в продольной прорези 18 и рабочий ход пружины 20. Крепления устройства автоматического раздвижения с осью 1 и панелей 12 и 16 на подводном аппарате должны обеспечивать их правильное взаимное положение.
На фиг.2 приведена детализированная конструкция устройства автоматического раздвижения и складывания вертикальных панелей. Точки контактов «К» упоров вертикального кронштейна 14 с торцами сложенных в горизонтальном положении вертикальных панелей 16 должны отстоять от осей поворота 23 панелей 16 на расстояниях «L1», равных расстояниям «L2» торцов панелей 16 от осей поворота 23. При этом пружины кручения 24, одним концом закрепленные на захватах 25 панелей 16, а другим – на корпусе подводного аппарата 4, в ненапряженном состоянии обеспечивают удержание вертикальных панелей 16 в сложенном положении и, при их принудительном раскрытии, обеспечивают крутящие моменты, требующие возврата панелей в сложенное состояние.
На фиг.3 отображены горизонтальные панели 12, крепящиеся к корпусу подводного аппарата 4 на двух поворотных соединениях 26 с осями 27 и пружинами кручения 28, принцип работы которых аналогичен ранее описанному для вертикальных панелей 16.
На фиг.4 показано расположение устройства в составе подводного аппарата 4 со сложенными горизонтальными 12 и вертикальными 16 панелями. Такое положение панелей обеспечивается как в транспортном положении подводного аппарата 4, так и при его постановке, выборке и буксировке в диапазоне скоростей буксировки VБ VП, где VП – пороговое значение скорости буксировки подводного аппарата 4. При этом давление набегающего потока на гидродинамический диск 6 не обеспечивает достаточной силы для преодоления силы поджатой возвратной пружины 19. Гидродинамический диск 6 с центральной трубкой 5 и, соответственно, силовой и выдвижной механизмы находятся в состоянии покоя.
На фиг.5 показано устройство в составе подводного аппарата 4 в рабочем положении с раздвинутыми горизонтальными 12 и вертикальными 16 панелями. Такое положение панелей обеспечивается при буксировке подводного аппарата 4, когда давление набегающего потока на гидродинамический диск 6 обеспечивает силу, достаточную для преодоления силы поджатой возвратной пружины 19, и гидродинамический диск 6 с центральной трубкой 5 перемещается на расстояние H1 до упора гидродинамического диска 6 в торец полностью сжатой возвратной пружины 19. При этом на расстояние H1 перемещается и втулка 8, обеспечивающая пространственное движение рычагов 11, которые оказывают силовое воздействие на горизонтальные панели 12, преодолевая усилия поджатия пружин кручения 28 и разворачивая панели вокруг осей вращения 27 до приведения панелей в горизонтальное положение и соприкосновение с упором подводного аппарата 4. Одновременно при перемещении центральной трубки 5 с упором 22 происходит сжатие пружины 20 и перемещение фиксатора 17 втулки 13 в продольной прорези 18 центральной трубки 5. Длина прорези 18 компенсирует разницу (H1-H2) в рабочих перемещениях втулки 8 (H1) и втулки 13 (Н2), необходимых для приведения панелей 16 в вертикальное положение. После приведения фиксатора 17 в крайнее правое положение прорези 18 усилие передвижения центральной трубки 5 через точки контактов «К» упоров 15 вертикального кронштейна 14 передается на торцы сложенных в горизонтальном положении вертикальных панелей 16, преодолевая усилия поджатия пружин кручения 24 вертикальных панелей 16. Упоры 15 разворачивают вертикальные панели 16 вокруг осей 23, приводя и удерживая их в вертикальном положении за счет контактов плоскостей упоров 14 и торцов панелей 16. При снижении скорости буксировки подводного аппарата 4 до тех значений, когда усилие возвратной пружины 19 совместно с усилиями пружин кручения 24 и 28 всех панелей преодолевают силу давления набегающего потока на гидродинамический диск 6 и обеспечивают приведение его и, соответственно, силового и выдвижного механизмов устройства в исходное состояние покоя. Таким образом, достигается автоматическое складывание выдвижных панелей движущегося подводного аппарата 4.
Фиг.6 иллюстрирует конструкцию устройства автоматического раздвижения и складывания выдвижных панелей, в котором в качестве силового устройства может быть использован электропривод. При этом вместо оси 1 во втулке 2 устанавливается на подшипниках червяк 30, на который навинчена центральная трубка 31. Передний конец червяка 30 подсоединен к валу электропривода 32. На наружной поверхности трубки 31 жестко закреплен фиксатор 33, который может совершать свободное продольное перемещение вдоль направляющей 34, прикрепленной к нижней части корпуса 29 подводного аппарата 4. При работе электропривода 32 вращательное движение червяка 30 преобразуется в продольное перемещение вдоль оси устройства центральной трубки 31, на которой закреплены втулки 8 и 13 исполнительных устройств выдвижного механизма, конструкция и работа которых описана выше. Работа силового устройства управляется по командам системы управления, состоящей из программно-коммутационного устройства 35, датчика скорости 36 движения аппарата, концевых отключателей 37 электропривода 32 и источника питания 38.
Таким образом, как в транспортном положении подводного аппарата 4, так и при его постановке, выборке и буксировке в диапазоне скоростей буксировки VБ VП центральная трубка 31 находится в крайнем правом положении и подводный аппарат 4 буксируется со сложенными горизонтальными 12 и вертикальными 16 панелями.
При достижении скорости буксировки VБ>VП от датчика скорости 36 подается сигнал через программно-коммутационное устройство 35 на срабатывание электропривода 32, которое обеспечивает перемещение центральной трубки 31 и, соответственно, исполнительных устройств выдвижного механизма, чем достигается раздвижение горизонтальных 12 и вертикальных 16 панелей подводного аппарата 4. При достижении центральной трубкой 31 крайнего левого положения фиксатор 33 упирается в концевой отключатель 37 и электропривод 32 прекращает свою работу.
По окончании работы подводного аппарата 4 и снижении скорости буксировки до значения VБ VП от датчика скорости 36 подается сигнал через программно-коммутационное устройство 35 на реверсное срабатывание электропривода 32, которое обеспечивает обратное перемещение центральной трубки 31 и, соответственно, исполнительных устройств выдвижного механизма, чем достигается складывание горизонтальных 12 и вертикальных 16 панелей подводного аппарата 4. При достижении центральной трубкой 31 крайнего правого положения фиксатор 33 упирается во второй концевой отключатель 37 и электропривод 32 прекращает свою работу.
Устройство автоматического раздвижения и складывания выдвижных горизонтальных 12 и вертикальных 16 панелей движущегося подводного аппарата 4 работает следующим образом. При нахождении подводного аппарата 4 в транспортном положении, при его постановке и выборке на надводный корабль и буксировке в диапазоне скоростей, когда давление набегающего потока на гидродинамический диск 6 не обеспечивает достаточной силы для преодоления силы поджатой возвратной пружины 19, горизонтальные 12 и вертикальные 16 панели подводного аппарата 4 находятся в сложенном положении. При нахождении подводного аппарата 4 в рабочем состоянии в диапазоне скоростей, когда давление набегающего потока на гидродинамический диск 6 обеспечивает силу, достаточную для преодоления силы поджатой возвратной пружины 19, и гидродинамический диск 6 с центральной трубкой 5 перемещается до упора гидродинамического диска 6 в торец полностью сжатой возвратной пружины 19. При этом перемещается и втулка 8, обеспечивающая пространственное движение рычагов 11, которые оказывают силовое воздействие на горизонтальные панели 12, преодолевают усилия поджатия пружин кручения 28 и разворачивают горизонтальные панели 12 вокруг осей вращения 27 до приведения их в горизонтальное положение и соприкосновения с упором подводного аппарата 4. Одновременно при перемещении центральной трубки 5 с упором 22 происходит сжатие пружины 20 и перемещение фиксатора 17 втулки 13 в продольной прорези 18 центральной трубки 5. После приведения фиксатора 17 в крайнее правое положение прорези 18 усилие передвижения центральной трубки 5 через упоры 15 кронштейна 14 передается на торцы сложенных в горизонтальном положении вертикальных панелей 16 и преодолевает усилия поджатия пружин кручения 24 вертикальных панелей 16, разворачивая их вокруг осей 23, приводя и удерживая их в вертикальном положении за счет контактов плоскостей упоров 15 и торцов панелей 16. Подводный аппарат 4 в рабочем положении находится с раздвинутыми горизонтальными 12 и вертикальными 16 панелями. При снижении скорости буксировки подводного аппарата до значений, когда усилие возвратной пружины 19 совместно с усилиями пружин кручения всех панелей преодолевают силу давления набегающего потока на гидродинамический диск 6, обеспечивают приведение диска 6 и, соответственно, силового и выдвижного механизмов устройства в исходное состояние покоя. Таким образом, достигается автоматическое складывание выдвижных панелей движущегося подводного аппарата 4.
В случае выполнения силового механизма с электроприводом работа силового устройства осуществляется по командам системы управления (см. фиг.6).
Формула изобретения
1. Устройство автоматического раздвижения и складывания выдвижных горизонтальных и вертикальных панелей движущегося подводного аппарата, содержащее силовой механизм, обеспечивающий двухстороннее силовое воздействие на выдвижной механизм, приводящий в движение соединенные с ним панели, закрепленные осями к корпусу аппарата с возможностью поворота панелей вокруг своих осей, отличающееся тем, что выдвижной механизм содержит центральную трубку, установленную на оси с возможностью передвижения вдоль нее, два рычага, каждый из которых шарнирно соединен одной стороной с подвижной трубкой, а другой стороной – с внутренней поверхностью соответствующей из горизонтальных панелей, и подвижно установленную на центральной трубке втулку, выполненную с вертикальным кронштейном с упорами и фиксатором, входящим в продольную прорезь центральной трубки, при этом на центральной трубке жестко закреплен упор, между которым и упомянутой втулкой на трубке расположена пружина для постоянного поджатия указанных упоров вертикального кронштейна к торцам вертикальных панелей, причем точки контакта упоров кронштейна с торцами вертикальных панелей при их сложенном положении отстоят от осей поворота этих панелей на расстояния, равные расстоянию от этих торцов панелей до осей поворота последних.
2. Устройство автоматического раздвижения и складывания выдвижных панелей движущегося подводного аппарата по п.1, отличающееся тем, что ось центральной трубки выдвижного механизма выполнена в виде червяка, на который навернута эта центральная трубка, зафиксированная от поворота, продольными направляющими, взаимодействующими с установленным на этой трубке фиксатором, а силовой механизм выполнен в виде реверсивного электропривода, связанного с упомянутой осью и содержащего систему управления, состоящую из датчика скорости движения аппарата, программного устройства для включения электропривода при достижении подводным аппаратом пороговой скорости движения, концевых отключателей электропривода, установленных с возможностью взаимодействия с установленным на центральной трубке фиксатором, и источника питания.
3. Устройство автоматического раздвижения и складывания выдвижных панелей движущегося подводного аппарата по п.1, отличающееся тем, что силовой механизм выполнен в виде гидродинамического диска, соединенного с передним концом центральной трубки и возвратной цилиндрической пружиной, насаженной на центральную трубку, при этом гидродинамический диск расположен с возможностью взаимодействия с набегающим на подводный аппарат потоком воды.
РИСУНКИ
|
|