|
|
(21), (22) Заявка: 2004101405/11, 12.02.2003
(24) Дата начала отсчета срока действия патента:
12.02.2003
(30) Конвенционный приоритет:
02.05.2002 DE 10219708.3
(43) Дата публикации заявки: 10.02.2005
(46) Опубликовано: 10.11.2007
(56) Список документов, цитированных в отчете о поиске:
ЕР 1034949 А2, 13.09.2000. ЕР 0351689 A1. 11.07.1989. SU 434042 А, 04.11.1974.
(85) Дата перевода заявки PCT на национальную фазу:
05.02.2004
(86) Заявка PCT:
DE 03/00418 (12.02.2003)
(87) Публикация PCT:
WO 03/093039 (13.11.2003)
Адрес для переписки:
101000, Москва, М.Златоустинский пер., 10, кв.15, “ЕВРОМАРКПАТ”, пат.пов. И.А.Веселицкой, рег. № 11
|
(72) Автор(ы):
БУЛЬ Райнхард (DE), РИХТЕР Райнхард (DE), КОССМАНН Уве (DE), КУНЦЕ Ральф (DE), БУБЛИЗ Хольгер (DE), КНОПП Зёрен (DE)
(73) Патентообладатель(и):
ЦФ ЛЕМФЁРДЕР ГМБХ (DE)
|
(54) ТРЕУГОЛЬНЫЙ РЫЧАГ ПОДВЕСКИ
(57) Реферат:
Изобретение относится к треугольному рычагу подвески мостов автомобиля. Треугольный рычаг подвески мостов автомобилей предназначен для шарнирного соединения моста автомобиля с его рамой и имеет два рычага, которые в соединенном между собой на одном из их концевых участков состоянии совместно образуют корпус резинометаллической опоры, с помощью которой он крепится к мосту автомобиля и которая имеет ось с предусмотренной на ней сферической поверхностью, и охватывающий эту ось по меньшей мере на участке расположения ее сферической поверхности эластомерный элемент, который установлен в предусмотренном в корпусе углублении. С осевых наружных сторон эластомерного элемента предусмотрены два расположенных вместе с ним в углублении корпуса прижимных кольца, которые выполнены с возможностью их перемещения навстречу друг к другу зажимным приспособлением, стягивающим их через прилегающие к обращенным друг от друга наружным сторонам прижимных колец упорные поверхности корпуса. Изобретение обеспечивает предварительное сжатие (или предварительный натяг) резинометаллической опоры и в осевом, и в радиальном направлениях, которая за счет достигаемого при этом повышения ее жесткости способна воспринимать большие усилия. 2 з.п. ф-лы, 2 ил.
Настоящее изобретение относится к треугольному рычагу подвески мостов автомобилей, предназначенному для шарнирного соединения моста автомобиля с его рамой, в соответствии с ограничительной частью п.1 формулы изобретения.
Подобные, известные из уровня техники треугольные рычаги подвески используются прежде всего в самодвижущихся безрельсовых транспортных средствах для перевозки грузов, пассажиров и для нетранспортных работ, т.е. в грузовых автомобилях, автобусах и иных аналогичных транспортных средствах. Так, например, известен составной направляющий рычаг подвески автомобильного колеса, оба рычажных элемента которого в сборе совместно образуют на одном из их концов корпус с посадочным отверстием под резинометаллическую опору (т.е. под шарнир с резинометаллическими упругими элементами), с помощью которой этот направляющий рычаг крепится к стойке колеса или к мосту. Противоположные концы этих рычажных элементов служат для крепления треугольного рычага подвески к кузову.
Подобные рычаги обычно выполняют в виде поковок или отливок, при этом прежде всего в случае отливок для их изготовления приходится использовать литейные формы, которые в проекции на горизонтальную плоскость имеют сравнительно большую площадь, хотя оба этих рычажных элемента и обладают сравнительно небольшой собственной массой. Поэтому выполнение треугольного рычага подвески составным из двух отдельных рычагов (рычажных элементов), которые при определенных условиях могут иметь одинаковую форму, обеспечивает достижение особых, связанных с существенным снижением издержек преимуществ, которые дают значительный экономический эффект и при выполнении треугольного рычага подвески в виде поковки, поскольку выполнение треугольного рычага подвески составным из двух отдельных рычагов позволяет существенно уменьшить количество рабочих операций, необходимых для его изготовления.
Однако недостаток такого известного из описанного выше уровня техники треугольного рычага подвески состоит в том, что шарнирная резинометаллическая опора, расположенная в центральном, образованном совместно обоими рычагами корпусе, из-за ее конструктивных особенностей допускает предварительное сжатие эластомерного элемента, придающего опоре необходимую упругость, только в радиальном направлении. Поскольку эластомерный элемент обычно способен сопротивляться лишь весьма незначительным растягивающим напряжениям, подобная опора, которая используется и в предлагаемом в изобретении треугольном рычаге подвески, практически не способна воспринимать осевые нагрузки.
Исходя из вышеизложенного, в основу настоящего изобретения была положена задача усовершенствовать треугольный рычаг подвески указанного в начале описания типа таким образом, чтобы повысить способность его центральной опоры воспринимать прежде всего возникающие в безрельсовых транспортных средствах для перевозки грузов, пассажиров и для нетранспортных работ нагрузки от соединенного с ним через эту опору моста.
Указанная задача решается согласно изобретению благодаря тому, что с осевых наружных сторон эластомерного элемента предусмотрены два расположенных вместе с ним в углублении корпуса прижимных кольца, которые выполнены с возможностью их перемещения навстречу друг к другу зажимным приспособлением, стягивающим их через прилегающие к обращенным друг от друга наружным сторонам прижимных колец упорные поверхности корпуса. Подобное предлагаемое в изобретении конструктивное исполнение треугольного рычага подвески обеспечивает прежде всего возможность предварительного сжатия (или предварительного натяга) эластомерного элемента, охватывающего сферическую поверхность оси резинометаллической опоры, не только в радиальном, но и в осевом направлении. Такое предварительное сжатие эластомерного элемента является решающим фактором, влияющим на его жесткость в осевом направлении, степень которой при этом пропорциональна его способности воспринимать возникающие осевые усилия.
Еще одно преимущество предлагаемого в изобретении решения состоит в возможности согласования настроек шарнирной резинометаллической опоры с различными требованиями за счет регулирования степени предварительного сжатия эластомерного элемента в осевом направлении, тогда как в известных из уровня техники конструкциях для регулирования жесткости эластомерного элемента при определенных условиях необходимо изменять состав резиновой смеси, используемой для его изготовления.
Прижимные кольца предпочтительно соединять с эластомерным элементом неразъемным соединением, которое можно обеспечить, например, вулканизацией/подвулканизацией. Прижимные кольца обеспечивают при этом предварительное сжатие эластомерного элемента в осевом направлении.
Предпочтительные варианты выполнения предлагаемого в изобретении треугольного рычага подвески, представленного в п.1 формулы изобретения, приведены в зависимых пунктах формулы.
Согласно одному из таких предпочтительных вариантов осуществления изобретения зажимное приспособление имеет несколько параллельных оси резинометаллической опоры стяжных резьбовых соединений, установленных в выполненных в корпусе сквозных отверстиях. Такие стяжные резьбовые соединения предоставляют при этом конструктивно простую и недорогую в практической реализации возможность регулирования степени предварительного сжатия эластомерного элемента прижимными кольцами за счет регулирования необходимого для этой цели усилия затяжки стяжных болтов, скрепляющих между собой оба рычага в зоне совместно образуемого ими корпуса резинометаллической опоры.
Достаточное для необходимого предварительного сжатия эластомерного элемента зажимное усилие можно при этом обеспечить, например, с помощью трех или более стяжных резьбовых соединений, концентрично расположенных вокруг центрального посадочного отверстия под резинометаллическую опору, образованного в ее корпусе.
Помимо этого было установлено, что для уменьшения срезывающих усилий, возникающих в месте расположенного в зоне центрального корпуса резинометаллической опоры соединения обоих рычагов между собой прежде всего при значительном их перекосе друг относительно друга, а также во избежание обусловленной таким перекосом перегрузки расположенных в этом месте стяжных резьбовых соединений по меньшей мере одно из стяжных резьбовых соединений предпочтительно снабжать располагаемой в предусмотренном под него сквозном отверстии защитной втулкой, надетой на стяжной болт и предохраняющей его от срезания.
Однако в другом варианте все стяжные резьбовые соединения можно оснастить подобными располагаемыми в предусмотренных под них сквозных отверстиях защитными втулками, надеваемыми на стяжные болты и предохраняющими их от срезания.
Ниже изобретение более подробно рассмотрено на примере одного из вариантов его осуществления со ссылкой на прилагаемые чертежи, на которых показано:
на фиг.1 – вид в плане предлагаемого в изобретении треугольного рычага подвески и
на фиг.2 – детальное изображение в разрезе показанного на фиг.1 фрагмента В на участке расположения образованного совместно обоими рычагами корпуса резинометаллической опоры.
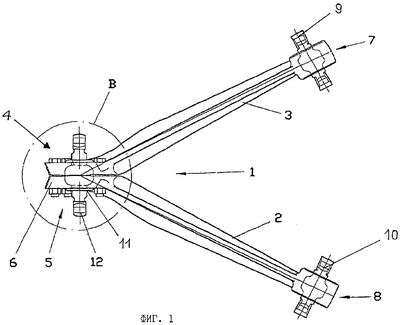
На фиг.1 показан обозначенный общей позицией 1 треугольный рычаг подвески, имеющий два расположенных зеркально-симметрично друг относительно друга рычага 2 и 3. Каждый из этих рычагов имеет коленчатую форму на его концевом участке 4, соответственно 5, которые совместно образуют корпус 6 шарнира. В виде в плане треугольный рычаг подвески из-за коленчатого изгиба образующих его рычагов 2 и 3 на их концевых участках 4 и 5, которые в собранном состоянии прилегают в этом месте друг к другу их поверхностями контакта, в целом имеет в основном V-образную форму с двумя концевыми участками 7 и 8, которыми этот треугольный рычаг 1 подвески крепится к соответствующим, предусмотренным на кузове автомобиля кронштейнам, которые на чертеже не показаны. При этом для крепления треугольного рычага 1 подвески к кузову используются шарнирные резинометаллические опоры 9 и 10. Внутри образованного обоими рычагами 2 и 3 корпуса 6 также расположена резинометаллическая опора 11, которая обеспечивает шарнирное соединение треугольного рычага с крепящимся к ней не показанным на чертеже мостом грузового автомобиля или иного самодвижущегося безрельсового транспортного средства для перевозки грузов, пассажиров и для нетранспортных работ.
На фиг.2 более подробно показан конкретный вариант выполнения корпуса 6 с расположенной внутри него резинометаллической опорой 11. Резинометаллическая опора 11 имеет ось 12 с расположенным симметрично относительно ее концов сферическим участком 13. Этот сферический участок 13 окружен цельным или составным эластомерным элементом 14, который с использованием охватывающей его промежуточной втулки 15 установлен в углублении 16 образованного концевыми участками рычагов 2 и 3 корпуса 6. К осевым наружным сторонам эластомерного элемента 14 привулканизованы два прижимных кольца 17 и 18. Эти прижимные кольца 17 и 18 имеют ориентированную в основном параллельно средней продольной оси 19, оси 12 фланцевую часть 20, а также выступающую наружу под прямым углом к ней фланцевую часть 21. Фланцевая часть 21 с ее обращенной от эластомерного элемента 14 наружной стороны прилегает к упорной поверхности 22 корпуса 6.
На фиг.2 показано далее, что оба рычага 2 и 3 треугольного рычага 1 подвески соединены или стянуты между собой состоящим из нескольких стяжных резьбовых соединений 23 зажимным приспособлением. По меньшей мере одно из таких стяжных резьбовых соединений состоит из стяжного болта с навинченной на него гайкой, а также из надетой на него защитной втулки 24, предохраняющей его от срезания. Такое по меньшей мере одно стяжное резьбовое соединение 23 с надетой на стяжной болт предохраняющей его от срезания защитной втулкой 24 расположено в сквозном отверстии 25, выполненном в корпусе 6. При затяжке стяжных резьбовых соединений 23 свободно установленная в углубление 16 резинометаллическая опора 11 фиксируется и в радиальном направлении втулкой 15, и в осевом направлении прижимными кольцами 17 и 18, при этом одновременно эластомерный элемент 14 нагружается сжимающими усилиями, что приводит к его предварительному сжатию (посадке с натягом) и в результате к повышению его жесткости, и поэтому по завершении сборки этот эластомерный элемент 14 способен эффективно воспринимать сжимающие усилия, передаваемые на него от оси 12 при совершаемых ею движениях. При этом необходимо отметить, что эластомерный элемент 14 зафиксирован на оси 12 и соединен с прижимными кольцами 17 и 18 вулканизацией, тогда как соединение эластомерного элемента 14 со втулкой 15 обеспечивается только за счет соответствующих, возникающих между ними сил трения, т.е. исключительно за счет фрикционного замыкания.
Формула изобретения
1. Треугольный рычаг (1) подвески мостов автомобилей, предназначенный для шарнирного соединения моста автомобиля с его рамой и имеющий два рычага (2, 3), которые в соединенном между собой на одном из их концевых участков состоянии совместно образуют корпус (6) резинометаллической опоры (11), с помощью которой треугольный рычаг (1) подвески крепится к мосту автомобиля и которая имеет ось (12) с предусмотренной на ней сферической поверхностью и охватывающий эту ось (12) по меньшей мере на участке расположения ее сферической поверхности эластомерный элемент (14), который установлен в предусмотренном в корпусе (6) углублении (16), отличающийся тем, что с осевых наружных сторон эластомерного элемента (14) предусмотрены два расположенных вместе с ним в углублении (16) корпуса (6) прижимных кольца (17, 18), которые выполнены с возможностью их перемещения навстречу друг к другу зажимным приспособлением, стягивающим их через прилегающие к обращенным друг от друга наружным сторонам прижимных колец (17, 18) упорные поверхности (22) корпуса (6).
2. Треугольный рычаг подвески по п.1, отличающийся тем, что зажимное приспособление имеет несколько параллельных оси (12) стяжных резьбовых соединений, установленных в выполненных в корпусе (6) сквозных отверстиях (25).
3. Треугольный рычаг подвески по п.2, отличающийся тем, что по меньшей мере одно из стяжных резьбовых соединений (23) снабжено расположенной в предусмотренном под него сквозном отверстии (25) защитной втулкой (24), надетой на стяжной болт и предохраняющей его от срезания.
РИСУНКИ
|
|