|
|
(21), (22) Заявка: 2004138700/02, 29.12.2004
(24) Дата начала отсчета срока действия патента:
29.12.2004
(43) Дата публикации заявки: 10.06.2006
(46) Опубликовано: 10.11.2007
(56) Список документов, цитированных в отчете о поиске:
RU 2070481 C1, 20.12.1996. SU 665997 А, 08.06.1979. FR 2069433 А, 08.10.1971. АНСЕРОВ М.А. Приспособления для металлорежущих станков. – М., 1966, с.74, фиг.43, табл.9.
Адрес для переписки:
196608, Санкт-Петербург, г.Пушкин, до востребования, С.Н.Шугайло
|
(73) Патентообладатель(и):
Шугайло Станислав Никитович (RU)
|
(54) ЗАЖИМНОЙ ПАТРОН
(57) Реферат:
Изобретение относится к области металлообработки, вспомогательному инструменту для металлорежущих станков. Патрон предназначен для крепления осевого инструмента или детали и содержит цилиндрический корпус, зажимные кулачки с участками наружной конической поверхности, взаимодействующие с зажимной гайкой, и средства перемещения каждого кулачка в направлении разжима. Для повышения точности и надежности закрепления зажимные кулачки установлены с возможностью взаимодействия с внутренней конической поверхностью отверстия, выполненного в цилиндрическом корпусе, связаны с зажимной гайкой цилиндрическими штифтами и постоянно поджаты пружинной шайбой в виде тарельчатой пружины, имеющей сверху прорези для прохода упомянутых цилиндрических штифтов, а средство разжима кулачков выполнено в виде резиновых прокладок. Для управления усилием зажима детали или инструмента патрон может быть снабжен контргайкой с левой резьбой, а на корпусе выполнены две наружные резьбы разного направления. 1 з.п. ф-лы, 6 ил.
Использование: для закрепления за наружную, в основном, цилиндрическую поверхность осевой детали или инструмента: сверла, метчика, зенкера, развертки при металлообработке на токарном, сверлильном, шлифовальном, фрезерном или другом станке или устройстве.
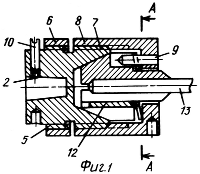
Сущность изобретения: зажимной патрон для крепления осевого инструмента или детали содержит цилиндрический корпус 1, имеющий две наружные цилиндрические резьбы разного направления и действия при их работе.
Слева на наружной цилиндрической поверхности корпуса 1 имеется цилиндрическая наружная левая резьба 5, на которой расположена своей внутренней левой резьбой 5 контргайка 6, справа левой резьбы 5, на наружной поверхности корпуса 1 имеется цилиндрическая правая резьба 7.
Если корпус 1 патрона не является шпинделем станка или устройства, тогда он кроме наружных резьб имеет слева внутреннее конусное отверстие 2 или резьбовое цилиндрическое отверстие 2 (не показано), обеспечивающих соединение его со шпинделем станка или устройства посредством хвостовика (не показан). Слева от левой резьбы 5 корпуса 1 имеет перпендикулярно оси резьбовые и нерезьбовые отверстия, в резьбовом отверстии располагаются винты 10, стопорящие контргайку 6 и хвостовик (не показано), а отверстия без резьбы для ключа (не показано).
Справа корпус 1 имеет внутреннее осевое конусное отверстие 3, о конусную поверхность которого опираются своими наружными конусными участками, скользя и вращаясь, зажимные кулачки 4, связанные с зажимной гайкой 8, ее цилиндрическими горизонтально расположенными штифтами 9, которая расположена своей внутренней правой резьбой 7 на правой наружной резьбе 7 корпуса 1.
Между внутренним торцом зажимной гайки 8 и торцом зажимных кулачков 4 с отверстиями или прорезями вверху расположена тарельчатая пружина 11, постоянно поддерживающая контакт с конусной поверхностью отверстия 3 и с конусными участками зажимных кулачков 4, а для разжима которых, в их прорезях расположены упругие резиновые прокладки 12.
Изобретение относится к области металлообработки и может использоваться для крепления осевых деталей и инструментов типа сверл, метчиков, зенкеров, разверток, фрез и т.п. на сверлильных, фрезерных и других станках и устройствах.
Изобретение повышает центрирование, нежность зажима за счет управления зажимом детали или инструмента и обеспечивает надежный зажим при дополнительном зажиме силой резания РZ при вращении ими зажимаемых кулачков и зажимной гайки, связанных ее цилиндрическими штифтами.
Изобретение иллюстрируется чертежами, где на фиг.1 показан общий вид патрона в продольном осевом разрезе без управления зажима, т.е. без участия в работе контргайки 6; на фиг.2 – продольный разрез сверху фиг.1;
– на фиг.3 – сечение А-А по фиг.1;
– на фиг.4 – сечение Б – Б по фиг.2;
– на фиг.5 – общий вид патрона в продольном разрезе, как на фиг.1, только с участием в работе контргайки 6;
– на фиг.6 – сечение В-В по фиг.5.
Зажимной патрон для крепления в нем осевого инструмента или детали содержит цилиндрический корпус 1, слева с коническим отверстием 2 для соединения со шпинделем станка или ручной дрели, на наружной цилиндрической поверхности имеющего две резьбы разного направления.
Слева на наружной цилиндрической поверхности корпуса 1 перпендикулярно оси имеются резьбовые и нерезьбовые отверстия, в резьбовых отверстиях расположены стопорные винты 10, справа от которых имеется левая цилиндрическая резьба 5, справа ее – правая цилиндрическая резьба 7.
На левой резьбе 5 расположена своей резьбой контргайка 6, обеспечивающая управление усилием зажима детали 13 или инструмента 13. Справа левой резьбы 5 на корпусе 1 имеется правая цилиндрическая резьба 7, на которой расположена своей внутренней резьбой 7 зажимная гайка 8, вращающая своими цилиндрическими штифтами 9 зажимные кулачки 4.
Зажимные кулачки 4 имеют наружные конусные участки, которыми они взаимодействуют с осевым конусным отверстием 3, выполненным спереди корпуса 1, для разжима имеющие по краям прорези, в которых расположены для этого упругие резиновые прокладки 12.
Для постоянного контакта зажимных поверхностей конусного отверстия корпуса 1 с наружными конусными участками зажимных кулачков 4 между их торцевыми поверхностями и внутренней торцевой поверхностью зажимной гайки 8 расположена для этого пружинная шайба 11 с тремя прорезями вверху под цилиндрические штифты 9 зажимной гайки 8.
Зажимной патрон для крепления в нем осевого инструмента или детали работает следующим образом.
При свинчивании зажимной гайки 8 с корпуса 1 кулачки 4 расходятся под действием упругих резиновых прокладок 12, двигаясь в осевом и радиальном направлении, освобождая инструмент или деталь 13.
После установки между рабочими поверхностями кулачков 4 детали или инструмента 13 зажимную гайку 8 вращают в обратную сторону, т.е. в противоположном направлении, т.е. по часовой стрелке, при этом кулачки 4 сближаются, сжимая деталь или инструмент 13.
Окончательный ручной зажим детали или инструмента 13 осуществляется вращением гайки 8 с необходимым усилием. Дальнейший самозажим осуществляется силами резания РZ и РY, если контргайка 6 не запрещает дальнейшее вращение гайки 8 с кулачками 4 при вращении ее по часовой стрелке.
Источник информации
1. Патент РФ 2070481(13) C1(51) 6, В23В 31/02, 7 апреля 1997 г.
Формула изобретения
1. Зажимной патрон для крепления осевого инструмента или детали, содержащий цилиндрический корпус, имеющий две наружные разного направления резьбы, осевое коническое отверстие, на коническую поверхность которого опираются своими наружными коническими участками вращаемые зажимной гайкой с помощью цилиндрических штифтов зажимные кулачки, постоянно поджимаемые пружинной шайбой в виде тарельчатой пружины, имеющей сверху прорези, через которые проходят и соединяются с прорезями зажимных кулачков упомянутые цилиндрические штифты вращающей их зажимной гайки, отличающийся тем, что участки наружной конической поверхности зажимных кулачков расположены и постоянно опираются на коническое осевое отверстие, выполненное в цилиндрическом корпусе, зажимные кулачки связаны с зажимной гайкой цилиндрическими штифтами, а средство разжима кулачков выполнено в виде резиновых прокладок.
2. Патрон по п.1, отличающийся тем, что для управление усилием зажима детали или инструмента он снабжен контргайкой с левой резьбой, а на цилиндрическом корпусе выполнены две наружные резьбы разного направления.
РИСУНКИ
|
|