|
|
(21), (22) Заявка: 2006104232/02, 13.02.2006
(24) Дата начала отсчета срока действия патента:
13.02.2006
(46) Опубликовано: 10.11.2007
(56) Список документов, цитированных в отчете о поиске:
RU 2240208 C1, 20.11.2004. RU 2094178 C1, 27.10.1997. RU 2245228 C1, 27.01.2005. RU 24655 U1, 20.08.2005. US 4189264 A, 19.02.1980.
Адрес для переписки:
625000, г.Тюмень, ул. Володарского, 38, ТюмГНГУ, патентно-информационный отдел
|
(72) Автор(ы):
Некрасов Юрий Иннокентьевич (RU), Новоселов Владимир Васильевич (RU), Некрасов Роман Юрьевич (RU), Путилова Ульяна Сергеевна (RU)
(73) Патентообладатель(и):
Государственное образовательное учреждение высшего профессионального образования “Тюменский государственный нефтегазовый университет” (RU)
|
(54) СБОРНЫЙ ИНСТРУМЕНТ
(57) Реферат:
Изобретение относится к области металлообработки, инструменту с механическим креплением режущих пластин. Инструмент содержит корпус, режущую пластину, закрепленную в угловом гнезде корпуса посредством стержня, стружколом, первую и вторую втулки, на дне сквозного ступенчатого отверстия корпуса установлена шайба, которая контактирует плоской торцевой поверхностью с перпендикулярной к оси стержня торцевой поверхностью первой втулки, причем первая и вторая втулки контактируют наклонными к оси стержня торцевыми поверхностями с возможностью смещения второй втулки к оси стержня и взаимодействия с ним. Для повышения эксплуатационной надежности за счет возможности смены режущей пластины без разборки инструмента стержень выполнен двухступенчатым с увеличением диаметра ступеней от резьбового конца к головке стержня и расположен в сквозном ступенчатом отверстии корпуса. В выемке стружколома размещены резьбовой конец стержня и гайка, ступень стержня с меньшим диаметром проходит через сквозное ступенчатое отверстие в корпусе, отверстие в режущей пластине и через отверстие в пластине стружколома. При этом торцевая поверхность ступени стержня с большим диаметром взаимодействует с перпендикулярной к оси стержня торцевой поверхностью второй втулки. 1 з.п. ф-лы, 3 ил.
Изобретение относится к области металлообработки и может быть использовано при резании металлов.
Известен сборный резец, в корпусе которого режущая пластина закреплена в угловом гнезде посредством стержня с головкой, возвратной пружины и нажимного элемента с угловым вырезом, размещенного в отверстии корпуса [Патент 2094718 RU, МПК 6 В23В 27/16, опубл. 1997]. Ось упомянутого отверстия корпуса пересекает ось стержня. Сборный режущий инструмент снабжен втулкой, имеющей наклоненную к оси стержня торцевую поверхность. Втулка размещена в корпусе соосно с упомянутым стержнем и гайкой, установленной на резьбе, которая выполнена на конце стержня. Торцевая наклонная поверхность втулки обращена в сторону угла гнезда в корпусе и предназначена для взаимодействия с угловым вырезом нажимного элемента, в котором выполнено отверстие, а боковая поверхность которого предназначена для взаимодействия со стержнем. Отверстие, в котором размещен нажимной элемент, ориентировано в сторону угла гнезда в корпусе и выполнено глухим. Инструмент с целью предотвращения выпадения втулки при переустановке режущей пластины снабжен винтом, размещенным в корпусе и предназначенным для взаимодействия с пазом, выполненным на упомянутой втулке.
Однако такая конструкция не исключает заклинивания сухаря, втулки и штифта в нерабочем положении при переустановках режущей пластины. Неудобство при переустановках режущей пластины вызывает необходимость выемки стержня и последующее введение стержня в отверстие сухаря и втулки. Расположение гайки снизу и необходимость разборки конструкции снизу также затрудняют работу при переустановках режущей пластины. Кроме того, при точении сходящая по передней поверхности режущей пластины стружка повреждает головку штифта, что приводит к преждевременному выходу из строя и снижению эксплутационного ресурса инструмента. В таких условиях не обеспечивается стружколомание и стружкодробление, что затрудняет работу технологического оборудования.
Известен сборный резец, в котором режущая пластина закреплена в угловом гнезде посредством стержня со шляпкой [СПМ 24655 RU, МПК 7 В23В 27/16, опубл. 2002]. В ступенчатом отверстии корпуса размещена первая втулка с наклонной к оси стержня торцевой поверхностью, обращенной в сторону угла гнезда, расположенная соосно со стержнем, и гайка, установленная на резьбе, выполненной на конце стержня. При этом в ступенчатом отверстии корпуса дополнительно установлена вторая втулка с возможностью смещения к оси стержня и взаимодействия с ним, причем наклонные к оси стержня торцевые поверхности каждой из втулок контактируют. При завинчивании гайки режущая пластина поджимается одновременно по опорной и боковым поверхностям и в угол гнезда в корпусе инструмента.
Однако такая конструкция не гарантирует правильную ориентацию расположения наклонных торцевых поверхностей первой и второй втулок в угол гнезда при переустановках режущей пластины. Расположение гайки снизу и необходимость разборки конструкции снизу также затрудняют работу при переустановках режущей пластины. Кроме того, технологически трудновыполнима качественная обработка плоской торцевой поверхности дна сквозного ступенчатого отверстия в корпусе, что приводит к заеданию второй втулки. При точении сходящая по передней поверхности режущей пластины стружка повреждает головку штифта, что приводит к преждевременному выходу из строя и снижению эксплутационного ресурса инструмента. Также при этом не обеспечивается стружколомание и стружкодробление, что затрудняет работу оператора и технологического оборудования.
Наиболее близким по совокупности существенных признаков, выбранным в качестве прототипа, является сборный инструмент, в котором режущая пластина с отверстием закреплена в угловом гнезде корпуса посредством имеющего головку стержня, на конце которого выполнена резьба [Патент 2240208 RU, МПК 7 В23В 27/16, опубл. 20.11.04]. В сквозном ступенчатом отверстии корпуса соосно со стержнем размещены первая и вторая втулки, контактирующие наклонными к оси стержня торцевыми поверхностями, с возможностью смещения второй втулки к оси стержня и взаимодействия с ним. Первая и вторая втулки контактируют наклонными к оси стержня торцевыми поверхностями. Инструмент снабжен стружколомом, установленным на режущую пластину и выполненным в виде пластины с отверстием для прохода стержня и торцевой поверхностью, предназначенной для взаимодействия со срезаемой стружкой и стружкодробления, наклоненной под углом к передней поверхности режущей пластины и обращенной в сторону вершины и главной режущей кромки режущей пластины. При этом головка стержня размещена в выемке, выполненной в пластине стружколома со стороны его боковой поверхности, противоположной другой его боковой поверхности, контактирующей с передней поверхностью режущей пластины. В корпусе установлен винт, предназначенный для предотвращения поворота второй втулки вокруг оси стержня при его завинчивании и взаимодействующий с продольным пазом, выполненным на второй втулке. В отверстии второй втулки со стороны торца, перпендикулярного к оси стержня, выполнена резьба, с которой взаимодействует резьбовой конец стержня. При вращении головки и завинчивании резьбового конца стержня режущая пластина поджимается одновременно по опорной и боковым поверхностям и в угол гнезда корпуса инструмента.
К причинам, препятствующим достижению требуемого технического результата, относится то, что расположение гайки снизу приводит к необходимости полной разборки конструкции снизу при переустановке режущей пластины в корпусе инструмента, установленного на станке, что затрудняет работу оператора, приводит к возможности заедания конструкции, к снижению надежности процесса обработки.
Задачей, на решение которой направлено заявленное изобретение, является создание инструмента повышенной эксплуатационной надежности, обеспечивающего при металлообработке возможность смены режущей пластины без разборки конструкции и отвинчивания гайки снизу, что облегчает работу оператора и технологического оборудования.
При осуществлении изобретения поставленную задачу можно решить за счет достижения технического результата, который заключается:
– в устранении необходимости отвинчивания гайки снизу и разборки конструкции с выпадением обеих втулок при переустановках режущей пластины за счет размещения гайки сверху, а также установки в корпусе инструмента винта, входящего в паз, выполненный на стержне, и предотвращающего выпадение элементов конструкции из корпуса;
– в облегчении работы оператора за счет проведения сверху всей работы по смене режущей пластины.
Технический результат достигается тем, что в корпусе сборного инструмента выполнено угловое гнездо, в котором закреплена режущая пластина с отверстием посредством снабженного головкой стержня, на конце которого выполнена резьба и установлена гайка. В сквозном ступенчатом отверстии корпуса соосно со стержнем размещены первая и вторая втулки, контактирующие наклонными к оси стержня торцевыми поверхностями с возможностью смещения второй втулки к оси стержня и взаимодействия с ним. На режущую пластину установлен стружколом в виде пластины с выемкой и отверстием, а также торцевой поверхностью, предназначенной для взаимодействия со срезаемой стружкой и стружкодробления. Торцевая поверхность пластины стружколома наклонена под углом к передней поверхности режущей пластины и обращена в сторону вершины и главной режущей кромки режущей пластины. В выемке, предназначенной для защиты гайки и резьбового конца стержня от срезаемой стружки, размещена гайка, которая контактирует с дном выемки в пластине стружколома. При этом выемка выполнена в пластине стружколома со стороны его боковой поверхности, противоположной другой его боковой поверхности, которая контактирует с передней поверхностью режущей пластины. В отличии от прототипа стержень выполнен двухступенчатым, с увеличением диаметра ступеней от резьбового конца к головке стержня. Головка стержня размещена в сквозном ступенчатом отверстии корпуса, а торцевая поверхность ступени с большим диаметром стержня взаимодействует с перпендикулярной к оси стержня торцевой поверхностью второй втулки. На дне сквозного ступенчатого отверстия в корпусе установлена шайба, снабженная плоской торцевой поверхностью, которая взаимодействует с перпендикулярной к оси стержня торцевой поверхностью первой втулки. Оси стержня и сквозного ступенчатого отверстия в корпусе смещены относительно оси отверстия в режущей пластине в направлении вершины углового гнезда, и неперпендикулярные к оси стержня торцевые поверхности первой и второй втулок контактируют друг с другом со стороны, противоположной вершине углового гнезда. Установленный в корпусе винт, предназначенный для предотвращения поворота вокруг своей оси стержня при завинчивании гайки, взаимодействует с продольным пазом, выполненным на ступени стержня с большим диаметром. При завинчивании гайки режущая пластина поджимается одновременно по опорной и боковым поверхностям и в угол гнезда в корпусе инструмента.
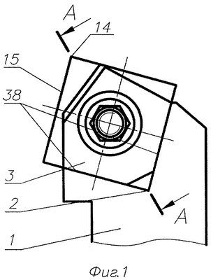
На фиг.1 изображен сборный режущий инструмент; на фиг.2 – вид Б фиг.3; на фиг.3 – разрез по А – А на фиг.1 (повернуто).
В корпусе 1 сборного инструмента, например резца, имеется угловое гнездо 2, в которое устанавливается режущая пластина 3 с отверстием посредством имеющего головку 4 стержня 5, на конце 6 которого выполнена резьба 7 и установлена гайка 8. При этом на режущую пластину 3 установлен стружколом 9 в виде пластины с выемкой 10, отверстием 11 и торцевой поверхностью 12, предназначенной для взаимодействия со срезаемой стружкой и стружкодробления. Торцевая поверхность 12 пластины стружколома 9 наклонена под углом к передней поверхности 13 режущей пластины 3 и обращена в сторону вершины 14 и главной режущей кромки 15 режущей пластины 3. В сквозном ступенчатом отверстии 16 корпуса 1 соосно со стержнем 5 размещены первая 17 и вторая 18 втулки, контактирующие наклонными к оси 19 стержня 5 торцевыми поверхностями 20 и 21, с возможностью смещения второй втулки 18 к оси 19 стержня 5 и взаимодействия с ним. Ось 19 стержня 5 и ось сквозного ступенчатого отверстия 16 в корпусе 1 смещены относительно оси 22 отверстия в режущей пластине 3 в направлении вершины углового гнезда 2. В корпусе 1 сборного инструмента установлен винт 23. На дне 24 сквозного ступенчатого отверстия 16 в корпусе 1 установлена шайба 25, которая контактирует плоской торцевой поверхностью 26 с перпендикулярной к оси 19 стержня 5 торцевой поверхностью 27 первой втулки 17. Первая 17 и вторая 18 втулки контактируют наклонными к оси 19 стержня 5 торцевыми поверхностями 20 и 21 с возможностью смещения второй 18 втулки к оси 19 стержня 5 и взаимодействия с ним. Стержень 5 выполнен двухступенчатым с увеличением диаметра ступеней от конца 6 стержня, на котором выполнена резьба 7, к головке 4 стержня. Ступень 28 стержня 5 с меньшим диаметром проходит через сквозное ступенчатое отверстие 16 в корпусе 1, через отверстие в режущей пластине 3 и через отверстие 11 в пластине стружколома 9. Перпендикулярная к оси 19 стержня 5 торцевая поверхность 29 второй втулки 18 взаимодействует с торцевой поверхностью 30 ступени 31 с большим диаметром стержня 5. При этом конец 6, на котором выполнена резьба 7, стержня 5 и гайка 8, размещены в выемке 10, выполненной в пластине стружколома 9 со стороны его боковой поверхности 32, противоположной другой его боковой поверхности 33, которая контактирует с передней поверхностью 13 режущей пластины 3. Гайка 8 контактирует с дном 34 выемки 10 в пластине стружколома 9. Головка 4 стержня 5 размещена в сквозном ступенчатом отверстии 16 корпуса 1 и на головке выполнен предназначенный для ее центрирования поясок 35. Установленный в корпусе 1 винт 23, предназначенный для предотвращения поворота вокруг оси 19 стержня 5, при завинчивании гайки 8 взаимодействует с продольным пазом 36, выполненным на ступени 31 с большим диаметром стержня 5.
Конструкция сборного инструмента работает следующим образом. Режущую пластину 3 устанавливают в угловом гнезде 2 корпуса 1 и размещают на ней стружколом 9. На стержень 5 размещают первую 17 и вторую 18 втулки, контактирующие наклонными к оси 19 стержня 5 торцевыми поверхностями 20 и 21, с возможностью смещения второй втулки 18 к оси 19 стержня 5 и взаимодействия с ним, шайбу 25, контактирующую плоской торцевой поверхностью 26 с перпендикулярной к оси 19 стержня 5 торцевой поверхностью 27 первой втулки 17. Стержень 5 с установленными на нем шайбой и втулками размещают в сквозном ступенчатом отверстии 16 корпуса 1. Затем на конце 6 стержня 5, на котором выполнена резьба 7, завинчивают гайку 8. Винт 23, предназначенный для предотвращения поворота вокруг оси 19 стержня 5 при завинчивании гайки 8 устанавливают в корпусе 1 и вводят в продольный паз 36, выполненный на ступени 31 с большим диаметром стержня 5. При этом винтом 23 ограничивают осевое перемещение стержня 5 в сквозном ступенчатом отверстии 16 корпуса 1 и предотвращают выпадение из него первой 17 и второй 18 втулок, а также шайбы 25 при переустановках режущей пластины 3. Завинчиванием гайки 8, установленной на резьбовом конце 6 стержня 5, поджимают вторую втулку 18, взаимодействующую своей перпендикулярной к оси 19 стержня 5 торцевой поверхностью 29 с торцевой поверхностью 30 ступени 31 стержня 5 с большим диаметром. Вторая втулка 18 воздействует на наклонную к оси 19 стержня 5 торцевую поверхность 20 первой втулки 17. При этом первая втулка 17 смещается в направлении, перпендикулярном к оси 19 стержня 5, и взаимодействует со стержнем 5 на его ступени 28 с меньшим диаметром, одновременно прижимаясь перпендикулярной к оси 19 стержня 5 торцевой поверхностью 27 к плоской торцевой поверхности 26 шайбы 25, установленной на дне 24 сквозного ступенчатого отверстия 16 в корпусе 1. Наклонная к оси 19 стержня 5 торцевая поверхность 21 второй втулки 18 взаимодействует с наклонной к оси 19 стержня 5 торцевой поверхностью 20 первой втулки 17 со стороны, противоположной вершине углового гнезда 2. Первая втулка 17, смещаясь к оси 19 стержня 5, увлекает с собой верхнюю часть стержня 5 и при завинчивании гайки 8 стружколом 9 прижимает режущую пластину 3 сверху, а стержень 5 прижимает режущую пластину 3 в направлении вершины углового гнезда 2. Таким образом, режущую пластину 3 одновременно поджимают по опорной 37 и боковым 38 поверхностям в угловом гнезде 2.
При таком размещении гайки сверху исключается разборка конструкции и облегчается работа при переустановках режущей пластины. А установленный в корпусе инструмента винт, входящий в паз, выполненный на стержне, ограничивает возможность поворота стержня вокруг своей оси и предотвращает выпадение элементов конструкции из корпуса при переустановке режущей пластины, исключается заедание элементов конструкции при последующей сборке, в результате облегчается работа оператора и повышается надежность и эксплуатационный ресурс сборного инструмента.
Формула изобретения
1. Сборный инструмент, содержащий корпус со сквозным ступенчатым отверстием, режущую пластину с отверстием, закрепленную в угловом гнезде корпуса посредством имеющего головку стержня, на конце которого выполнена резьба и установлена гайка, стружколом, выполненный в виде пластины с выемкой и отверстием для прохода стержня, первую и вторую втулки, установленный в корпусе винт, на дне сквозного ступенчатого отверстия корпуса установлена шайба, которая контактирует плоской торцевой поверхностью с перпендикулярной к оси стержня торцевой поверхностью первой втулки, причем первая и вторая втулки контактируют наклонными к оси стержня торцевыми поверхностями с возможностью смещения второй втулки к оси стержня и взаимодействия с ним, отличающийся тем, что стержень выполнен двухступенчатым с увеличением диаметра ступеней от резьбового конца к головке стержня и расположен в сквозном ступенчатом отверстии корпуса, в выемке стружколома размещены резьбовой конец стерженя и гайка, контактирующая с дном выемки в пластине стружколома, ступень стержня с меньшим диаметром проходит через сквозное ступенчатое отверстие в корпусе, через отверстие в режущей пластине и через отверстие в пластине стружколома, при этом торцевая поверхность ступени стержня с большим диаметром взаимодействует с перпендикулярной к оси стержня торцевой поверхностью второй втулки, при этом установленный в корпусе винт взаимодействует с продольным пазом, выполненным на ступени стержня с большим диаметром, а головка стержня размещена в сквозном ступенчатом отверстии корпуса и на ней выполнен центрирующий поясок.
2. Сборный инструмент по п.1, отличающийся тем, что он выполнен в виде резца.
РИСУНКИ
|
|