|
|
(21), (22) Заявка: 2006105934/15, 26.02.2006
(24) Дата начала отсчета срока действия патента:
26.02.2006
(46) Опубликовано: 10.11.2007
(56) Список документов, цитированных в отчете о поиске:
RU 2176229 C1, 27.11.2001. RU 2222517 C1, 27.01.2004. RU 2206555 C2, 20.06.2003. SU 1463333 A1, 07.03.1989. US 3262680 A, 26.07.1966. US 3075746 A, 29.01.1963.
Адрес для переписки:
614113, г.Пермь, ул. Чистопольская, 16, ФГУП “Научно-исследовательский институт полимерных материалов”
|
(72) Автор(ы):
Гатаулин Исак Гасинович (RU), Замахаев Юрий Васильевич (RU), Овчинников Анатолий Иванович (RU), Никулин Геннадий Иванович (RU), Гринберг Семен Ионович (RU), Куценко Геннадий Васильевич (RU)
(73) Патентообладатель(и):
Федеральное государственное унитарное предприятие “Научно-исследовательский институт полимерных материалов” (RU)
|
(54) ВЕРТИКАЛЬНЫЙ СМЕСИТЕЛЬ
(57) Реферат:
Изобретение относится к области смешения взрывчатых составов, в том числе порохов и твердых ракетных топлив. Устройство включает в себя вертикальный смеситель, содержащий планетарный редуктор привода мешалок и водила, лопастные винтовые самоочищающиеся мешалки, сменные чаши с тележками, гидроцилиндр подъема сменной чаши. Смеситель снабжен устройством для установки и снятия мешалок, включающий основание, установленное на тележке соосно со смесителем и гидроцилиндром подъема сменной чаши. На верхней части основания размещена вертикальная ось, на которой установлено водило устройства с возможностью поворота вокруг этой оси. В нижней части основания выполнено посадочное место для головки штока гидроцилиндра подъема чаши. На водиле размещена корзина для предварительного размещения мешалок, представляющая собой ограждение для вертикального расположения каждой мешалки с зазором относительно ограждения. На водиле соосно с осями ограждений установлены винтовые домкраты, причем упорная пята домкрата установлена на упорном шарикоподшипнике, кольца которого развернуты дорожками качения наружу с возможностью ограниченного перемещения пяты в горизонтальной плоскости. Мешалки смесителя снабжены съемными строповочными устройствами. 7 ил.
Изобретение относится к области смешения взрывчатых составов, в том числе порохов и твердых ракетных топлив.
Смеситель предназначен для смешения порошкообразных и жидковязких компонентов взрывчатого состава, вакуумирования полученной массы и транспортировки ее к месту формования изделий.
Известна установка для смешения и формования по патенту РФ №2176229, принятая за прототип, содержащая смесительную головку с редуктором, включающим в себя планетарную зубчатую передачу (планетарный редуктор) привода рабочих органов – мешалок и водила, лопастные винтовые самоочищающиеся мешалки, комплект сменных корпусов чаш с тележками.
Основным преимуществом указанной установки является высокая эффективность перемешивания, незначительные технологические потери перерабатываемого состава при изготовлении изделий.
Недостатками установки является сложность ее технологического обслуживания и наличие при этом ручных опасных операций.
Сложность обслуживания заключается в том, что после определенного времени работы требуется разборка, промывка и замена элементов узла уплотнений мешалок, для чего производится снятие мешалок с валов планетарного редуктора. Учитывая то, что вертикальные мешалки находятся под планетарным редуктором, использование грузоподъемных устройств невозможно. Практически при эксплуатации установок УСП-2Т и СП-1М на заводах для подъема и опускания мешалок используются гидроцилиндры для подъема чаши, входящие в состав установки. При этом для подъема мешалок в вертикальном положении необходимо поддерживать их вручную, что опасно, так как вес мешалки в промышленных смесителях составляет 50…150 кг. Кроме того, необходимо при подъеме мешалки и посадке ее на вал точно сориентировать ее относительно вала редуктора и шпоночного паза на нем. При неточной ориентации мешалка торцем упирается в торец вала, а шток гидроцилиндра подъема начинает воздействовать через мешалку и вал на подшипники редуктора, что при значительном усилии на штоке может привести к поломке подшипников.
Опасной является также операция опускания мешалки при ручной поддержке после работы, так как на мешалке имеются остатки взрывчатого состава и в случае касания мешалкой другой мешалки или падения ее возможно загорание взрывчатого состава.
В целом операция разборки сборки мешалок является длительной, так как она проводится раздельно для каждой мешалки.
Кроме того мешалки, имея значительный вес, как правило, не имеют приспособлений для подъема их грузоподъемными устройствами.
Техническим результатом предлагаемого изобретения является:
– возможность дистанционного съема мешалок с валов планетарного редуктора;
– обеспечение предварительного ориентирования мешалок в вертикальном положении перед сборкой с использованием обычных грузоподъемных устройств;
– обеспечение регулируемого усилия при посадке мешалок на валы редуктора;
– упрощение процесса центровки мешалок перед посадкой их на валы;
– исключение опасных ручных операций при разборке и сборке мешалок;
– уменьшение времени сборки-разборки мешалок за счет одновременной установки или снятия всех мешалок.
Указанный технический результат достигается тем, что смеситель снабжен устройством для установки и снятия мешалок, включающим основание, установленное на тележке соосно со смесителем и гидроцилиндром подъема чаши, на верхней части основания размещена вертикальная ось, на которой установлено водило с возможностью поворота вокруг этой оси, в нижней части основания выполнено посадочное место для головки штока гидроцилиндра подъема чаши, на водиле установлена корзина для предварительного размещения мешалок, представляющая собой ограждение для вертикального расположения каждой мешалки, диаметр ограждения для каждой на 1÷3 мм больше диаметра мешалки, межосевое расстояние между осями ограждений и расстояние осей ограждений от центральной оси смесителя равны межосевому расстоянию между осями приводных валов мешалок в планетарном редукторе и расстояниям осей приводных валов мешалок от центральной оси смесителя, на водиле соосно с осями ограждения установлены винтовые домкраты, причем упорная пята домкрата расположена на упорном шарикоподшипнике, кольца которого развернуты дорожками качения наружу с возможностью ограниченного перемещения пяты в горизонтальной плоскости, а мешалки смесителя снабжены съемными строповочными устройствами.
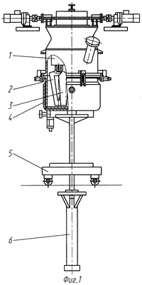
Предлагаемый смеситель без установки устройства для установки и снятия мешалок изображен на фиг.1. Вертикальный смеситель состоит из планетарной зубчатой передачи привода рабочих органов (планетарного редуктора) 1, лопастных винтовых самоочищающихся мешалок 2, 3, сменной чаши 4, тележки 5, гидроцилиндра подъема чаши 6.
На фиг.2 изображено устройство для установки и снятия мешалок в положении, предшествующем установке мешалок. Устройство состоит из основания 7, которое выступами 8 центрируется в посадочном кольце 9 тележки, предназначенном для установки сменной чаши. Для вертикального перемещения мешалок на водиле 10 устройства установлены винтовые домкраты 11, 12, размещенные по вертикальным осям ограждения 13 мешалок. В нижней части основания 7 выполнено посадочное место для головки штока гидроцилиндра 6 (фиг.1).
На фиг.3 изображена посадка водила 10 на ось 14 основания 7. Для возможности свободного поворота водила 10 вокруг оси установлен упорный подшипник 15.
На фиг.4 изображен винтовой домкрат, состоящий из упорной пяты 16, упорного шарикоподшипника 17, кольца которого установлены дорожками качения наружу; упорная пята имеет возможность перемещения в пределах размера “а”. Для вращения винтовой втулки 18 по винту 19 имеются рукоятки 20.
На фиг.5 изображен вид на устройство сверху при неустановленных мешалках. Диаметр ограждений “D” на 1…3 мм больше диаметра мешалок, что позволяет свободно устанавливать мешалки на упорные пяты 11, 12 винтового домкрата и удерживать их в вертикальном положении.
На приведенных чертежах представлена схема установки двух мешалок, находящихся не по центру смесителя. Для устранения перекоса устройство содержит противовес 20. В случае наличия в смесителе двух пар мешалок, расположенных симметрично относительно центра смесителя, вместо противовеса устанавливается аналогичное устройство в виде ограждений и винтовых домкратов. Межосевое расстояние “в” ограждений и координаты их относительно центра смесителя (оси 14 фиг.3) равно межосевому расстоянию приводных валов планетарного редуктора и координатам их в планетарном редукторе.
На фиг.6 показано устройство в процессе сборки мешалок, когда мешалка 3 собрана, а мешалка 2 находится от выходного вала планетарного редуктора 1 на расстоянии “с”, до которого мешалки поднимаются гидроцилиндром 6 при сборке или опускаются домкратом при разборке.
На фиг.7 изображено строповочное устройство для строповки мешалок грузоподъемным устройством. Устройство состоит из серьги 21, вставленной в посадочное отверстие мешалки и застопоренной пальцами 22. От невыпадения палец защищен втулкой 23, а болт 24 стопорит втулку. Кроме того, болт облегчает извлечение пальца при снятии серьги.
Работа предлагаемого устройства осуществляется следующим образом. После окончания процесса смешения чаша 4 (фиг.1) с помощью гидроцилиндра 6 опускается на тележку 5 и увозится на фазу формования изделий. Мешалки 2, 3 очищаются от остатков продукта. Чаша снимается с тележки и в посадочное кольцо 9 (фиг.2) тележки центрирующими выступами 8 устанавливается основание 7 устройства установки и снятия мешалок. Винтовые домкраты 11, 12, установленные на водиле 10 устройства, находятся в состоянии, когда упорная пята 16 (фиг.4) каждого домкрата опущена в крайнее нижнее положение. Далее устройство на тележке транспортируется под смеситель и центрируется так, что вертикальная ось 14 основания 7 (фиг.3) устройства устанавливается соосно центральной оси планетарной зубчатой передачи (оси чаши) и оси гидроцилиндра подъема чаши. Затем гидроцилиндром подъема чаши устройство поднимается на такую высоту, чтобы расстояние от нижнего торца мешалки, например мешалки 3 (фиг.6), до упорной пяты домкрата составляло величину “с”. Перед подъемом устройство должно быть сориентировано таким образом, чтобы мешалки входили в ограждение 13 (фиг.5) с зазором 1…3 мм путем поворота водила 10 (фиг.3) на валу 14 основания 7, или поворотом планетарного редуктора. Совмещение достигается легко за счет того, что межосевое расстояние “в” (фиг.5) между осями ограждений равно межосевому расстоянию между мешалками в планетарном редукторе; также как и расстояние осей ограждений от центральной оси равно расстояниям осей мешалок относительно центральной оси смесителя. Далее опорные пяты винтовых домкратов поднимаются до упора в торцы мешалок, мешалки открепляются от валов планетарного редуктора и домкратом опускаются на величину “с” (фиг.6) под собственным весом. Работа производится вручную, что позволяет контролировать процесс съема и избежать “закусывания” мешалок на валах с последующими падением. Далее мешалки совместно с устройством опускаются гидроцилиндром в нижнее положение и на тележке отвозятся в помещение для последующих операций (окончательной чистки, мойки, ремонта и т.д.).
Для снятия мешалок грузоподъемным устройством на торец мешалки устанавливается строповочное устройство в виде серьги 21 (фиг.7), зафиксированной пальцем 22 и защищенной от выпадания втулкой 23 с болтом 24.
Процесс сборки мешалок ведется аналогично описанному в обратном порядке. Мешалки 2, 3 (фиг.6) поднимаются гидроцилиндром не доходя на величину “с” до торцев валов планетарного редуктора (величина “с” устанавливается опытным путем). После грубой ориентировки осей валов мешалок и планетарного редуктора производится подъем мешалок домкратом (фиг.4) вплотную к валам планетарного редуктора и точная настройка осей валов мешалок и планетарного редуктора, а также шпонки и шпоночного паза за счет того, что упорная пята 16, на которой стоит мешалка, находится на упорном подшипнике 17, позволяющем пяте легко двигаться во всех направлениях в горизонтальной плоскости на величину, ограниченную размером “а”.
Формула изобретения
Вертикальный смеситель, содержащий планетарный редуктор привода мешалок и водила, лопастные винтовые самоочищающиеся мешалки, сменные чаши с тележками, гидроцилиндр подъема сменной чаши, отличающийся тем, что смеситель снабжен устройством для установки и снятия мешалок, включающим основание, установленное на тележке соосно со смесителем и гидроцилиндром подъема сменной чаши, на верхней части основания размещена вертикальная ось, на которой установлено водило с возможностью поворота вокруг этой оси, в нижней части основания выполнено посадочное место для головки штока гидроцилиндра подъема чаши, на водиле установлена корзина для предварительного размещения мешалок, представляющая собой ограждения для вертикального расположения каждой мешалки, диаметр ограждения для каждой мешалки на 1-3 мм больше диаметра мешалки, межосевое расстояние между осями ограждений и расстояние осей ограждений от центральной оси смесителя равны межосевому расстоянию между осями приводных валов мешалок в планетарном редукторе и расстояниям осей приводных валов мешалок от центральной оси смесителя, на водиле соосно с осями ограждения установлены винтовые домкраты, причем упорная пята домкрата установлена на упорном шарикоподшипнике, кольца которого развернуты дорожками качения наружу, с возможностью ограниченного перемещения пяты в горизонтальной плоскости, а мешалки смесителя снабжены съемными строповочными устройствами.
РИСУНКИ
|
|