|
(21), (22) Заявка: 2005139609/15, 20.12.2005
(24) Дата начала отсчета срока действия патента:
20.12.2005
(43) Дата публикации заявки: 27.06.2007
(46) Опубликовано: 10.11.2007
(56) Список документов, цитированных в отчете о поиске:
RU 3563 U1, 16.02.1997. SU 759113 А, 30.08.1980. RU 2176935 С2, 20.12.2001. GB 2116457 А, 28.09.1983.
Адрес для переписки:
121165, Москва, а/я 15, ООО “ППФ-ЮСТИС”, пат.пов. Л.С.Пилишкиной, рег.№ 895
|
(72) Автор(ы):
Донченко Анатолий Яковлевич (RU)
(73) Патентообладатель(и):
Донченко Анатолий Яковлевич (RU)
|
(54) СТРУЙНЫЙ СМЕСИТЕЛЬ
(57) Реферат:
Изобретение относится к устройствам для смешивания жидкотекущих сред. Смеситель содержит камеру смешения, в поперечном сечении выполненную в форме витка спирали, на боковой стенке которой выполнен патрубок для тангенциального подвода жидкотекущих сред. Камера смешения связана с камерой гомогенизации полученной смеси, имеющей выходное отверстие, и снабжена регулятором скорости потока введенных в нее компонентов в виде поворотной лопатки, установленной на входе в камеру смешения с возможностью ее фиксации в заданном положении. Технический результат состоит в расширении технологических возможностей смесителя и повышении его эффективности. 3 з.п. ф-лы, 2 ил.
Изобретение относится к устройствам для смешивания жидкотекущих сред и может быть использовано при обработке сточной воды для технических и бытовых нужд как на судах, так и на шельфовых буровых платформах, а также в химической промышленности при обработке нефти щелочью для получения красителей и других химических растворов.
Известен инжекторный струйный смеситель, содержащий камеру смешения, в донной торцевой стенке которой расположено отверстие для ввода пассивной среды (гудрона в жидком агрегатном состоянии), а на ее боковой стенке выполнены отверстия для тангенциального подвода активной среды (воздуха), и камеру гомогенизации с выходным соплом, имеющим по периметру окна для выхода смеси (а.с. SU №1113160, кл. B01F 5/04, 1984).
Известный смеситель характеризуется слабой степенью диспергирования пассивной среды в активную среду.
Наиболее близкой к предложенному изобретению является полезная модель, в которой описан инжекторный струйный смеситель, содержащий камеру смешения, в донной торцевой стенке которой выполнено отверстие для ввода первой среды, а на боковой стенке – отверстие для ввода второй среды, и камеру гомогенизации полученной смеси с выходным соплом.
Для обеспечения большей степени диспергирования пассивной среды (воздух) в активную среду (сточная вода) камера смешения инжекторного струйного смесителя выполнена спиралевидной (в поперечном сечении она имеет форму витка спирали). Описанный смеситель предназначен для термоокислительного жидкофазного обезвреживания сточных вод кислородом воздуха (RU №3563, В01F 5/04, опубликован 16.02.1997).
Недостаток ближайшего аналога состоит в том, что в нем не обеспечена возможность регулирования скорости потока поступающих в камеру смешения компонентов смеси.
Технический результат изобретения заключается в расширении технологических возможностей смесителя благодаря усовершенствованию его конструкции, обеспечивающей возможность регулирования скорости поступающих в смеситель компонентов смеси, с одновременным повышением эффективности смешивания этих компонентов.
Технический результат достигается в изобретении благодаря выполнению струйного смесителя с камерой смешения, имеющей патрубок для ввода в нее компонентов смеси, связанной с камерой гомогенизации полученной смеси, имеющей выходное отверстие. Камера смешения в поперечном сечении имеет форму витка спирали и снабжена регулятором скорости потока введенных в нее компонентов.
В преимущественном варианте выполнения смесителя регулятор скорости потока выполнен в виде поворотной лопатки, установленной на входе в камеру смешения с возможностью ее фиксации в заданном положении.
Лопатка закреплена на рычаге, свободный конец которого выведен с наружной стороны донной части камеры смешения для удобства управления лопаткой. Камера гомогенизации может иметь выходное сопло, снабженное направляющими поток полученной смеси лопатками.
На боковой стенке камеры смешения может быть образовано, по меньшей мере, одно дополнительное отверстие для подвода дополнительных компонентов и/или реагентов смеси.
Камера смешения предложенного смесителя выполнена спиралевидной, равномерно сужающейся по ходу потока, что обеспечивает появление в потоке вихрей, способствующих лучшему смешиванию вводимых в камеру компонентов смеси, например, таких как: нефть и раствор щелочи (NaOH) и, следовательно, образованию более мелких капель щелочи в нефти. Т.о. в полезной модели достигается технический результат, заключающийся в повышении эффективности смешивания компонентов смеси.
При движении компонентов смеси внутри камеры смешения создается турбулентное вихревое движение, способствующее образованию в центральной части этой камеры кавитационной каверны, в которой поддерживается давление ниже атмосферного.
Снабжение камеры смешения регулятором скорости потока введенных в нее компонентов смеси позволит увеличить или уменьшить струю потока, а следовательно, повлияет на размер и форму кавитационной каверны, что в свою очередь приведет к уменьшению или увеличению размеров капель реагентов. Т.о. в полезной модели достигается технический результат, заключающийся в расширении технологических возможностей конструкции.
Эффективность смешивания может быть также повышена благодаря выполнению на боковой стенке камеры смешения одного или нескольких дополнительных отверстий, предназначенных для тангенциального подвода активной среды в виде различных компонентов и реагентов.
Указанные отверстия могут располагаться на разных уровнях камеры смешения.
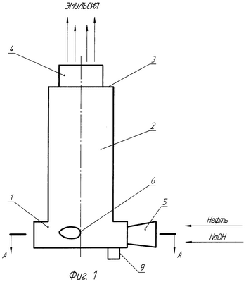
Изобретение поясняется чертежами, где на фиг.1 схематично изображен смеситель (общий вид), на фиг.2 – разрез А-А на фиг.1.
Изображенный на фиг.1 инжекторный струйный смеситель состоит из камеры смешения 1, соединенной с камерой гомогенизации 3 полученной смеси, закрытой крышкой 3 с выходным патрубком или соплом 4. Камера 1 выполнена за одно целое или соединена с входным коническим патрубком 5 для подвода жидких компонентов смеси. На боковой стенке камеры 1 может быть выполнено одно или несколько отверстий 6 для подвода дополнительных компонентов или реагентов.
Камера 1 в поперечном сечении имеет форму витка спирали (фиг.2). На входе в камеру 1 в месте, где тыльная сторона патрубка 5 соединена с боковой стенкой камеры 1, установлена поворотная лопатка 7, служащая регулятором скорости потока компонентов смеси. Лопатка 7 жестко соединена с рычагом 8, свободный конец которого размещен в штоке 9, выполненном в донной части камеры 1.
Смеситель работает следующим образом.
Соответствующие компоненты и реагенты будущей смеси через патрубок 5 и отверстие 6, образованное в боковой стенке камеры 1, поступают внутрь камеры, создавая в ней турбулентное вихревое движение. В результате этого в центральной части камеры 1 над донной ее частью образуется кавитационная каверна, в которой создается давление ниже атмосферного.
Расширение или сужение струи входящих в камеру 1 компонентов смеси осуществляется поворотом рычага 8 с лопаткой 7, в результате чего происходит увеличение или уменьшение разрежения в кавитационной каверне, что, в свою очередь, приводит к уменьшению или увеличению размеров капель реагентов.
Спиралевидная форма камеры 1 и режим подачи жидких компонентов, регулируемый лопаткой 7, способствуют тому, что в кавитационной каверне начинается смешение компонентов при локальном воздействии более высокой температуры и более высокого давления, чем у исходных компонентов.
Из камеры смешения 1 смесь поступает в камеру гомогенизации 2, где процесс смешивания завершается.
После прохождения через камеру 2 смесь вытекает через выходное сопло или патрубок 4.
Формула изобретения
1. Струйный смеситель, содержащий камеру смешения с патрубком для ввода компонентов смеси, связанную с камерой гомогенизации полученной смеси, имеющей выходное отверстие, при этом камера смешения в поперечном сечении имеет форму витка спирали и снабжена регулятором скорости потока введенных в нее компонентов смеси, выполненным в виде поворотной лопатки, установленной на входе в камеру смешения с возможностью ее фиксации в заданном положении.
2. Смеситель по п.1, отличающийся тем, что поворотная лопатка закреплена на рычаге, свободный конец которого выведен с наружной стороны донной части камеры смешения.
3. Смеситель по п.1, отличающийся тем, что на выходе из камеры гомогенизации выполнено сопло, снабженное направляющими поток полученной смеси лопатками.
4. Смеситель по п.1, отличающийся тем, что на боковой стенке камеры смешения образовано, по меньшей мере, одно отверстие для подвода дополнительных компонентов и/или реагентов смеси.
РИСУНКИ
|