|
|
(21), (22) Заявка: 2004101360/12, 21.01.2004
(24) Дата начала отсчета срока действия патента:
21.01.2004
(43) Дата публикации заявки: 10.07.2005
(46) Опубликовано: 10.11.2007
(56) Список документов, цитированных в отчете о поиске:
RU 2088298 C1, 27.08.1997. RU 2200054 C1, 10.03.2003. SU 789144 A1, 23.12.1980. RU 2080159 C1, 27.05.1997. US 5315832 A, 31.05.1994. GB 353079 A, 23.07.1931.
Адрес для переписки:
123458, Москва, ул. Таллинская, 6, корп.3, кв.402, В.И. Бердникову
|
(72) Автор(ы):
Бердников Владимир Иванович (RU), Карташов Михаил Александрович (RU), Беляков Олег Дмитриевич (RU)
(73) Патентообладатель(и):
Бердников Владимир Иванович (RU), ООО “ИНОТЕХ” (RU)
|
(54) УСТАНОВКА ДЛЯ УЛАВЛИВАНИЯ ПАРОВ УГЛЕВОДОРОДОВ ИЗ ПАРОВОЗДУШНЫХ СМЕСЕЙ, ОБРАЗУЮЩИХСЯ ПРИ ХРАНЕНИИ И ПЕРЕВАЛКЕ НЕФТЕПРОДУКТОВ
(57) Реферат:
Изобретение относится к нефтяной и нефтеперерабатывающей промышленности. Установка для улавливания паров углеводородов из паровоздушной смеси, образующейся при хранении и перевалке нефтепродуктов, содержит абсорбер, холодильную машину, теплообменники, насос, подводящие и отводящие трубопроводы абсорбента, паровоздушной смеси и очищенного воздуха, средства автоматики, включающие клапана, вентили, датчики, и блок автоматического управления ее работой. Причем абсорбер выполнен в виде горизонтального дискового тепломассообменного аппарата, который установлен с наклоном, и возможностью его регулирования относительно оси, в сторону выхода из него абсорбента, в качестве которого используется дизельное топливо, а сама установка выполнена по модульному принципу. Абсорбер с трубопроводами подачи и отвода паровоздушной смеси, воздуха и абсорбента с расположенными на них средствами автоматики, насосом и теплообменниками образуют контура паровоздушной смеси и абсорбции, которые связаны между собой внутренним пространством абсорбера и размещены в отдельном блок-боксе. Холодильная машина и блок автоматического управления работой установки расположены вне блок-бокса и соединены с теплообменником, расположенным на трубопроводе подачи абсорбента, и со средствами автоматики. Изобретение позволяет значительно повысить полноту улавливания углеводородов, увеличить экономичность и улучшить экологичность установки. 7 з.п. ф-лы, 4 ил., 1 табл.
Изобретение относится к нефтеперерабатывающей промышленности, системам транспортирования, хранения, перевалки и реализации нефтепродуктов и позволяет путем улавливания паров углеводородов (УВ) из паровоздушной смеси (ПВС) существенно сократить выбросы в атмосферу паров углеводородов из резервуаров, цистерн и т.п. на нефтеперерабатывающих заводах, нефтебазах, автомобильных, железнодорожных и морских эстакадах слива-налива нефтепродуктов, в том числе на АЗС в ходе хранения и заправки автомобилей.
Паровоздушная смесь, выбрасываемая из резервуаров хранения нефтепродуктов на нефтеперерабатывающих заводах, нефтебазах или на эстакадах слива-налива нефтепродуктов в ходе операций наполнения-опорожнения различного рода емкостей, содержит воздух и значительное количество парообразных углеводородов (примерно от 15 до 55% об.), которые при попадании в атмосферу приводят как к существенному загрязнению окружающей среды, так и к потере товарных нефтепродуктов, в частности легкокипящих фракций бензина, керосина и т.п. (при одновременном снижении качества самих нефтепродуктов). Поэтому паровоздушная смесь перед выходом в атмосферу должна пройти очистку от углеводородов (с возвратом последних в емкость хранения углеводородов), что позволит сократить потери товарных нефтепродуктов при одновременном предотвращении загрязнения окружающей среды.
Известны несколько способов улавливания паров углеводородов из паровоздушной смеси, нашедших практическое применение.
1. Способ по пат. RU №2100689, мкл. F17C 3/00, заключающийся в улавливании паров углеводородов жидким сорбентом, в качестве которого используют часть жидких нефтепродуктов, которые забирают из нижней части резервуара, охлаждают и возвращают в верхнюю часть резервуара, орошая в противотоке пары углеводородов. Этот способ, на первый взгляд, достаточно прост, но обладает низкой абсорбционной способностью, малоэффективен и может применяться только при перевалке нефти с малой концентрацией легкокипящих фракций углеводородов (попутного газа). В связи с чем данный способ применяется крайне редко и только при кратковременном (до 1-3-х дней) хранении нефти непосредственно в местах добычи (в основном в северных регионах), так как довольно быстро происходит насыщение абсорбента (нефти) уловленными легкими углеводородами до равновесного состояния и соответственно прекращению процесса абсорбции, т.е. очевидна необходимость практически непрерывной перекачки нефти на ее дальнейшую переработку при одновременном отводе не уловленных паров углеводородов в коллектор сбора попутных газов для их дальнейшей утилизации.
2. Способ утилизации паров бензина и установка для его реализации (см. процесс PR1-SEAD в журн. «Erdl, Erdgas, Kohle», том 108, №2, с.81), включающий двухступенчатую адсорбцию паров легкокипящих фракций углеводородов (ЛФУ) на активированном угле, регенерацию углей воздействием вакуума (при нагреве адсорбента) и (или) продувкой паром (или нагретым воздухом), поглощение выделенных из углей углеводородов (при их высокой концентрации) непосредственно бензином из резервуара.
Этот способ (и установка для его реализации) обеспечивает утилизацию паров легкокипящих фракций углеводородов из резервуаров, позволяет достичь высокой степени их очистки, но крайне сложен и громоздок, т.к. предполагает многоступенчатую последовательность технологических операций, приводящую к наличию в установке для его осуществления, металлоемких, габаритных адсорбционных и абсорбционных блоков, сложной аппаратуры десорбции, системы управления и др. Существенным недостатком способа является необходимость введения резервных адсорбционных блоков, что вызвано необходимостью их последовательной регенерации с периодической остановкой на замену в них дефицитных и дорогих расходуемых материалов – активированных углей. Кроме того, для его осуществления необходимы значительные энергетические затраты на многократную регенерацию адсорбента (сопровождаемую ухудшением его сорбционных свойств). Обладая неоправданно большой стоимостью, установки по данному способу потенциально нерентабельны для предприятий, их приобретающих. Тем не менее подобные способы нашли широкое применение на западе в основном за счет финансовой поддержки со стороны федеральных или муниципальных властей по соображениям обеспечения экологической безопасности населения. По критерию “эффективность-стоимость” такие системы в России практически неприменимы и их единичные внедрения носят “рекламный” характер.
3. Способы (и устройства) очистки паровоздушной смеси от углеводородов (см. пат. US №4475928, мкл. В01D 53/14, 1984; пат. RU №2155631, мкл. В01D 3/14, 06.05.1996; пат. RU №2088298, мкл. В01D 5/00, В01D 90/30, 23.03.1995), включающие абсорбцию углеводородных паров охлажденным керосином с последующей регенерацией керосина нагревом и поглощением выделенных из керосина паров бензином.
Эти способы и устройства и их реализации, при использовании в качестве абсорбента керосина (далеко не оптимального абсорбента), обеспечивают практическую полноту улавливания углеводородов в районе 85%, что неудовлетворительно. Кроме того, чтобы обеспечить даже такую эффективность процесса абсорбции, необходимо охлаждать керосин до более низкой температуры (-10÷-20°С), что требует больших энергетических затрат на охлаждение. Чтобы снизить энергетические затраты при реализации абсорбционных способов и уменьшить расход используемого абсорбента – керосина, в этих способах применяют дополнительные операции и приспособления, обеспечивающие либо предварительный отбор воздуха из паровоздушной смеси, что ведет к увеличению концентрации углеводородов в ПВС, поступающей в абсорбер, либо компримирование паровоздушной смеси – сжатие в “мокрых” компрессорах до Ра=0,3-0,6 МПа (при низких концентрациях углеводородов безопасно только при использовании “мокрых” компрессоров, но более дорогих и сложных), т.е. предприняты широко известные меры по организации более эффективного процесса абсорбции при повышенном давлении, в том числе за счет частичной предварительной конденсации паров углеводородов в смеси и некоторого уменьшения расхода охлажденного абсорбента.
Однако на практике поднятие давления в абсорбционной колонне приводит к росту энергопотребления за счет увеличения мощности компрессора на сжатие больших расходов ПВО. При этом сжатие ПВС до давлений 0,5÷0,8 МПа с концентрацией углеводородов в диапазоне от 0,8 до 17% об. (свойственных переходным процессам) может привести к воспламенению или даже взрыву ПВС, что требует с одной стороны – гарантированного обеспечения работы установок на “богатых” смесях (выше 17% об. ЛФУ), что возможно только при замене кислорода “воздуха” в ПВС инертным газом, либо – использования преимущественно “мокрых” (не поршневых) технологий сжатия, имеющих, как правило, более высокую стоимость компрессоров. Кроме того, повышение рабочего давления в системе требует более сложных и дорогих мероприятий по обеспечению безопасной эксплуатации таких систем, приводит к усложнению установок, росту металлоемкости и габаритов установок и, как следствие, росту их стоимости.
Кроме того, использование керосина, в качестве абсорбента, ограничивает область применения этих способов производствами с большими объемами и номенклатурой производимых и хранимых нефтепродуктов, таких как нефтеперерабатывающие заводы (НПЗ) и нефтебазы (НБ), на которых, как правило, имеется в наличии керосин. На АЗС и НБ, где из нефтепродуктов реализуются только бензины и дизельное топливо (ДТ), требуется строительство дополнительных емкостей для хранения керосина, что увеличит стоимость внедрения таких способов и, в совокупности с вышеприведенными недостатками, сдерживает внедрение установок на основе таких систем (способов).
4. Известны установки улавливания паров углеводородов из паровоздушной смеси, предназначенные, в той или иной мере, для реализации перечисленных выше целей в п.п.3,4 способов – см. авт. свид. SU №1512870, мкл. В65D 90/30, 07.10.1989; патенты RU №2193443, мкл. В01D 53/72, В65D 90/30, 29.10.2001; №2106903, мкл. В01D 53/14. В01D 53/75, 20.04.1993; RU №2050170, мкл. В01D 19/00, 27.11.1992; RU №2080159, мкл. В01D 53/14, В01D 53/80, 12.07.1993. Общим для всех вышеприведенных способов и установок является осуществление процесса улавливания паров углеводородов из паровоздушной смеси методом абсорбции с последующей десорбцией абсорбента с использованием для этих целей широкой гаммы вертикальных (но крайне громоздких) тепломассообменных аппаратов (колонн) и схемных решений, хорошо отработанных еще в XX веке.
Исходя из представленных в заявках материалов установки по этим способам и устройствам должны бы обеспечивать решение задачи эффективного улавливания паров углеводородов из паровоздушной смеси. Однако на практике данные системы в известном аппаратурном оформлении на базе классических вертикальных установок не могут обеспечить заявленных рабочих характеристик из-за особенности их эксплуатации при пониженных температурах на нерасчетных режимах, в связи с чем они, в основном, используются во вторичных (десорбционных) контурах адсорбционных установок или работают на существенно более “мягких” режимах (как правило, только при положительных температурах абсорбента из-за “хронического” обледенения верхней части контактных зон установок при отрицательных температурах), что снижает эффективность улавливания паров углеводородов (керосином) и ограничивает область их использования только для грубой очистки ПВС (улавливают до 75% об. паров бензина или до 65% об. паров нефти, что неприемлемо мало).
Основными недостатками вертикальных тепломассообменных аппаратов являются:
– большое газодинамическое сопротивление по рабочим трактам колонн, что практически всегда ведет к необходимости использования либо “урезанных” по высоте колонн, либо оснащения установок нагнетающими компрессорами для принудительного проталкивания ПВС (способными инициировать воспламенение смеси);
– значительный разброс интенсивности протекания процесса (по сечению) в рабочей зоне в тарельчатых колонных аппаратах, образование капельных выбросов, что ведет к необходимости введения “успокоительных” камер и, как следствие, росту габаритов и стоимости установок.
Такие “высотные” аппараты и соответственно оснащенные ими установки допустимо устанавливать только на крупных НПЗ, нефтебазах и нефтеперевалочных комплексах, обладающих большими финансовыми возможностями и достаточными площадями для их размещения. Окупиться такие установки могут только с учетом экологического эффекта и только при непрерывных режимах работы и больших объемах переваливаемых и хранимых нефтепродуктов.
В некоторых случаях, для повышения полноты улавливания углеводородов из ПВС, установки оснащаются на выходе дополнительными устройствами – адсорбционными блоками (см. пат. RU №2106903, №2050170 и др., или блоками катализаторов окисления углеводородов перед выходом на свечи рассеивания (см. пат. №2080159). Данный способ требует ответственных обоснований (и тщательной экспериментальной отработки) в силу того, что концентрация ЛФУ в паровоздушной смеси, поступающей на блоки катализаторов окисления углеводородов, практически всегда находится во взрывоопасном диапазоне (0,8÷5% об. по УВ). Последнее обстоятельство либо вообще исключает использование коллекторной обвязки (КО) (пробиваемой детонационным горением) для подвода ПВС к “открытым” высокотемпературным системам дожигания УВ, либо требует введения огнепреградителей на КО, способных удержать распространение детонационного и дефлаграционного горения, что не отражено в материалах патентов.
В совокупности практическое внедрение всех вышеприведенных устройств в предлагаемых аппаратурных оформлениях крайне затруднительно, главным образом, из-за громоздкости используемых в них абсорбционного и (или десорбционного) оборудования вертикального типа и высокой пожаровзрывоопасностью входных и (или) выходных устройств.
Наиболее близкими к предлагаемой установке по организации процесса является способ и устройства по патенту RU №2088298, мкл. В01D 5/00, В65D 90/30, 23.03.1995, включающие подачу паровоздушной смеси с последующей абсорбцией из нее углеводородных паров охлажденным жидким абсорбентом и выводом воздуха из процесса, и установка (патент RU №2050170, мкл. В01D 19/00, 27.11.1992), содержащая абсорбер, холодильную машину, теплообменники, насос, соединительные подводящие и отводящие трубопроводы абсорбента, паровоздушной смеси и очищенного воздуха, средства автоматики, включающие клапана, датчики, вентили, и блок автоматического управления ее работой.
Задачей, на решение которой направлено настоящее изобретение, является создание более компактной, эффективной, экономичной, высокорентабельной установки для экологической защиты окружающей среды с расширенными функциональными возможностями, с возможностью совмещения до одновременности процессов абсорбции и десорбции в широком диапазоне сочетания режимных параметров и теплофизических свойств взаимодействующих сред – паровоздушной смеси и жидкого абсорбента.
Указанная задача решается за счет того, что в установке улавливания паров углеводородов из паровоздушной смеси, образующейся при хранении и перевалке нефтепродуктов, содержащей абсорбер, холодильную машину, теплообменники, насос, соединительные подводящие и отводящие трубопроводы абсорбента, паровоздушной смеси и очищенного воздуха, средства автоматики, включающие клапаны, вентили, датчики и блок автоматического управления ее работой, абсорбер выполнен в виде горизонтального дискового тепломассообменного аппарата, который установлен с наклоном, и возможностью его регулирования от 1 до 10° относительно оси, в сторону выхода из него абсорбента, в качестве которого используется дизельное топливо, а сама установка выполнена по модульному принципу, а именно: абсорбер с трубопроводами подачи и отвода паровоздушной смеси, воздуха и абсорбента, с расположенными на них средствами автоматики, насосом и теплообменниками образуют контура паровоздушной смеси и абсорбции, которые связаны между собой внутренним пространством абсорбера и размещены в отдельном блок-боксе, так, что абсорбер расположен в верхней части блок-бокса над насосом и теплообменниками контура абсорбции, а холодильная машина и блок автоматического управления работой установки расположены вне блок-бокса и соединены, соответственно, с теплообменником, расположенном на трубопроводе подачи абсорбента, и со средствами автоматики.
Для очистки и восстановления абсорбента (в случаях, когда нет достаточного количества абсорбента из внешних источников, например, по причине отсутствия на АЭС резервуара с дизельным топливом) абсорбционная установка может быть дополнительно снабжена установкой десорбции (см. заявку №2004101361 от 21.01.04), которая также располагается в отдельном блок-боксе и состоит из десорбера, выполненного в виде и на основе горизонтального дискового тепломассообменного аппарата, который устанавливается с наклоном и возможностью его регулирования от 1 до 10° относительно оси, в сторону выхода из него очищенного абсорбента, и соединен трубопроводами подачи насыщенного и отвода очищенного абсорбента, на которых расположены насос и теплообменники, с емкостями накопления насыщенного и очищенного абсорбента, соединенными соответствующими трубопроводами с трубопроводами подачи насыщенного и очищенного абсорбента контура абсорбции блок-бокса абсорбции, причем десорбер установлен в верхней части блок-бокса над емкостями, из которых емкость очищенного абсорбента расположена внутри емкости насыщенного абсорбента, образуя единую емкость, а расположенные на соединительных трубопроводах и элементах блока десорбции средства автоматики соединены с блоком управления работой установки. С присоединением установки десорбции образуется установка улавливания паров углеводородов, работающая по замкнутому циклу и состоящая из двух расположенных в отдельных блок-боксах контуров – абсорбции и десорбции.
Наклон абсорбера регулируется либо предварительно путем его установки на определенный угол в блок-боксе при изготовлении установки, либо непосредственно в процессе работы блока установки. В первом случае абсорбер закрепляется в блок-боксе установки жестко, при этом угол наклона определяется заранее исходя из расчетно-экспериментальных зависимостей для заданного расхода паровоздушной смеси и состава в ней углеводородов. Во втором случае абсорбер устанавливается в блок-боке установки консольно с возможностью качания при помощи привода. При этом один соответствующий фланец абсорбера закрепляется с возможностью поворота аппарата относительно оси крепления в вертикальной плоскости, а другой соответствующий фланец аппарата закрепляется на приводе, который перемещает этот фланец по вертикали, обеспечивая, таким образом, качание аппарата, а соединительные трубопроводы абсорбера выполнены гибкими. Привод соединен с блоком управления установки, регулируя угол наклона аппарата установки – абсорбера при работе установки, в зависимости от расхода подаваемой паровоздушной смеси и состава углеводородов в ней.
В качестве блок-бокса может быть использована пространственно-объемная конструкция в виде шкафа, выполненного из основания с закрепленными на нем вертикальными стойками, связанными горизонтальными поперечинами, снабженными закрепленными на них съемными панелями.
Для удовлетворения требований пожаровзрывобезопастности (по защищенности от внешних источников воспламенения) установка дополнительно может быть снабжена стандартными огнепреградителями, которые устанавливаются на трубопроводе подвода паровоздушной смеси в абсорбер и на трубопроводе вывода из него очищенного воздуха.
Чтобы исключить даже маловероятный, нерасчетный, пиковый выброс неочищенной паровоздушной смеси (капельной фазы абсорбента) в атмосферу, возможный в начальный момент времени работы установки (при выводе установки на рабочий режим и одновременной подачи паровоздушной смеси на очистку), установка дополнительно может быть снабжена фильтр-циклоном, который устанавливается в контуре паровоздушной смеси блока абсорбции таким образом, что трубопровод вывода очищенного воздуха из абсорбера соединен со входом фильтр-циклона, а два выхода фильтр-циклона – верхний и нижний – соединены соответственно с трубопроводами вывода очищенного воздуха в атмосферу и слива абсорбента в абсорбер.
Установка может быть дополнительно снабжена расходомером, который устанавливается в контуре паровоздушной смеси блока абсорбции на трубопроводе подачи в абсорбер паровоздушной смеси и соединяется с блоком управления работой установки, а через него связывается с приводом абсорбера и насосом, расположенным на трубопроводе подачи абсорбента в абсорбер. Это позволяет постоянно поддерживать процесс абсорбции на оптимальных режимах за счет регулирования подачи абсорбента пропорционально расходу ПВС и частоты вращения контактных дисков, минимизируя, тем самым, энергопотребление установки при сохранении (и даже увеличении) эффективности процесса.
В качестве абсорбера в контуре абсорбции соответствующего блока установки, известного из уровня техники горизонтальных дисковых тепломассообменных аппаратов, например, по патенту RU №2152245, мкл. В01D 53/18, 47/18, 29.06.1992 или патенту №2200054, мкл. В01D 53/18, 47/18, 19.12.2001, который содержит корпус, состоящий из цилиндрической части и двух фланцев с патрубками подвода и отвода жидкости и газа, снабженный скрепленными между собой и корпусом разделительными кольцевыми перегородками и цилиндрическими вставками, образующими секции, в которых на вращающемся валу установлены поперечные сплошные диски с закрепленными по бокам пакетами кольцевых контактных дисков, которые установлены с зазорами относительно вставок, вала, друг друга и разделительных кольцевых перегородок, и которые частично погружены в жидкость, формируя при этом зигзагообразное радиально-осевое, последоватально-параллельное течение потока газа. Этот аппарат используется для проведения тепломассообменных процессов в широком диапазоне сочетания режимных параметров и теплофизических свойств взаимодействующих двух разно фазных сред (жидкости и газа) при безотрывном течении пленки жидкости, образующейся на вращающихся дисках аппарата, что в совокупности обеспечивает достижение требуемой эффективности при минимальных габаритах и стоимости тепломассообменного аппарата.
Использование в качестве приспособления и конструктивного элемента в предлагаемом устройстве – горизонтального дискового тепломассообменного аппарата (ГДТМОА), в сочетании с установкой абсорбера с наклоном в сторону выхода из него абсорбента и с возможностью регулирования угла его наклона относительно оси, использованием охлажденного абсорбента, например дизельного топлива, обеспечивает, по сравнению с известными устройствами, наименьшие габариты и стоимость установки, меньшую энергоемкость и меньшие эксплуатационные затраты при требуемой степени очистки паровоздушной смеси от паров углеводородов и оптимальной эффективности (по критерию эффективность-стоимость проведения процесса абсорбции).
Диапазон наклона тепломассообменного аппарата в сторону выхода из него абсорбента обеспечивает расчетный проток абсорбента, а в сочетании с теоретически и экспериментально определенными: – типом абсорбента, поверхностями контактных пакетов, скорости их вращения и величины зазоров между контактными дисками, соотношения поверхности смачивания и максимальным расходом ПВО, допустимых скоростей и времени пребывания ПВО в абсорбере, температуры абсорбента и толщины пленки (количества) жидкого абсорбента на вращающихся дисках и ее вязкости (как влияющих на коэффициент массопереноса), позволяет получить оптимальную эффективность процесса абсорбции в установке улавливания паров углеводородов из паровоздушных смесей, что также в совокупности способствует решению поставленной задачи.
Десорбер, используемый в установке для очистки и восстановления абсорбента, выполнен также в виде и на основе горизонтального дискового тепломассообменного аппарата (см. заявку №2004101361 от 21.01.04 г.), в котором, с целью значительного уменьшения его габаритно-массовых характеристик, существенного снижения температуры процесса и энергозатрат на выгонку ЛФУ из абсорбента, снижения металлоемкости, стоимости изготовления и эксплуатационных затрат за счет совмещения и одновременности операций возгонки и конденсации углеводородов, а также подачи и вывода соответственно насыщенного и очищенного абсорбента, в нем секции образуют три зоны, а именно: центральную зону подачи насыщенного абсорбента, состоящую из вставок и разделительных кольцевых перегородок, размещенных в цилиндрической части корпуса, в верхней и нижней частях которой установлены патрубки подвода соответственно насыщенного абсорбента и части сконденсированных углеводородов, зон возгонки и конденсации углеводородов, которые расположены со стороны фланцев и отделены от центральной зоны разделительными кольцевыми перегородками, и снабжены установленными в зоне возгонки нагревателем и патрубком отвода очищенного абсорбента, а в зоне конденсации – теплообменником-холодильником с патрубками подвода и отвода хладагента, а также патрубком отвода жидких сконденсированных углеводородов, причем в нижней погруженной в жидкость части разделительных кольцевых перегородок, расположенных в центральной зоне подачи абсорбента, и в разделительной кольцевой перегородке, отделяющей зону подачи от зоны возгонки, выполнены отверстия, при этом в разделительной кольцевой перегородке, отделяющей зону подачи от зоны конденсации, отверстия выполнены в ее верхней части. Использование данного десорбера в установке позволяет значительно уменьшить ее габаритно-массовые характеристики, существенно снизить температуру проведения процесса и энергозатраты на выгонку ЛФУ из абсорбента, снизить металлоемкость, стоимость изготовления и эксплуатационные затраты.
Выполнение установки по модульному принципу позволяет обеспечить высокую плотность компоновки систем, удовлетворить требованиям техники безопасности при обеспечении удобства и простоты обслуживания всех систем.
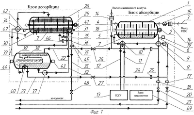
На фиг.1 представлена принципиальная технологическая схема установки.
Установка содержит блоки абсорбции и десорбции. В блоке абсорбции расположены абсорбер 1 с приводом 2, с трубопроводами подвода 3 и отвода 4 соответственно паровоздушной смеси и очищенного воздуха, 5, 6 – подвода и отвода абсорбента 7, на которых расположены соответственно насос 8, теплообменник 9, теплообменник – холодильник 10, соединенный трубопроводами подвода 11 и отвода 12 хладагента с холодильной машиной 13, расположенной вне блока абсорбции. На трубопроводах подвода паровоздушной смеси и вывода в атмосферу очищенного воздуха размещены огнепреградители 14, расходомер 15 и фильтр-циклон 16, соединенный также с трубопроводом подвода 5 в абсорбер 1 абсорбента 7. Трубопроводы подвода 5 и отвода 6 абсорбента 7, с расположенными на них средствами автоматики – клапанами 17, 18 и датчиком температуры 19, соединены через вентили 20, 21 с магистралями подачи и слива абсорбента 7 – дизельного топлива, которые соединяются с емкостью для хранения дизельного топлива (на схеме не показана). К трубопроводам подачи 5 и отвода 6 абсорбента 7 в абсорбер 1 присоединены трубоподводы подачи насыщенного 22 и очищенного 23 абсорбента, на которых расположены средства автоматики – клапана 24 и 25 и которые через вентили 26, 27 соединяются с блоком десорбции установки.
В блоке десорбции расположены десорбер 28 с приводом 29, нагревателем 30, теплообменником 31, трубопроводы подачи в десорбер 28 насыщенного 32 и отвода из десорбера очищенного 33 абсорбента 7 с теплообменником 34, трубопроводы 35 – отвода жидких сконденсированных углеводородов и 36 – подачи флегмы. Трубопровод 32 подачи в десорбер 28 насыщенного абсорбента через насос 37 соединен с емкостью накопления насыщенного абсорбента 38, которая соединена трубопроводом через вентиль 26 с трубопроводом 22 – подачи насыщенного абсорбента блока абсорбции. Десорбер 28 трубопроводом отвода очищенного абсорбента 33 соединен с емкостью накопления очищенного абсорбента 39, которая трубопроводом, с размещенным на нем теплообменником 40, размещенным внутри емкости насыщенного абсорбента 38, соединена с трубопроводом подачи очищенного абсорбента 23 блока абсорбции. Трубопровод отвода жидких сконденсированных углеводородов 35 соединен через вентиль 48 с магистралью слива бензина. Размешенные на десорбере 28, емкостях 38, 39 и трубопроводах 32, 33, 35, 36 средства автоматики – датчики уровня 41, 42, 43, 44, клапана 45, 46, датчик температуры 47, а также средства автоматики, расположенные на элементах блока абсорбции, расходомер, насосы, приводы абсорбера и десорбера связаны с блоком управления работой установки 49, который размещается вне блоков.
Работа установки и процесс улавливания углеводородных паров из паровоздушной смеси, образующейся при хранении нефтепродуктов и при заполнении ими емкостей, осуществляется следующим образом.
В момент подачи паровоздушной смеси углеводородов в блок абсорбции установки по трубопроводу 3 через огнепреградитель 14 и расходомер 15 в абсорбер 1 происходит ее автоматическое включение – расходомер 15 через блок управления 49 выдает команду на запуск насоса 8, привода абсорбера 2, открытие клапанов 17, 18 и запуск холодильной машины 13. Абсорбент 7 – дизельное топливо – из магистрали налива через предварительно открытые вентиль 20 и клапан 17 подается насосом 8 в абсорбер 1 в направлении, противоположном направлению подачи паровоздушной смеси, по трубопроводу 5, охлаждаясь в теплообменнике 10 хладагентом от холодильной машины 13, подаваемым и отводимым трубопроводами 11 и 12. Датчик температуры 19, установленный на трубопроводе отвода абсорбента 6, через блок управления 49 регулирует температуру подаваемого абсорбента за счет количества поступающего от холодильной машины 13 хладагента. Предварительное охлаждение подаваемого абсорбента происходит в теплообменнике 9 абсорбентом, отводимым из абсорбера 1 по трубопроводу 6 через клапан 18, предварительно открытый вентиль 21, в магистраль слива дизельного топлива. Отвод абсорбента 7 из абсорбера 1 обеспечивается, в основном, за счет напора, создаваемого насосом 8, и, в какой то степени, за счет наклона абсорбера 1. Очищенный воздух отводится в атмосферу из абсорбера 1 по трубопроводу 4 через фильтр-циклон 16 и огнепреградитель 14.
В абсорбере 1 происходит процесс абсорбции углеводородных паров из паровоздушной смеси в пленке абсорбента на вращающихся дисках, при одновременных подаче и охлаждении паровоздушной смеси, подаче и отводе абсорбента (ДТ), и отводе очищенного воздуха. Оптимальность процесса абсорбции достигается за счет регулирования наклона абсорбера (за счет использования гибких трубопроводов), частоты вращения его вала, количества подаваемого абсорбента и его температуры. Регулирование производится блоком управления в зависимости от состава углеводородов и объема подаваемой паровоздушной смеси, связанного с расходомером 15, приводом 2 абсорбера, насосом 8, датчиком 19 и холодильной машиной 13, клапанами 17 и 18.
На вход в аппарат, как правило, поступает ПВС с концентрацией ЛФУ от 15 до 55% об. (при наполнении резервуаров – до 85%). Режим противотока, конструктивные (геометрические) и параметрические решения, реализованные в аппарате (большая поверхность контактных дисков и т.д.), позволяют осуществлять снижение концентрации ЛФУ в ПВС на каждом контактном пакете (по ходу течения ПВС) на 40-50% об., что и обеспечивает небольшие габариты установки при высокой полноте улавливания ЛФУ (до 93% и более).
Таким образом осуществляется работа установки по прямому циклу, используемому, в основном, для небольших автозаправочных станций и НБ, имеющих относительно небольшие выбросы ПВС и располагающие достаточным количеством дизельного топлива (абсорбента). При этом блок абсорбции устанавливается рядом с источником паровоздушной смеси, а холодильная машина и блок управления в помещении операторской или рядом с ним.
Использование ДТ, как абсорбента, непосредственно из резервуара АЗС (емкостью 10-20 т) с последующим возвратом в него же насыщенного легкими углеводородами абсорбента (ДТ), т.е. абсорбента после процесса абсорбции, не приводит к росту средней концентрации легкокипящих фракций паров бензина в ДТ выше 1% (обычно менее 0,5%, что мало сказывается на абсорбционных свойствах ДТ) и позволяет напрямую использовать ДТ, как товарный продукт (без очищения от легкокипящих фракций углеводородов), т.к. цетановое число ДТ (при данной концентрации ЛФУ) остается в допустимых ГОСТом пределах (при некотором увеличении полноты сгорания топлива).
Для предприятий, на которых происходят значительные выбросы ПВС, таких как НПЗ, НБ, эстакадах налива нефтепродуктов и крупных АЗС, процесс работы установок может быть организован по замкнутому циклу, т.е. с использованием блоков десорбции, к каждому из которых могут быть подключены сразу несколько блоков абсорбции, и которые могут быть установлены на некотором расстоянии от них.
Работа установки в этом случае осуществляются следующим образом.
Блок десорбции через вентили 26 и 27, расположенные на трубопроводах 22, 23 подачи насыщенного и очищенного абсорбента, соединяется с блоком абсорбции, в котором вентиль 21 и клапан 18, расположенные на трубопроводе 6 отвода абсорбента, закрываются, а клапан 24, расположенный на трубопроводе подачи насыщенного абсорбента, – открывается. После процесса абсорбции насыщенный углеводородами абсорбент 7, отводимый из абсорбера по трубопроводу 6, подается по трубопроводу 22 через вентиль 26 в накопительную емкость 38. При достижении определенного уровня в емкости 38 срабатывает датчик уровня 43, и по команде блока управления 49 запускается насос 37, привод 29 десорбера 28 и нагреватель 30 – происходит заполнение насыщенным абсорбентом 7 десорбера 28 и при достижении определенного уровня начинается процесс десорбции, контролируемый датчиками уровня 42 и температуры 47. По пути следования в десорбер 28 насыщенный холодный абсорбент проходит по теплообменнику-холодильнику 31 зоны конденсации десорбера, являясь таким образом хладагентом, и по теплообменнику 34, предварительно нагреваясь в нем от очищенного горячего абсорбента, выходящего после процесса десорбции из десорбера 28, и поступающего по трубопроводу 33 отвода очищенного абсорбента из десорбера в накопительную емкость 39, где также отдает часть своего тепла через промежуточную стенку единой емкости насыщенному холодному абсорбенту. При достижении в емкости 39 определенного уровня срабатывает датчик уровня 44, и по команде блока управления 49 одновременно закрывается клапан 17 и открывается клапан 25 на трубопроводе 23 подачи очищенного абсорбента, который закачивается насосом 8 в абсорбер 1. Проходя также через теплообменник 40, расположенный в емкости накопления насыщенного абсорбента, очищенный абсорбент предварительно охлаждается. Происходит переключение установки на замкнутый цикл, без слива насыщенного углеводородами абсорбента – ДТ в магистраль слива. Образовавшиеся в процессе десорбции, в зоне конденсации десорбера, жидкие углеводороды после накопления и срабатывания датчика уровня 41 и клапана 45 сливаются по трубопроводу отвода 35 через предварительно открытый вентиль 48 в магистраль слива бензина. Часть их по трубопроводу 36 регулирующий клапан 46 подается обратно в десорбер 28. При этом в процессе десорбции насыщенного углеводородами абсорбента осуществляется одновременная возгонка легкокипящих углеводородов путем нагрева абсорбента при повышенном давлении (более 0,3 МПа), конденсация парообразных углеводородов, выделившихся при возгонке, отвод сконденсированных углеводородов (и их возвращение потребителю, например, в резервуары), отвод очищенного абсорбента из десорбера обратно в абсорбер для проведения процесса абсорбции.
Оптимальность процесса десорбции достигается за счет регулирования наклона десорбера, частоты вращения его вала, количества подаваемого абсорбента, его температуры, уровня заполнения десорбера, количества подаваемых обратно в десорбер сконденсированных углеводородов (флегмы), и осуществляется блоком управления, связанным с приводом десорбера 29, насосом 37, нагревателем 30, датчиками уровня 41, 42, 43, 44, датчиком температуры 47, клапанами 24, 25, 45, 46.
Таким образом, предложенная установка для улавливания паров углеводородов из паровоздушной смеси, образующейся при хранении нефтепродуктов и заполнении ими емкостей, выполненная на основе использования в качестве абсорбера и десорбера – горизонтальных дисковых тепломассообменных аппаратов, позволяет достигнуть поставленные цели.
По сравнению с лучшими зарубежными и отечественными установками аналогичного назначения, предлагаемая абсорбционная установка и десорбер для использования в установке, в общей совокупности обеспечивает:
– степень улавливания паров бензина из паровоздушной смеси до 93-98%, в том числе из обедненных паровоздушных смесей с содержанием углеводородов от 5%, при весьма незначительных энергетических затратах;
– наименьшие, по сравнению с лучшими известными установками, газодинамическое сопротивление по рабочему тракту, что в большинстве случаев позволяет обеспечить протекание ПВС самотеком (при избыточном давлении всего в 20-50 мм вод. столба) без использования взрывоопасного нагнетающего оборудования;
– меньшие 5-8 раз габариты и массу абсорбционных установок по сравнению с известными аппаратами аналогичного назначения, при такой же полноте улавливания;
– большой диапазон регулирования расходных характеристик паровоздушной смеси, что позволяет обеспечить постоянный прием паров углеводородов, как в период хранения бензина (малые дыхания), так и во время заполнения резервуаров (большие дыхания);
– меньшие монтажные и рабочие площадки в 5-7 раз;
– уменьшение капитальных затрат на экологическую защиту в 5-10 раз;
– сокращение количества потребляемой электроэнергии до 0,2-0,7 кВт·ч на 1 кг получаемого конденсата (практически на 40-60% по сравнению с известными аналогами);
– наиболее полное решение задачи экологической и пожарной безопасности на НПЗ, НБ и АЭС.
В настоящее время в ООО «ИНОТЕХ» разработаны и изготавливаются несколько типоразмеров установок улавливания, работающих по прямому и замкнутому циклам с номинальной производительностью по паровоздушной смеси – до 120 м3/ч.
На фиг.2 и 3 показаны блок-боксы, без съемных панелей, модулей абсорбции и десорбции соответственно реальной установки.
На фиг.4 приведена таблица с характеристиками установок улавливания паров углеводородов из паровоздушной смеси.
Формула изобретения
1. Установка для улавливания паров углеводородов из паровоздушной смеси, образующейся при хранении и перевалке нефтепродуктов, содержащая абсорбер, холодильную машину, теплообменники, насос, подводящие и отводящие трубопроводы абсорбента, паровоздушной смеси и очищенного воздуха, средства автоматики, включающие клапаны, вентили, датчики, и блок автоматического управления ее работой, отличающаяся тем, что абсорбер выполнен в виде горизонтального дискового тепломассообменного аппарата, который установлен с наклоном и возможностью его регулирования относительно оси в сторону выхода из него абсорбента, в качестве которого используется дизельное топливо, а сама установка выполнена по модульному принципу, а именно, абсорбер с трубопроводами подачи и отвода паровоздушной смеси, воздуха и абсорбента, с расположенными на них средствами автоматики, насосом и теплообменниками образуют контуры паровоздушной смеси и абсорбции, которые связаны между собой внутренним пространством абсорбера и размещены в отдельном блок-боксе так, что абсорбер расположен в верхней части блок-бокса над насосом и теплообменниками контура абсорбции, а холодильная машина и блок автоматического управления работой установки расположены вне блок-бокса и соединены соответственно с теплообменником, расположенным на трубопроводе подачи абсорбента, и со средствами автоматики.
2. Установка по п.1, отличающаяся тем, что наклон абсорбера регулируется в диапазоне от 1 до 10°.
3. Установка по п.1, отличающаяся тем, что дополнительно снабжена контуром десорбции, который также расположен в отдельном блок-боксе и состоит из десорбера, выполненного в виде горизонтального дискового тепломассообменного аппарата, установленного с наклоном, и возможностью его регулирования от 1 до 10° относительно оси, в сторону выхода из него очищенного абсорбента и соединен трубопроводами подачи насыщенного и отвода очищенного абсорбента с расположенными на них насосом и теплообменниками, с емкостями накопления насыщенного и очищенного абсорбента, соединенными соответствующими трубопроводами с трубопроводами подачи очищенного и отвода насыщенного абсорбента контура абсорбции блок-бокса абсорбции, причем десорбер установлен в верхней части блок-бокса над емкостями, из которых емкость очищенного абсорбента расположена внутри емкости насыщенного абсорбента, образуя единую емкость, а расположенные на соединительных трубопроводах и элементах блока десорбции средства автоматики соединены с блоком управления работой установки.
4. Установка по п.1, отличающаяся тем, что абсорбер установлен в блок-боксе установки консольно с возможностью качания, при этом один фланец абсорбера закрепляется с возможностью поворота относительно оси крепления, а другой фланец скреплен с приводом, который установлен в блок-боксе и соединен с блоком управления установкой, причем соединительные трубопроводы абсорбера выполнены гибкими.
5. Установка по п.1, отличающаяся тем, что она дополнительно снабжена огнепреградителями, которые установлены в контуре паровоздушной смеси блока абсорбции на трубопроводах подачи в абсорбер паровоздушной смеси и отвода из него очищенного воздуха.
6. Установка по п.1, отличающаяся тем, что она дополнительно снабжена фильтр-циклоном, установленным в контуре паровоздушной смеси блока абсорбции так, что трубопровод вывода очищенного воздуха из абсорбера соединен со входом фильтр-циклона, а два выхода его, верхний и нижний, соединены соответственно с трубопроводом вывода очищенного воздуха в атмосферу и с трубопроводом подачи абсорбента в абсорбер.
7. Установка по п.1, отличающаяся тем, что она дополнительно снабжена расходомером, который установлен в контуре паровоздушной смеси блока абсорбции на трубопроводе подачи паровоздушной смеси в абсорбер и соединен с блоком управления работой установки, а через него – с приводом абсорбера и насосом на трубопроводе подачи абсорбента в абсорбер контура абсорбции.
8. Установка по п.1, отличающаяся тем, что блок-боксы выполнены в виде пространственно-объемной конструкции, состоящей из основания с закрепленными на нем вертикальными стойками и горизонтальными поперечинами, снабженными закрепленными на них съемными панелями.
РИСУНКИ
|
|