|
|
(21), (22) Заявка: 2005135450/14, 09.04.2004
(24) Дата начала отсчета срока действия патента:
09.04.2004
(30) Конвенционный приоритет:
16.04.2003 FR 0304761
(43) Дата публикации заявки: 10.03.2006
(46) Опубликовано: 10.11.2007
(56) Список документов, цитированных в отчете о поиске:
WO 01/58512 A1, 16.08.2001. SU 138338 A1, 01.01.1961. RU 2 129 445 С1, 27.04.1999. RU 2 129 021 С1, 20.04.1999. US 4 668 223 А, 26.05.1987. EP 0 896 827 A, 17.02.1999.
(85) Дата перевода заявки PCT на национальную фазу:
16.11.2005
(86) Заявка PCT:
FR 2004/000881 (09.04.2004)
(87) Публикация PCT:
WO 2004/093944 (04.11.2004)
Адрес для переписки:
129010, Москва, ул. Б.Спасская, 25, стр.3, ООО “Юридическая фирма Городисский и Партнеры”, пат.пов. Ю.Д.Кузнецову, рег.№ 595
|
(72) Автор(ы):
АЛЕКСАНДР Патрик (FR), БО Жорж (FR), БРУКЬЕР Бернар (FR)
(73) Патентообладатель(и):
КРОССЖЕКТ (FR)
|
(54) БЕЗЫГОЛЬНЫЙ ШПРИЦ С ИНЪЕКТОРНЫМ УСТРОЙСТВОМ-ПРИЕМНИКОМ ДЛЯ ПРЕПАРАТА
(57) Реферат:
Изобретение относится к медицине. Изобретение обеспечивает оптимизацию впускных отверстий инжекционных трубок и особенно уменьшение силы давления, оказываемого на приемник препарата при осуществлении инъекции. Безыгольный шприц содержит корпус (2), в котором размещена емкость (3) цилиндрической формы, ограниченная перемещающейся верхней заглушкой (4) и перемещающейся нижней заглушкой (5), для размещения жидкого активного начала (6), и содержит в нижней части приемник (7, 37) с по меньшей мере двумя периферийными инжекционными трубками (8, 38). Приемник опирается на верхнюю поверхность емкости и содержит глухое отверстие (10, 31), высота которого позволяет освобождать впускные отверстия (9, 39) периферийных инжекционных трубок (8, 38), когда нижняя заглушка (5) контактирует с основанием (7а) глухого отверстия приемника при активации динамической установки (70), перемещающей систему, включающую верхнюю заглушку – жидкость – нижнюю заглушку. На верхней поверхности приемника каждое впускное отверстие (9, 39) содержит участок поверхности, проходящей перпендикулярно выпускному отверстию (8), расположенный на инжекционной трубке и соединенный с радиальным желобком, входящим в центральное глухое отверстие (10, 31). Поверхность приемника содержит многопрофильную соединительную часть (12, 34), проходящую вдоль кромки отверстия или в непосредственной близости от нее, параллельно и рядом с глухим отверстием (10, 31) и окружающую впускные отверстия (9, 39) инжекционных трубок. 8 з.п. ф-лы, 7 ил.
Область техники
Настоящее изобретение относится к безыгольным шприцам одноразового применения. Такие шприцы применяются для внутрикожных, подкожных и внутримышечных инъекций жидкого активного начала фармацевтического препарата, предназначенного для использования в терапевтических целях при лечении людей и животных.
Предшествующий уровень техники
Первое требование, которое предъявляется к безыгольным шприцам, состоит в необходимости обеспечения совместимости в течение продолжительного времени жидкого активного начала и емкости, в которой оно содержится. Другое требование заключается в том, чтобы емкость была прозрачной и позволяла контролировать правильность ее заполнения перед использованием шприца. С учетом данных требований в основном используются прозрачные емкости, изготавливаемые из материала, обеспечивающего его совместимость в течение необходимого времени с жидким активным началом фармацевтического препарата, обычно это боросиликатное стекло, применяемое в фармацевтической области, и стекло класса I или II.
Начальная фаза инъекции является наиболее важной для проникновения под кожу струи или струй жидкости в зависимости от того, имеется ли у шприца одна или несколько инжекционных трубок. Последний вариант является предпочтительным, поскольку позволяет снизить болевой эффект. В конечном итоге биоготовность организма зависит от успешной реализации начальной фазы, она предполагает высокоскоростную подачу жидкости в инжекционные трубки без многочисленных прерываний струи, создание сильного гидравлического удара для обеспечения большой скорости.
В публикации международной заявки WO 01/58512 раскрыт безыгольный шприц, содержащий емкость, ограниченную перемещающимися верхней и нижней заглушками, между которыми находится жидкое активное начало, емкость изначально изолирована от инъекторного устройства, которое имеет по меньшей мере две инжекционные трубки, расположенные на его внешней боковой поверхности, и центральное глухое отверстие, не имеющее сквозного отверстия, в которую вводится нижняя заглушка таким образом, чтобы она позволила разблокировать впускные отверстия инжекционных трубок в процессе перемещения системы, включающей нижнюю заглушку – активное начало – верхнюю заглушку, посредством устройства, предназначенного для осуществления инъекции.
Первая трудность, возникающая при использовании указанного шприца, это отсутствие оптимальных впускных отверстий инжекционных трубок. Это проявляется, с одной стороны, в потерях при заправке и, с другой стороны, в потерях остаточной жидкости в мертвом объеме. В указанном шприце впускные отверстия представляют собой радиальные желобки, расположенные на всей верхней поверхности приемника. Наконец, верхнее отверстие центрального глухого отверстия не имеет оптимальной формы и может разорвать нижнюю заглушку при использовании шприца.
В указанном изобретении не получила должного разрешения такая важная проблема, как минимизация силы давления на приемник при осуществлении инъекции, принимая во внимание, что оказываемое на приемник давление является значительным. При сборке указанной конструкции вся поверхность приемника препарата, упирающаяся в емкость, испытывает давление, поскольку через уплотнение оно передается на скрепляющие материалы на внешней стороне емкости, так как использование кольцеобразного соединения здесь не представляется возможным, в частности, из-за радиально расположенных желобков впускных отверстий инжекционных трубок.
Краткое изложение существа изобретения
Технической задачей настоящего изобретения является решение проблемы оптимизации впускных отверстий инжекционных трубок и особенно уменьшение силы давления, оказываемого на приемник препарата при осуществлении инъекции.
Поставленная задача согласно настоящему изобретению решена путем создания безыгольного шприца, содержащего корпус, в котором размещена емкость цилиндрической формы, ограниченная перемещающейся верхней заглушкой и перемещающейся нижней заглушкой, для размещения жидкого активного начала, и содержащего в нижней части приемник с по меньшей мере двумя периферийными инжекционными трубками, при этом приемник опирается на верхнюю поверхность емкости и содержит глухое отверстие, высота которого позволяет освобождать впускные отверстия периферийных инжекционных трубок, когда нижняя заглушка контактирует с основанием глухого отверстия приемника при активации динамической установки, перемещающей систему, включающую верхнюю заглушку – жидкость – нижнюю заглушку, характеризующегося тем, что на верхней поверхности приемника каждое впускное отверстие содержит участок поверхности, проходящей перпендикулярно выпускному отверстию, расположенный на инжекционной трубке и соединенный с радиальным желобком, входящим в центральное глухое отверстие, при этом поверхность приемника содержит многопрофильную соединительную часть, проходящую вдоль кромки отверстия или в непосредственной близости от нее, параллельно и рядом с глухим отверстием и окружающую впускные отверстия инжекционных трубок.
Целесообразно, чтобы многопрофильная соединительная часть была расположена в выемке, имеющей сопряженную форму.
Полезно, чтобы безыгольный шприц содержал на верхней поверхности приемника многопрофильную соединительную часть, изготовленную способом двойного литья под давлением, параллельную и находящуюся рядом с центральным глухим отверстием и окружающую впускные отверстия инжекционных трубок.
Предпочтительно, чтобы участок поверхности, проходящий перпендикулярно выпускному отверстию и расположенный по центру инжекционной трубки, имел диаметр, составляющий 1,1-1,5 от диаметра инжекционной трубки, и глубину, которая составляет около 0,5-0,6 от диаметра инжекционной трубки.
Целесообразно, чтобы ширина радиального желобка была величиной постоянной и равна диаметру участка поверхности, проходящего перпендикулярно выпускному отверстию.
Полезно, чтобы ширина радиального желобка увеличивалась от места своего присоединения к участку поверхности, проходящему перпендикулярно выпускному отверстию до места ввода в центральное глухое отверстие, где ширина составляет не меньше 1,4 от диаметра участка поверхности, проходящего перпендикулярно выпускному отверстию.
Целесообразно, чтобы участок поверхности, проходящей перпендикулярно выпускному отверстию, и радиальный желобок имели адаптированный профиль.
Полезно, чтобы центральное глухое отверстие имело преимущественно форму усеченного конуса, диаметр впускного отверстия был равен внутреннему диаметру емкости, при этом наименьший диаметр находился у основания глухого отверстия, а образующая боковой стенки являлась образующей усеченного конуса, расположенной под углом около 2-9° относительно оси глухого отверстия.
Предпочтительно, чтобы верхние края центрального глухого отверстия и впускные отверстия имели округления, чтобы не допустить разрыва нижней заглушки.
В данной заявке под термином «нижняя часть» понимаются все элементы (находящиеся вблизи точки осуществления инъекции, или все части элементов), направленные в сторону точки осуществления инъекции, этой точкой является кожа пациента. И наоборот, понятие «верхняя часть» будет использоваться для обозначения всех элементов, расположенных вдали от точки осуществления инъекции, или всех частей элементов, направленных в сторону, противоположную этой точке. Таким образом, приемник имеет нижнюю поверхность, направленную в сторону кожи пациента, и нижнюю поверхность, которая расположена с противоположной стороны и упирается в корпус емкости. Эти поверхности – нижняя и верхняя – соединяются боковой поверхностью.
В настоящем изобретении под понятием жидкое активное начало или лекарственный препарат понимают, в основном, жидкость различной степени вязкости, или смесь жидкостей, или гелеобразную субстанцию. Активное начало может представлять собой твердое вещество, которое в растворенном состоянии вносится в соответствующий раствор, предназначенный для осуществления инъекции. Активное начало может представлять собой твердое порошкообразное вещество, которое вносится в виде суспензии различной степени концентрации в соответствующую жидкость. Твердое активное начало должно иметь соответствующий гранулометрический состав, а трубки – соответствующие формы, чтобы не допустить их закупорки.
Емкость, в основном цилиндрической формы, изготавливается из стекла типа I или II, в то же время она может изготавливаться и из других прозрачных материалов, обеспечивающих совместимость с активным началом. Нижняя и верхняя поверхности емкости в основном плоские, а плоскости, на которых они расположены, перпендикулярны оси симметрии емкости. Нижняя и верхняя поверхности упираются, соответственно, в корпус шприца и в приемник. Поверхности этих двух элементов, которые представляют стороны упора, имеют соединения, более точные характеристики которых будут приведены ниже.
Инжекционная трубка проходит через весь приемник сверху вниз. Инжекционные трубки, поскольку их имеется по меньшей мере две, называются периферийными, они располагаются в приемнике вокруг центрального глухого отверстия. Они соединяются с центральным глухим отверстием только через впускные отверстия, которые описываются ниже. Инжекционная трубка имеет различный профиль сечения в нижней и верхней частях, с одной стороны, по причине, связанной со способом их изготовления, с другой стороны, в связи с необходимостью достижения достаточно тонкого впрыска со скоростью, необходимой для проникновения струи в кожу пациента на достаточную глубину. Как правило, инжекционные трубки имеют идентичную форму, равномерно расположены вокруг центрального глухого отверстия, а их оси параллельны оси приемника, но возможны другие варианты.
Устройство, которое будет приводить в движение верхнюю заглушку, может быть механического (распрямление сжатой пружины), или пневматического (выброс сжатого газа), или пиротехнического типа (выброс газообразных продуктов).
Работа шприца осуществляется следующим образом. Динамическое устройство оказывает воздействие на верхнюю заглушку и перемещает всю систему, включающую верхнюю заглушку – жидкость – нижнюю заглушку, поскольку жидкость не сжимается. Нижняя заглушка перемещается до соприкосновения с основанием глухого отверстия и занимает свое положение. Высота глухого отверстия такова, что когда нижняя заглушка соприкасается с основанием глухого отверстия, впускные отверстия инжекционных трубок, расположенные по периферии глухого отверстия приемника, открываются и в них под давлением подается жидкость. Затем жидкость выбрасывается в результате перемещения верхней заглушки, движение которой продолжается до полного опорожнения емкости, при этом верхняя заглушка приходит в соприкосновение с нижней заглушкой.
Впускное отверстие инжекционной трубки, расположенное на верхней поверхности приемника, включает поверхность, проходящую перпендикулярно впускному отверстию, центрованное и размещенное на инжекционной трубке, и радиальный желобок, соединяющий поверхность, проходящую перпендикулярно впускному отверстию, с центральным глухим отверстием.
Поверхность, проходящая перпендикулярно впускному отверстию, образующая впускное отверстие инжекционной трубки, имеет диаметр, составляющий 1,1-1,5 диаметра инжекционной трубки, предпочтительно 1,2 этого диаметра. Диаметр инжекционной трубки определяется у верхней поверхности приемника. Глубина поверхности, проходящей перпендикулярно впускному отверстию, составляет около 0,5-0,7 от диаметра инжекционной трубки, предпочтительно 0,6 этого диаметра.
Радиальный желобок, соединенный с поверхностью, проходящей перпендикулярно впускному отверстию, связывает глухое отверстие с инжекционной трубкой. Глубина радиального желобка равна глубине поверхности, проходящей перпендикулярно впускному отверстию. Ширина радиального желобка либо является величиной постоянной и равна диаметру поверхности, проходящей перпендикулярно впускному отверстию, либо она увеличивается от места присоединения к указанной поверхности в сторону увеличения в месте ввода в глухое отверстие. При этом самая большая величина будет меньше 1,4 диаметра инжекционной трубки.
Поверхность, проходящая перпендикулярно впускному отверстию может также использоваться в обычном техническом плане, т.е. как элемент, имеющий форму окружности, размещенный вокруг отверстия, при этом указанная поверхность перпендикулярна по отношению к верхней, плоской поверхности приемника и к основанию.
Но поверхность, проходящую перпендикулярно впускному отверстию, можно понимать и в более широком смысле, когда боковая поверхность выреза будет не перпендикулярна, а наклонена по отношению к верхней поверхности и даже соединена с основанием выреза закруглением. В этом случае размеры поверхности, проходящей перпендикулярно впускному отверстию, и радиального желобка будут определяться размерами в их верхней части.
Верхняя поверхность приемника содержит центральное отверстие, образованное глухим отверстием, и впускные отверстия, связывающие глухое отверстие с инжекционными трубками. Границами данного отверстия являются пересечения верхней, плоской поверхности и боковых поверхностей глухого отверстия и впускных отверстий. Теоретически, эти границы определяются более или менее острыми кромками, но эти кромки могут быть скруглены с определенным радиусом кривизны, особенно на тех участках, которые являются границами глухого отверстия и пересечения радиальных желобков, чтобы не повредить или не разорвать нижнюю заглушку, когда она вводится в центральное глухое отверстие на начальном этапе и переходит на «свои» участки.
Верхняя поверхность имеет многопрофильную соединительную часть, расположенную рядом с центральным глухим отверстием. Многопрофильная соединительная часть проходит вдоль кромки отверстия или рядом с ней, перпендикулярно к кромке, при этом расстояние рядом с краем – это наикратчайшее расстояние, принимая во внимание способы изготовления приемника. Указанная соединительная часть является многопрофильной, поскольку она окружает с внешней стороны впускные отверстия инжекционных трубок, располагаясь при этом параллельно и в непосредственной близости от краев. В данном случае понятие «с внешней стороны» определяется относительно оси.
По сравнению с кольцевым соединением, которое окружает глухое отверстие и впускные отверстия инжекционных трубок, многопрофильная соединительная часть, как было указано, уменьшает размеры поверхности приемника, которая испытывает давление жидкости, поскольку на участке между инжекционными трубками эта соединительная часть расположена ближе к краю глухого отверстия, чем кольцевое соединение.
Согласно первому варианту выполнения, многопрофильная соединительная часть является дополнительным соединением, расположенным в спаренном кольцевом пазу на верхней поверхности приемника. Такое выполнение требует точной установки соединительной части в пазу, затем тщательных действий при монтаже в упоре с емкостью, а далее в корпусе шприца.
Согласно второму варианту выполнения, который является предпочтительным, когда приемник изготавливается способом литья под давлением, многопрофильная соединительная часть, как указано выше, выполняется путем двойного литья под давлением. Многопрофильная соединительная часть и ее выполнение путем двойного литья под давлением предполагают наличие центрального припуска по внешней поверхности. Компрессия и деформация этого припуска в ходе доведения до упора приемника и емкости обеспечивают герметичность.
Способ известного двойного литья под давлением состоит в следующем. Основная деталь, в данном случае приемник, изготовлена способом литья под давлением, но еще не затвердела, ее вводят обратно и при помощи прессформы, соответствующей материалу, осуществляют формование многопрофильной соединительной части в предусмотренном для этих целей оттиске в приемнике. Этот оттиск, конечно, должен быть расположен параллельно краям отверстия и в непосредственной близости от кромки. К этому способу будет добавлен способ отливки в форму, сделанную с готового предмета, для получения многопрофильной соединительной части.
Многопрофильная соединительная часть, изготовленная способом литья под давлением, позволяет получить почти непосредственно сразу после второго литья под давлением единую деталь, состоящую из приемника и соединительной части, позволяющую продолжить в последующем сборку шприца.
Предпочтительно центральное глухое отверстие приемника имеет в основном форму усеченного конуса, при этом диаметр входного отверстия глухого отверстия равен внутреннему диаметру емкости, а самый маленький диаметр глухого отверстия находится в его основании. Образующая боковой части расположена под углом около 3-9° относительно оси симметрии глухого отверстия, при этом наиболее предпочтительным является угол в 7°. Основание глухого отверстия присоединено к боковой части по закругленной линии.
Глубина глухого отверстия такова, что когда нижняя заглушка достигает основания глухого отверстия, она открывает впускные отверстия инжекционных трубок и соединяет емкость с инжекционными трубками. Относительно открытая форма глухого отверстия позволяет осуществлять ввод нижней заглушки в углубление, а затем ее регулярную деформацию в ходе такого применения, что позволяет смягчать силу удара и ограничивать силу воздействия на приемник на этом этапе.
Настоящее изобретение предполагает использование предварительно заполненного шприца одноразового применения, преимуществом которого является возможность разделения внутри устройства двух частей шприца. Одна часть, так называемая фармацевтическая, содержит корпус и емкость с перемещающимися верхней и нижней заглушками и, в определенных случаях, инъекторное устройство-приемник. Эта часть устройства может обрабатываться на предприятиях фармацевтической промышленности, в частности, что касается вопросов стерилизации и асептики. Эта часть устройства будет присоединена к другим элементам шприца, которые также формируются отдельно, при этом сборка выполняется при соблюдении требований, менее строгих, чем предъявляются фармацевтической промышленностью.
После того как нижняя заглушка занимает положение в глухом отверстии приемника, шприц становится плохо пригодным для повторного использования. Это устройство имеет другое преимущество, в частности затрудняется повторное использование шприца в других, нежели первоначальное терапевтическое использование, целях.
Наконец, такая конфигурация позволяет избежать возможной утечки жидкости через инжекционные трубки перед использованием шприца. В действительности частое перемещение устройства, что даже рекомендуется делать, используется для проверки уровня мутности жидкости или для доведения смеси до однородного состава в случае, если жидкий раствор включает частицы суспензии. Тот факт, что активное начало до инъекции находится в изолированном состоянии, означает, что инжекционные трубки обеспечивают защиту от опасности такой утечки.
Краткое описание чертежей
В дальнейшем изобретение поясняется описанием предпочтительных вариантов воплощения со ссылками на сопровождающие чертежи, на которых:
фиг.1 изображает шприц (продольное сечение), первый вариант реализации изобретения, согласно изобретению;
фиг.2 изображает нижнюю часть шприца согласно изобретению;
фиг.3 изображает общий вид другого варианта выполнения приемника согласно изобретению;
фиг.4 изображает сечение приемника в плоскости, проходящей через центральную ось приемника и ось одной инжекционной трубки, согласно изобретению;
Фиг.5, 6 и 7 изображают общий вид различных форм впускных отверстий инжекционных трубок согласно изобретению.
Описание предпочтительных вариантов воплощения изобретения.
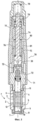
На фиг.1 представлено продольное сечение шприца в соответствии с изобретением. Шприц представлен в вертикальном положении, при этом система для выполнения инъекции направлена вниз, в сторону нижней части.
Шприц 1 содержит корпус 2, в котором расположена емкость 3, содержащая жидкое активное начало 6. В нижней части корпуса 2 размещен приемник 7, имеющий, например, три инжекционные трубки, такие как инжекционная трубка 8. Инъекторное устройство имеет внешнюю защитную оболочку для обеспечения асептики шприца. Защитная оболочка содержит эластомерную мембрану, прикрепленную к внешней поверхности инъекторного устройства при помощи тонкой металлической обечайки, закатанной вокруг края шприца. Перед осуществлением инъекции защитная оболочка снимается. На противоположной стороне к корпусу 2 шприца прикреплено динамическое устройство 70, представленное в данном случае пиротехническим газогенератором, описание которого приводится ниже. Емкость 3 упирается в корпус 71 динамического устройства 70, при этом герметичность обеспечивается за счет резьбового соединения и уплотнительного кольца.
Корпус 2 шприца содержит два смотровых отверстия, расположенных на диаметрально противоположных сторонах корпуса и предназначенных для контроля уровня жидкого активного начала в емкости 3, они представляют собой два вытянутых вдоль корпуса отверстия. В нижней части корпуса 2 шприца, в глухом отверстии, имеющем соответствующую форму, расположен приемник 7 цилиндрическо-конической формы, описание которого будет приведено ниже. В нижней части корпуса 2 расположена стеклянная емкость 3, которая упирается в приемник 7. Емкость имеет форму полого цилиндра. В верхней части корпуса 2 размещен корпус 71 динамического устройства 70. Емкость 3 в целом представляет собой полый цилиндр, закрытый с двух сторон перемещающимися верхней 4 и нижней 5 заглушками, эти заглушки являются пробками поршня, используемыми в обычных шприцах. Эти заглушки изготавливаются путем прессования эластомера, позволяющего в течение продолжительного времени обеспечивать совместимость с активным началом, при этом каждая заглушка одновременно выполняет функции и клапана, и средства герметизации за счет утолщений ее краев (на фиг.1. не показано). В качестве эластомеров, обычно применяемых при изготовлении этих заглушек, используются, например, хлорбутил или бромбутил, твердость по Шору которых составляет около 45-70. Поверхность этих элементов может обрабатываться, в частности, для облегчения их перемещения в цилиндрической емкости. В свободном состоянии диаметр поршня на 10% больше внутреннего диметра полого цилиндра, в который он будет вводиться, а высота поршня составляет около 0,5-0,8 от этого диаметра. Ввиду возникающей деформации поршня после его введения в полый цилиндр его высота составляет около 0,6-1,0 от внутреннего диаметра емкости.
Приемник 7 в данном случае внешне имеет цилиндрическо-коническую форму и содержит центральное глухое отверстие 10, в котором будет располагаться нижняя заглушка 5. По окружности приемника расположены три инжекционные трубки, одна из которых (обозначена цифрой 8) видна на данном разрезе. Диаметр глухого отверстия равен диаметру емкости. Длина глухого отверстия 10 равна высоте нижней заглушки 5, находящейся в емкости 3. После занятия нижней заглушкой 5 своего положения на основании 7а (фиг.2) приемника впускное отверстие 9 на боковой стороне емкости 3 инжекционных трубок 8 вступает в соприкосновение с жидкостью 6. Жидкость вытекает со скоростью, соответствующей силе давления, возникающего в результате перемещения верхней заглушки 4.
В данном варианте выполнения динамическое устройство 70 воздействует на верхнюю заглушку 4 посредством поршня 11 с эффективным сечением, равным сечению верхней заглушки 4. Этот поршень 11 находится в контакте с верхней заглушкой 4, поэтому отсутствует эффект удара или гидравлического удара на начальной стадии введения препарата. Поршень 11, благодаря наличию своей системы герметизации, препятствует выходу газов, возникающих в результате воспламенения заряда 72, и контактированию с верхней заглушкой 4 и, возможно, ее разрушению, а также предотвращает попадание газов в емкость, содержащую активное начало. Поршень 11, имеющий соответствующий цвет, может, кроме того, использоваться в качестве индикатора функционирования устройства, путем контроля его появления в смотровых отверстиях, выполненных на корпусе 2 шприца.
Ниже приведено описание основных элементов пиротехнического генератора 70. Он состоит из расположенного в корпусе 71 над поршнем пиротехнического заряда 73, воспламенение которого происходит в результате воздействия ударника на капсюль-воспламенитель. Капсюль-воспламенитель находится в держателе капсюля. В начальном положении ударник 74 удерживается в направляющей 75 ударника, прикрепленной к корпусу 71 болтами, по меньшей мере одним шариком, таким как шарик 77, частично расположенным в пазу ударника. Ударное устройство состоит из толкателя 78 с выемкой 79 и внутренней пружины 76.
Толкатель 78 скользит по внешней стороне направляющей ударника 75 и задерживается пальцами 80, которые перемещаются в боковых пазах 81. В данном случае толкатель 78 является пусковым механизмом.
Конечно, для инициирования воспламенения и сгорания пиротехнического заряда 72 в соответствии с изобретением можно использовать и другие пусковые устройства, отличные от описанного выше ударного механизма. В качестве примеров можно привести пусковые устройства на электрической батарейке и пьезоэлектрические пусковые устройства.
Пиротехнический газогенератор может быть заменен газогенератором, состоящим из емкости для сжатого газа, закрытой клапаном быстрого открытия. Пусковой механизм открывает клапан, содержащийся в емкости сжатый газ расширяется и воздействует на ударный механизм.
После снятия крышки асептики и наложения нижней части инъекторного устройства на кожу пациента оператору следует нажать пальцем на толкатель 78, который перемещается внутрь и сжимает пружину 76. Толкатель перемещается в положение, в котором выемка 79 становится на уровне паза ударника 74, при этом шарики, например, 77, удерживая ударник 74, смещаются в паз 79 и высвобождают ударник, который с силой ударяет по капсюлю-воспламенителю 73, инициирующему воспламенение пиротехнического заряда 72. Ударник 74, упираясь в держатель капсюля, обеспечивает расположение на месте капсюля и герметичность, при этом газы, образующиеся в результате сгорания, не поднимаются в направлении толкателя.
В результате сгорания пиротехнического заряда образуются газы, которые оказывают воздействие на поршень 11.
На фиг.1 изображен шприц в соответствии с изобретением, имеющий форму ручки, все элементы размещены вдоль центральной оси один над другим. В соответствии с настоящим изобретением предусматриваются и другие устройства, например расположение динамического устройства под определенным углом к части шприца, включающей емкость и приемник, для достижения большей компактности, как это указано в заявке на патент FR 2815544.
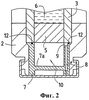
На фиг.2 в увеличенном виде изображена нижняя часть заявленного шприца.
Приемник 7 представляет собой деталь, внешне имеющую цилиндрическо-коническую форму и размещенную в корпусе 2 шприца.
Центральное глухое отверстие 10 имеет форму цилиндра. Как правило, верхний край, соединяющий верхнюю часть приемника и глухое отверстие, имеет закругление с радиусом кривизны, достаточным, чтобы исключить возможность повреждения нижней заглушки при ее вводе в пространство глухого отверстия на начальном этапе инъекции.
В приемнике имеется несколько инжекционных трубок, одна из которых – трубка 8 – показана на фиг.1. Впускное отверстие 9 связывает глухое отверстие, а точнее верхнюю часть глухого отверстия, с инжекционной трубкой. Когда нижняя заглушка полностью занимает положение в приемнике жидкости, последняя может переливаться в инжекционные трубки.
На виде в разрезе изображена многопрофильная соединительная часть 12, расположенная в выемке и находящаяся как можно ближе с краем глухого отверстия, которая окружает поверхность, проходящую перпендикулярно впускному отверстию, что описано более подробно ниже.
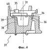
На фиг.3 и 4 представлен другой вариант реализации приемника шприца в соответствии с изобретением. В данном случае приемник изготовлен путем литья под давлением поликарбоната, который пригоден для использования в вышеназванных целях.
Приемник 37 содержит на боковой стороне боковую винтовую резьбу для установки на корпусе путем навинчивания соответствующих элементов. Приемник имеет три периферийные инжекционные трубки, одна трубка 38 показана на разрезе (фиг.4). Три инжекционные трубки 38 являются одинаковыми и расположены вокруг центрального глухого отверстия 31 приемника, при этом они соединяются с отверстием 31 при помощи впускных отверстий 39.
С учетом способа изготовления (путем литья под давлением) приемника верхняя часть инжекционной трубки достаточно широкая (диаметр – около 0,8 мм, высота – 4-5 мм). Этот участок имеет цилиндрическую или цилиндрическо-коническую форму. В нижней части трубка сужается (диаметр – около 0,1 мм при высоте 2-3 мм), чтобы обеспечить выброс струи, которая проникнет на различную глубину в кожу пациента.
В данном варианте выполнения верхняя поверхность приемника включает устройство 40 зажима, которое будет принимать и удерживать емкость, имеющую утолщения по краям. Можно заполнить вышеупомянутую емкость перед установкой в приемник. В данном случае этот независимый комплекс представляет собой так называемую фармацевтическую часть шприца. Это устройство детально описано ниже.
В связи с наличием в данном примере трех инжекционных трубок верхняя поверхность приемника содержит многопрофильную соединительную часть 34. Эта соединительная часть изготовлена способом двойного литья под давлением. Многопрофильная соединительная часть расположена параллельно и в непосредственной близости от краев глухого отверстия и краев впускных отверстий в направлениях, которые были определены выше.
На разрезе показано, что полость, в которой размещается многопрофильная соединительная часть, в сечении имеет форму прямоугольника. Многопрофильная соединительная часть занимает всю эту полость и имеет выступ 35 в центральной части свободной верхней поверхности, поскольку емкость еще не установлена на приемнике.
Для большей фиксации многопрофильной соединительной части в полости приемника на нижней поверхности соединительной части выполнены анкерные зубцы 36, которые располагаются в отверстиях полости, изготовленной при литье под давлением приемника. Зубец 36 показан слева на противоположной стороне инжекционной трубки.
Эластомер, выбранный для изготовления путем двойного литья под давлением соединения, должен обеспечить его соответствующее прилегание к основанию, что представляет собой один из самых интересных моментов использования способа двойного литья под давлением. Он должен обеспечить продолжительный срок службы, а его жесткость должна быть достаточной для обеспечения герметичности. Показатель жесткости по Шору 75 соответствует такому назначению. В случае если приемник изготавливается из поликарбоната, то в качестве эластомера при изготовлении соединения может использоваться SANTOPRENE.
В данном примере центральное глухое отверстие имеет форму усеченного конуса с углом конусности около 7°.
Диаметр впускного отверстия, т.е. верхняя часть приемника, равен диаметру емкости.
Края глухого отверстия, т.е. пересечение верхней поверхности приемника и часть глухого отверстия, имеющего форму усеченного конуса, не перерезают друг друга острой кромкой, однако эти поверхности соединяются по соответствующей кривой, которая показана на фиг.4.
Пересечение радиального желобка и глухого отверстия имеет скругленную форму, при этом радиус закругления меньше, чем в предыдущем случае.
На фиг.5, 6 и 7 представлены схематический вид и общий вид различных форм впускных отверстий в инжекционных трубках приемника согласно изобретению.
На фиг.5 представлен первый вариант выполнения впускного отверстия 39 с поверхностью 59, проходящей перпендикулярно впускному отверстию, и расположенной над инжекционной трубкой 38 и радиальным желобком, имеющим постоянную ширину и соединяющим поверхность, проходящую перпендикулярно впускному отверстию, с центральным глухим отверстием. В данном примере поверхность, проходящая перпендикулярно впускному отверстию, и желобок расположены перпендикулярно нижней поверхности приемника и на основании 19 впускного отверстия 39.
На фиг.6 представлен другой вариант выполнения, отличающийся от предыдущего более широким желобком в части, расположенной перпендикулярно глухому отверстию, который затем в определенной степени сужается и соединяется с поверхностью 59, проходящей перпендикулярно впускному отверстию.
На фиг.7 представлен вариант выполнения, в котором желобок имеет постоянную ширину, однако стороны желобка и поверхности 59, проходящей перпендикулярно впускному отверстию, не перпендикулярны, но закруглены и соединяются с большим радиусом кривизны в области основания 19 желобка и поверхности 59, проходящей перпендикулярно впускному отверстию; это впускное устройство имеет адаптированный, т.е. подогнанный профиль сечения.
На трех чертежах для упрощения линии пересечений между глухим отверстием и верхней частью приемника и между глухим отверстием и радиальными желобками изображены в виде кривого изгиба, что позволяет предположить наличие острых кромок, однако, в действительности, эти кромки имеют закругленную форму ввиду использования достаточной степени кривизны при присоединении.
Формула изобретения
1. Безыгольный шприц, содержащий корпус (2), в котором размещена емкость (3) цилиндрической формы, ограниченная перемещающейся верхней заглушкой (4) и перемещающейся нижней заглушкой (5), для размещения жидкого активного начала (6), и содержащий в нижней части приемник (7, 37) с по меньшей мере двумя периферийными инжекционными трубками (8, 38), при этом приемник опирается на верхнюю поверхность емкости и содержит глухое отверстие (10, 31), высота которого позволяет освобождать впускные отверстия (9, 39) периферийных инжекционных трубок (8, 38), когда нижняя заглушка (5) контактирует с основанием (7а) глухого отверстия приемника при активации динамической установки (70), перемещающей систему, включающую верхнюю заглушку – жидкость – нижнюю заглушку, отличающийся тем, что на верхней поверхности приемника каждое впускное отверстие (9, 39) содержит участок поверхности, проходящей перпендикулярно выпускному отверстию (8), расположенный на инжекционной трубке и соединенный с радиальным желобком, входящим в центральное глухое отверстие (10, 31), при этом поверхность приемника содержит многопрофильную соединительную часть (12, 34), проходящую вдоль кромки отверстия или в непосредственной близости от нее, параллельно и рядом с глухим отверстием (10, 31) и окружающую впускные отверстия (9, 39) инжекционных трубок.
2. Безыгольный шприц по п.1, отличающийся тем, что многопрофильная соединительная часть (12) расположена в выемке, имеющей сопряженную форму.
3. Безыгольный шприц по п.1, отличающийся тем, что содержит на верхней поверхности приемника многопрофильную соединительную часть (34), изготовленную способом двойного литья под давлением, параллельную и находящуюся рядом с центральным глухим отверстием и окружающую впускные отверстия инжекционных трубок.
4. Безыгольный шприц по любому из пп.1-3, отличающийся тем, что участок поверхности, проходящий перпендикулярно выпускному отверстию (8) и расположенный по центру инжекционной трубки, имеет диаметр, составляющий 1,1-1,5 от диаметра инжекционной трубки, и глубину, которая составляет около 0,5-0,6 от диаметра инжекционной трубки.
5. Безыгольный шприц по п.4, отличающийся тем, что ширина радиального желобка является величиной постоянной и равна диаметру участка поверхности, проходящего перпендикулярно выпускному отверстию (8).
6. Безыгольный шприц по п.4, отличающийся тем, что ширина радиального желобка увеличивается от места своего присоединения к участку поверхности, проходящему перпендикулярно выпускному отверстию (8) до места ввода в центральное глухое отверстие, где ширина составляет не меньше 1,4 от диаметра участка поверхности, проходящего перпендикулярно выпускному отверстию (8).
7. Безыгольный шприц по п.4, отличающийся тем, что участок поверхности, проходящей перпендикулярно выпускному отверстию (8), и радиальный желобок имеют адаптированный профиль.
8. Безыгольный шприц по любому из пп.1-3, отличающийся тем, что центральное глухое отверстие (31) имеет преимущественно форму усеченного конуса, диаметр впускного отверстия равен внутреннему диаметру емкости, при этом наименьший диаметр находится у основания глухого отверстия, а образующая боковой стенки является образующей усеченного конуса, расположена под углом около 2-9° относительно оси глухого отверстия.
9. Безыгольный шприц по п.8, отличающийся тем, что верхние края центрального глухого отверстия (31) и впускные отверстия имеют округления, чтобы не допустить разрыва нижней заглушки.
РИСУНКИ
|
|