|
|
(21), (22) Заявка: 2006108697/14, 20.03.2006
(24) Дата начала отсчета срока действия патента:
20.03.2006
(46) Опубликовано: 10.11.2007
(56) Список документов, цитированных в отчете о поиске:
US 4433679 А, 28.02.1984. RU 2107476 C1, 27.03.1998. US 5624390 A, 29.04.1997. DE 2239382 A, 21.02.1974. EP 0841044 A1, 13.05.1998. US 4865024 A, 12.09.1989. US 4624246 А, 25.11.1986.
Адрес для переписки:
424000, Республика Марий Эл, г.Йошкар-Ола, пл. Ленина, 3, отдел интеллектуальной собственности, ГОУ ВПО МГТУ
|
(72) Автор(ы):
Кудрявцев Игорь Аркадьевич (RU), Куликов Юрий Александрович (RU)
(73) Патентообладатель(и):
Государственное образовательное учреждение высшего профессионального образования Марийский государственный технический университет (RU)
|
(54) ОРТОПЕДИЧЕСКИЙ АППАРАТ ДЛЯ КОЛЕННОГО СУСТАВА
(57) Реферат:
Изобретение относится к медицинской технике, а более конкретно к шарнирным ортопедическим аппаратам, и предназначено для использования при лечении и восстановлении функций коленного сустава. Ортопедический аппарат для коленного сустава содержит две шарнирно связанные рамки, гибкую тягу и пружину. Рамки выполнены в виде трубок, связанных между собой расположенными под углом друг к другу упругими пластинами. Внутри трубок размещена концами закрепленная гибкая тяга. Крепление гибкой тяги в одной из трубок выполнено через пружину растяжения и самозажимной эксцентриковый захват. Участок гибкой тяги, охватывающей упругие пластины, заключен в защитную оболочку. Технический результат – упрощение конструкции, повышение компактности и надежности. 4 з.п. ф-лы, 8 ил.
Изобретение относится к шарнирным ортопедическим аппаратам и предназначено для использования при лечении и восстановлении функций коленного сустава.
Недостатком известного устройства являются значительные габаритные размеры шарнирного узла, что ограничивает свободу движения ноги.
Известен ортопедический аппарат для коленного сустава (US 4433679 А, А61F 5/01, 28.02.1984), содержащий две шарнирно связанные рамки, гибкую тягу и пружину.
Недостатком известного устройства является сложность конструкции, что обуславливает, в свою очередь, снижение надежности.
Технический результат изобретения – упрощение конструкции, повышение компактности и надежности.
Указанный технический результат изобретения – упрощение конструкции, повышение компактности и надежности.
Указанный технический результат достигается тем, что ортопедический аппарат для коленного сустава содержит две шарнирно связанные рамки, гибкую тягу и пружину, при этом рамки выполнены в виде трубок, связанных между собой расположенными под углом друг к другу упругими пластинами, при этом внутри трубок размещена концами закрепленная гибкая тяга, причем крепление гибкой тяги в одной из трубок выполнено через пружину растяжения и самозажимной эксцентриковый захват, а участок гибкой тяги, охватывающий упругие пластины, заключен в защитную оболочку. Крепление гибкой тяги в другой трубке может быть выполнено через пружину растяжения. Аппарат может содержать механизм регулировки натяжения гибкой тяги. Шарнирный узел может быть заключен в эластичный кожух. Трубки могут быть выполнены частично охватывающими ногу.
Сущность изобретения поясняется чертежами, где:
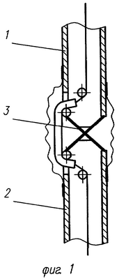
на фиг.1 изображен ортопедический аппарат, вид сбоку; на фиг.2 – ортопедический аппарат, вид спереди, эластичный кожух 18, гибкая тяга 6 и защитная оболочка 12 условно не показаны; на фиг.3 – ортопедический аппарат, в согнутом состоянии; на фиг.4 – самозажимной эксцентриковый захват в расзажатом состоянии; на фиг.5 – самозажимной эксцентриковый захват в зажатом состоянии; на фиг.6 и 7 – упругий шарнир в различных компоновочных состояниях; на фиг.8 – ортопедический аппарат, вид общий.
Ортопедический аппарат для коленного сустава содержит выполненные из трубок рамки 1 и 2, связанные между собой посредством упругого шарнира 3, выполненного в виде перекрещивающихся упругих пластин 4 и 5. Различные варианты монтажа упругого шарнира 3 позволяют изменять угол относительного расположения рамок 1 и 2. Внутри трубок рамок 1 и 2 размещена гибкая тяга 6, одним концом закрепленная к рамке 2 через пружину растяжения 7, а другим концом – к рамке 1 через пружину растяжения 8 и через самозажимной эксцентриковый захват 9. На рамках 1 и 2 имеются регулировочные отверстия 10 и 11 для изменения усилия начального натяжения ветвей гибкой тяги 6 путем перестановки в них концов пружин растяжения 7 и 8. На участке, охватывающем упругий шарнир 3, гибкая тяга 6 заключена в защитную оболочку 12, на выходе из которой гибкая тяга ориентируется втулками 13 и 14. Самозажимной эксцентриковый захват 9 содержит выполненный из фрикционного материала в виде шара эксцентриковый зажим 15, упор 16 и эксцентриковый фиксатор 17. Упругий шарнир 3 может быть заключен в эластичный кожух 18. Ортопедический аппарат фиксируется на ноге с помощью ремней 19.
Ортопедический аппарат работает следующим образом. Упругий шарнир 3 обеспечивает относительный поворот рамок 1 и 2, при этом гибкая тяга 6 ограничивает поворот рамок в сторону складывания. При разгибании скобы пружина 8 подтягивает гибкую тягу 6, при этом эксцентриковый зажим 15, поворачиваясь до упора 16, не препятствует этому. При начале складывания ортопедического аппарата гибкая тяга 6 начинает натягиваться в направлении шарнирного узла 3, растягивая пружину растяжения 8, при этом эксцентриковый зажим 15 благодаря силе трения поворачивается и прижимает гибкую тягу к достаточно жесткой стенке трубки. Происходит самозатягивание, и гибкая тяга 6 удерживается силами трения, что останавливает складывание ортопедического аппарата и фиксирует его в заданном состоянии. При необходимости гибкая тяга 6 освобождается принудительным поворотом эксцентрикового зажима 15 эксцентриковым фиксатором 17. Ортопедический аппарат отличается компактностью и простотой конструкции, отсутствием люфтов, повышенной надежностью.
Формула изобретения
1. Ортопедический аппарат для коленного сустава, содержащий две шарнирно связанные рамки, гибкую тягу и пружину, отличающийся тем, что рамки выполнены в виде трубок, связанных между собой расположенными под углом друг к другу упругими пластинами, при этом внутри трубок размещена концами закрепленная гибкая тяга, причем крепление гибкой тяги в одной из трубок выполнено через пружину растяжения и самозажимной эксцентриковый захват, а участок гибкой тяги, охватывающей упругие пластины, заключен в защитную оболочку.
2. Аппарат по п.1, отличающийся тем, что крепление гибкой тяги в другой трубке выполнено через пружину растяжения.
3. Аппарат по п.2, отличающийся тем, что содержит механизм регулировки натяжения гибкой тяги.
4. Аппарат по п.1, отличающийся тем, что шарнирный узел заключен в эластичный кожух.
5. Аппарат по п.1, отличающийся тем, что трубки выполнены частично охватывающими ногу.
РИСУНКИ
MM4A – Досрочное прекращение действия патента СССР или патента Российской Федерации на изобретение из-за неуплаты в установленный срок пошлины за поддержание патента в силе
Дата прекращения действия патента: 21.03.2008
Извещение опубликовано: 10.11.2009 БИ: 31/2009
|
|