|
|
(21), (22) Заявка: 2006104616/14, 04.02.2004
(24) Дата начала отсчета срока действия патента:
04.02.2004
(30) Конвенционный приоритет:
15.07.2003 US 10/619,179
(43) Дата публикации заявки: 27.06.2006
(46) Опубликовано: 10.11.2007
(56) Список документов, цитированных в отчете о поиске:
WO 01/19295 А, 22.03.2001. RU 2063730 C1, 20.07.1996. RU 2145199 С1, 10.02.2000. SU 1470289 А1, 07.04.1989. SU 1811822 А1, 30.04.1993. US 5314477 А, 24.05.1994. WO 01/01 893 А, 01.11.2001. ТКАЧЕНКО С.С. Остеосинтез. – М.: Медицина, 1987. с.102-107.
(85) Дата перевода заявки PCT на национальную фазу:
15.02.2006
(86) Заявка PCT:
EP 2004/001027 (04.02.2004)
(87) Публикация PCT:
WO 2005/007042 (27.01.2005)
Адрес для переписки:
129010, Москва, ул. Б.Спасская, 25, стр.3, ООО “Юридическая фирма Городисский и Партнеры”, пат.пов. Ю.Д.Кузнецову, рег.№ 595
|
(72) Автор(ы):
КЕЛЛЕР Арнольд (DE)
(73) Патентообладатель(и):
СЕРВИТЕК, ИНК. (US)
|
(54) СИСТЕМА ИЗ ШЕЙНОГО ПРОТЕЗА И УСТАНОВОЧНОГО ИНСТРУМЕНТА
(57) Реферат:
Изобретение относится к медицине, а именно к травматологии. Изобретение обеспечивает создание улучшенной системы из эндопротеза межпозвонкового диска и установочного инструмента, которая в особенности приспособлена к потребностям при имплантации в стесненных условиях, которые возникают, прежде всего, в области шейного отдела позвоночника. Система из составного эндопротеза (9) межпозвонкового диска, который имеет верхнюю и нижнюю замыкательные пластины (91, 92) и скользящее ядро (93) между ними, причем каждой замыкательной пластине (91, 92) соответствует пара отверстий (96, 97) или выступов для захвата, и установочного инструмента (1), который имеет зону рукоятки (21, 31) и зону зажима (22, 32) с фиксирующими выступами (51, 52) или отверстиями, которые для удерживания эндопротеза (9) межпозвонкового диска в установочном инструменте (1) вставляются в отверстия (96, 97) или выступы для захвата. Отверстия (96, 97) или выступы для захвата расположены на латеральных гранях эндопротеза (9) межпозвонкового диска и, по меньшей мере, пара отверстий (96) или выступов для захвата, расположенных на одной из замыкательных пластин (92), имеет форму, удлиненную в направлении другой замыкательной пластины (91). 1 с. и 17 з.п. ф-лы, 8 ил.
Изобретение касается системы из составного эндопротеза межпозвонкового диска, который имеет верхнюю и нижнюю замыкательные пластины и скользящее ядро между ними, причем каждой замыкательной пластине соответствует пара отверстий или выступов для захвата, и установочного инструмента, который имеет зону рукоятки и зону зажима с фиксирующими выступами или отверстиями, которые для фиксации эндопротеза межпозвонкового диска вставляются в отверстия для захвата или выступы на установочном инструменте.
Для имплантации протезов межпозвонковых дисков необходимы специальные установочные инструменты из-за сложного доступа к области имплантации. Чтобы протез межпозвонкового диска мог удерживаться в установочном инструменте, как известно, на вентральной торцевой поверхности замыкательных пластин предусмотрены направленные в направлении установки отверстия, в которые входят подходящим образом выполненные штифты установочного инструмента (US-A-5, 314, 477 и WO-A-0119295). Хотя этот тип фиксации является довольно надежным, однако занимаемая площадь отверстий препятствует уменьшению торцевой поверхности и тем самым замыкательной пластины в целом. Для применения при стесненных условиях этот вариант осуществления мало подходит.
В других известных (EP-A-1306064) системах протезов межпозвонковых дисков не предусмотрены отверстия, вместо этого установочный инструмент имеет две пары неподвижных связанных друг с другом элементов захвата, которые соответственно держат между собой замыкательную пластину посредством силы трения. Для очень маленьких имплантантов, как тех, которые применяются в области шейного отдела позвоночника и которые должны быть очень точно размещены, они могут быть ненадежными.
Задачей изобретения является создание улучшенной системы из эндопротеза межпозвонкового диска и установочного инструмента, которая в особенности приспособлена к потребностям при имплантации в стесненных условиях, которые возникают, прежде всего, в области шейного отдела позвоночника.
Согласно изобретению решение достигается системой с признаками пункта 1 формулы изобретения. Предпочтительные усовершенствования являются предметом зависимых признаков формулы изобретения.
Согласно изобретению в системе из составного эндопротеза межпозвонкового диска, который имеет верхнюю и нижнюю замыкательные пластины и скользящее ядро между ними, причем каждой пластине соответствует пара отверстий или выступов для захвата, и установочного инструмента, который имеет зону рукоятки и зону зажима с фиксирующими выступами или отверстиями, которые для удерживания эндопротеза межпозвонкового диска вставляются в отверстия или выступы для захвата на установочном инструменте, предусмотрено, что отверстия для захвата расположены на латеральных гранях эндопротеза межпозвонкового диска и, по меньшей мере, пара отверстий для захвата, расположенных на одной из замыкательных пластин, имеет форму, удлиненную в направлении другой замыкательной пластины.
Под формой, удлиненной в направлении другой замыкательной пластины, понимается, что отверстие для захвата для входящего в него фиксирующего выступа в направлении, а именно к другой замыкательной пластине, предоставляет свободное пространство, так чтобы предусмотренный в этом направлении фиксирующий выступ мог занять различные положения. Можно также сказать, что замыкательная пластина выполнена в виде продольного отверстия, причем продольная ось продольного отверстия направлена к другой замыкательной пластине. Целесообразным вариантом осуществления для выполненного таким образом отверстия для захвата является паз.
С помощью такого варианта осуществления отверстия для захвата система согласно изобретению позволяет зажимать и устанавливать эндопротезы межпозвонковых дисков со скользящими ядрами различной толщины без проведения в них регулировок или изменений. Таким образом, хирург может, когда в ходе операции обнаруживается, что предусмотренный эндопротез межпозвонкового диска не подходит, выбрать из инструментария другой, с другой высотой и просто сразу взять с помощью установочного инструмента и установить. Это является важным преимуществом в особенности при маленьких эндопротезах межпозвонковых дисков, например, для шейного отдела позвоночника, которые вследствие своей малой величины допускают только незначительные допуски при имплантации.
Расположение отверстий (или выступов) для захвата на латеральных гранях, вместо торцов, как в предшествующем уровне техники, замыкательной пластины уменьшает занимаемую площадь. Это позволяет получить более компактный и меньший вариант осуществления эндопротеза межпозвонкового диска. Расположение на латеральных гранях имеет дополнительно преимущество в том, что фиксирующие выступы расположены поперек направления установки и таким образом передача силы при установке эндопротеза межпозвонкового диска происходит с геометрическим замыканием. Благодаря такой конструкции эндопротез межпозвонкового диска, с одной стороны, надежно удерживается в установочном инструменте, но, с другой стороны, может посредством разъединения геометрического замыкания легко быть отделен от установочного инструмента. В предшествующем уровне техники иначе, там передача силы происходит на основе направленных в направлении установки фиксирующих выступов посредством фрикционного замыкания. Это означает ненадежное позиционирование опоры и нежелательные высокие потери силы, чтобы преодолеть фрикционное замыкание. Изобретение дает возможность более легкого манипулирования и более точного позиционирования, что особенно подходит в тесных пространственных условиях.
Предпочтительно, отверстие для захвата, имеющее удлиненную форму, проходит по всей высоте соответствующей замыкательной пластины. Это позволяет выравнивать различные высоты в большом диапазоне. Но отверстие для захвата, имеющее удлиненную форму, может также быть расположено на скользящем ядре или на обоих. В последнем случае важно, чтобы они были расположены в одну линию друг с другом. Отверстие для захвата может проходить по части высоты или, предпочтительно, по всей высоте скользящего ядра.
Может быть целесообразным, выбрать такую форму отверстия для захвата, чтобы оно сужалось при увеличивающейся глубине. Благодаря этому облегчается введение соответствующего фиксирующего выступа и, несмотря на это, достигается более надежная посадка, так что остается только небольшой зазор или даже не остается никакого зазора.
Предпочтительно, пара отверстий для захвата, соответствующая другой замыкательной пластине, имеет концентрическую форму. При концентрической форме в отличие от удлиненной формы в распоряжении входящего фиксирующего выступа не имеется свободного пространства, т.е. фиксирующий выступ может занимать только одно положение. Целесообразно это отверстие для захвата выполнять в виде круглого отверстия. Таким образом достигается, что эндопротез межпозвонкового диска занимает определенное положение относительно входящего внутрь фиксирующего выступа и таким образом также относительно установочного инструмента. Различия в габаритных размерах эндопротеза межпозвонкового диска, возникающие из-за различных высот скользящего ядра или из-за производственных допусков, могут быть выровнены благодаря конструкции согласно изобретению отверстия для захвата с удлиненной формой. Эндопротез межпозвонкового диска, таким образом, несмотря на возможные различия, может удерживаться определенным образом. Различная конструкция обеих пар отверстий для захвата имеет, кроме того, преимущество в том, что она обеспечивает отсутствие смещения. Эндопротез межпозвонкового диска может тогда только с подходящей ориентировкой быть зафиксирован на установочном инструменте; тем самым избегается перевернутое расположение.
В обычном случае отверстия для захвата расположены на эндопротезе межпозвонкового диска, а фиксирующие выступы – на установочном инструменте. Это проверенное расположение. Но изобретение не ограничивается этим, и также может быть предусмотрено, что выступы расположены на эндопротезе межпозвонкового диска, а отверстия – на установочном инструменте.
Особенно предпочтительным является предусмотреть для эндопротеза межпозвонкового диска разные размеры со скользящими ядрами разной толщины. Таким образом, в зависимости от анатомических требований подходящий эндопротез межпозвонкового диска может быть выбран и имплантирован с помощью установочного инструмента, без необходимости произведения изменений на установочном инструменте. Если хирург обнаруживает в ходе операции, что первоначально предусмотренный эндопротез межпозвонкового диска слишком высокий или слишком низкий, тогда ему нужно выбрать только другой эндопротез межпозвонкового диска подходящей высоты и можно его установить сразу.
Установочный инструмент выполнен предпочтительно в виде щипцов. Фиксирующие выступы могут быть расположены на внутренней стороне зажимов. Вследствие этого возможно посредством простого закрывания щипцов поместить фиксирующие выступы в отверстия для захвата и таким образом зафиксировать эндопротез межпозвонкового диска в щипцах. Дополнительно, вариант осуществления в виде щипцов позволяет получить компактную конструкцию. Благодаря этому получаются значительные преимущества в отношении манипулирования, в особенности, в тесных пространственных условиях, в области шейного отдела позвоночника. Кроме того, вариант осуществления в виде щипцов имеет преимущество в том, что различные размеры по ширине эндопротеза межпозвонкового диска могут быть просто компенсированы. Это происходит, потому что щипцы в зависимости от ширины эндопротеза межпозвонкового диска более или менее широко закрываются. В сочетании с конструкцией отверстий для захвата согласно изобретению могут быть компенсированы как различные размеры по ширине, так и толщине эндопротеза межпозвонкового диска. Это дает высокую универсальность устройства.
Фиксирующие выступы выполнены предпочтительно пластинчатыми и штифтообразными. Выполненные таким образом фиксирующие выступы хорошо согласуются с формой отверстий для захвата и обеспечивают, таким образом, надежную и с малым зазором посадку эндопротеза межпозвонкового диска на установочном инструменте.
Целесообразно, в зоне зажима предусмотреть блок с упорной поверхностью для контакта с эндопротезом межпозвонкового диска, который связан с деталью, воспринимающей силу, воздействующую на эндопротез межпозвонкового диска при его установке. При помещении эндопротеза межпозвонкового диска с помощью установочного инструмента фиксирующие выступы входят в отверстия для захвата (или наоборот) и способствуют тому, что эндопротез межпозвонкового диска занимает определенное положение относительно установочного инструмента. Блок расположен так, что его упорная поверхность контактирует с эндопротезом межпозвонкового диска. Необходимые для установки эндопротеза межпозвонкового диска силы тогда через упорную поверхность могут быть перенесены на эндопротез межпозвонкового диска, причем фиксирующие выступы не должны воспринимать эти действующие в направлении установки силы. Они могут быть выполнены с малыми размерами и так тонко, как желательно для точного позиционирования, без необходимости принятия во внимание высокой силовой нагрузки при забивании. Кроме того, блок имеет преимущественное действие; он предотвращает скручивание эндопротеза межпозвонкового диска или раскрытие его элементов. Это облегчает надежную, простую и позиционно точную установку эндопротеза межпозвонкового диска.
Блок может быть расположен подвижно в продольном направлении посредством исполнительного устройства. Но он может также быть расположен неподвижно в зоне зажима. Под неподвижным здесь понимается то, что блок при использовании установочного инструмента для фиксации и установки не движется, не это не должно быть исключено, чтобы можно было его передвинуть с целью регулировки, например, для перехода на другую величину протеза. Это может быть достигнуто, например, закреплением посредством зажимного винта. Но, предпочтительно, блок закреплен сквозным винтом в зоне зажима.
Целесообразно, чтобы на блоке был расположен стержень с рукояткой в задней области детали рукоятки. Она упрощает передачу силы установки на установочный инструмент и эндопротез межпозвонкового диска. Предпочтительно для этого рукоятка выполнена в виде ударной головки.
Благоприятно расположить неподвижный блок на вставке зажима. Подгонка к различным протезам межпозвонковых дисков может вместе с тем происходит просто посредством замены вставки зажима.
Изобретение далее объясняется со ссылками на чертежи, на которых изображен предпочтительный вариант осуществления. На чертежах изображено:
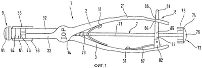
Фиг.1 – общий вид устройства сверху согласно изобретению.
Фиг.2 – общий вид установочного инструмента снизу.
Фиг.3 – увеличенный частичный вид детали зажима установочного инструмента в продольном сечении.
Фиг.4 – частичный вид другой детали зажима.
Фиг.5 – частичный вид установочного инструмента с расположенным на нем эндопротезом межпозвонкового диска.
Фиг.6 – увеличенный частичный вид детали зажима другого варианта осуществления установочного инструмента.
Фиг.7 – увеличенный частичный вид детали зажима дополнительного другого варианта осуществления установочного инструмента.
Фиг.8 – частичный вид детали рукоятки установочного инструмента согласно фиг.7.
При изображенном варианте осуществления речь идет об установочном инструменте, выполненном в виде щипцов (в целом обозначенных позицией 1) и шейном протезе 9, как эндопротезе межпозвонкового диска. Он предусмотрен для имплантации в промежуток между двумя соседними телами позвонков шейного отдела позвоночника (не показано).
Шейный протез 9 состоит из верхней замыкательной пластины 91 и нижней замыкательной пластины 92 с расположенным между ними скользящим ядром 93. Шейный протез предусмотрен для имплантации в промежуток между двумя смежными позвонками шейного отдела позвоночника человека. При этом верхняя замыкательная пластина 91 закреплена на нижней стороне краниального позвонка, и нижняя замыкательная пластина 92 закреплена на верхней стороне каудального позвонка. Вместе с тем, шейный протез 9 для установки может быть надежно захвачен щипцами 1, причем верхняя и нижняя замыкательная пластина 91, 92 снабжены отверстиями для захвата. Они находятся в передней области замыкательных пластин в области вентрального фланца 94, 95 крепления. Соответствующее верхней замыкательной пластине 91 отверстие для захвата выполнено в виде круглого отверстия 97 с цековкой. Соответствующее нижней пластине 92 отверстие для захвата выполнено в виде паза 96 на самой боковой поверхности нижней замыкательной пластины 92 и в виде паза 96′, который выполнен на боковой стороне скользящего ядра 93. Пазы 96 и 96′ расположены в одну линию, так что они составляют сквозной канал. Не требуется обязательно, чтобы пазы 96, 96′ были выполнены как на нижней замыкательной пластине 92, так и на скользящем ядре, также может быть достаточно, предусмотреть его только на замыкательной пластине 92.
Щипцы 1 выполнены из двух половинок щипцов, которые связаны друг с другом подвижно через поворотный шарнир. Каждая половинка 2, 3 щипцов имеет в их задней области по одной детали 21, 31 рукоятки и в их передней области по детали 22, 32 зажима. В переходе между деталями 21, 31 рукоятки и деталями 22, 32 зажима расположен поворотный шарнир 4. Это выполнено посредством цапфы 42 на половинке 2 щипцов (на фиг.1 она проходит от плоскости чертежа вверх наружу), которая установлена в подходящее отверстие 43 в средней области другой половинке 3 щипцов. Опорная цапфа 42 имеет сквозное отверстие 44, которое проходит от области со стороны рукоятки половинок 2, 3 щипцов к области со стороны зажима. Ниже приведено их подробное описание. Поворотная опора 4 позволяет деталям 21, 31 рукоятки половинок 2, 3 щипцов двигаться друг к другу, таким образом закрывая детали 22, 32 зажима и наоборот.
Детали 22, 32 зажима действуют как звенья захвата. Они имеют в передней области на их повернутых друг к другу внутренних сторонах по два выступа 51, 52, указывающих в направлении 12 зажима. Эти выступы расположены не непосредственно на деталях 22, 32 зажима, а на вставках 53 зажима, которые посредством винта (не показан) закреплены с возможностью замены на внешней стороне деталей 22, 32 зажима в соответствующем элементе для захвата. Каждая вставка 53 зажима имеет по одному выступу 51 и одному выступу 52. Выступ 51 выполнен штифтообразным и находится в верхней области, в то время как выступ 52 выполнен пластинчатым и находится в нижней области вставки 53 зажима. Размеры и расположение выступов 51, 52 подгоняются к соответствующим отверстиям для захвата на захватываемом шейном протезе 9. Ниже приведено подробное описание.
Круглое отверстие 97 надлежащим образом соразмеряется с штифтообразным выступом 51 щипцов 1. Благодаря цековке штифтообразный выступ легко может быть введен в круглое отверстие 97. Паз 96, 96′ имеет вытянутую форму в направлении к верхней замыкательной пластине 91. Расположенный на щипцах 1 пластинчатый выступ 52 соответствует по ширине пазу 96, 96′, так что он вводится вдоль паза. Вследствие этого положение шейного протеза 9 относительно щипцов 1 устанавливается посредством входящего в круглое отверстие 97 штифтообразного выступа 51, в то время как пластинчатый выступ 52 в зависимости от толщины скользящего ядра 93 на различных местах вставлен в пазы 96, 96′ и таким образом позволяет выравнивать различные скользящие ядра 93. На фиг.5а изображен шейный протез средней толщины и передняя область щипцов 1 с выступами 51 и 52. При захвате шейного протеза 9 посредством щипцов 1 штифтообразный выступ 51 входит в круглое отверстие 97 и фиксирует шейный протез от смещений. Пластинчатый выступ 52 входит в паз 96 нижней замыкательной пластины 92 и в непосредственно примыкающую нижнюю область паза 96′ скользящего ядра 93. Для сравнения на фиг.5b изображен шейный протез 9′ с более толстым ядром 93′. Снова штифтообразный выступ 51 входит в отверстие 97 для захвата. Но пластинчатый выступ 51 из-за более толстого ядра 93′ больше не входит в паз 96 нижней замыкательной пластины 92, а только в паз 96′ скользящего ядра 93′. Вместе с этим шейный протез 9′ несмотря на отличающуюся высоту также надежно фиксируется в определенном положении в щипцах 1.
На детали 22 зажима расположена направляющая 60, которая фиксирует блок 61 на половинке 2 щипцов с возможностью продольного перемещения вперед и назад. Направляющая 60 выполнена в виде продольного отверстия во вставке 53 зажима детали 22 зажима. Расположенный сбоку на блоке потайной винт входит в образованное направляющей продольное отверстие и направляет блок 61 в продольном направлении. Вместо продольного отверстия могут быть предусмотрены также другие направляющие элементы, которые позволяют подвижное вперед и назад направление блока 61 в продольном направлении, например направляющая типа «ласточкин хвост». Блок 61 снабжен упорной поверхностью 62 на своем переднем конце, которая выполнена для взаимодействия с шейным протезом 9.
На блок 61 воздействует исполнительное устройство 7, которое проходит от задней области блока 61 через сквозное отверстие 44 в области между деталями 21, 31 рукоятки. Исполнительное устройство 7 включает элемент связи 70 с блоком 61, который на изображенном варианте осуществления является подходящим роторным подшипником для передачи силы тяги, далее стержень 71 и рукоятка 72 для приведения в действие. В передней области стержня 71 предусмотрена наружная резьба 73, которая взаимодействует с дополнительной внутренней резьбой (не показано) в сквозном отверстии 44 цапфы 42 в качестве инструментально неподвижной направляющей. Вместе с тем это дает возможность посредством вращения рукоятки 72 стержня 71 и, тем самым, через элемент связи 70 передвигать блок 61 вдоль направляющей 60 вперед и назад. Рукоятка 72 выполнена в виде ручки настройки, которая на ее внешней наружной поверхности 74 имеет для подготовки хорошей возможности захвата для хирурга подходящую форму поверхности в виде крупного рифления 75.
Задний конец рукоятки 72 снабжен выпуклостью 76. Она служит ударной головкой для исполнительного устройства 7. Она передает импульс от ударов, действующих на выпуклость 76 ударной головки через стержень 71 исполнительного устройства 7, устойчивый к сдвигу роторный подшипник 70 и блок 61 на опорную поверхность 62.
В качестве альтернативы также может быть предусмотрен вместо продольно передвигающегося блока 61 расположенный неподвижно на половинке 2 щипцов блок 61′, расположенный так, чтобы его опорная поверхность 62′ контактировала с зафиксированным шейным протезом 9. Это представляет интерес в особенности тогда, когда применяемые шейные протезы 9 хотя и могут отличаться в своих размерах по высоте или по ширине, но имеют идентичные размеры по длине. Так как шейный протез 9 фиксируется посредством конструкции отверстий 96, 97 для захвата и фиксирующих выступов 51, 52 в определенном положении на щипцах 1, продольное перемещение блока не обязательно осуществляется. Благодаря определенному положению также при неподвижном блоке 61′ возможно, что он своей опорной поверхностью 62′ контактирует с шейным протезом 9. Силы установки, в особенности, ударные силы, могут передаваться так надежно и осторожно, как при варианте осуществления с подвижным блоком. Это подразумевает, что при неподвижно расположенном блоке 61′ направляющая 60 не нужна. Но она может также быть сохранена, причем тогда закрепление блока 61′ может происходить посредством зажимного винта 66 (фиг.6). Для лучшего закрепления продольное отверстие 60 снабжено рифлением 65 для зажимного винта 66. Проще закрепить неподвижный блок 61′ на детали зажима посредством сварки или винтового соединения на детали 22 зажима или ее вставке 53 зажима. В последнем случае предпочтительно предусмотрен погруженный в отверстие 67 вставки 53 зажима винт 68 (см. фиг.7). Так как исполнительное устройство 7 больше не должно способствовать продольной регулировке, наружная резьба 73 на стержне 71, а также ответная резьба в сквозном отверстии 44 могут быть исключены; сквозное отверстие 44 действует только еще как направляющая для стержня 71. Устойчивый к сдвигу роторный подшипник 70 не должен также передавать вращательное движение и может быть заменен неподвижным, устойчивым к сдвигу соединением, например винтовым соединением и сваркой. Рукоятка 72 действует дополнительно как ударная головка и имеет к тому же предпочтительно выпуклость 76. Этот вариант осуществления является менее дорогостоящим в производстве и более простым в обслуживании за счет отказа от устройства блока 61′ с возможностью продольного перемещения и исключения исполнительного устройства 7 для перемещения блока.
В другом варианте осуществления предусмотрено для дополнительного упрощения, кроме того, выполнить задний конец детали 21 рукоятки как ударную головку и снабдить выпуклостью 76′. При необходимости может быть предусмотрен стержень 71′ усиления, который связывает задний конец детали 21 рукоятки с его передним концом.
В варианте осуществления с неподвижным блоком 61′ импульс от выпуклости 76, 76′ передается через стержень 71, 71′ и половинку 2 щипцов на блок 61′ и его упорную поверхность 62′.
В задней области щипцов 1 предусмотрено фиксирующее устройство 8 для деталей 21, 31 рукоятки, оно включает вращательно движущийся фиксирующий элемент 83 и фиксирующую защелку 84 (соответственно расположены напротив друг друга на деталях 21, 31 рукоятки), размыкающее устройство 81, ножку 82 и пружину 87. Задний конец детали 21 рукоятки выполнен как вилка, причем фиксирующая защелка 84 образована скосом основания вилки. Фиксирующий элемент 83 установлен посредством ножки 82 в плоскости между деталями 21, 31 рукоятки. Пружина 87 выполнена как плоская пружина и воздействует на установленный на ножке 82 конец фиксирующего элемента 83 так, что он давит вперед на фиксирующую защелку. Выходящий из ножки 82 фиксирующий элемент 83 имеет широкую область и узкую область. В его узкой области фиксирующий элемент имеет на его передней стороне зубья 86, за которые в закрытом состоянии щипцов 1 фиксирующая защелка 84 зацепляется и фиксируется, так что детали 21, 31 рукоятки не могут друг от друга отодвинуться, и тем самым обеспечивается невозможность случайного раскрытия установочного инструмента 1. Таким образом, также значительные нагрузки, как, например удар молотком по выпуклости 76, могут воздействовать на щипцы 1 без опасения случайного открывания и без необходимости, чтобы хирург вручную обеспечивал невозможность нежелательного открывания деталей 21, 31 рукоятки. Для открывания щипцов 1 после осуществления имплантации фиксирующий элемент 83 посредством давления назад на размыкающий элемент 81 поворачивается назад, благодаря чему фиксирующая защелка 84 освобождается от фиксирующего элемента 83, и таким образом детали 21, 31 рукоятки под действием пружины 11 движутся друг от друга. В открытом состоянии щипцов 1 фиксирующий элемент 83 от силы пружины поворачивается назад. В широкой области фиксирующего элемента 83 предусмотрена направляющая 85, выполненная как продольное отверстие, которое служит, чтобы фиксировать стержень также при открытых щипцах 1 в определенном положении в продольной оси 10 и избегать потери продольной устойчивости стержня 71 также при более высоком ударном нагружении.
На детали 31 рукоятки далее закреплена плоская пружина 11, которая направлена вокруг стержня 71 к другой детали рукоятки. При закрытых щипцах 1 эта плоская пружина находится под натяжением и вызывает автоматическое открывание установочного инструмента 1 после разъединения фиксирующего элемента 83, чтобы дать возможность разборки.
Далее описано взаимодействие с шейным протезом 9. Для захвата шейного протеза 9 щипцами 1 шейный протез 9 располагается в области между деталями 22, 32 зажима, и щипцы 1 закрываются, вследствие чего детали 22, 32 зажима движутся друг к другу. Вместе с тем выступы 51, 52 входят в соответствующие отверстия для захвата обеих замыкательных пластин 91, 92, причем штифты 51 входят в отверстие 97, и пластинки 52 в пазы 96, 96′. Благодаря этому шейный протез 9 удерживается в щипцах 1 в направлении нагружения без зазора. Особое выполнение выступов 51, 52 и отверстий для захвата в форме отверстий 97 и пазов 96 надежно определяет, что шейный протез 9 может быть зафиксирован в щипцах 1 только с правильным ориентированием. Щипцы 1 как на изображенном варианте осуществления также дополнительно снабжены маркировкой 14 для верхней стороны, так что неправильная имплантация из-за перевернутого ориентирования шейного протеза 9 практически исключена. Таким образом, шейный протез 9 будет помещен в щипцы 1 в правильном ориентировании, стержень 71 посредством исполнительного устройства 7 вращением рукоятки 72 может быть передвинут вперед, так что блок 61 с его упорной поверхностью подходит для контакта сзади к фланцу 94, 95 шейного протеза. Вместе с тем блок 61 прижимает шейный протез 9 к выступам 51, 52 и выравнивает таким образом шейный протез 9 в определенном положении. Возможный имеющийся зазор в направлении продольной оси между выступами 51, 52 и отверстиями 97 и пазами 96 таким образом выжимается. Шейный протез 9 вместе с тем надежно и позиционно точно удерживается в установочном инструменте 1. Кроме того, контактирование блока 61 с фланцами 93, 94 обеих замыкательных пластин 91, 92 воздействует так, что обе замыкательные пластины 91, 92 отодвигаются друг от друга на их переднем конце. Благодаря этому исключается раскрытие шейного протеза 9, что помешало бы успешному введению в межпозвонковое пространство.
Дополнительно возможно имплантировать шейные протезы с другой высотой без изменения на щипцах 1. На фиг.5 изображены шейные протезы 9, 9′, один из которых имеет более толстое ядро 93′. Он (также как ядро 93) снабжен пазом 96′, который расположен в одну линию с пазом 96 нижней замыкательной пластины 92. Эта конструкция отверстия для захвата на нижней замыкательной пластине в виде паза 96 и ее продолжение в виде паза 96′ на ядре 93′ дает возможность более толстый шейный протез 9′ с помощью тех же самых щипцов 1 с неизмененным устройством выступов 51, 52 захватить и надежно удерживать. Точность позиционирования при этом обеспечивается посредством штифтообразных выступов 51, которые входят в отверстия 97.
Но при необходимости могут также быть предусмотрены другие вставки 53′ зажимов, которые имеют другое устройство выступов 51′, 52′, как показано на фиг.4. На изображенном примере выступы находятся ближе друг к другу и расположены в одной плоскости. Вместе с тем щипцы 1 могут быть подогнаны к другим эндопротезам межпозвонковых дисков, например к особенно маленьким, предназначенным для лечения детей.
Блок 61 со своей упорной поверхностью 62 предоставляет в распоряжение поверхность передачи силы достаточно большого размера, чтобы передать нанесенный по выпуклости 76 ударной головки импульс на шейный протез 9. Это имеет большое преимущество в том, что выполненные ради точного позиционирования хрупкими выступы 51, 52 не должны передавать ударные силы, так что опасность искривления или откалывания выступов 51, 52 из-за перегрузки также при высоком ударном нагружении благодаря принимающему передачу силы блоку 61 или 61′ с его упорной поверхностью 62 исключается.
Щипцы 1 согласно изобретению позволяют получить однозначно определяемое и позиционно точное расположение шейного протеза 9 в щипцах 1, причем нежелательное раскрытие шейного протеза 9 предотвращается. Дополнительно они позволяют, благодаря блоку 61 или 61′ с упорной поверхностью 62, передачу высоких сил также при щипцах 1 с маленькими размерами. Вместе с тем обеспечивается надежная имплантация протеза. Маленькие размеры имеют далее преимущество в том, что они дают хирургу хорошие условия обзора и доступа на месте имплантации.
Формула изобретения
1. Система из составного эндопротеза (9) межпозвонкового диска, который имеет верхнюю и нижнюю замыкательные пластины (91, 92) и скользящее ядро (93) между ними, причем каждой замыкательной пластине (91, 92) соответствует пара отверстий (96, 97) или выступов для захвата и установочного инструмента (1), который имеет зону рукоятки (21, 31) и зону зажима (22, 32) с фиксирующими выступами (51, 52) или отверстиями, которые для удерживания эндопротеза (9) межпозвонкового диска в установочном инструменте (1) вставляются в отверстия (96, 97) или выступы для захвата, отличающаяся тем, что отверстия (96, 97) или выступы для захвата расположены на латеральных гранях эндопротеза (9) межпозвонкового диска и, по меньшей мере, пара отверстий (96) или выступов для захвата, расположенных на одной из замыкательных пластин (92), имеет форму, удлиненную в направлении другой замыкательной пластины (91).
2. Система по п.1, отличающаяся тем, что отверстие (96) для захвата, имеющее удлиненную форму, является пазом.
3. Система по п.1 или 2, отличающаяся тем, что отверстие (96) для захвата, имеющее удлиненную форму, проходит по всей высоте соответствующей замыкательной пластины (92).
4. Система по п.1, отличающаяся тем, что отверстие (96 ) для захвата, имеющее удлиненную форму, проходит по части высоты скользящего ядра (93).
5. Система по п.1, отличающаяся тем, что отверстие (96 ) для захвата, имеющее удлиненную форму, проходит по всей высоте скользящего ядра (93).
6. Система по п.1, отличающаяся тем, что отверстие (96) для захвата, имеющее удлиненную форму, сужается при увеличивающейся глубине.
7. Система по п.1, отличающаяся тем, что отверстие (97) для захвата, соответствующее другой замыкательной пластине (91) имеет концентрическую форму.
8. Система по п.7, отличающаяся тем, что отверстие выполнено в виде круглого отверстия.
9. Система по п.1, отличающаяся тем, что фиксирующие выступы выполнены предпочтительно пластинчатыми (52) и штифтообразными (51).
10. Система по п.1, отличающаяся тем, что фиксирующие отверстия расположены на установочном инструменте (1) и выступы для захвата – на эндопротезе межпозвонкового диска (9).
11. Система по п.1, отличающаяся тем, что для эндопротезов (9, 9 ) межпозвонковых дисков предусмотрены разные размеры со скользящими ядрами (93, 93 ) разной толщины.
12. Система по п.1, отличающаяся тем, что в зоне зажима предусмотрен блок (61 ) с упорной поверхностью (62) для контакта с эндопротезом межпозвонкового диска, который связан с деталью, воспринимающей силу, воздействующую на эндопротез (9) межпозвонкового диска при его установке.
13. Система по п.12, отличающаяся тем, что блок (61 ) расположен неподвижно на детали (22) зажима.
14. Система по п.13, отличающаяся тем, что блок (61 ) закреплен сквозным винтом (68).
15. Система по п.13, отличающаяся тем, что блок (61 ) закреплен зажимным винтом (66).
16. Система по п.12, отличающаяся тем, что на блоке (61 ) расположен стержень (71) с рукояткой (72) в задней области детали (21) рукоятки.
17. Система по п.16, отличающаяся тем, что рукоятка (72) выполнена в виде ударной головки (76).
18. Система по п.12, отличающаяся тем, что блок (61 ) расположен на вставке (53) зажима.
РИСУНКИ
|
|