|
|
(21), (22) Заявка: 2003117700/14, 16.11.2001
(24) Дата начала отсчета срока действия патента:
16.11.2001
(30) Конвенционный приоритет:
16.11.2000 US 60/249,175
(43) Дата публикации заявки: 10.02.2005
(46) Опубликовано: 10.11.2007
(56) Список документов, цитированных в отчете о поиске:
RU 94003897 A1, 10.09.1994. US 5868731 A, 09.02.1999. RU 2063180 C1, 10.07.1996. RU 2134005 С1, 27.07.1999. WO 98/47435 A1, 29.10.1998.
(85) Дата перевода заявки PCT на национальную фазу:
16.06.2003
(86) Заявка PCT:
US 01/44187 (16.11.2001)
(87) Публикация PCT:
WO 02/069782 (12.09.2002)
Адрес для переписки:
107078, Москва, Красноворотский пр-д, 3, стр.1, к.311, ООО Патентно-правовая фирма “Искона-II”, пат.пов. Е.А.Гавриловой, рег.№ 50
|
(72) Автор(ы):
ГРУЗДЕВ Валентин А. (RU), ЕФРЕМКИН Павел В. (US)
(73) Патентообладатель(и):
ИННОТЕХ США, ИНК. (US)
|
(54) ЛАЗЕРНЫЙ ПЕРФОРАТОР КОЖИ
(57) Реферат:
Изобретение относится к лазерным медицинским устройствам. Лазерный перфоратор для перфорирования кожи пациента и взятия крови на анализ включает источник лазерного излучения для генерирования исходящего лазерного луча, фокусирующее устройство для фокусирования исходящего лазерного луча на участке кожи, выбранном для перфорации, блок питания и устройство, фиксирующее кожу таким образом, что обеспечивается оптимальное положение кожи в момент перфорации. Лазерный перфоратор для перфорации кожи пациента может иметь также сменные захватывающие чаши, имеющие определенную длину, или оптическую деталь, выполненную с возможностью регулирования степени пропускания лазерного излучения, причем упомянутая оптическая деталь выполнена из материала, имеющего определенные характеристики передачи лазерного излучения, и устанавливается между участком кожи и источником лазерного излучения, или фиксирующее устройство выполнено с внутренней полостью, закрытым передним концом и отверстием на боковой стенке, выполненным таким образом, что участок кожи выступает через это отверстие во внутреннюю полость чаши. Использование изобретения позволяет снизить болевой эффект. 4 н. и 24 з.п. ф-лы, 21 ил.
ОБЛАСТЬ ТЕХНИКИ, К КОТОРОЙ ОТНОСИТСЯ ИЗОБРЕТЕНИЕ
Данное изобретение относится к лазерным медицинским устройствам, в частности к медицинским аппаратам бесконтактной перфорации кожи пациента для взятия образцов крови на анализ.
УРОВЕНЬ ТЕХНИКИ
Взятие образцов капиллярной крови является процессом получения образцов крови из подкожных капиллярных русел пациентов. Традиционные методы взятия небольших количеств крови у пациентов используют механическую перфорацию кожи с помощью острых приспособлений, таких как металлический ланцет или игла. Данная процедура имеет множество недостатков, в том числе – возможность заражения работников здравоохранения или в целом различных людей посредством приспособления, используемого для прокалывания кожи, а также дорогостоящая обработка и утилизация биологически опасных отходов.
Лазеры использовались в качестве эффективного высокоточного инструмента в различных хирургических процедурах. Среди всех источников лазерного излучения интерес для медицины представляют такие редкоземельные элементы как, например, минерал АИГ (алюмоиттриевый гранат) с примесями ионов эрбия (Er).
В качестве активной среды можно использовать вещества, генерирующие когерентное оптическое излучение, для генерирования различных длин волны лазерного луча. Эти вещества включают в себя, но не ограничиваются только ими, лазерные кристаллы и стекло на оксиде и фториде, легированных редкоземельными элементами. Такие кристаллы и стекло будут иметь примеси для фиксирования полученной в результате длины волны лазера.
Что касается лазеров, их системы обычно включают источник света для генерирования лазерного света и оптические компоненты для направления лазерного луча на цель. Оптический квантовый генератор может вырабатывать непрерывную или импульсную лазерную энергию. Доставка лазерной энергии на намеченный образец и последующее испарение части образца часто сопровождается выделением побочных продуктов, таких как дым, карбонизированные частицы и/или разбрызганные частицы образца. Эти побочные продукты ставят под угрозу последовательность работы лазерной системы, так как они могут отлагаться на объектной оптике системы и повреждать или изменять вследствие этого оптические компоненты, сокращая выходную мощность, искажая модель распространения энергии внутри света или лазерного луча, или другим образом влияя на ухудшение свойств системы.
Известны методы и устройства, приспособленные для перфорации кожной ткани пациента с помощью сфокусированного лазерного луча. Перфорация кожи наиболее эффективна, когда длина волны лазерной иррадиации и участок интенсивного поглощения оптического излучения живой тканью совпадают. Важно также предотвратить свертывание крови во время обработки живой ткани с помощью лазерного луча. Эта цель может быть достигнута в момент, когда перфорационное устройство использует лазер на алюмоиттриевом-эрбиевом гранате с длиной волны лазерного излучения 2,94 микрон и продолжительностью лазерного импульса между 50 и 500 микросекундами. В известных методах и устройствах перфорация происходит, когда лазерный луч сфокусирован на кожной ткани таким образом, что маленький кусочек кожи испаряется в месте фокуса лазерного луча.
Действие определенных медицинских приспособлений для бесконтактной перфорации кожи пациента при взятии образцов крови зачастую причиняет значительную боль и вызывает страх и тревогу у пациентов, ждущих ощущения боли. Хотя современные образцы устройств лазерной перфорации пытались устранить эту боль и тревогу, дальнейшее снижение дискомфорта пациента значительно увеличит полезность новой технологии взятия капиллярных образцов. В методе и аппарате, раскрытых в патенте США №5908416, была сделана попытка уменьшить боль, возникающую в процессе перфорации, с помощью подачи лазерного луча особой формы. Однако данный подход увеличивает сложность оптической системы, приводит к потерям энергии лазерного луча, делает сам аппарат более дорогостоящим и сложным для производства. В этом устройстве увеличение в компенсации лазерной энергии должно привести к более сильному отклонению лазерного луча, что в конечном счете приводит к ожогам кожного покрова на участках перфорации.
Таким образом, существует необходимость в устройстве для лазерной перфорации, которое позволит сократить боль и неприятные ощущения, возникающие у пациентов во время процедуры взятия образцов крови. Кроме того, существует необходимость в устройствах лазерной перфорации, защищенных от загрязнения продуктами испарения кожной ткани.
СУЩНОСТЬ ИЗОБРЕТЕНИЯ
Согласно одному аспекту изобретения заявляется лазерный перфоратор для прокалывания кожи пациента и взятия образцов крови на анализ. Перфоратор включает в себя источник лазерного излучения для генерирования лазерного луча, фокусирующее устройство для фокусирования созданного лазерного луча на участке кожи, выбранном для перфорации, направляющее устройство и блок источника питания. Для интенсификации кровообращения на участке кожи, выбранном для перфорации, используется сохраняющее устройство. Устройство для сохранения кожи состоит из значительной полой промежуточной области, ограниченной гибкими периферийными стенами. Промежуточная область расположена между размещенной впереди зацепляющей чашей и размещенной с обратной стороны базовой стенкой. Базовая деталь расположена в пределах значительной полой промежуточной области между зацепляющей чашей и базовой стенкой. Гибкая периферийная стенка деформируется для значительного сокращения размера промежуточной области, что приводит к увеличению давления внутри. Устройство сохранения кожи также включает в себя устройство регулировки давления для регулирования давления в пределах промежуточной области. После того как давление настроено, в промежуточной области образуется зона низкого давления для того, чтобы создать всасывание и втянуть хотя бы небольшую часть кожного участка внутрь зацепляющей чаши. Устройство регулировки давления может иметь форму клапана, а для возвращения деформированной промежуточной зоны в начальное недеформированное положение предусмотрена смещающая деталь.
Согласно другому аспекту изобретения задняя стенка зацепляющей чаши имеет отверстие, необходимое для прохождения лазерного луча. Оптическая мембрана, предотвращающая жидкостное соединение между зацепляющей чашей и внутренней частью перфоратора, содержащего в себе источник лазерного излучения, а также фокусирующее устройство могут иметь отверстие. Экран сделан из материала, прозрачного для лазерной иррадиации.
Согласно дальнейшим особенностям изобретения лазерная энергия, подаваемая на кожу пациента, может регулироваться с помощью оптической части, имеющей непостоянную толщину по всей длине. Оптическая часть сделана из материала, имеющего заранее установленные характеристики пропускания лазерного излучения. Оптическая часть размещена между участком кожи, подлежащим перфорированию, и источником лазера. Оптическая деталь может иметь клинообразную форму с капитальной цилиндрической внешней стенкой и может поворачиваться между источником лазерного излучения и фокусирующим устройством. В другом варианте изобретения оптическая деталь поворачивается перпендикулярно направлению лазерного луча.
Согласно еще одному аспекту изобретения заявляется устройство, предотвращающее непреднамеренное включение перфоратора. Это устройство включает в себя множество независимых захватывающих сегментов, равномерно расположенных вдоль продольной оси чаши. Наиболее удаленная от центра часть сегмента образует деталь переключателя, работающего в открытом и закрытом положении. В открытом положении периферийные части захватывающих сегментов расположены с промежутками от местоположения проводящей пластины на задней стенке зацепляющей чаши, для того чтобы отключить линию подачи электропитания источника лазерного излучения. В закрытом положении периферийные части захватывающих сегментов используют проводящую пластину, для того чтобы активировать линию подачи электропитания источника лазерного излучения. Устройство также может включать в себя скользящую деталь, передвигаемую внутри плоскости перпендикулярно направлению лазерного луча, так что в стандартном положении устройства скользящая деталь блокирует центральный проход перфоратора, предотвращая случайную подачу лазерного луча.
Зацепляющая чаша может иметь большую внутреннюю полость, которая выделяется по крайней мере боковой стенкой. Захватывающее отверстие может располагаться на боковой стенке, для того чтобы лазерный луч, поступающий во внутреннюю полую часть, был направлен по касательной на участок кожи, выступающий через захватывающее отверстие, для образования продолговатого надреза на перфорируемом участке кожи. В качестве альтернативы захватывающее отверстие, приспособленное для приема участка кожи, может быть расположено на передней части зацепляющей чаши, для того чтобы быть расположенным под углом к направлению лазерного луча, поступающего во внутреннюю область.
КРАТКОЕ ОПИСАНИЕ ЧЕРТЕЖЕЙ
На фиг.1 представлен лазерный перфоратор в соответствии с изобретением, включающий устройство сохранения кожи;
на фиг.1А изображена передняя часть перфоратора, имеющая всасывающее устройство;
на фиг.2 изображена зацепляющая чаша перфорационного устройства;
на фиг.2А изображен другой вариант зацепляющей чаши;
на фиг.3 изображен еще один вариант зацепляющей чаши;
на фиг.4 изображен еще один вариант зацепляющей чаши;
на фиг.5 представлен схематический чертеж, показывающий применение оптической детали, используемой в перфорационном устройстве;
на фиг.6 представлен схематический чертеж, показывающий еще одно применение оптической детали;
фиг.6А иллюстрирует структуру оптической детали;
на фиг.7 изображена передняя часть перфорационного устройства с оптической деталью;
на фиг.8 изображена модифицированная передняя часть перфорационного устройства;
на фиг.9 представлен вид в разрезе передней части перфорационного устройства, показывающий средства обеспечения безопасности изобретения;
на фиг.9А показан вид в разрезе, по линии сечения 9А-9А на фиг.9;
на фиг.9В показан вид в разрезе, по линии сечения 9В-9В на фиг.9;
на фиг.10 показан вид в разрезе еще одного средства обеспечения безопасности изобретения в развернутом виде;
на фиг.11 представлены средства обеспечения безопасности изобретения, показанные на фиг.10 в рабочем положении;
на фиг.12 изображено еще одно средство обеспечения безопасности изобретения;
на фиг.13 представлен схематический чертеж, показывающий различные положения фокусирующего устройства;
на фиг.13А представлена схема, изображающая рану, образованную на коже пациента, когда линза находится в положении А, как показано на фиг.13;
на фиг.13В представлена схема, изображающая рану, образованную на коже пациента, когда линза находится в положении В, как показано на фиг.13;
на фиг.13С представлена схема, изображающая рану, образованную на коже пациента, когда линза находится в положении С, как показано на фиг.13;
на фиг.14 изображено фокусирующее устройство изобретения;
на фиг.15 изображено еще одно фокусирующее устройство изобретения;
на фиг.16 изображено еще одно фокусирующее устройство изобретения;
на фиг.17 изображено рабочее положение аппарата лазерной перфорации;
на фиг.18 представлен аппарат, изображенный на фиг.17, с корпусом перед полным введением в принимающую полость основания;
фиг.19 показывает еще одну конструкцию изобретения – аппарата лазерной перфорации;
на фиг.20 показано используемое изогнутое устройство преобразователя, изображенного на фиг.19;
на фиг.21 показано еще одно используемое изогнутое устройство преобразователя, изображенного на фиг.20.
ОПИСАНИЕ ПРЕДПОЧТИТЕЛЬНОЙ КОНСТРУКЦИИ
Уменьшение боли, испытываемой пациентом во время процедуры перфорации кожи, является сложной задачей, которая требует понимания следующих факторов: безопасная и легкая для использования конструкция аппарата, выбор участка перфорации, предварительная обработка участка кожи перед процедурой перфорации и настройка интенсивности лазерного луча. Также необходимо определить оптимальный уровень энергии для каждого индивидуального пациента и обеспечить правильную фокусировку лазерного луча вне зоны перфорации.
Для минимизации боли во время перфорации кожи необходимо сократить концентрацию лазерной энергии в момент перфорации и минимизировать размер раны в кожной ткани пациента, поддерживая при этом количество выделяемой крови на постоянном уровне. В одной из конструкций изобретения это условие выполняется посредством стимуляции течения крови на участке кожи, выбранном для перфорации, для того чтобы малый прокол позволил собрать необходимое количество крови. Стимуляция потока крови на участке перфорации может быть достигнута путем касания этого участка кожи захватывающего отверстия на устройстве сохранения кожи.
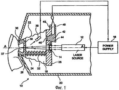
Перейдем к фиг.1, показывающей устройство лазерной перфорации кожи или лазерный перфоратор кожи 10, соединенный с устройством сохранения кожи, предназначенным для стимуляции потока крови на участке перфорации. Среди основных элементов лазерного перфоратора кожи, изображенного на фиг.1, можно выделить: источник лазерного излучения 12 импульсного типа, генерирующий лазерный луч; фокусирующее устройство 14 для фокусировки лазерного луча, для создания высокоэнергичного флюэнса на определенном участке поверхности кожи; блок источника питания 16 и устройство 18 для удержания кожи в выбранном месте перфорации в пределах зоны фокусировки лазерного луча.
Источник лазерного излучения 12 импульсного типа и устройство 18 удержания кожи обычно расположены внутри корпуса 20 перфоратора. Устройство 18 удержания кожи размещается на передней части корпуса вместе с источником лазерного излучения 12, расположенным позади него. Устройство 18 удержания кожи состоит из полой промежуточной области 22, имеющей гибкую внешнюю стенку 24, которая расположена между проксимальной 26 и наиболее удаленной от центра 28 частей. По крайней мере, одна пружина или смещающая деталь 32 расширяется в пределах промежуточной области между проксимальной и удаленной от центра частями. В конструкции, изображенной на фиг.2, проксимальная часть 26 удерживающего устройства имеет форму зацепляющей чаши, приспособленной для удержания участка кожи, подлежащего перфорированию, во время процедуры взятия крови.
Как лучше всего изображено на фигурах 2 и 2А, зацепляющая чаша 30 имеет форму усеченного конуса и выполняется с внутренней полостью 34. Для лучшего контактирования с участком кожи, подлежащим перфорированию, как, например, с пальцем пациента, на переднем конце 36 зацепляющей чаши имеется захватывающее отверстие 37, которое имеет округлые внутренние 38 и внешний 40 участки, размещенные в пределах плоскостей, расположенных с промежутками друг от друга и нормально по отношению к продольной оси зацепляющей чаши. Соотношение между диаметром внешнего участка 40 – (Dout) и диаметром внутреннего участка 38 – (Din) было решено сделать больше, чем 7:3 (Dout😀in>7:3). Расстояние между внутренней и внешней частями варьируется между 1,0 и 5,0 миллиметрами.
Разгрузочный клапан давления 42 размещается в пределах наиболее удаленной от центра части 28 устройства удержания кожи. Как лучше всего показано на фиг.2, разгрузочный клапан давления 42 состоит из полуконической регулирующей детали 44, применяемой для последовательного зацепления с приемным отверстием 46, имеющимся на стенке части, наиболее удаленной от центра части 28. Рычаг 48 выдается наружу от регулирующей детали 44. Переключатель 49 расположен между рычагом 48 и внешней стенкой удаленной от центра части 28. Хотя специфика дизайна разгрузочного клапана 42 обсуждалась в данном документе выше, необходимо помнить, что рассматривается также и использование других стандартных клапанов в изобретенном аппарате.
При работе применяется начальное давление, когда оператор прижимает передний кончик 36 зацепляющей чаши 30 к участку кожного покрова, предназначенному для перфорации. Это вызывает первоначальное вытекание крови на участок прокалывания. Ввиду гибкости внешней стенки 24 промежуточной области, если оператор прилагает большее усилие при прижимании зацепляющей чаши 30 к коже, проксимальная часть 26 становится ближе к удаленной от центра части 28, что приводит к значительному сокращению полой промежуточной области 22 и к соответствующему увеличению давления в ней. Это приводит к открытию разгрузочного клапана 42, и газ, находящийся под давлением внутри устройства удержания кожи, выпускается в атмосферу. Когда применение усилия при прижимании к коже пациента прекращается, гибкая стенка 24 промежуточной области, приводящаяся в движение смещающей деталью или пружиной 32, возвращается в исходное растянутое положение (см. фиг.1). Во время этого движения внутри полой промежуточной области 22 возникает зона низкого давления, что приводит к закрытию клапана 42. Это в свою очередь вызывает всасывание участка кожи, подлежащего перфорации, глубже в захватывающее отверстие 37 проксимальной части устройства. Это приводит к изгибанию кожи и дополнительному вытеканию крови на перфорируемый участок. При закрытии клапана 22 рычаг 48 переводится ближе к удаленной от центра части 28, тем самым активируя переключатель 49. Это действие включает блок источника питания 16 и подает питание к источнику лазерного излучения 12 для генерирования лазерного луча, перфорирующего кожу.
Перейдем к фиг.1А, изображающей другую конструкцию изобретения, в которой внутренний участок между зацепляющей чашей 30 и фокусирующим устройством 14 соединен посредством трубчатого выходного отверстия 11 с всасывающим устройством 13. Чтобы избежать загрязнения внутренней области аппарата, испарения кожи и другие нежелательные продукты, вырабатывающиеся в процессе процедуры взятия крови, удаляются и собираются в фильтре 23.
В конструкции, изображенной на фиг.1, для предотвращения случайного включения источника лазерного излучения 12 в полой промежуточной области 22 устройства удержания кожи можно установить фотографический датчик или сенсор электрической мощности 39. Включения блока источника питания 16 не произойдет до тех пор, пока свет проникает в полую промежуточную область 22 через захватывающее отверстие 37, и фиксируется сенсором 39. Таким образом можно предотвратить включение устройства на все время, пока захватывающее отверстие 37 расположено в отдалении от кожи пациента. Сенсор 39 позволяет блоку источника питания отправлять импульсы высокого напряжения на источник лазерного излучения 12 только в тех случаях, когда захватывающее отверстие закрыто участком кожи и внешний окружающий свет не может проникнуть в полую промежуточную область.
Сенсор 39 может также быть фоторезистором или фотодиодом, активирующимся в тех случаях, когда достигается заранее установленный уровень интенсивности освещения промежуточной области. В альтернативной конструкции функции сенсора может выполнять устройство, которое регистрирует нарушения электрической мощности, вызываемые прикасанием выбранного участка кожи к захватывающему отверстию 37. В конструкции, изображенной на фиг.1, светочувствительный датчик 39 является частью внутренней части промежуточной области устройства удержания кожи.
Однако необходимо отметить, что размещение датчика в других частях устройства лазерной перфорации входит в возможности данного изобретения.
Перейдем к фигурам 3 и 4, которые иллюстрируют альтернативные конструкции зацепляющих чаш, предоставляющих возможности для уменьшения болезненных ощущений, испытываемых пациентами во время перфорации кожи. Размер перфорации кожи можно регулировать с помощью изменения угла, под которым лазерный луч направлен на поверхность кожи. Продольные перфорации или разрезы обычно вызывают вытекание достаточного количества крови при наименьшей глубине прореза в кожной ткани. Так как концентрация нервных окончаний ниже у поверхности кожи, данная технология обычно причиняет меньше боли во время взятия крови на анализ.
В конструкции, изображенной на фиг.3, зацепляющая чаша 50 имеет форму вытянутой конусообразной детали с закрытым передним концом и внутренней полостью. Продолговатое захватывающее отверстие 57 выдается на боковой стенке зацепляющей чаши 50 и находится на некотором расстоянии от ее продольной оси. При прикладывании пальца либо другой поверхности кожи пациента, предназначенной для перфорации, к продолговатому захватывающему отверстию 57 только ограниченная часть поверхности кожи будет выдаваться через отверстие во внутреннюю полость. Таким образом, между кожей и отверстием образуется продолговатая область захвата. Как показано на фиг.3, лазерный луч по касательной направляется на кожу, выступающую во внутреннюю полость чаши. В результате создается продольно вытянутый разрез, имеющий ограниченную глубину проникания в кожную ткань.
В конструкции, изображенной на фиг.4, внутренняя и внешняя части захватывающего отверстия 57 перпендикулярны направлению лазерного луча и размещены под углом, другим по сравнению с обычным, относительно продольной оси зацепляющей чаши. Конкретнее, плоскости внутренней и внешней областей находятся под углом по отношению к направлению лазерного луча. Это устройство обычно имеет участок захвата овальной формы между кожей и захватывающим отверстием 57. Таким образом, на конструкции, изображенной на фиг.4, лазерный луч подается на участок перфорируемой кожи под углом, для того чтобы образовать удлиненный разрез, который простирается около поверхности кожи.
Как лучше всего изображено на фиг.4, для быстрого визуального и/или количественного анализа крови на внешней стороне захватывающего отверстия 57 может иметься одноразовая тестовая полоска.
В изобретении зацепляющая чаша может быть неотъемлемой частью лазерного перфоратора кожи в общем и/или устройства удержания кожи, в частности. В качестве альтернативы захватывающая чаша может быть одноразовым предметом, снимаемым с перфорационного устройства. В настоящем случае захватывающая чаша может быть использована как разовая тара для сбора полученных образцов крови. Пример подобной одноразовой захватывающей чаши 15 показан на фиг.2А. На самом деле образцы крови собираются внутри полой области 34 захватывающей чаши, которая расположена на обратной стороне передней части захватывающего отверстия 37. Для того чтобы облегчить визуальную оценку собранной крови, можно сделать боковую стенку 17 захватывающей чаши из прозрачного материала. Внутренняя поверхность 19 боковой стенки контейнера может быть хотя бы частично покрыта слоем, показывающим присутствие сахара в крови, уровень холестерола, и т.п. во время быстрого анализа крови. Для того, чтобы облегчить работу с устройством для оператора, внешнюю сторону боковой стенки аппарата можно хотя бы частично покрыть нескользким материалом.
Для того чтобы нейтрализовать неприятный запах и защитить детали перфорационного устройства от загрязнения результатами испарения кожи, внутреннюю поверхность 19 захватывающей чаши можно покрыть слоем абсорбирующего материала. Примером такого материала является активированный уголь.
Известно, что толщина кожи и ее способность отдавать кровь может значительно варьироваться у разных пациентов. Также известно, что нужна большая энергия лазера для перфорации толстой кожи по сравнению с мягкой, тонкой кожей пациента. Когда при взятии крови на анализ применяется лазерная энергия одинаковой концентрации ко всем пациентам без разбора, лица, имеющие мягкую кожу, без необходимости обычно терпят более сильную боль. Настройка концентрации лазерной энергии на минимальные уровни, требуемые для перфорации кожи, является важной предпосылкой сокращения боли, которую терпят пациенты. Прототипы лазерных перфораторов кожи предоставляют различные электронные устройства, способные настраивать подачу энергии для питания источников лазерного излучения и регулировать уровень энергии, подаваемый лазерным лучом на кожу пациента. Подобные электронные устройства обычно являются усложненными, но в то же время не совсем надежными.
Обратимся к фигурам 5, 6 и 6А, которые иллюстрируют дальнейшие конструкции изобретения, включая оптическую деталь 27, имеющую изменяемую толщину. Оптическая деталь обычно размещается между кожей пациента и источником лазерного излучения 12. Оптическая деталь 27 также может размещаться между кожей пациента и фокусирующим устройством 14 или между фокусирующим устройством 14 и источником лазерного излучения 12. Оптическая деталь 27 имеет клинообразную форму и сделана из материала, имеющего заданные характеристики пропускания при требуемой длине волны лазерной иррадиации. Как показано на фиг.6А, оптическая деталь может быть сделана из цилиндрического тела, разрезанного по плоскости или плоскостям, расположенным под углом относительно его продольной оси. Обычно тело оптической детали состоит из цилиндрической внешней поверхности 29 и первого 31 и второго 33 оснований, расположенных под углом друг у другу. В качестве альтернативы одно из оснований может быть закреплено перпендикулярно относительно продольной оси оптической детали. Другие альтернативные конструкции оптической детали также входят в возможности данного изобретения. Как показано на фиг.5, лазерная энергия, подаваемая на кожу пациента, может регулироваться, когда оптическая деталь 27 перемещается поперек направления лазерного луча. В другой конструкции (см. фиг.6) регулирование лазерной энергии можно получить, когда продольная ось 35 оптической детали расположена на некотором отдалении от лазерного луча и параллельна его направлению, а оптическая деталь 27 вращается вокруг продольной оси.
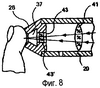
Обратимся к фиг.7, изображающей часть лазерного перфоратора кожи с захватывающей чашей 26, которая образует неотъемлемую часть корпуса 20. В данном устройстве местоположение фокусной точки лазерного луча зафиксировано в области захвата, между захватывающим отверстием 37 чаши и участком кожи, предназначенным для перфорирования. Захватывающая чаша имеет регулирующее устройство 39, расположенное на передней части фокусирующего устройства 41. Регулирующее устройство состоит из принимающей ниши 43 и оптической детали 27. Как уже обсуждалось выше, оптическая деталь 27 может иметь конусообразную форму с цилиндрической внешней поверхностью. Оптическая деталь может вращаться вокруг продольной оси и выступать во внутреннюю полость захватывающей чаши через принимающую нишу 43, проделанную внутри ее боковой стенки. В конструкции, изображенной на фиг.7, ось вращения оптической детали 27 параллельна продольной оси корпуса 20. Для того, чтобы настроить уровень энергии лазерного луча, оптическая деталь 27 поворачивается так, чтобы подставить части оптической детали, имеющие разную толщину, под лазерный луч. В этом отношении, когда для перфорации толстой кожи необходим более высокий уровень энергии, та часть оптической детали 27, которая является более тонкой, подставляется под лазерный луч, и наоборот. Оптическая деталь 27 также предотвращает загрязнение внутренней части перфорационного устройства, включая фокусирующее устройство, продуктами испарения кожи.
Как лучше всего показано на фиг.8, захватывающая чаша включает в себя оптическую мембрану 43 , сделанную из материала, имеющего заданные характеристики пропускания на необходимом уровне иррадиации. Эта мембрана 43 имеет установленную толщину и может сокращать энергию лазера, проходящую через нее, до заданного уровня. Такое устройство позволяет выбирать оптимальный уровень лазерной энергии, подаваемой на участки кожи, посредством выбора сменной захватывающей чаши, имеющей оптимальную толщину мембраны 43 .
Заднее отверстие захватывающей чаши может иметь изменяемый внутренний диаметр, который обычно не должен превышать размер внешнего периметра лазерного луча. Посредством выбора размера этого внутреннего отверстия 43 в соответствии с нуждами определенного пациента можно настраивать концентрацию лазерной энергии в месте перфорации.
Хотя при описании данных выше конструкций устройства для процедуры перфорации использовался палец пациента, необходимо отметить, что для процедуры перфорации могут использоваться участки кожи на других частях тела, кроме пальца.
Обратимся к фигурам 9, 9А и 9В, которые показывают устройство для изобретения, используемое для предотвращения случайного включения лазерного перфоратора. В данной конструкции захватывающая чаша 130 работает как переключатель, который может подключать или отключать источник питания от источника лазерного излучения. Чаша 130 состоит из основания 122 и множества захватывающих сегментов 124. Основание имеет внутреннюю полость 126, которая вытянута вперед из задней стенки 128 и используется для последовательного приема множества захватывающих сегментов. Хотя может использоваться любое умеренное количество сегментов, в конструкции, изображенной на фиг.9, захватывающая чаша 130 имеет четыре сегмента, симметрично расположенных вдоль ее продольной оси. Каждый захватывающий сегмент состоит, по крайней мере, из передней части 132, используемой для захвата кожи пациента, и задней части 134, используемой для скользящего перемещения во внутреннюю полость 126. Задняя часть 134 каждого сегмента имеет захватывающий элемент или контакт 136, который выдается из него и используется для присоединения к соответствующим отверстиям 138 на проводящей пластине, связанной с задней стенкой 128 основания. В нажатом положении каждый сегмент 124 скользит по внутренней полости 126 по продольной оси чаши и независимо от остальных сегментов. Смещающая деталь или пружина 140 размещается между задним концом каждого сегмента и задней стенкой чаши. Как показано на фиг.9, когда кожа только касается передних частей 132 и на захватывающие сегменты не оказывает значительного давления, направленного внутрь, сопротивление смещающей детали или пружин 140 достаточно, для того чтобы удерживать задние части 134 сегментов, включая контакты или захватывающие элементы 136, отдельно от отверстий 138 на проводящей пластине. При этом условии электрическая линия, подающая питание от источника питания на источник лазерного излучения, отключена. Источник лазерного излучения включается только в том случае, когда каждый захватывающий сегмент плотно прижат к коже, так что задняя часть 134, включая контакт 136 каждого сегмента, двигается во внутренней полости, и каждый выступ или контакт 136 касается соответствующих отверстий 138. В качестве альтернативы захватывающая чаша может быть не содержащей полостей единичной деталью, которую нельзя разделить на отдельные захватывающие сегменты.
Обратимся к фигурам 10 и 11, которые показывают другую конструкцию захватывающей чаши изобретения, которая состоит из детали основания 150, имеющей внутреннюю полость 152 и удлиненную внешнюю деталь 154, телескопически размещенную внутри внутренней полости детали основания. Центральное удлиненное отверстие 156 простирается через всю длину внешней детали 154 от захватывающей ниши 158 и кромки 160, предоставленной на ее части, наиболее удаленной от центра. Захватывающая ниша 158 имеет специальную форму, для того чтобы захватывать участок кожи, как, например, на пальце пациента, предназначенный для перфорирования. Пружина или смещающая деталь 162 расположена во внутренней полости между кромкой 160 и задней стенкой 164 детали основания. Фокусная точка лазерного луча зафиксирована на передней части детали основания. В вытянутом положении (см. фиг.10) внешняя деталь 154, включающая захватывающую нишу 158, выдается наружу от внутренней полости 152 детали основания. Для того чтобы запустить процесс перфорации, участок кожи, предназначенный для перфорации, помещается в захватывающую нишу 158. Затем затягивающая внутрь сила оказывает давление на внешнюю деталь 154 для того, чтобы подавить сопротивление смещающей детали 162, которая вызывает перемещение внешней детали 154 на полость 152. Когда внешняя деталь 154 достигает погруженного положения внутри детали основания (как показано на фиг.11), выбранный участок кожи оказывается в точке фокуса лазерного луча, что вызывает его мгновенную перфорацию. Для дополнительной безопасности внутренняя поверхность центрального отверстия 156 внешней детали может быть покрыта материалом 153, который имеет высокую степень поглощения длины волны лазерной иррадиации. В конструкции, показанной на фигурах 10 и 11, перфорация не будет происходить до тех пор, пока внешняя деталь не будет плотно прижата и не переместится в погруженное положение, так что участок кожи, предназначенный для перфорации, находится в зафиксированном положении в точке фокуса лазерного луча.
Другое устройство, предназначенное для предотвращения случайного включения лазерного перфоратора кожи, изображено на фиг.12. Конструкция этого устройства схожа с конструкцией устройства, описанного выше, в отношении фиг.9. Однако в конструкции, изображенной на фиг.12, захватывающая чаша 180 имеет прорезь 188, расположенную в пределах пластины, параллельной задней стенке 182 части основания. Скользящая деталь 185, имеющая отверстие 181, предназначена для совмещения с прорезью. Смещающая деталь 187 расположена между внутренней частью прорези 188 и скользящей деталью 185. В стандартном вытянутом положении (показанном на фиг.12 непрерывными линиями) скользящая деталь выдается из прорези. При этом условии отверстие 185 перемещается в сторону, так что основной проход захватывающей чаши блокируется сплошной частью скользящей детали 185. В этом случае перемещение вниз захватывающей чаши 180 предотвращается выступающей частью скользящей детали 185. Таким образом предотвращается случайный выброс иррадиации лазерного луча. Для того чтобы выполнить перфорацию кожи, оператор вжимает внутрь выступающую часть скользящей детали, так чтобы отверстие 185 совпало с основным проходом и вся захватывающая чаша могла перемещаться вниз, для того чтобы активировать контакт, как было уже описано в отношении конструкции, изображенной на фиг.9.
Для того чтобы облегчить данную операцию, деталь 57, так же как и другие детали чаши 26, может быть покрыта нескользящим материалом. Для дополнительной безопасности часть внутренней поверхности чаши 26 можно покрыть материалом, имеющим высокую способность абсорбировать лазерное излучение (см. элемент 153 на фиг.10). Такое устройство не позволяет активировать лазер, если чаша не прижата плотно к участку кожи, предназначенному для перфорирования, а случайно прижата кем-нибудь, например ребенком.
Еще одна конструкция изобретения представляет собой устройство перфорации кожи, которое имеет фокусирующую систему, позволяющую пользователю фокусировать лазерный луч на заданную глубину кожной ткани, подвергаемой перфорированию. Как будет подробно обсуждаться ниже, такое нацеленное фокусирование лазерного луча в кожной ткани является важным условием для уменьшения боли в процессе перфорации.
В устройстве, изображенном на фиг.13, участок кожи, предназначенный для перфорирования, зафиксирован на заданном расстоянии от источника лазерного излучения и фокусирующего устройства, которое включает в себя фокусирующую линзу 170, которая перемещается вдоль оси лазерного луча. Фиг.13 в этом отношении является схематическим чертежом, который показывает три положения А, В и С фокусирующего устройства или линзы 170 и его движение вдоль продольной оси лазерного луча и три соответствующих местоположения фокусной точки лазерного луча a, b и с. Эти изображенные положения соответствуют местам образования ранок, что будет обсуждаться ниже в отношении фигур 13А, 13В и 13С. В положении А,а (см. фиг.13) фокусная точка лазерного луча расположена на заданной глубине в кожной ткани. В положении В,b лазерный луч сфокусирован на поверхности кожи, в то время как в положении С,с фокусная точка разделена промежутком и находится на расстоянии от поверхности кожи.
Как было указано в данном документе выше, фигуры 13А, 13В и 13С являются схематическими изображениями ран на коже пациента, нанесенных соответствующими положениями фокусирующей линзы. Фиг.13А показывает рану, получаемую при фокусировании лазерного луча внутри ткани и на расстоянии от поверхности кожи; Фиг.13В показывает рану, получаемую при фокусировании лазерного луча на поверхности кожи; в то время как рана, изображенная на фиг.13С, получена фокусированием лазерного луча поверх поверхности кожи.
Для того чтобы минимизировать ощущение боли, испытываемой пациентом во время процедуры перфорации, желательно фокусировать лазерный луч на заданном расстоянии внутри кожной ткани (см. фиг.13А), а не на поверхности и не на расстоянии от поверхности кожи (как показано на фигурах 13В и 13С). Это необходимо потому, что во время перфорации лазерный луч испаряет живую ткань и генерирует высокоскоростной поток газа под давлением, который вырывается с места перфорирования. При расположении фокусной точки лазерного луча на заданной глубине внутри кожной ткани (см. фиг.13А), полученная рана имеет коническую форму, и вершина раны расположена внутри кожной ткани, в то время как широкое отверстие расположено на поверхности кожи. Такая форма раны облегчает выход газов и результатов испарения кожи, не вызывая ненужного давления и раздражения расположенных вблизи нервных окончаний. Оптимальная глубина точки фокуса зависит от состояния кожи пациента и от необходимого количества крови. В случаях педиатрического применения или когда для анализа необходимо небольшое количество крови, например для анализа уровня глюкозы у диабетических больных, рекомендованная глубина точки фокуса составляет от 0,12 миллиметров (окончание эпидермиса) до 1,5 миллиметров. Если для анализа требуется большее количество крови, точка фокуса должна быть расположена на расстоянии 1,5-4,0 миллиметра от поверхности кожи. Для того чтобы испарить дважды заштрихованный участок кожи, изображенный на фиг.13А, в то время как точка фокуса лазерного луча находится на глубине от 0,12 до 4,0 миллиметров в кожной ткани, диаметр лазерного луча должен составлять 1,0-3,0 миллиметра.
В конструкции, изображенной на фиг.13В, во время процедуры перфорации лазерный луч сфокусирован на поверхности кожи. В этом случае лазерный луч выжигает небольшое отверстие на поверхности кожи. Полученная рана имеет коническую форму, причем широкое основание конуса расположено в глубине кожной ткани, а маленькое отверстие – на поверхности. Газы и результаты внутреннего испарения ткани имеют ограниченное количество времени для выхода сквозь это маленькое отверстие. Это приводит к тому, что в ране скапливаются продукты испарения под высоким давлением, что причиняет сильную боль и кровоизлияние (кровоподтек) на окружающей ткани.
В случае, изображенном на фиг.13С, точка фокуса лазерного луча находится на расстоянии от и располагается внутри поверхности кожи. Это приводит к образованию раны, имеющей широкое основание внутри кожной ткани и значительно более узкое отверстие на поверхности кожи. Газы и продукты испарения дважды заштрихованного участка кожи не могут полностью улетучиться сквозь относительно маленькое отверстие на поверхности кожи. Это неизбежно приводит к значительному давлению, которое оказывается на внутренние ткани кожи, что причиняет сильную боль. Как показано на фиг.13С, луч достигает поверхности кожи нефокусированным и затем значительно расширяется. Так как участок кожи, который испаряется, увеличивается в размерах, уровень концентрации лазерной энергии должен быть увеличен, что соответственно вызовет большее ощущение боли. Если необходимо взять большее количество крови, боль возрастает пропорционально росту уровня концентрации применяемой энергии лазера.
Оптимальной фокусировки лазерного луча можно также достичь посредством использования сменных захватывающих чашек, что уже обсуждалось в отношении к фигурам 1, 2, 3 и 4. В устройстве лазерной перфорации, имеющем заданное расположение точки фокуса лазерного луча, правильное расположение участка перфорируемой кожи можно получить с помощью выбора подходящего захватывающего устройства, имеющего необходимую длину. Таким образом, посредством выбора более короткой или более длинной захватывающей чаши можно поместить захватывающую часть фиксирующей чаши и участок кожи, касающийся чаши, таким образом, чтобы точка фокуса расположилась на заданной глубине внутри кожного покрова (см. фиг.15). Поэтому необходимую фокусировку можно достичь для каждого пациента, с учетом также участков кожи, которые можно выбрать на любой части человеческой кожи.
Фигуры 14, 15 и 17 показывают альтернативные способы фокусирования лазерного луча на оптимальной глубине посредством управляемого размещения участка кожи на заданном расстоянии от фокусирующего устройства. В устройстве, изображенном на фиг.14, после того, как выпускается луч света видимой части спектра с низкой интенсивностью из источника 180 и по касательной воздействует на участок кожи, подлежащий перфорации, он регистрируется приемником 182. Это запускает электрический сигнал, направленный на блок источника питания 184, источник лазерного излучения 186 активируется, выпуская лазерный луч, который направлен на участок взаимодействия между световым лучом и кожей. Таким образом, перфорация кожи происходит мгновенно.
В конструкции, изображенной на фиг.15, луч света видимой части спектра с низкой интенсивностью выпускается из источника 180 под углом к поверхности кожи. После отражения от поверхности кожи он регистрируется приемником 182, который генерирует электрический сигнал, направленный на источник питания. Таким образом питается источник лазерного излучения 186, и лазерный луч выпускается на участок кожи, принявший перед этим луч света видимой части спектра.
Согласно фиг.16 сохранение необходимого расстояния между участком кожи и перфорационным устройством контролируется с помощью сенсора мощности. Таким образом, когда фокусирующая система установлена на необходимом расстоянии от поверхности кожи, сенсор мощности будет активирован, и будет генерироваться электрический сигнал для питания лазера.
Обратимся к фигурам 17 и 18, которые показывают компактный лазерный перфоратор 200, имеющий облегченный портативный корпус 202, который отделяется от основания источника питания 204. Это основание предназначено для зарядки зарядного блока питания 210, размещенного внутри корпуса, а также для хранения аппарата лазерной перфорации, когда он не используется. Полость 228 выступает вниз из верхней части основания и имеет подходящую форму и размер для вмещения хотя бы части портативного перфоратора 202.
Как отчетливо показано на фигурах 17 и 18, источник лазерного излучения 210 и перезаряжаемый блок питания, имеющий форму резервуара-конденсатора 212, размещены внутри портативного корпуса 202. Электрический преобразователь 231 и трансформатор 232 размещены внутри корпуса питания. Резервуар-конденсатор имеет ряд контактов 235, который соответствует контактам 233, находящимся внутри портативного корпуса. Принимающая полость 228 имеет согласующиеся контакты 234. Для того чтобы зарядить резервуар-конденсатор, портативный корпус 202, содержащий источник лазерного излучения, помещается в принимающую полость 208, для того чтобы контакты 233 корпуса и контакты 234 полости совпали. Из соображений безопасности, как показано на фиг.18, эти контакты в правильном положении имеют нулевой потенциал и не соединяются с электрической цепью перфоратора. Когда корпус помещается в принимающую полость 208 (см. фиг.17), контакты 233 и 234 соединяются с контактами 235 и 236. Таким образом, резервуар-конденсатор и источник лазерного излучения соединяются с блоком электропитания. В описанном выше устройстве нет открытого доступа к контактам 235 и 236. Поэтому, как показано на фиг.18, когда корпус 202 вынимается из принимающей полости 208, контакты 235 перемещаются внутрь, и соединение между этими контактами и внешней стороной корпуса отсутствует. Подобным же образом в этом положении контакты 236 перемещаются внутрь основания блока питания, и прямого соединения между этими контактами и принимающей полостью нет. После завершения установки корпуса 202 внутри принимающей полости 208 резервуар-конденсатор 212 заряжается до необходимого уровня. Затем корпус можно вынуть из основания блока питания, а источник лазерного излучения будет активироваться нажатием кнопки 237.
Обратимся к фигурам 19-21, которые показывают еще одну конструкцию лазерного перфоратора кожи. Так же, как и конструкции, изображенные на фигурах 17 и 18, устройство состоит из двух независимых частей: портативного корпуса 252 и основания блока питания 254. В этой конструкции трансформатор 261 поделен на две отдельные части. Первая часть содержит первичную обмотку 258, и пульт управления 231 расположен на внутренней стороне блока питания 254. Вторая часть трансформатора, включая вторичную обмотку 259, расположена в портативном корпусе 252. Среди других основных элементов, расположенных в портативном корпусе, имеются: перезаряжаемый блок питания в виде резервуара-конденсатора 212, электрический преобразователь 267 и источник лазерного излучения 210.
Принимающая полость выступает вниз из верхней части основания блока питания. Полость имеет подходящую форму и размер для того, чтобы по крайней мере нижняя часть портативного корпуса вошла в нее. Внутренняя часть основания блока питания, окружающая принимающую полость, определяет отделение, предназначенное для размещения сборки первичной обмотки 258. Первичная обмотка может быть намотана вокруг электрически изолированной, но магнитно-проводящей катушки.
Данная конструкция устраняет необходимость открытого электрического контакта, что схоже с контактами 33, 34 на фигурах 17 и 18, и повышает электрическую безопасность перфоратора. Для того чтобы еще больше повысить коэффициент трансформации трансформатора 261, может быть использован блокирующий механизм 241 для фиксирования портативного корпуса в заданном положении внутри принимающей полости основания источника питания. Для зарядки резервуара-конденсатора портативный корпус помещается в принимающую полость основания блока питания (см. фиг.8), для того чтобы соединить первичную обмотку с источником питания переменного тока и предоставить необходимое напряжение внутри вторичной обмотки, расположенной в корпусе. Когда напряжение внутри обмотки достигает уровня, установленного блоком управления (что соответствует полной зарядке резервуара-конденсатора), процесс зарядки прерывается. В этот момент перфоратор готов к использованию и может быть вынут из принимающей полости. Вторичная обмотка может быть расположена по одной линии с первичной обмоткой, как показано на фиг.20, или параллельно первичной обмотке, как показано на фиг.21. Кроме того, вторичная обмотка может быть бессердечниковой или иметь сердцевину. Такой дизайн с разделенными обмотками трансформатора исключает необходимость прямого открытого контакта между корпусом и основанием блока питания. Это устройство обеспечивает безопасную работу и зарядку «беспроводного» лазерного излучателя.
Формула изобретения
1. Лазерный перфоратор для перфорирования кожи пациента и взятия крови на анализ, включающий источник лазерного излучения для генерирования исходящего лазерного луча, фокусирующее устройство для фокусирования исходящего лазерного луча на участке кожи, выбранном для перфорации, блок питания и устройство, фиксирующее кожу таким образом, что обеспечивается оптимальное положение кожи в момент перфорации, при этом устройство, фиксирующее кожу, имеет полую промежуточную область с податливой стенкой для регулирования объема внутри упомянутой внутренней области и устройство для настройки давления в полой промежуточной области за счет выпуска газа в атмосферу.
2. Лазерный перфоратор по п.1, в котором фиксирующее кожу устройство выполнено имеющим две стенки одна напротив другой и податливую стенку, являющуюся периферийной.
3. Лазерный перфоратор по п.2, в котором упомянутая периферийная стенка является гибкой периферийной стенкой, а упомянутые две стенки формируют промежуточную область, расположенную между переднерасположенной захватывающей чашей и заднерасположенной основной стенкой.
4. Лазерный перфоратор по п.3, в котором упомянутая промежуточная область включает смещающую деталь, расположенную между чашей и основной стенкой.
5. Лазерный перфоратор по п.4, в котором смещающая деталь формирует часть одной из стенок.
6. Лазерный перфоратор по п.3, в котором после деформации, по крайней мере, одной из стенок образуется зона с низким давлением внутри, по существу, полой промежуточной области, так чтобы вызвать всасывание, втягивающее, по крайней мере, часть участка кожи в захватывающую чашу.
7. Лазерный перфоратор по п.3, в котором основная стенка выполнена с отверстием, предназначенным для прохода лазерного луча, при этом отверстие включает экран, предотвращающий жидкостное сообщение между захватывающей чашей и внутренней частью перфоратора, содержащего источник лазерного излучения и фокусирующее устройство, при этом экран выполнен из материала, прозрачного для лазерного излучения.
8. Лазерный перфоратор по п.3, в котором наружная стенка внутренней области выполнена из прозрачного материала, а внутренняя поверхность внутренней области выполнена имеющей тестирующее устройство, предназначенное для анализа образцов крови.
9. Лазерный перфоратор по п.3, в котором захватывающая чаша расширена, по существу, полой внутренней областью, предназначенной для сбора образцов крови.
10. Лазерный перфоратор по п.3, в котором захватывающая чаша установлена на переднем конце перфоратора, при этом захватывающая чаша выполнена с захватывающим отверстием, имеющим внешний и внутренний диаметры, в котором отношение внешнего диаметра к внутреннему составляет около 7:3.
11. Лазерный перфоратор по п.2, в котором фиксирующее кожу устройство включает устройство для активации блока питания.
12. Лазерный перфоратор по п.1, в котором устройство для настройки давления в полой области выполнено с возможностью регулирования давления.
13. Лазерный перфоратор по п.12, в котором устройство для настройки давления в полой области, выполненное с возможностью регулирования давления, представляет собой разгрузочный клапан давления, включающий полуконическую регулирующую деталь.
14. Лазерный перфоратор для перфорации кожи пациента, включающий источник лазерного излучения для генерирования исходящего лазерного луча, фокусирующее устройство для фокусирования исходящего лазерного луча на участке кожи, выбранном для перфорации, блок питания и сменные захватывающие чаши, имеющие определенную длину, при этом перфоратор выполнен с возможностью настройки на определенное расстояние и имеет активирующее устройство, предназначенное для активирования блока питания, когда участок кожи, выбранный для перфорации, находится на указанном определенном расстоянии от фокусирующего устройства, причем упомянутое определенное расстояние является расстоянием между фокусирующим устройством и точкой фокуса исходящего лазерного луча и достигается подбором упомянутых сменных захватывающих чаш, имеющих определенную длину.
15. Лазерный перфоратор по п.14, в котором точка фокуса расположена на вспомогательном световом луче, распространяющемся между вспомогательным источником света и приемником так, чтобы активирующее устройство активировало подачу питания, когда участок кожи, выбранный для перфорации, блокировал вспомогательный световой луч.
16. Лазерный перфоратор по п.14, в котором точка фокуса находится на вспомогательном световом луче, распространяющемся между вспомогательным источником света и приемником так, чтобы активация подачи питания активирующим устройством происходила, когда участок кожи, выбранный для перфорации, располагался таким образом, чтобы вспомогательный луч света отражался от участка кожи и попадал на приемник.
17. Лазерный перфоратор по п.14, в котором упомянутое определенное расстояние между фокусирующим устройством и точкой фокуса исходящего лазерного луча, позиционирующего точку фокуса, управляется устройством предотвращения случайного включения источника лазерного излучения так, чтобы активация подачи питания активирующим устройством осуществлялась, когда участок кожи, выбранный для перфорации, располагался в непосредственной близости к указанному устройству предотвращения, чтобы активизировать датчик этого устройства и генерировать соответствующий электрический сигнал.
18. Лазерный перфоратор по п.14, в котором упомянутое определенное расстояние распространяется в кожную ткань на глубину между 0,12 и 1,5 мм от поверхности кожи.
19. Лазерный перфоратор по п.14, в котором активирующее устройство активирует подачу питания, когда точка фокуса луча лазера расположена на определенной глубине внутри кожной ткани так, чтобы произведенная вырезка внутри ткани имела, по существу, коническую форму, имеющую основание, расположенное на поверхности кожи.
20. Лазерный перфоратор для перфорации кожи пациента, включающий источник лазерного излучения для генерирования исходящего лазерного луча, фокусирующее устройство для фокусирования исходящего лазерного луча на участке кожи, выбранном для перфорации, блок питания и оптическую деталь, выполненную с возможностью регулирования степени пропускания лазерного излучения, причем упомянутая оптическая деталь выполнена из материала, имеющего определенные характеристики передачи лазерного излучения, и устанавливается между участком кожи и источником лазерного излучения, посредством чего количество энергии, доставленной участку кожи исходящим лазерным лучом, регулируется перемещением оптической детали по отношению к исходящему лазерному лучу.
21. Лазерный перфоратор по п.20, в котором оптическая деталь имеет переменную толщину.
22. Лазерный перфоратор по п.20, в котором упомянутая оптическая деталь расположена между источником лазерного излучения и фокусирующим устройством.
23. Лазерный перфоратор по п.20, в котором упомянутая оптическая деталь расположена между фокусирующим устройством и участком кожи, выбранным для перфорации.
24. Лазерный перфоратор по п.21, в котором упомянутая оптическая деталь имеет клиновидную форму с, по существу, цилиндрической наружной стенкой, при этом упомянутая оптическая деталь установлена с возможностью вращения между источником лазерного излучения и фокусирующим элементом.
25. Лазерный перфоратор по п.21, в котором упомянутая оптическая деталь имеет клиновидную форму с, по существу, цилиндрической наружной стенкой и с двумя основаниями, причем упомянутая оптическая деталь имеет возможность перемещения поперечно направлению луча лазера между источником лазерного излучения и фокусирующим устройством.
26. Лазерный перфоратор по п.21, в котором упомянутая оптическая деталь имеет клиновидную форму с двумя основаниями, установленными под углом к продольной оси оптической детали, упомянутое при этом одно из оснований закреплено перпендикулярно относительно продольной оси оптической детали.
27. Лазерный перфоратор для перфорации кожи пациента, включающий источник лазерного излучения для генерирования исходящего лазерного луча, фокусирующее устройство для фокусирования исходящего лазерного луча на участке кожи, выбранном для перфорации, блок питания и фиксирующее кожу устройство для фиксации участка кожи, выбранного для перфорации, при этом упомянутое фиксирующее устройство выполнено с, по существу, внутренней полостью, закрытым передним концом и с отверстием на боковой стенке, выполненным таким образом, что участок кожи выступает через это отверстие во внутреннюю полость чаши, так что исходящий лазерный луч, проходящий полость, направлен по касательной выступающему участку кожи, облегчая образование удлиненной щели внутри участка кожи.
28. Лазерный перфоратор по п.27, в котором фиксирующее устройство включает удлиненную захватывающую чашу, устанавливаемую в переднюю часть перфоратора, и упомянутая по существу внутренняя полость определяется внутри удлиненной захватывающей чаши.
РИСУНКИ
|
|