|
(21), (22) Заявка: 2006109792/14, 27.03.2006
(24) Дата начала отсчета срока действия патента:
27.03.2006
(46) Опубликовано: 10.11.2007
(56) Список документов, цитированных в отчете о поиске:
SU 876121 А, 30.10.1981. SU 1454428 A1, 30.01.1989. SU 1713572 A1, 23.02.1992. US 6638281 B2, 28.10.2003. АНКИН Л.Н. и др. Травматология. – М.: МЕДпресс-информ, 2005 с.312-313.
Адрес для переписки:
675000, Амурская обл., г.Благовещенск, ул. Горького, 95, ГОУ ВПО АГМА Росздрава, ПИО
|
(72) Автор(ы):
Борозда Иван Викторович (RU), Воронин Николай Ильич (RU)
(73) Патентообладатель(и):
Государственное образовательное учреждение высшего профессионального образования Амурская государственная медицинская академия Росздрава (RU)
|
(54) ПРИЦЕЛЬНОЕ ПРИСПОСОБЛЕНИЕ ДЛЯ ОСТЕОСИНТЕЗА КРЕСТЦОВО-ПОДВЗДОШНОГО СОЧЛЕНЕНИЯ
(57) Реферат:
Изобретение относится к медицинской технике. Изобретение обеспечивает возможность проведения компрессирующих винтов для остеосинтеза крестцово-подвздошного сочленения в направлении в соответствии с индивидуальными анатомическими особенностями таза пациента. Прицельное приспособление содержит две взаимоперпендикулярные планки с регулирующими пазами, центральный болт с гайкой, соединяющие планки, упоры для задневерхних остей подвздошных костей и остистых отростков 1-го и 2-го крестцовых позвонков, имеющие возможность установки в регулирующие пазы, кондуктор для введения компрессирующих винтов. Упомянутый кондуктор состоит из изогнутой планки, регулирующего узла для изменения длины изогнутой планки и направляющей для введения компрессирующего винта. Изогнутая планка имеет возможность фиксации к центральному болту и к упору для задневерхней ости подвздошной кости со стороны разрыва крестцово-подвздошного сочленения. 1 ил.
Изобретение относится к медицинской технике и применяется для лечения больных с повреждениями таза.
Устройства аналогичного назначения авторам неизвестны.
Данное изобретение направлено для обеспечения возможности проведения компрессирующих винтов для остеосинтеза крестцово-подвздошного сочленения в направлении в соответствии с индивидуальными анатомическими особенностями таза пациента.
Технический результат – создание прицельного приспособления для остеосинтеза крестцово-подвздошного сочленения, которое обеспечивает возможность проведения компрессирующих винтов для остеосинтеза крестцово-подвздошного сочленения в направлении в соответствии с индивидуальными анатомическими особенностями таза пациента.
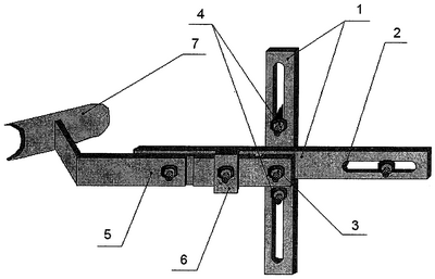
На чертеже представлен общий вид прицельного приспособления для остеосинтеза крестцово-подвздошного сочленения.
Приспособление содержит: 1, 2 – две взаимоперпендикулярные планки с расположенными в них регулирующими пазами, 3 – центральный болт с гайкой, соединяющий планки в центре, 4 – упоры для задневерхних остей подвздошных костей и остистых отростков 1-го и 2-го крестцовых позвонков, имеющие возможность установки в регулирующие пазы, кондуктор для введения компрессирующих винтов, состоящий из изогнутой планки 5, направляющей 7 для введения компрессирующего винта регулирующего узла 6.
Изогнутая планка имеет возможность фиксации к центральному болту и к упору для задневерхней ости подвздошной кости со стороны разрыва крестцово-подвздошного сочленения.
Приспособление работает следующим образом.
На операционном столе, под наркозом, в положении больного на здоровом боку, после обработки операционного поля производится вправление сочленяющихся поверхностей крестцово-подвздошного сочленения. В задневерхние ости подвздошных костей при помощи молотка, строго горизонтально, вводятся 2 упора (4). Такие же упоры вводятся в 1-й и 2-й остистые отростки крестцовых позвонков также строго в горизонтальной плоскости.
После этого на упорах монтируются две взаимоперпендикулярные планки (1) с регулирующими пазами (2), соединенные между собой центральным болтом и гайкой (3).
Затем монтируется кондуктор для введения компрессирующих винтов, для чего изогнутая планка (5) фиксируется одним концом к центральному болту (3), а другим – к упору (4), находящемуся в ости подвздошной кости со стороны разрыва крестцово-подвздошного сочленения.
Длина изогнутой планки изменяется регулирующим узлом (6) в соответствии с расстоянием, отмеченным упором в задневерхней ости подвздошной кости и центральным болтом с гайкой.
После чего по направляющей (7) в подвздошную кость и далее в крестец вводится компрессирующий винт и прицельное приспособление снимается.
Формула изобретения
Прицельное приспособление для проведения компрессирующих винтов для остеосинтеза крестцово-подвздошного сочленения, содержащее две взаимоперпендикулярные планки с регулирующими пазами, центральный болт с гайкой, соединяющие планки, упоры для задневерхних остей подвздошных костей и остистых отростков 1-го и 2-го крестцовых позвонков, имеющие возможность установки в регулирующие пазы, кондуктор для введения компрессирующих винтов, состоящий из изогнутой планки, регулирующего узла для изменения длины изогнутой планки и направляющей для введения компрессирующего винта, изогнутая планка имеет возможность фиксации к центральному болту и к упору для задневерхней ости подвздошной кости со стороны разрыва крестцово-подвздошного сочленения.
РИСУНКИ
MM4A – Досрочное прекращение действия патента СССР или патента Российской Федерации на изобретение из-за неуплаты в установленный срок пошлины за поддержание патента в силе
Дата прекращения действия патента: 28.03.2008
Извещение опубликовано: 10.11.2009 БИ: 31/2009
|