|
(21), (22) Заявка: 2006101771/14, 23.01.2006
(24) Дата начала отсчета срока действия патента:
23.01.2006
(46) Опубликовано: 10.11.2007
(56) Список документов, цитированных в отчете о поиске:
SU 1055499 А, 23.11.1983. SU 1676611 A1, 15.09.1991. RU 2085144 C1, 27.07.1997. RU 34078 U1, 27.11.2003. RU 2192198 C2, 10.11.2002. US 6716212 A, 06.04.2004. US 2002/0165543 A1, 07.11.2002. АНКИН Л.Н. и др. Травматология. – М.: МЕДпресс-информ, 2005 с.307, 308.
Адрес для переписки:
640014, г.Курган, ул. М. Ульяновой, 6, ФГУН “РНЦ “Восстановительная травматология и ортопедия” им. акад. Г.А. Илизарова Федерального агентства по ЗД и СР”, НОИС, пат.пов. Т.Н.Коваленко, рег.№ 296
|
(72) Автор(ы):
Шевцов Владимир Иванович (RU)
(73) Патентообладатель(и):
Федеральное государственное учреждение науки “Российский научный центр “Восстановительная травматология и ортопедия” имени академика Г.А. Илизарова Федерального агентства по здравоохранению и социальному развитию” (RU)
|
(54) ШАРНИРНЫЙ УЗЕЛ К КОМПРЕССИОННО-ДИСТРАКЦИОННОМУ АППАРАТУ
(57) Реферат:
Изобретение относится к медицине, а именно к ортопедии и травматологии. Изобретение обеспечивает контроль величины углового перемещения костных фрагментов, создание адекватных биологическим тканям усилий для их перемещения и обеспечение надежной самофиксации углового положения звеньев шарнирного узла. Шарнирный узел к компрессионно-дистракционному аппарату, содержит два звена, одно звено при этом выполнено в виде корпуса, в котором расположен червяк, а второе – выполнено в виде червячного колеса, которое расположено между ушками корпуса. На червячном колесе выполнена лыска. На валу червяка выполнен шестигранник под ключ. 4 ил.
Изобретение относится к области медицины в частности к ортопедии и травматологии, а именно к элементам аппаратов внешней чрескостной фиксации, предназначенных для фиксации костных отломков, при удлинении конечностей, устранении смещений, исправлении деформаций.
Известен шарнирный узел к компрессионно-дистракционному аппарату, содержащий два шарнирно связанных между собой звена и прижимную планку, обеспечивающую фиксацию углового положения звеньев (заявка №95117050, РФ. Опубл. 10.01.1998 г.).
Однако дозированное изменение пространственного положения костных фрагментов при использовании известного шарнирного узла требует монтажа дополнительных репозиционных узлов, что усложняет конструкцию аппарата и процесс управления им. Кроме того, фиксация углового положения звеньев, основанная на использовании сил трения, не достаточно надежна.
Известна червячная передача – механизм для передачи вращения между скрещивающимися валами посредством винта (червяка) и сопряженного с ним червячного колеса (Политехнический словарь. Изд. 3. – М. – Советская энциклопедия. – 1989. – С.595).
Однако без изобретательского творчества ее использование в компрессионно-дистракционных аппаратах невозможно.
Известен аппарат для хирургического лечения суставов, в котором механизм поворота выполнен в виде двух вилок, кинематически связанных между собой при помощи червячной передачи (а.с. №518214, СССР. Опубл. 25.06.1976 г.).
Однако он предназначен для использования в аппаратах для разработки суставов и не может быть использован в аппаратах типа Илизарова для коррекции оси сегмента конечности или его удлинения, а также для репозиции его костных фрагментов.
Известен, аппарат Илизарова для чрескостного остеосинтеза, содержащий шарнирный узел (фиг.12), состоящий из двух звеньев, выполненных в виде планки с фланцем, на торце которого выполнено резьбовое отверстие. Звенья связаны между собой болтом с гайкой, образующими ось вращения и обеспечивающими фиксацию углового положения звеньев шарнирного узла (а.с. №1055499, СССР. Опубл. 23.11.1983 г.).
Однако известный шарнирный узел при использовании в компоновках аппаратов для устранения угловых деформаций костей требует линейных и угловых замеров, а также выполнения геометрических расчетов при определении темпа дистракции по ведущему стержню, обеспечивающему требуемый темп углового перемещения опор аппарата. Кроме того, использование известного шарнирного узла в некоторых случаях не обеспечивает надежной жесткости фиксации его углового положения.
Задачей настоящего изобретения является возможность контроля величины углового перемещения костных фрагментов, создание адекватных биологическим тканям усилий для их перемещения и обеспечение надежной самофиксации углового положения звеньев шарнирного узла.
Поставленная задача решается тем, что в шарнирном узле к компрессионно-дистракционному аппарату, содержащем два звена, снабженных установочными резьбовыми отверстиями и связанных между собой осью, одно звено выполнено в виде корпуса, в котором расположен червяк, второе звено выполнено в виде червячного колеса, при этом последнее расположено между ушками, выполненными на корпусе, кроме того, на червячном колесе со стороны установочного резьбового отверстия выполнена лыска перпендикулярно ему, а на валу червяка выполнен шестигранник под ключ.
Изобретение поясняют подробным описанием, иллюстративными материалами, на которых:
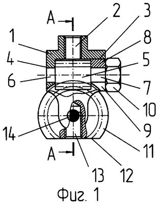
Фиг.1 – общий вид шарнирного узла к компрессионно-дистракционному аппарату.
Фиг.2 – сечение А-А на фиг.1, то же что и на фиг.1, согласно изобретению.
Фиг.3 – вариант использования шарнирного узла в компоновке аппарата для устранения угловых деформаций сегментов конечности.
Фиг.4 – вариант использования шарнирного узла в компоновке аппарата для устранения ротационных и поперечных смещений.
Шарнирный узел к чрескостному аппарату содержит вилку 1 (фиг.1, 2) с резьбовым установочным отверстием 2 и ступенчатым отверстием 3 и 4, соответственно, под червяк 5 и конец 6 его вала. Другой конец 7 вала червяка установлен во втулке 8 с радиальным пазом 9. Втулка 8 жестко закреплена в отверстии 3. На конце 7 вала червяка выполнен шестигранник 10. Червячное колесо 11 с лыской 12 и резьбовым установочным отверстием 13 размещено в пазу вилки 1 и связано с ней посредством оси 14.
Шарнирный узел к чрескостному аппарату используют следующим образом.
В резьбовые установочные отверстия 2 и 13 звеньев двух шарнирных узлов вкручивают резьбовые стержни 15 и 16 (фиг.3), противоположные концы которых закрепляют на опорах аппарата 17 и 18, например, предназначенного для устранения угловых деформаций кости. При этом оси шарнирных узлов устанавливают на уровне вершины деформации кости. Вращая червяк за шестигранник 10 на 1/6 оборота, осуществляют поворот опор в соответствии с заданной величиной передаточного числа червячной передачи на угол, соответствующий допустимому одномоментному углу поворота костных фрагментов при устранении угловой деформации. При этом стопорный болт 19 направляющего телескопического стержня 20 перед выполнением дозированного поворота фрагментов раскручивают.
Аналогично используются шарнирные узлы к чрескостному аппарату и в других его компоновках, собираемых в зависимости от решаемой лечебной задачи. Для устранения ротационных или поперечных смещений фрагментов кости в компоновке используется как минимум три предлагаемых шарнирных узла к чрескостному аппарату (фиг.4), ориентированных соответственно требуемому направлению смещения опоры аппарата.
Предлагаемый шарнирный узел к компрессионно-дистракционному аппарату прост в изготовлении и монтаже. Кроме того, позволяет контролировать величину углового перемещения костных фрагментов и задавать усилия для их перемещения.
Предлагаемый шарнирный узел обеспечивает надежную постоянную самофиксацию углового положения его звеньев.
Предлагаемый шарнирный узел к компрессионно-дистракционному аппарату используется в ортопедических и травматологических отделениях ФГУН РНЦ «ВТО» им. академика Г.А.Илизарова и изготавливается Опытным заводом.
Формула изобретения
Шарнирный узел к компрессионно-дистракционному аппарату, содержащий два звена, снабженных установочными резьбовыми отверстиями и связанных между собой осью, отличающийся тем, что одно звено выполнено в виде корпуса, в котором расположен червяк, второе звено выполнено в виде червячного колеса, при этом последнее расположено между ушками, выполненными на корпусе, кроме того, на червячном колесе со стороны установочного резьбового отверстия выполнена лыска перпендикулярно ему, а на валу червяка выполнен шестигранник под ключ.
РИСУНКИ
MM4A – Досрочное прекращение действия патента СССР или патента Российской Федерации на изобретение из-за неуплаты в установленный срок пошлины за поддержание патента в силе
Дата прекращения действия патента: 24.01.2008
Извещение опубликовано: 20.09.2009 БИ: 26/2009
|