|
|
(21), (22) Заявка: 2006100563/14, 16.01.2006
(24) Дата начала отсчета срока действия патента:
16.01.2006
(43) Дата публикации заявки: 27.07.2007
(46) Опубликовано: 10.11.2007
(56) Список документов, цитированных в отчете о поиске:
SU 1602445 A1, 30.10.1990. DE 19502337 A, 08.08.1996. US 2005174536 A, 11.08.2005. FR 2861281 A, 29.04.2005.
Адрес для переписки:
111538, Москва, ул.Косинская, 18, корп.3, кв.146, В.И.Лебедеву
|
(72) Автор(ы):
Афендулова Ирина Сергеевна (RU)
(73) Патентообладатель(и):
Открытое акционерное общество “Новолипецкий металлургический комбинат” (ОАО “НЛМК”) (RU)
|
(54) УСТРОЙСТВО ДЛЯ ОПРЕДЕЛЕНИЯ ОБЪЕМА АККОМОДАЦИИ НА РАБОЧЕМ МЕСТЕ ИССЛЕДУЕМОГО
(57) Реферат:
Изобретение относится к медицинской технике, конкретнее, к офтальмологическим приборам, применяемым для определения объема аккомодации. Данное устройство содержит диск с набором оптических элементов, расположенных по периметру диска, установленного на оси с возможностью вращения. При этом устройство содержит два диска с фиксаторами вращения на осях. Оси вращения дисков соединены перемычкой с фиксаторами продольного перемещения дисков вдоль нее относительно друг друга. Причем в качестве оптических элементов в дисках по их периметру установлены оптические отрицательные и/или положительные линзы с диоптриями в пределах 0,4-6,0 с интервалом в пределах 0,1-0,6 диоптрий. Число оптических линз по периметру каждого диска составляет 6-10. Оптические линзы по периметру дисков выполнены круглой и/или овальной формы. Длина большой оси линз овальной формы составляет 0,8-1,2, а длина малой оси составляет 0,5-0,9 диаметра линз круглой формы. Применение данного устройства позволит повысить достоверность определения объема аккомодации. 3 ил., 1 табл.
Изобретение относится к медицинской технике, конкретнее, к офтальмологическим приборам, применяемым для определения объема аккомодации.
Наиболее близким по технической сущности является устройство для проверки остроты зрения, содержащее блок осветителя, оптически сопряженный с блоком предъявления тестов, блок электропитания, пульт управления. Устройство снабжено диском с набором по периметру оптических элементов, усыновленных на оси вращения с мотором, блоком кодирования, механически связанным с осью мотора и электрически сопряженным с блоком питания, блок электронного реле и блок регистрации результатов, соединенный с пультом управления. Кроме того, в устройство введен блок концентрации внимания, механически сопряженный с осью мотора, а электрически – с блоком питания (см. авт. свид. СССР №1602445, кл. А61В 3/00, Бюл. изобр. №40, 1990 г.).
Недостатком известного устройства является невозможность определения объема аккомодации бинокулярно сразу двумя глазами, удлинение времени процесса определения объема аккомодации, отсутствие портативности устройства и возможности проведения исследований непосредственно на рабочем месте исследуемого. Это объясняется сложностью устройства, необходимостью наличия множества составляющих устройство приборов, а также электропитания устройства.
Технический эффект при использовании изобретения заключается в портативности устройства, устранении необходимости использования электропитания, обеспечении возможности обследования большого количества работников без их отрыва от рабочего процесса на длительное время, повышении достоверности определения объема аккомодации.
Указанный технический эффект достигают тем, что устройство для определения объема аккомодации на рабочем месте исследуемого содержит диск с набором оптических элементов, расположенных по периметру диска, установленного на оси с возможностью вращения.
Устройство содержит два диска с фиксаторами вращения на осях, оси вращения дисков соединены перемычкой с фиксаторами продольного перемещения дисков вдоль нее. В качестве оптических элементов в дисках по их периметру установлены оптические отрицательные и/или положительные линзы с диоптриями в пределах 0,4-0,6 с интервалом в пределах 0,1-0,6 диоптрий. Число оптических линз по периметру каждого диска составляет 6-10. Оптические линзы по периметру дисков выполнены одинаковой и/или различной формы от круглой до овальной. Длина большой оси линз овальной формы составляет 0,8-1,2, а длина малой оси составляет 0,5-0,9 диаметра линз круглой формы.
Достижение портативности использования устройства будет достигаться за счет устранения составляющих приборов, отсутствия необходимости использования при работе устройства электропитания, достижения возможности определения объема аккомодации бинокулярно сразу двумя глазами. При этом обеспечивается возможность проведения исследований непосредственно на рабочем месте исследуемого. Кроме того, при работе устройства не требуется дополнительных условий для эксплуатации устройства, что позволяет производить обследование большого количества работников непосредственно на рабочем месте без их длительного отрыва от рабочего процесса. Причем обеспечивается возможность получения достоверных результатов для изучения механизмов астенопии (утомления) и создания на основе полученных результатов гигиенических норм зрительной нагрузки в условиях, например, металлургического производства. В этих условиях возможно изучение работоспособности цилиарной мышцы глаза во время рабочей смены при выполнении зрительно напряженных работ. Изменение формы линз от круглой до овальной позволяет уменьшить оптические аберрации.
Диапазон значений количества диоптрий в линзах, расположенных по периметру каждого диска, в пределах 0,4-6,0 объясняется тем, что среднестатистический максимальный объем аккомодации взрослого человека не превышает 6,0 диоптрий. Этим обеспечивается определение полного объема аккомодации на рабочем месте исследуемого с необходимой достоверностью.
Диапазон значений интервала диоптрий между линзами на одном диске в пределах 0,1-0,6 диоптрий объясняется необходимостью повышения точности определения объема аккомодации на рабочем месте исследуемого. При больших значениях не будет обеспечиваться необходимая точность определения объема аккомодации. Меньшие значения устанавливать не имеет смысла, так как при этом увеличивается время процесса определения объема аккомодации.
Диапазон числа оптических линз по периметру каждого диска в пределах 6-10 объясняется необходимостью обеспечения необходимой точности определения объема аккомодации. При меньших значениях не будет достигаться необходимая точность определения объема аккомодации. Большие значения устанавливать не имеет смысла, так как при этом не будет повышаться точность определения объема аккомодации, а также будет увеличиваться время исследования.
Диапазон значений длины большой оси и малой оси линз овальной формы в пределах 0,8-1,2 и 0,5-0,9 соответственно от величины диаметра линзы круглой формы объясняется закономерностями изменения оптических аберраций. Изменение формы линз от традиционной круглой до овальной объясняется необходимостью приближения формы линз к физиологическим условиям глаза, т.е. к форме глазной щели – овальной. Сказанное способствует уменьшению аберраций и светорассеяния.
Анализ научно-технической и патентной литературы показывает отсутствие совпадения отличительных признаков заявляемого устройства с признаками известных технических решении. На основании этого делается вывод о соответствии заявляемою технического решения критерию «изобретательский уровень».
Ниже дан вариант осуществления изобретения, не исключающий другие варианты в пределах формулы изобретения, со ссылкой на чертежи, на которых показано:
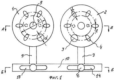
Фиг.1 – схема устройства для определения объема аккомодации на рабочем месте исследуемого, вид в плане;
Фиг.2 – то же, разрез А-А;
Фиг.3 – то же, разрез Б-Б.
Устройство для определения объема аккомодации на рабочем месте исследуемого состоит из дисков 1 и 2, оптических линз круглой и овальной 4 форм, осей 5 и 6, полусфер 7, пружинящих элементов, стоек 9, перемычки 10, гаек 11 и 12, прорезей 13 и 14. Позицией d обозначен диаметр окружности оптических линз круглой формы, L – длина большой оси линзы овальной формы, l – длина малой оси линзы овальной формы; D – диаметр окружности расположения линз по периметру дисков.
Устройство для определения объема аккомодации на рабочем месте исследуемого работает следующим образом.
Пример. В процессе определения объема аккомодации на рабочем месте оба глаза исследуемого располагаются перед соответствующими дисками 1 и 2. Поворотом дисков вручную оптические линзы 3 и 4 устанавливаются перед соответствующими глазами. Настройка соответствующего глазам расстояния между осями оптических линз 3 и 4 производится посредством перемещения стоек 9 вместе с дисками 1 и/или 2 в прорезях соответственно 13 и 14 в перемычке 10. Фиксирование в необходимом положении стоек 9 производится при помощи фиксаторов, выполненных в виде осей 6, снабженных гайками 12. Завинчивание гаек 12 обеспечивает фиксацию положения дисков 1 и 2 относительно перемычки 10. Для исключения поворота на теле оси 6 выполнен квадрат.
Диски 1 и 2 смонтированы на стойках 9 при помощи осей 5 с возможностью ручного поворота. Фиксирование в необходимом положении дисков 1 и 2 относительно стоек 9 производится при помощи фиксаторов, выполненных в виде круглых плоских пружинящих элементов 8 со сферическими углублениями по их периметру. На дисках 1 и 2 по соответствующему диаметру выполнены выступы в виде полусфер 7. Полусферы 7 входят в соответствующие сферические углубления, выполненные на внутренней поверхности пружинящих элементов 8. При повороте дисков 1 и 2 сферические углубления, выполненные на внутренней поверхности пружинящих элементов 8, перемещаются на соответствующие полусферические выступы 7, что обеспечивает фиксацию положения дисков 1 и 2 в нужном положении. Прижатие пружинящих элементов 8 к полусферическим выступам 7 обеспечивается при помощи завинчивания гаек 11, установленных на осях 5. Для устранения возможности поворота на теле осей 5 выполнены квадраты.
В качестве оптических элементов в дисках 1 и 2 по их периметру по диаметру D установлены оптические отрицательные и/или положительные линзы 3, 4 с диоптриями в пределах 0,4-6,0 с интервалом в пределах 0,1-0.6 диоптрий. Число оптических линз 3 и/или по периметру каждого диска составляет 6-10.
Оптические линзы по периметру дисков 1 и 2 выполнены одинаковой и/или различной форм от круглой 3 диаметром d до овальной 4. Длина L большой оси линз 4 составляет 0,8-1,2d, а длина l малой оси составляет 0,5-0,9d.
В общем случае число линз круглой формы 3 и овальной формы 4 может быть различным в зависимости требований определения объема аккомодации. Большие оси длиной L расположены в диаметральной плоскости дисков 1 и 2.
В таблице приведены примеры осуществления устройства с различными конструктивными и оптическими параметрами.
| Таблица |
| Параметры |
Примеры |
| 1 |
2 |
3 |
4 |
5 |
| 1. Диаметр D, мм |
80 |
80 |
84 |
88 |
88 |
| 2. Диаметр d, мм |
26 |
26 |
30 |
34 |
34 |
| 3. Число линз, безразмерное |
3 |
4 |
8 |
10 |
12 |
| 4. Число круглых линз, безразмерное |
1 |
1 |
2 |
3 |
4 |
| 5. Число овальных линз, безразмерное |
4 |
5 |
6 |
7 |
8 |
| 6. Величина L, мм |
0,7×26=18,2 |
0,8×26=20,8 |
1,0×30=30 |
1,2×34=40,8 |
1,3×34=44,2 |
| 7. Величина l, мм |
0,4×26=10,4 |
0,5×26=13 |
0,7×30=21 |
0,9×34=30,6 |
0,95×34=32,3 |
| 8. Интервал диоптрий, безразмерный |
0,06 |
0,1 |
0,5 |
0,6 |
0,7 |
| 9. Максимальное число диоптрий в линзе, безразмерное |
0,18 |
0,4 |
4,0 |
6,0 |
8,4 |
В первом примере вследствие малых значений конструктивных и оптических параметров устройства не обеспечивается необходимая достоверность определения объема аккомодации.
В пятом примере вследствие больших значений конструктивных и оптических параметров устройства не обеспечивается необходимая достоверность определения объема аккомодации, при этом увеличивается время проведения исследований.
В оптимальных примерах 2-4 вследствие соблюдения необходимых значений конструктивных и оптических параметров обеспечивается необходимая достоверность определения объема аккомодации.
Применение изобретения позволяет обеспечить время проведения одного исследования по определению объема аккомодации в пределах 60-150 сек вследствие наличия в устройстве двух дисков с набором необходимых оптических линз. При этом не затрачивается время на их смену в дисках. Повышение точности определения объема аккомодации у исследуемого происходит вследствие наличия в устройстве двух дисков с набором линз с необходимыми значениями диоптрий и формы линз.
Формула изобретения
Устройство для исследования аккомодации на рабочем месте исследуемого, содержащее диск с набором оптических элементов, расположенных по периметру диска, установленного на оси с возможностью вращения, отличающееся тем, что устройство содержит два диска с фиксаторами вращения на осях, оси вращения дисков соединены перемычкой с фиксаторами продольного перемещения дисков вдоль нее относительно друг друга, при этом в качестве оптических элементов в дисках по их периметру установлены оптические отрицательные и/или положительные линзы с диоптриями в пределах 0,4-6,0 с интервалом в пределах 0,1-0,6 диоптрий, число оптических линз по периметру каждого диска составляет 6-10, причем оптические линзы по периметру дисков выполнены круглой и/или овальной формы, длина большой оси линз овальной формы составляет 0,8-1,2, а длина малой оси составляет 0,5-0,9 диаметра линз круглой формы.
РИСУНКИ
PC4A – Регистрация договора об уступке патента СССР или патента Российской Федерации на изобретение
Прежний патентообладатель:
Открытое акционерное общество “Новолипецкий металлургический комбинат”
(73) Патентообладатель:
Афендулова Ирина Сергеевна
Договор № РД0036110 зарегистрирован 16.05.2008
Извещение опубликовано: 27.06.2008 БИ: 18/2008
|
|